|
|
(21), (22) Заявка: 2004136326/06, 14.12.2004
(24) Дата начала отсчета срока действия патента:
14.12.2004
(43) Дата публикации заявки: 20.05.2006
(46) Опубликовано: 20.08.2006
(56) Список документов, цитированных в отчете о поиске:
SU 1209928 А, 07.02.1986. RU 2065996 C1, 27.08.1996. SU 1716193 A1, 29.02.1992. GB 2006347 A, 02.05.1979. GB 923443 A, 10.04.1963.
Адрес для переписки:
644100, г.Омск, ул. Белозерова, 3, кв.97, И.Ф. Шлегелю
|
(72) Автор(ы):
Шлегель Игорь Феликсович (RU)
(73) Патентообладатель(и):
Шлегель Игорь Феликсович (RU)
|
(54) ПЕРИСТАЛЬТИЧЕСКИЙ НАСОС
(57) Реферат:
Насос предназначен для использования в различных отраслях промышленности, преимущественно в технологических линиях производства керамических, бетонных и т.п. изделий для перекачки различных жидкостей. Насос содержит цилиндрический корпус, в котором по периферии и продольно корпусу размещены эластичные шланги, связанные с входным и выходным коллектором. В средней части корпуса на приводном валу установлен нажимной элемент, рабочая поверхность которого, воздействующая на эластичные шланги, составляет винтовую линию. Нажимной элемент выполнен в виде совокупности эксцентриков со свободно смонтированными на них кольцевыми насадками. Эластичные шланги расположены параллельно образующей цилиндрического корпуса, и каждый шланг пропущен в пространстве, ограниченном с двух сторон упорами, зафиксированными по отношению к окружности цилиндрического корпуса. Упоры могут быть выполнены одним концом закрепленными в обоймах, свободно смонтированных на приводном валу между эксцентриками. В качестве упоров могут быть лучи звездочек, свободно установленных на приводном валу между эксцентриками, при этом, по меньшей мере, один луч звездочки должен быть зафиксирован по отношению к корпусу. Повышается эффективность работы перистальтического насоса, характеризующегося высокой производительностью и равномерной подачей перекачиваемой текучей среды без пульсирующих давлений. 10 з.п. ф-лы, 3 ил.
Изобретение касается устройства, предназначенного для перекачки текучих сред, и может найти применение в различных отраслях промышленности. Вместе с тем, преимущественной областью применения изобретения является промышленность строительных материалов, где заявляемый перистальтический насос может использоваться в технологических линиях производства керамических, бетонных и т.п. изделий для перекачки различных жидкостей, строительных растворов и других текучих сырьевых компонентов.
Уровень техники
Известны конструкции перистальтических насосов (см. описание к авт. св-ву №1716193, F 04 B 43/12, опубл. 29.02.92; описание к патенту RU 2065996, F 04 B 43/12, опубл. 27.08.96), содержащие корпус, в котором на опорном элементе размещен эластичный трубчатый рабочий орган – эластичный шланг или несколько эластичных шлангов, и воздействующие на рабочий орган нажимные элементы, совершающие возвратно-поступательные перемещения от привода, включающего эксцентриковый вал, ось которого параллельна осям эластичных шлангов.
Основным недостатком вышеохарактеризованных конструкций насосов является их невысокая производительность, что ограничивает их применение в производстве строительных материалов и других отраслях промышленности, где требуется перекачка больших объемов жидкости. Обусловлено это тем, что использование в конструкции насосов нажимных элементов, перемещающихся от одного приводного эксцентрикового вала, ограничивает количество рукавов (эластичных шлангов), на которые с требуемым усилием способны воздействовать нажимные элементы. Кроме этого при размещении нескольких эластичных шлангов в одной плоскости, что имеет место при их установке относительно одного опорного элемента, и при воздействии нажимными элементами на все эластичные шланги одновременно (т.е. в одной фазе) имеет место повышенная пульсация подачи перекачиваемой жидкости. В одном из вышеописанных решений (св-во №1716193) сделана попытка устранить повышенную пульсацию за счет введения в конструкцию устройства механизма пульсации в виде дополнительного нажимного элемента. установленного с возможностью взаимодействия с рабочим органом на его выходе. В другом изобретении (патент RU 2065996) этот недостаток в некоторой степени сглаживается наличием двух эластичных шлангов, фаза «бегущей волны» которых сдвинута по отношению друг к другу на 180 град, а выводы шлангов соединены с коллектором. При поступлении в коллектор потоков жидкости, движущихся в противофазе, происходит наложение пульсаций давления и, как следствие этого, сглаживание пульсаций давления на выходе коллектора. Однако как в том, так и в другом решении остается нерешенной проблема низкой производительности насоса, обусловленная ограниченным количеством транспортируемых потоков.
Известны конструкции перистальтических насосов (см. авт. св-во №731048, авт. св-во №1590649, авт. св-во №1740776, МПК F 04 B 43/12), включающие цилиндрический корпус, в расточке которого установлен эластичный шланг, на который воздействует ротор в виде спиральной пружины, создающей бегущую волну деформации шланга и обеспечивающей таким образом перемещение в объеме эластичного шланга перекачиваемой среды. Однако эти конструкции также характеризуются невысокой производительностью и повышенной пульсацией.
Известно изобретение по патенту US 3.229.643, защищающего конструкцию ротационного насоса, содержащего цилиндрический корпус, эластичную диафрагму, концы которой закреплены на торцах корпуса, формирующей с внутренней его поверхностью рабочую камеру, кольцевой объем которой может быть разделен на продольные зоны посредством соединения диафрагмы с корпусом по его образующим. В объеме цилиндрического корпуса на приводном валу установлены эксцентрики с кольцевыми насадками, выполненные с рабочими поверхностями, размещенными по винтовой линии, и воздействующие на продольные зоны рабочей камеры с образованием в каждой зоне смещенных на определенную фазу друг относительно друга «бегущих волн».
Конструкция насоса по патенту US 3.229.643, на первый взгляд, должна обеспечивать высокую производительность устройства и сравнительно равномерное перемещение перекачиваемой среды с незначительными пульсациями. Однако такой насос характеризуется очень низкой надежностью. Обусловлено это тем, что при воздействии эксцентриков на диафрагму последняя подвергается сдвигу в направлении вращения. При высоких скоростях это приводит к отрыву диафрагмы от корпуса, и следовательно, рабочая камера между диафрагмой и корпусом становится единым объемом, без каких-либо продольных зон, что сводит на нет всасывающую способность насоса и соответственно снижает его производительность. Вместе с тем диафрагма «закручивается» вместе с эксцентриками, что ведет к ее повреждению.
В качестве прототипа заявляемого изобретения принято решение перистальтического насоса (см. SU 1209928, F 04 B 43/12), содержащего корпус, в цилиндрической расточке которого установлены эластичные шланги и размещен ротор с установленным на оси винтовым роликом, выполненным в виде размещенного в спиральном желобе ротора гибкого цилиндрического шнура с осью в виде пропущенного по всей длине этого шнура троса, концы которого закреплены на роторе. Концы эластичных шлангов подключены к входному и выходному коллекторам, а сами шланги уложены под углом к образующей цилиндрического корпуса, равным углу подъема винтовой линии ролика.
При вращении ротора винтовой ролик перекатывается по эластичным шлангам, перемещая по ним перекачиваемую среду из входного коллектора в выходной коллектор. Так как перекачивание жидкости идет несколькими потоками, поступающими в выходной коллектор со сдвигом фаз, в выходном коллекторе гасятся пульсации, и из насоса жидкость выходит равномерным потоком. За счет расположения шлангов под углом к образующей корпуса, равным углу подъема винтовой линии воздействующего на них ролика, направление движения ролика по шлангам совпадает с осью этих шлангов, что уменьшает их боковые сдвиги. Однако расположение шлангов под углом к образующей корпуса существенно снижает эффективность работы насоса и его производительность. Это происходит в результате того, что при таком расположении шлангов в объеме цилиндрического корпуса плоскость поперечного сечения шланга и плоскость поперечного сечения корпуса также расположены под углом друг к другу, и обеспечить необходимый опорный контакт шланга с внутренней поверхностью корпуса в момент пережатия шланга роликом так, чтобы полностью исключить зазор между стенками шланга, не представляется возможным. А поскольку полного пережатия шланга не происходит, то снижается всасывающая способность устройства, а также не весь объем той части потока, которая должна перемещаться к выходному коллектору, устремляется в нужном направлении, т.е. имеет место значительное снижение эффективности работы устройства, в том числе снижается его производительность.
Раскрытие изобретения
Заявляемым изобретением решается задача повышения эффективности работы перистальтического насоса, характеризующегося высокой производительностью и равномерной подачей перекачиваемой текучей среды без пульсирующих давлений.
Поставленная задача решена тем, что в конструкции перистальтического насоса, содержащего цилиндрический корпус, в объеме которого по периферии и продольно корпусу размещены эластичные шланги, связанные с входным и выходным коллектором, а в срединной части упомянутого объема на приводном валу установлен нажимной элемент, рабочая поверхность которого, воздействующая на эластичные шланги, составляет винтовую линию, согласно заявляемому изобретению нажимной элемент выполнен в виде совокупности эксцентриков со свободно смонтированными на них кольцевыми насадками, эластичные шланги расположены параллельно образующей цилиндрического корпуса, и каждый шланг пропущен в пространстве, ограниченном с двух сторон упорами, зафиксированными по отношению к окружности цилиндрического корпуса. Упоры могут быть выполнены одним концом закрепленными в обоймах, свободно смонтированных на приводном валу между эксцентриками, или в качестве упоров могут быть лучи звездочек, свободно установленных на приводном валу между эксцентриками, при этом, по меньшей мере, один луч звездочки должен быть зафиксирован по отношению к корпусу.
При конкретной реализации решения корпус насоса выполнен разъемным и с оппозитными продольными проточками в местах разъема, при этом фиксация звездочек с упорами может быть осуществлена посредством установки по меньшей мере одного луча, а лучше двух диаметрально расположенных лучей в упомянутые проточки.
Также в частном случае исполнения конструкции насоса кольцевые насадки на эксцентриках могут быть смонтированы посредством подшипниковых узлов или втулок скольжения, а выполнены кольцевые насадки с внешней, т.е. воздействующей на шланги, поверхностью, являющейся поверхностью вращения второго порядка, обеспечивающей криволинейную наружную поверхность этого элемента, переходящую в торцевые поверхности эксцентриков через скругленную фаску, причем криволинейность наружной поверхности характеризуется радиусной формой.
Предпочтительно, чтобы эксцентрики были посажены на вал насоса со смещением 45 град относительно друг друга, при этом является также предпочтительным исполнить конструкцию с восемью шлангами, размещенными в корпусе на расстоянии в 45 град друг от друга, при этом каждая обойма должна быть снабжена восемью упорами, проходящими в промежутках между соседними шлангами. Вместе с тем возможно исполнение устройства с двенадцатью шлангами, размещенными в корпусе на расстоянии между их осями в 30 град друг от друга, и снабженного двенадцатью упорами, проходящими в промежутках между соседними шлангами.
Привод вращения приводного вала насоса выполнен в виде электродвигателя, связанного с валом через ременную передачу, при этом с целью регулирования производительности насоса электродвигатель выполнен с частотным преобразователем.
Краткое описание чертежей
Заявляемое изобретение поясняется чертежами, на которых:
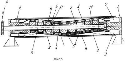
на фиг.1 представлен перистальтический насос, продольный разрез;
на фиг.2 – фрагмент I фиг.1 (увеличено)
на фиг.2 – то же, поперечный разрез (разрез А-А на фиг.1, увеличено);
Осуществление изобретения
Заявляемый перистальтический насос содержит цилиндрический корпус 1, во внутреннем объеме которого продольно корпусу и параллельно образующей его цилиндра размещены эластичные шланги 2. Соосно цилиндрическому корпусу 1 установлен приводной вал 3, через ременную передачу 4 связанный с электродвигателем (на чертеже не показан). На вал 3 жестко посажены эксцентрики 5, повернутые друг относительно друга на 45 град, при этом выступающие части эксцентриков формируют винтовую линию. Эксцентрики 5 выполнены с кольцевыми насадками 6, при этом между кольцевой насадкой 6 и основной частью эксцентрика, жестко связанной с приводным валом, размещены подшипники 7 (возможна установка кольцевой насадки через втулку, например, бронзовую, обеспечивающую свободное скольжение кольцевой насадки и основной части эксцентрика (не показано). Наружная поверхность кольцевой насадки 6 выполнена скругленной к боковым сторонам эксцентрика и может быть выполнена в виде поверхности вращения второго порядка. Входные концы эластичных шлангов соединены с входным коллектором 8, а выходы с выходным коллектором 9, переходящим в выходной патрубок 10. Между эксцентриками размещены звездочки, лучи 11 которых выполняют роль упоров для эластичных шлангов 2. При количестве шлангов, установленных в корпусе, равном восьми, т.е. оси шлангов будут размещены под углом 45 град относительно друг друга, звездочки выполнены с восемью лучами-упорами, размещенными между шлангами 2. Возможно исполнение устройства с двенадцатью шлангами, размещенными в корпусе на расстоянии между их осями, равном 30 град (не показано), или с шестью с соответствующим количеством упоров. Корпус 1 выполнен разъемным и по линии разъема имеет продольные проточки 12 (см. фиг.3), в которых установлены два диаметрально противоположных луча 11 звездочки. Такая установка обеспечивает фиксацию упоров относительно окружности корпуса, но не препятствует продольному смещению упоров вдоль поддерживаемых ими эластичных шлангов 2.
Перистальтический насос работает следующим образом. Приводной вал насоса посредством ременной передачи 4 приводится во вращение от электродвигателя при его включении. При вращении приводного вала эксцентрики 5, повернутые друг относительно друга на угол 45° (см. сечение Г-Г, …, Н-Н), вращаясь, набегают на размещенные по окружности вокруг приводного вала эластичные шланги 2 и последовательно пережимают их проходное сечение. При этом имеет место следующее.
Такт всасывания, перемещаемая среда (жидкость) из входного коллектора поступает в объем эластичного шланга, при этом
1) сжимается сечение Г-Г;
2) в момент пережатия сечения Д-Д сечение Г-Г разжимается и жидкость из впускного коллектора втягивается в эластичный шланг и проходит через сечение Г-Г;
3) в момент пережатия сечения Е-Е сечение Д-Д разжимается и жидкость проходит через него;
4) в момент пережатия сечения Ж-Ж сечение Е-Е разжимается и жидкость проходит через него;
и так далее до позиции сечения М-М
5) в момент пережатия сечения М-М сечение Л-Л разжимается и жидкость проходит через него;
Таким образом, жидкость оказалась втянутой в шланг.
6) в момент пережатая сечения Н-Н сечение Г-Г тоже пережимается (разрез В-В – верхний шланг). Таким образом, жидкость оказалась запертой в объем эластичного шланга с двух сторон.
Такт всасывания закончен.
Промежуточный такт:
7) в момент разжатая сечения Н-Н разжимается и сечение Г-Г.
Такт вытеснения, жидкость из объема
8) в момент пережатия сечения Д-Д происходит вытеснение жидкости, заключенной (условно) между сечениями Г-Г и Д-Д.
9) в момент пережатия сечения Е-Е происходит вытеснение жидкости, заключенной (условно) между сечениями Д-Д и Е-Е.
10) в момент пережатия сечения Ж-Ж происходит вытеснение жидкости, заключенной (условно) между сечениями Е-Е и Ж-Ж.
11) в момент пережатия сечения Н-Н происходит вытеснение остатка жидкости в выпускной коллектор.
Такт вытеснения закончен.
Параллельно с тактом вытеснения жидкости из объема верхнего шланга идет процесс всасывания перемещаемой жидкости в объем нижнего шланга.
Таким образом работают все восемь шлангов, с той лишь разницей, что такты в них происходят со смещением (сдвигом) фазы на 45°.
Расположенные между эксцентриками звездочки посредством упоров 11 предохраняют шланги от наматывания их на приводной вал, т.е. упоры являются ограничителями степени подвижности шлангов, что обеспечивает эффективную и бесперебойную работу насоса при достаточно высокой его производительности.
При этом производительность насоса при необходимости может регулироваться изменением частоты вращения вала и посредством частотного преобразователя. Чем больше частота вращения приводного вала, тем больше будет производительность насоса.
Формула изобретения
1. Перистальтический насос, содержащий цилиндрический корпус, в объеме которого по периферии размещены эластичные шланги, связанные с входным и выходным коллектором, в срединной части упомянутого объема на приводном валу установлен нажимной элемент, рабочая поверхность которого, воздействующая на эластичные шланги, составляет винтовую линию, отличающийся тем, что нажимной элемент выполнен в виде совокупности эксцентриков, эластичные шланги размещены параллельно образующей цилиндрического корпуса, и каждый шланг пропущен в пространстве, ограниченном с двух сторон упорами, зафиксированными по отношению к окружности цилиндрического корпуса и разнесенными по его длине с размещением между эксцентриками.
2. Насос по п.1, отличающийся тем, что упоры выполнены в виде лучей звездочек, свободно установленных на приводном валу между эксцентриками, при этом, по меньшей мере, один луч звездочки зафиксирован по отношению к корпусу.
3. Насос по п.1 или 2, отличающийся тем, что корпус выполнен разъемным и с оппозитными продольными проточками в местах разъема, при этом фиксация звездочек с лучами-упорами осуществлена посредством установки диаметрально расположенных лучей каждой звездочки в упомянутые проточки.
4. Насос по п.1 или 2, отличающийся тем, что эксцентрики выполнены со свободно смонтированными на них кольцевыми насадками.
5. Насос по п.4, отличающийся тем, что кольцевые насадки на эксцентриках смонтированы посредством подшипниковых узлов.
6. Насос по п.4, отличающийся тем, что кольцевые насадки на эксцентриках смонтированы посредством втулки с поверхностью, обеспечивающей скольжение этих элементов относительно друг друга.
7. Насос по п.4, отличающийся тем, что кольцевые насадки выполнены с криволинейной наружной поверхностью, представляющей собой поверхность вращения второго порядка.
8. Насос по п.1, отличающийся тем, что эксцентрики посажены на вал со смещением 45° относительно друг друга.
9. Насос по п.1 или 2, отличающийся тем, что он выполнен с восемью шлангами, размещенными в корпусе на расстоянии между их осями в 45° друг от друга, и снабжен восемью упорами, проходящими в промежутках между соседними шлангами.
10. Насос по п.1 или 2, отличающийся тем, что он выполнен с двенадцатью шлангами, размещенными в корпусе на расстоянии между осями в 30° друг от друга, и снабжен двенадцатью упорами, проходящими в промежутках между соседними шлангами.
11. Насос по п.1, отличающийся тем, что привод вращения приводного вала выполнен в виде электродвигателя, связанного с валом через ременную передачу и снабженного частотным преобразователем.
РИСУНКИ
|
|