|
|
(21), (22) Заявка: 2004133185/06, 15.11.2004
(24) Дата начала отсчета срока действия патента:
15.11.2004
(43) Дата публикации заявки: 20.04.2006
(46) Опубликовано: 20.08.2006
(56) Список документов, цитированных в отчете о поиске:
SU 1397618 A2, 23.05.1988. SU 868114 А, 30.09.1981. SU 1379496 А2, 07.03.1988. SU 1397619 A1, 23.05.1988.
Адрес для переписки:
129626, Москва, ул. 2-я Мытищинская, 2, ОАО “НПО “ГИДРОМАШ”
|
(72) Автор(ы):
Костенко Анатолий Иванович (RU)
(73) Патентообладатель(и):
Открытое акционерное общество “Научно-производственное объединение гидравлических машин” (ОАО “НПО “ГИДРОМАШ”) (RU)
|
(54) ОБЪЕМНЫЙ НАСОС
(57) Реферат:
Изобретение относится к области гидромашиностроения, в частности к устройству объемных насосов. В объемном насосе корпус снабжен расположенным между кольцевой проточкой корпуса и направляющей штока оппозитно рабочему цилиндру дополнительным рабочим цилиндром. В нем поршень снабжен кольцевой канавкой, в которой свободно расположен между боковыми стенками с натягом по поверхности дополнительного рабочего цилиндра дополнительный всасывающий клапанно-поршневой уплотнитель и выполнены выпускные каналы со стороны кольцевой проточки корпуса. В кольцевой проточке корпуса свободно расположен оппозитно напорному клапанно-штоковому уплотнителю с натягом по поверхности штока и с нормированным поджатием к расположенной со стороны дополнительного рабочего цилиндра боковой стенке дополнительный клапанно-штоковый уплотнитель. Сообщенная с напорным трактом кольцевая проточка корпуса выполнена составной. Расположенная между дополнительным поршнем и направляющей штока полость сообщена со всасывающим трактом при помощи каналов, выполненных в штоке. Снижается неравномерность подачи и повышаются ресурсные способности насоса. 2 з.п.ф-лы, 1 ил.
Изобретение относится к области гидромашиностроения, в частности к устройству объемных насосов.
Известен объемный насос, содержащий корпус, снабженный сообщенной с напорным трактом кольцевой проточкой, выполненный в расточке корпуса в месте его сопряжения со штоком, жестко связанным с расположенным в рабочем цилиндре корпуса между полостями рабочей камеры и всасывающего тракта поршнем, снабженным кольцевой канавкой, в которой свободно расположен с натягом по поверхности рабочего цилиндра всасывающий клапанно-поршневой уплотнитель в форме эластомерного уплотнительного кольца круглого поперечного сечения, и выполнены впускные каналы со стороны кольцевой проточки корпуса, в которой свободно расположен с натягом по поверхности штока напорный клапанно-штоковый уплотнитель в форме эластомерного уплотнительного кольца круглого поперечного сечения (авт. св. СССР № 868114, МПК F 04 В 13/00, 1980).
Одним из недостатков данной конструкции насоса является присущая возможность возникновения ситуации нахождения в одновременно открытом состоянии всасывающего клапанно-поршневого и напорного клапанно-штокового уплотнителей на начальных участках перемещений поршня в определенных режимах функционирования, как следствие, ненормированный перепуск рабочей среды при этом из напорного тракта во всасывающий, что снижает стабильность подачи, объемный коэффициент полезного действия, надежность работы и ухудшает самовсасывающую способность насоса. Кроме этого, насос обладает большой неравномерностью подачи.
Наиболее близким к рассматриваемому по существу и достигаемым результатам является техническое решение, в котором напорный клапанно-штоковый уплотнитель установлен с возможностью поджатия к расположенной со стороны рабочего цилиндра боковой стенке кольцевой проточки корпуса и при этом в качестве одной из возможностей указанного поджатия предложено расположение уплотнителя с натягом между боковыми стенками кольцевой проточки поршня (авт. св. СССР № 1397618, МПК F 04 В 13/00, 1986).
Наличие в данной конструкции насоса поджатия напорного клапанно-штокового уплотнителя к расположенной со стороны рабочей камеры боковой стенке кольцевой проточки корпуса обеспечивает управляемое перепадом давления самодействие этого уплотнителя, исключающее ненормированные перепуски рабочей среды из напорного во всасывающий тракт на начальных участках перемещений поршня из крайних положений и тем самым обеспечивает повышение стабильности подачи, объемного коэффициента полезного действия, надежности работы и самовсасывающей способности насоса.
Однако низкие показатели в части неравномерности подачи по-прежнему остаются существенным недостатком конструкции насоса. Кроме того, в таком насосе не в полной мере использованы резервные возможности повышения ресурсоспособности.
Задачами, на решение которых направлено настоящее изобретение, являются снижение неравномерности подачи и повышение ресурсоспособности насоса.
Указанные задачи решаются тем, что в известном насосе, содержащем напорный клапанно-штоковый и всасывающий клапанно-поршневой уплотнители, расположенные соответственно в кольцевой переточке корпуса и кольцевой канавке поршня, расположенного в рабочем цилиндре корпуса между полостями рабочей камеры и всасывающего тракта и жестко связанного с подвижно сопряженным с расточкой направляющей уплотненным штоком, корпус снабжен расположенным между кольцевой проточкой корпуса и направляющей штока оппозитно рабочему цилиндру дополнительным рабочим цилиндром, в котором расположен оппозитно поршню размещенный уплотненно на штоке этого поршня дополнительный поршень, снабженный кольцевой канавкой, в которой свободно расположен между боковыми стенками с натягом по поверхности дополнительного рабочего цилиндра дополнительный всасывающий клапанно-поршневой уплотнитель, и выполнены выпускные каналы со стороны кольцевой проточки корпуса, в которой свободно расположен оппозитно напорному клапанно-штоковому уплотнителю с натягом по поверхности штока и с нормированным поджатием к расположенной со стороны дополнительного рабочего цилиндра боковой стенке дополнительный напорно-штоковый уплотнитель, причем кольцевая проточка корпуса выполнена составной, а расположенная между дополнительным поршнем и направляющей штока полость сообщена со всасывающим трактом выполненными в штоке каналами.
При этом нормированное поджатие дополнительного клапанно-штокового уплотнителя к расположенной со стороны дополнительного рабочего цилиндра боковой стенке кольцевой проточки корпуса может быть осуществлено расположением его между этой стенкой и напорным клапанно-штоковым уплотнителем с натягом, нормированным посредством расположенных между уплотнителями регулировочных прокладок, а сообщенная с напорным трактом составная кольцевая проточка корпуса со стороны дополнительного рабочего цилиндра может быть образована поверхностями торца этого цилиндра, расположенного в расточке корпуса со стороны направляющей штока.
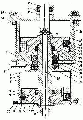
На чертеже представлена конструктивная схема предлагаемого объемного насоса.
Объемный насос содержит корпус 1, снабженный сообщенной с напорным трактом 2 кольцевой проточкой 3, выполненной в расточке корпуса 1 в месте расположения подвижно сопряженного с расточкой направляющей 4 уплотненного уплотнительным элементом 5 штока 6, жестко связанного с расположенным в рабочем цилиндре 7 корпуса 1 между полостями рабочей камеры 8 и всасывающего тракта 9 уплотненным уплотнительным элементом 10 по штоку 6 поршнем 11, снабженным кольцевой канавкой 12, в которой свободно расположен между боковыми стенками 13, 14 с натягом по поверхности рабочего цилиндра 7 всасывающий клапанно-поршневой уплотнитель 15 и выполнены выпускные каналы 16 со стороны кольцевой проточки 3 корпуса 1, в которой свободно расположен с натягом по поверхности штока 6 и с нормированным поджатием к расположенной со стороны рабочего цилиндра 7 боковой стенке 18 напорный клапанно-штоковый уплотнитель 19. Корпус 1 снабжен расположенным между кольцевой проточкой 3 корпуса 1 и направляющей 4 штока 6 оппозитно рабочему цилиндру 7 дополнительным рабочим цилиндром 20, в котором расположен оппозитно поршню 11 размещенный уплотненно уплотнительным элементом 21 на штоке 6 этого поршня 11 дополнительный поршень 22, снабженный кольцевой канавкой 23, в которой свободно расположен между боковыми стенками 24, 25 с натягом по поверхности дополнительного рабочего цилиндра 20 дополнительный всасывающий клапанно-поршневой уплотнитель 26 и выполнены выпускные каналы 27 со стороны кольцевой проточки 3 корпуса 1, в которой свободно расположен оппозитно напорному клапанно-штоковому уплотнителю 19 с натягом по поверхности штока 6 и с нормированным поджатием к расположенной со стороны дополнительного рабочего цилиндра 20 боковой стенке 28 дополнительный клапанно-штоковый уплотнитель 29. Сообщенная с напорным трактом 2 кольцевая проточка 3 корпуса 1 выполнена составной и со стороны дополнительного рабочего цилиндра 20 образована поверхностями торца этого цилиндра, расположенного в расточке корпуса 1 со стороны направляющей 4 штока 6. Расположенная между дополнительным поршнем 22 и направляющей 4 штока 6 полость сообщена со всасывающим трактом 9 выполненными в штоке 6 каналами 30, 31.
Нормированное поджатие дополнительного клапанно-штокового уплотнителя 29 к расположенной со стороны дополнительного рабочего цилиндра 20 боковой стенке 28 кольцевой проточки осуществлено расположением его между этой стенкой и напорным клапанно-штоковым уплотнителем 19 с натягом, нормированным посредством расположенных между уплотнителями регулировочных прокладок 32.
Уплотнение внутренних полостей от внешней среды осуществлено уплотнительными элементами 33, 34, 35.
Насос работает следующим образом.
На чертеже насос изображен в положении, соответствующем завершению цикла всасывания рабочим цилиндром и цикла нагнетания дополнительным рабочим цилиндром в установившемся режиме работы, при котором поршень и дополнительный поршень находятся в крайних положениях. При этом напорный клапанно-штоковый уплотнитель 19 поджат упругостью изначального натяга осевого сопряжения трением в сопряжении со штоком 6 и перепадом давления на нем к расположенной со стороны рабочего цилиндра 7 боковой стенке 18 кольцевой проточки 3 корпуса 1, герметично разобщая тем самым рабочую камеру 8 от напорного тракта 2, а всасывающий клапанно-поршневой уплотнитель 15 поджат трением о поверхность рабочего цилиндра 7 к боковой стенке 13 кольцевой канавки 12 поршня 11, обеспечив сообщение рабочей камеры 8 со всасывающим трактом 9 посредством выпускных каналов 16, радиального и осевого зазоров между поверхностями всасывающего клапанно-поршневого уплотнителя 15 и кольцевой канавки 12 поршня 11, радиального функционального зазора между поверхностями рабочего цилиндра 7 и боковой стенки 14 кольцевой канавки 12 поршня 11, через которые перекачиваемая жидкость поступила из всасывающего тракта 9 и заполнила рабочую камеру 8 по мере увеличения ее объема перемещением поршня 11 в процессе предшествующего цикла всасывания в рабочем цилиндре 7.
Одновременно с этим дополнительный всасывающий клапанно-поршневой уплотнитель 26 поджат трением о поверхность дополнительного рабочего цилиндра 20 и перепадом давления на нем к боковой стенке 25 кольцевой канавки 23 дополнительного поршня 22, герметично разобщая тем самым сообщенную со всасывающим трактом 9 каналами 30, 31 в штоке 6 полость между дополнительным поршнем 22 и направляющей 4 от дополнительного рабочего цилиндра 20, из которого по мере уменьшения его объема предшествующим перемещением дополнительного поршня 22 в процессе цикла нагнетания осуществлено вытеснение перекачиваемой жидкости с отжатием дополнительного клапанно-штокового уплотнителя 29 от боковой стенки 28 составной кольцевой проточки 3 в напорный тракт 2 с последующим герметичным разобщением его с дополнительным рабочим цилиндром 20 обратным поджатием дополнительного клапанно-штокового уплотнителя 29 к боковой стенке 28 кольцевой проточки 3 по мере понижения уровня давления в дополнительном рабочем цилиндре 20 в результате прекращения перемещения в нем дополнительного поршня 22 по достижении им своего крайнего в этом направлении перемещения положения. При этом синхронно вытеснению жидкости из дополнительного рабочего цилиндра 20 осуществлено заполнение находящейся с обратной стороны дополнительного поршня 22 полости, по мере увеличения ее объема, перекачиваемой жидкостью, поступившей из всасывающего тракта 9 по каналам 30, 31 в штоке 6.
При последующем синхронном перемещении поршней в обратном направлении в рабочем цилиндре 7 и дополнительном рабочем цилиндре 20 происходит совмещенные по времени соответственно нагнетательный и всасывающий рабочие циклы со следующей поэтапностью процессов:
– в рабочем цилиндре 7 сначала происходит выборка осевого зазора между поверхностями всасывающего клапанно-поршневого уплотнителя 15 и боковой стенкой 14 кольцевой канавки 12 поршня 11, а затем с момента соприкосновения указанных поверхностей между собой и по мере возрастания в рабочей камере 8 избыточного давления до достаточного уровня происходит отжатие напорного клапанно-штокового уплотнителя 19 от боковой стенки 18 кольцевой проточки 3 корпуса 1 и через образованный при этом осевой и существующий радиальные зазоры между поверхностями этих элементов перекачиваемая жидкость из рабочей камеры 8 по мере уменьшения ее объема перемещением поршня 11 вытиснится в напорный тракт 2 и по достижении поршнем 11 своего крайнего в этом направлении перемещения положения в рабочей камере 8 происходит понижение уровня давления, в результате которого напорный клапанно-штоковый уплотнитель 19 упругостью изначального осевого натяга и перепада давления на нем спонтанно, преодолевая усилие трения о шток 6, подожмется к боковой стенке 18 кольцевой проточки 3 корпуса 1, герметично разобщив тем самым рабочую камеру 8 от напорного тракта 2;
– в дополнительный рабочий цилиндр 20 с выборкой осевого зазора между поверхностями дополнительного всасывающего клапанно-поршневого уплотнителя 26 и боковой стенкой 24 кольцевой канавки 23 дополнительного поршня 22 происходит поступление перекачиваемой жидкости через образованный осевой и существующий радиальный зазоры между поверхностями этих элементов из полости между направляющей 4 штока 6 и дополнительным поршнем 22 с последующим полным заполнением этого дополнительного цилиндра перекачиваемой жидкостью по мере увеличения его объема перемещением дополнительного поршня 22.
В дальнейшем указанная выше синхронная последовательность циклов повторяется.
При этом из приведенной выше поэтапной последовательности осуществляемых в рабочих цилиндрах процессов видно, что подача в напорном 2 и всасывание во всасывающем 9 трактах перекачиваемой жидкости в данном насосе осуществляется синхронно друг другу с каждым перемещением поршней из одного крайнего положения в другое в отличие от прототипа, у которого эти процессы осуществляются в разнесенной по времени последовательности в строгой привязке каждого из этих процессов к перемещению поршня определенной направленности.
Таким образом, предложенное настоящим изобретением оснащение известной конструкции насоса-прототипа совокупностью определенным образом окомпонованных и функционально взаимосвязанных между собой дополнительных конструктивных элементов дало возможность обеспечить примерно двухкратное снижение неравномерности подачи, определяемой как отношение величины максимального мгновенного значения ее к среднему значению для синусоидального закона перемещения поршня, при одновременном повышении ресурсоспособности насоса в целом за счет размещения подвижного уплотнения штока в полости всасывающего тракта с менее жесткими условиями функционирования этого уплотнения по сравнению с условиями напорного тракта его расположения в прототипе, а также за счет уменьшения, при прочих равных условиях, пути скольжения трущихся пар подвижных уплотнений данного насоса по сравнению с прототипом.
Данный объемный насос может быть использован в любых отраслях промышленности, где требуется эффективное перекачивание жидкостных сред в системах различного целевого назначения. При этом благодаря эластичному контактированию функциональных уплотнительных поверхностей в клапанных распределителях принудительного действия, данный насос менее чувствителен к наличию механических примесей в перекачиваемой среде по сравнению с объемными насосами другой конструкции клапанных распределителей и поэтому он может быть эффективно использован в работе на загрязненных механическими включениями неабразивного характера рабочих средах, где объемные насосы с другими конструкциями клапанных распределителей малоэффективны.
Формула изобретения
1. Объемный насос, содержащий корпус, снабженный сообщенной с напорным трактом кольцевой проточкой, выполненный в расточке корпуса в месте расположения подвижно сопряженного с расточкой направляющей уплотненного штока, жестко связанного с расположенным в рабочем цилиндре корпуса между полостями рабочей камеры и всасывающего тракта уплотненным по штоку поршнем, снабженным кольцевой канавкой, в которой свободно расположен между боковыми стенками с натягом по поверхности рабочего цилиндра всасывающий клапанно-поршневой уплотнитель и выполнены выпускные каналы со стороны кольцевой проточки корпуса, в которой свободно расположен с натягом по поверхности штока и с нормированным поджатием к расположенной со стороны рабочего цилиндра боковой стенке напорный клапанно-штоковый уплотнитель, отличающийся тем, что корпус снабжен расположенным между кольцевой проточкой корпуса и направляющей штока оппозитно рабочему цилиндру дополнительным рабочим цилиндром, в котором расположен оппозитно поршню размещенный уплотненно на штоке этого поршня дополнительный поршень, снабженный кольцевой канавкой, в которой свободно расположен между боковыми стенками с натягом по поверхности дополнительного рабочего цилиндра дополнительный всасывающий клапанно-поршневой уплотнитель и выполнены выпускные каналы со стороны кольцевой проточки корпуса, в которой свободно расположен оппозитно напорному клапанно-штоковому уплотнителю с натягом по поверхности штока и с нормированным поджатием к расположенной со стороны дополнительного рабочего цилиндра боковой стенке дополнительный клапанно-штоковый уплотнитель, причем сообщенная с напорным трактом кольцевая проточка корпуса выполнена составной, а расположенная между дополнительным поршнем и направляющей штока полость сообщена со всасывающим трактом выполненными в штоке каналами.
2. Объемный насос по п.1, отличающийся тем, что нормированное поджатие дополнительного клапанно-штокового уплотнителя к расположенной со стороны дополнительного рабочего цилиндра боковой стенке кольцевой проточки корпуса осуществлено расположением его между этой стенкой и напорным клапанно-штоковым уплотнителем с натягом, нормированным посредством расположенных между уплотнителями регулировочных прокладок.
3. Объемный насос по п.1, отличающийся тем, что сообщенная с напорным трактом составная кольцевая проточка корпуса со стороны дополнительного рабочего цилиндра образована поверхностями торца этого цилиндра, расположенного в расточке корпуса со стороны направляющей штока.
РИСУНКИ
|
|