|
|
(21), (22) Заявка: 2005109114/15, 29.03.2005
(24) Дата начала отсчета срока действия патента:
29.03.2005
(46) Опубликовано: 20.08.2006
(56) Список документов, цитированных в отчете о поиске:
RU 2220920 C1, 10.01.2004. RU 2184709 С1, 10.07.2002. КОГАНОВСКИЙ А.М. и др. Очистка и использование сточных вод в промышленном водоснабжении. – М.: Химия, 1983, с.237-239.
Адрес для переписки:
160035, г.Вологда, ул. Ленина, 15, ВОГТУ, ПИО
|
(72) Автор(ы):
Лукьянов Василий Иванович (RU), Ткаченко Сергей Николаевич (RU), Лукьянов Евгений Васильевич (RU)
(73) Патентообладатель(и):
Вологодский государственный технический университет (RU)
|
(54) СТАНЦИЯ ОЧИСТКИ СТОЧНЫХ ВОД В СИСТЕМАХ ТЕХНИЧЕСКОГО ВОДОСНАБЖЕНИЯ
(57) Реферат:
Изобретение относится к станциям очистки сточных вод и может применяться на предприятиях различных отраслей промышленности, допускающих повторное использование очищенных сточных вод для технического водоснабжения. Станция очистки сточных вод в системах технического водоснабжения включает решетку, два повысительных насоса, струйный аппарат, вертикально-трубчатую систему, концентратомер растворенного кислорода в сточной воде, источник технического кислорода, фильтр, резервуар-накопитель промывной воды, промывной насос, кран с поплавковым приводом, задающее устройство, сравнивающее устройство, следящий привод, вентиль, датчики, давления, электрифицированные задвижки, датчики положения электрифицированных задвижек и блок управления. При этом станция дополнительно содержит приемный резервуар, коллектор с насадками, гидроциклон, озонатор, второй струйный аппарат с окном из кварцевого стекла, ультрафиолетовый излучатель, вторую вертикально-трубчатую систему, концентратомер растворенного озона в воде, второе задающее устройство, второе сравнивающее устройство, второй следящий привод и второй вентиль. Технический результат: повышение эффективности очистки сточных вод, используемых в системах технического водоснабжения. 1 ил.
Изобретение относится к станциям очистки сточных вод и может применяться на предприятиях различных отраслей промышленности, допускающих повторное, использование очищенных сточных вод для технического водоснабжения.
Известна станция, очистки сточных вод с доочисткой на фильтровальных сооружениях, включающая решетку, песколовку, песковую площадку, первичный отстойник, аэротенк, вторичный отстойник, фильтр, резервуар-накопитель промывной воды, промывной насос, установку для хлорирования и контактный резервуар [Очистка и использование сточных вод в промышленном водоснабжении/ А.М.Когановский, Н.А.Клименко, Т.Н.Левченко и др. – М.: Химия, 1983, с.238, рис.1Х-1].
Недостатками известной станции очистки сточных вод с доочисткой на фильтровальных сооружениях являются низкая эффективность очистки сточных вод, сгущения и обезвоживания осадка, а также недостаточная экологическая безопасность станции очистки, обусловленная применением хлора.
Известна станция очистки сточных вод, выбранная в качестве прототипа, включающая решетку, два повысительных насоса, струйный аппарат, вертикально-трубчатую систему, концентратомер растворенного кислорода, в сточной воде, источник технического кислорода, фильтр, резервуар-накопитель промывной воды, промывной насос, кран с поплавковым приводом, задающее устройство, сравнивающее устройство, следящий привод, вентиль, датчики давления, электрифицированные задвижки, датчики положения, электрифицированных задвижек и блок управления[Патент РФ №2220920, кл. 7 C 02 F 9/14, 2004].
Недостатком известной станции очистки сточных вод является невысокая эффективность очистки сточных вод, имеющих в своем составе медленно окисляемые соединения. Кроме того, утилизация осадка, из первичного отстойника сопряжена со значительными затратами.
Задача, на решение которой направлено изобретение, состоит в том, чтобы повысить эффективность очистки сточных вод, используемых в системах технического водоснабжения.
Предлагаемое техническое решение заключается в следующем: станция очистки сточных вод в системах технического водоснабжения, включающая решетку, два повысительных насоса, струйный аппарат, струйный аппарат, вертикально-трубчатую систему, концентратомер растворенного кислорода в сточной воде, источник технического кислорода, фильтр, резервуар-накопитель промывной воды, промывной насос, кран с поплавковым приводом, задающее устройство, сравнивающее устройство, следящий привод, вентиль, датчики давления, электрифицированные задвижки, датчики положения, электрифицированных задвижек и блок управления, дополнительно содержит приемный резервуар, коллектор с насадками, гидроциклон, озонатор, второй струйный аппарат с окном из кварцевого стекла, ультрафиолетовый излучатель, вторую вертикально-трубчатую систему, концентратомер растворенного озона в воде, второе задающее устройство, второе сравнивающее устройство, второй следящий привод, второй вентиль, причем коллектор с насадками размещен в приемном резервуаре с возможностью смыва осадка со стен приемного резервуара струями воды и соединен с напорным патрубком промывного насоса и со входом фильтра, напорный патрубок первого повысительного насоса соединен с входным патрубком первого струйного аппарата, источник технического кислорода через первый вентиль соединен со всасывающим патрубком первого струйного аппарата и через кран с входным патрубком озонатора, первая вертикально-трубчатая система соединена с выходом первого струйного аппарата и с входным патрубком гидроциклона, концентратомер растворенного кислорода в сточной воде установлен на выходе первой вертикально-трубчатой системы и соединен с блоком управления и вычитающим входом первого сравнивающего устройства, суммирующий вход которого соединен с первым задающим устройством, выход первого сравнивающего устройства соединен с входом первого следящего привода, выход первого следящего привода соединен с запорно-регулирующим органом первого вентиля, всасывающий патрубок второго повысительного насоса соединен со сливным патрубком гидроциклона, патрубок для отвода осадка из гидроциклона открыт в отводящий лоток, вход фильтра соединен с напорным патрубком второго повысительного насоса, выход фильтра соединен с входным патрубком второго струйного аппарата, ультрафиолетовый излучатель размещен снаружи второго струйного аппарата с возможностью просвечивания через окно с кварцевым стеклом проточного канала второго струйного аппарата, озонатор через второй вентиль соединен со всасывающим патрубком второго струйного аппарата, выход второго струйного аппарата соединен со второй вертикально-трубчатой системой, концентратомер растворенного озона в воде установлен на выходе второй вертикально-трубчатой системы и соединен с блоком управления и вычитающим входом второго сравнивающего устройства, суммирующий вход которого соединен со вторым задающим устройством, выход второго сравнивающего устройства соединен со входом второго следящего привода, выход второго следящего привода соединен с запорно-регулирующим органом второго вентиля, выход второй вертикально-трубчатой системы соединен с потребителем очищенной сточной воды и через кран с поплавковым приводом с резервуаром-накопителем промывной воды, промывной насос соединен с резервуаром-накопителем промывной воды и через электрифицированные задвижки с фильтром для его промывки и коллектором с насадками, а ультрафиолетовый излучатель, электрифицированные задвижки, датчики положения электрифицированных задвижек и датчики давления соединены с блоком управления.
Сопоставительный анализ заявляемого решения с прототипом показывает, что оно содержит новые узлы со своими связями, позволяющими повысить эффективность очистки сточных вод, используемых в системах технического водоснабжения.
Таким образом, заявляемое техническое решение соответствует критерию “новизна”.
При проведении дополнительного поиска известных решений не были выявлены признаки, совпадающие с отличительными от прототипа признаками заявляемой станции очистки сточных вод в системах технического водоснабжения. Следовательно, заявляемое изобретение соответствует условию “изобретательный уровень”.
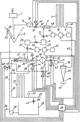
На чертеже схематически представлена станция очистки сточных вод в системах технического водоснабжения.
Станция очистки сточных вод в системах технического водоснабжения содержит решетку 1, приемный резервуар 2, кран 3, первый повысительный насос 4, первый струйный аппарат 5, источник технического кислорода 6, первую вертикально-трубчатую систему 7, концентратомер растворенного кислорода в сточной воде 8, первое задающее устройство 9, первое сравнивающее 5 устройство 10, первый следящий привод 11, первый вентиль 12, гидроциклон 13, выпускной патрубок 14, отводящий лоток 15, сливной патрубок 16, второй повысительной насос 17, фильтр 18, второй струйный аппарат 19, озонатор 20, ультрафиолетовый излучатель 21, вторую вертикально-трубчатую систему 22, концентратомер растворенного озона в сточной воде 23, второе задающее устройство 24, второе сравнивающее устройство 25, второй следящий привод 26, второй вентиль 27, резервуар-накопитель промывной вода 28, промывной насос 29, кран с поплавковым приводом 30, датчики давления 31-34, электрифицированные задвижки 35-40, датчики положения 41-46 электрифицированных задвижек, трубопроводы 47-55, коллектор 56, насадок 57 и блок управления 58.
Станция очистки сточных вод в системах технического водоснабжения работает следующим образом.
Сточная вода проходит через решетку 1, освобождается от крупных включений и поступает в приемный резервуар 2. Открывается кран 3, запускается в работу первый повысительный насос 4 и включается в действие ультрафиолетовый излучатель 21. Когда первый повысительный насос 4 выйдет на нормальный режим работы, от датчика давления 31 на блок управления 58 поступает сигнал на открывание электрифицированной задвижки 35. Электрифицированная задвижка 35 открывается и при разрешающем сигнале от датчика положения 41 электрифицированной задвижки первый повысительный насос 4 забирает сточную воду из приемного резервуара 2 и под напором по трубопроводу 47 подает ее во входной патрубок первого струйного аппарата 5, во всасывающий патрубок которого от источника технического кислорода 6 поступает кислород. В первом струйном аппарате 5 сточная вода тщательно перемешивается с кислородом. Из выходного патрубка первого струйного аппарата 5 смесь из сточной воды и кислорода по трубопроводу 48 поступает на вход первой вертикально-трубчатой системы 7. В первое вертикально-трубчатой системе 7 под действием весового гидростатического давления кислород растворяется, насыщает собой сточную воду и обеспечивает интенсивное протекание двух важных процессов: биологического окисления органических веществ и отделения ила, обладающего высокими седиментационными свойствами. На выходе первой вертикально-трубчатой системы 7 размещен концентратомер растворенного кислорода в сточной воде 8, который фиксирует концентрацию остаточного растворенного кислорода в сточной воде и в виде электрического сигнала передает ее через блок управления 58 на вычитающий вход первого сравнивающего устройства 10, суммирующий вход которого соединен с первым задающим устройством 9. На первом задающем устройстве 9 устанавливается определенная величина концентрации растворенного кислорода в сточной воде. Первый следящий привод 11, со входом которого соединен выход первого сравнивающего устройства 10, будет воздействовать на запорно-регулирующий орган первого вентиля 12 до тех пор, пока не наступит равенство величин: концентраций остаточного растворенного кислорода в сточной воде и установленном ее значении на первом задающем устройстве 9. Таким образом, автоматически, поддерживается расход кислорода, необходимого для эффективного окисления органических примесей в сточной воде. Из первой вертикально-трубчатой системы 7 сточная жидкость с продуктами окисления по трубопроводу 49 под напором поступает во входной патрубок гидроциклона 13. В гидроциклоне 13 под действием центробежных сил грубодиспергированные оседающие примеси выделяются из сточной воды и через выпускной патрубок 14 направляются в отводящий лоток 15 для утилизации, а осветленная сточная вода через сливной патрубок 16 гидроциклона 13 поступает во всасывающий патрубок второго повысительного насоса 17. Второй повысительный насос 17 запускается в действие и, когда он выйдет на нормальный режим работы, от датчика давления 32 на блок управления 58 поступает сигнал на открывание электрифицированных задвижек 36 и 37. Электрифицированные задвижки 36 и 37 открываются и при разрешающих сигналах от датчиков положений 42 и 43 электрифицированных задвижек осветленная сточная вода вторым повысительным насосом 17 подается на фильтр 18, где она фильтруется и под напором поступает во входной патрубок второго струйного аппарата 19. От озонатора 20 во всасывающий патрубок второго струйного аппарата 19 поступает озонокислородная смесь и в камере смешения тщательно перемешивается со сточной водой. От ультрафиолетового излучателя 21 в камеру смешения второго струйного аппарата 19 проникают лучи. В результате совместного действия озона и ультрафиолетового излучения оставшиеся в сточной воде органические загрязняющие вещества, включая и трудноокисляемые, разрушаются, а осветленная сточная вода по трубопроводу 51 поступает для полного обеззараживания на вход второй вертикально-трубчатой системы 22. Во второй вертикально-трубчатой системе 22 под действием весового гидростатического давления озон практически полностью растворяется в осветленной сточной воде и своим воздействием окончательно подавляет всю бактериальную микрофлору, в том числе и самую стойкую – споры и вирусы. На выходе второй вертикально-трубчатой системы 22 размещен концентратомер растворенного озона в осветленной сточной воде 23, который фиксирует концентрацию растворенного озона в осветленной сточной воде и в виде электрического сигнала передает ее через блок управления 58 на вычитающий вход второго сравнивающего устройства 25, суммирующий вход которого соединен со вторым задающим устройством 24. На втором задающем устройстве 24 устанавливается определенная величина концентрации растворенного озона в осветленной сточной воде. Второй следящий привод 26, со входом которого соединен выход второго сравнивающего устройства 25, будет воздействовать на запорно-регулирующий орган второго вентиля 27 до тех пор, пока не наступит равенство величин: концентрации растворенного озона в осветленной сточной воде и установленном ее значении на втором задающем устройстве 24. Таким образом, автоматически поддерживается расход озонокислородной смеси, необходимой для эффективного обеззараживания осветленной сточной воды перед ее использованием.
При эксплуатации станции очистки сточных вод в системах технического водоснабжения возможны перебои в подаче технического кислорода и озонокислородной смеси. Если хотя бы один из концентратомеров растворенного кислорода в сточной воде 8 или озона 23 зафиксирует их отсутствие, то через определенную выдержку времени, которая устанавливается на пульте блока управления 58, по сигналу с блока управления 58 закрываются электрифицированные задвижки 35-40, первый 11 и второй 26 следящие приводы закрывают соответственно первый 12 и второй 27 вентили и при разрешающих сигналах от датчиков положения 41-46 электрифицированных задвижек станция очистки сточных вод в системах технического водоснабжения прекращает свою работу.
При работе фильтр 18, засоряется его гидравлическое сопротивление увеличивается, а вместе с тем увеличивается и гидростатическое давление на входе фильтра 18 в точке присоединения датчика давления 33. При достижении определенной величины давления блок управления 58 переводит станцию очистки сточных вод в системах технического водоснабжения в режим регенерации фильтрующей загрузки фильтра 18. По команде с блока управления 58 электрифицированные задвижки 36 и 37 закрываются, и при разрешающих сигналах от датчиков положения 42 и 43 электрифицированных задвижек запускается в работу электродвигатель промывного насоса 29. Когда промывной насос 29 выйдет на нормальный режим работы, датчик давления 34 на блок управления 58 подает сигнал на открывание электрифицированных задвижек 38 и 39. Электрифицированные задвижки 38 и 39 открываются, и при разрешающих сигналах от датчиков положения 44 и 45 электрифицированных задвижек промывной насос 29 забирает воду из резервуара-накопителя промывной воды 28 и по трубопроводам 53 и 54 подает ее в выходной патрубок фильтра 18. Загрязненная промывная вода из фильтра 18 отводится и по трубопроводам 50 и 55 поступает в коллектор 56, а затем через насадки 57 в приемный резервуар 2. Из насадков 57 струи загрязненной промывной воды выходят с большой скоростью и смывают со стен приемного резервуара 2 осадок, предотвращая тем самым его уплотнение и загнивание. По истечении заданного на пульте блока управления 58 времени промывной насос 29 выключается, электрифицированные задвижки 38 и 39 закрываются, а электрифицированные задвижки 36 и 37 открываются. При разрешающих сигналах от датчиков положения 42-45 процесс очистки и обеззараживания сточной воды продолжается. Очищенная и обеззараженная сточная вода по трубопроводу 52 поступает потребителю. Пополнение израсходованного запаса промывной воды в резервуаре-накопителе промывной воды 28 производится через кран с поплавковым приводом 30.
Для периодического ополаскивания стен приемного резервуара 2 чистой промывной водой, например, перед профилактическим осмотром его состояния, промывной насос 29 по трубопроводу 53 через открытую электрифицированную задвижку 40 подает промывную воду аз резервуара-накопителя промывной воды 28 в коллектор 56 и далее через насадки 57 в приемный резервуар 2. При этом электрифицированные задвижки 38 и 39 будут оставаться закрытыми.
Предлагаемое техническое решение позволяет получить экономический эффект за счет рационального использования технического кислорода и озона для эффективной очистки и обеззараживания сточных вод, благодаря автоматическому регулированию их подачи при изменяющихся во времени характеристиках входного потока сточных вод. Кроме того, улучшаются седиментационные свойства ила, что приводит не только к уменьшению количества ила, но и к резкому сокращению затрат, связанных с его утилизацией, улучшаются санитарные условия труда и повышается экологическая безопасность станции очистки сточных вод.
Формула изобретения
Станция очистки сточных вод в системах технического водоснабжения, включающая решетку, два повысительных насоса, струйный аппарат, вертикально-трубчатую систему, концентратомер растворенного кислорода в сточной воде, источник технического кислорода, фильтр, резервуар-накопитель промывной воды, промывной насос, кран с поплавковым приводом, задающее устройство, сравнивающее устройство, следящий привод, вентиль, датчики давления, электрифицированные задвижки, датчики положения электрифицированных задвижек и блок управления, отличающаяся тем, что она дополнительно содержит приемный резервуар, коллектор с насадками, гидроциклон, озонатор, второй струйный аппарат с окном из кварцевого стекла, ультрафиолетовый излучатель, вторую вертикально-трубчатую систему, концентратомер растворенного озона в воде, второе задающее устройство, второе сравнивающее устройство, второй следящий привод, второй вентиль, причем коллектор с насадками размещен в приемном резервуаре с возможностью смыва осадка со стен приемного резервуара струями воды и соединен с напорным патрубком промывного насоса и со входом фильтра, напорный патрубок первого повысительного насоса соединен с входным патрубком первого струйного аппарата, источник технического кислорода через первый вентиль соединен со всасывающим патрубком первого струйного аппарата и через кран – с входным патрубком озонатора, первая вертикально-трубчатая система соединена с выходом первого струйного аппарата и с входным патрубком гидроциклона, концентратомер растворенного кислорода в сточной воде установлен на выходе первой вертикально-трубчатой системы и соединен с блоком управления и вычитающим входом первого сравнивающего устройства, суммирующий вход которого соединен с первым задающим устройством, выход первого сравнивающего устройства соединен с входом первого следящего привода, выход первого следящего привода соединен с запорно-регулирующим органом первого вентиля, всасывающий патрубок второго повысительного насоса соединен со сливным патрубком гидроциклона, патрубок для отвода осадка из гидроциклона открыт в отводящий лоток, вход фильтра соединен с напорным патрубком второго повысительного насоса, выход фильтра соединен с входным патрубком второго струйного аппарата, ультрафиолетовый излучатель размещен снаружи второго струйного аппарата с возможностью просвечивания через окно с кварцевым стеклом проточного канала второго струйного аппарата, озонатор через второй вентиль соединен со всасывающим патрубком второго струйного аппарата, выход второго струйного аппарата соединен со второй вертикально-трубчатой системой, концентратомер растворенного озона в воде установлен на выходе второй вертикально-трубчатой системы и соединен с блоком управления и вычитающим входом второго сравнивающего устройства, суммирующий вход которого соединен со вторым задающим устройством, выход второго сравнивающего устройства соединен со входом второго следящего привода, выход второго следящего привода соединен с запорно-регулирующим органом второго вентиля, выход второй вертикально-трубчатой системы соединен с потребителем очищенной сточной воды и через кран – с поплавковым приводом с резервуаром-накопителем промывной воды, промывной насос соединен с резервуаром-накопителем промывной воды и через электрифицированные задвижки – с фильтром для его промывки и коллектором с насадками, а ультрафиолетовый излучатель, электрифицированные задвижки, датчики положения электрифицированных задвижек и датчики давления соединены с блоком управления.
РИСУНКИ
MM4A – Досрочное прекращение действия патента СССР или патента Российской Федерации на изобретение из-за неуплаты в установленный срок пошлины за поддержание патента в силе
Дата прекращения действия патента: 30.03.2007
Извещение опубликовано: 10.07.2008 БИ: 19/2008
|
|