|
|
(21), (22) Заявка: 2004137430/11, 22.12.2004
(24) Дата начала отсчета срока действия патента:
22.12.2004
(46) Опубликовано: 20.08.2006
(56) Список документов, цитированных в отчете о поиске:
RU 2025572 C1, 30.12.1994. US 6412731 А, 02.07.2002. GB 610143 А, 12.10.1948.
Адрес для переписки:
197045, Санкт-Петербург, Ушаковская наб., 17/1, ВМА им. Н.Г.Кузнецова, заместителю начальника Академии по учебной и научной работе
|
(72) Автор(ы):
Соловьев Александр Петрович (RU), Турышев Борис Иванович (RU), Поздняк Галина Ивановна (RU)
(73) Патентообладатель(и):
Государственное образовательное учреждение высшего профессионального образования Военно-морская академия им. Адмирала Флота Советского Союза Н.Г. КУЗНЕЦОВА (RU)
|
(54) ВОЗДУШНОЕ ТОРМОЗНОЕ УСТРОЙСТВО
(57) Реферат:
Изобретение относится к силовым установкам, работающим на потоках газов. Устройство содержит в корпусе вертикальный ускоритель потока воздуха, поступающего снизу вверх, состоящий из двух сужающихся сопел на одной оси, герметично соединенных между собой. Каждое сопло жестко или с возможностью осевого перемещения введено коаксиально в следующее по ходу движения воздуха сопло с образованием между соплами полости, в которой размещены впускные клапаны на ее стенке и средства энерговозбуждения воздуха. Во всех полостях размещены датчики давления. В верхней части корпуса воздушный поток, поступающий из ускорителя, разветвляется и направляется по воздуховодам к выходным вертикальным соплам, расположенным под углом 180° к вертикали, а также к горизонтальным соплам. Для управления потоками воздуха из ускорителя предусмотрены датчики скорости движения устройства в трех направлениях и датчики скорости потока на выходе из всех сопел. Имеются исполнительные механизмы привода створок в воздуховодах и блок управления работой устройства. Технический результат – расширение арсенала средств обеспечения движения летательного аппарата. 2 ил.
Изобретение относится к авиации, а именно к средствам спасения пассажиров и летательных аппаратов. Может быть использовано при создании перспективных самолетов и вертолетов с повышенной безопасностью.
Известна аварийно-спасательная система самолета, состоящая из обитаемых модулей – составных частей фюзеляжа, снабженных парашютными подсистемами [1].
Известен летательный аппарат с пассажирскими аварийно-спасательными модулями, размещенными по бортам фюзеляжа, имеющими посадочное устройство, парашютную систему и автономную систему энергоснабжения [2].
Известен пассажирский самолет повышенной комфортности с катапультируемыми аварийно-спасательными модулями и парашютной системой [3].
Недостатки у всех перечисленных выше аналогов общие – отсутствие возможности движения модуля в горизонтальной плоскости, чтобы избежать приземления в опасных местах, а также трудности управления скоростью спуска модуля, особенно вблизи земли. Кроме того, парашютная система не обеспечивает возможность, при необходимости (например, опасности), хотя бы кратковременного подъема модуля вверх на некоторую небольшую высоту.
Известен способ спасения вертолета, состоящий в отделении несущего винта от фюзеляжа, выводе парашюта и посадке вертолета [4].
Недостатки – те же, но они касаются вертолета в целом.
Известно воздушное устройство для создания силы тяги, содержащее компрессор с приводом и ресивер с соплами [5]. Принято за прототип.
Недостатки – необходимость использования компрессора с приводом и топлива для их работы, что усложняет конструкцию устройства.
Технический результат изобретения – обеспечение движения спускаемого объекта (аварийно-спасательного модуля и/или самого летательного аппарата, груза) по горизонтали, управление спуском – подъемом объекта и более безопасным приземлением.
Технический результат достигается тем, что в известном устройстве, содержащем сопла и технические средства для получения воздуха с заданными параметрами, дополнительно установлено средство энерговозбуждения газа (воздуха), в корпусе устройства размещается по вертикали ускоритель потока воздуха, поступающего снизу вверх, состоящий из не менее двух сужающихся сопел на одной оси, герметично соединенных между собой. Каждое сопло жестко или с возможностью осевого перемещения введено коаксиально в следующее по ходу движения воздуха сопло с образованием между соплами полости (полостей). По крайней мере, в одной полости размещены впускные клапаны на ее стенке и средства энерговозбуждения воздуха. Во всех полостях размещены датчики давления. Струя воздуха с выходного отверстия ускорителя в верхней части корпуса устройства разветвляется и направляется по воздуховодам к двум или более выходным вертикальным соплам, расположенным под углом 180° к вертикали, а также к одному или нескольким горизонтальным соплам. Для управления распределением потоков воздуха из ускорителя предусмотрены датчики скорости движения самого устройства, а также потоков воздуха на выходе из всех сопел. Кроме этого, имеются исполнительные механизмы привода створок в воздуховодах и блок управления работой устройства.
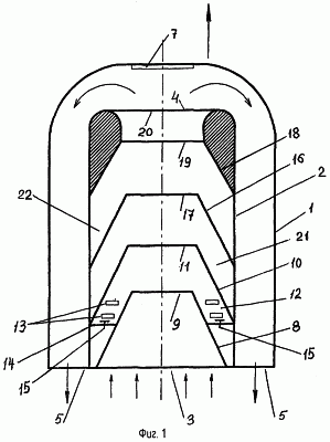
Схематически предлагаемое изобретение изображено на фиг.1 и 2. Тормозное воздушное устройство (ТВУ) (фиг.1) содержит корпус 1, ускоритель воздушного потока 2 с входным 3 и выходным 4 отверстиями, воздуховоды вертикальные с выходными соплами 5, воздуховоды горизонтальные с выходными соплами 6 и клапан 7. Ускоритель воздушного потока содержит размещенные соосно сужающиеся сопло 8 с входным сечением 3 и критическим сечением 9, сопло 10 с критическим сечением 11 и полость 12 между этими соплами. В полости 12 помещены средства энерговозбуждения воздуха 13 и клапаны 15 на стенке 14 полости. Далее по ходу движения воздуха следуют сужающееся сопло 16 с критическим сечением 17 и сужающееся сопло 18 с критическим сечением 19 и выходным сужающимся соплом 20. Между соплами 10 и 16 имеется полость 21, между соплами 16 и 18 – полость 22. При этом сопла 8 и 10, а также 10 и 16, 16 и 18 соединены между собой герметично. Датчики давления в полостях и на выходных соплах, блок управления работой ВТУ не показаны.
На фиг.2 показано ТВУ (вид сверху) по форме параллелепипеда и цилиндра.
Устройство работает следующим образом. При падении устройства в воздухе в вертикальном состоянии поступающий через вход 3 в ускоритель 2 воздух может иметь скорость, недостаточную для разгона и начальной устойчивой работы тормозного устройства. Тогда производят энерговозбуждение (например, ионизацию) воздуха в полости 12 с использованием одного или нескольких средств ионизации 13, размещенных в полости. При этом клапаны 7 и 15 закрыты. Такими средствами ионизации могут быть нанесенные на внутренние поверхности стенки полости электроды, соединенные с полюсами источника напряжения электротока, или магнитные полосы. Средствами ионизации могут быть также источник искусственного потока элементарных частиц с энергией в интервале от 10 эВ до 1,2*1045 эВ или нанесенные на стенки полости покрытия, содержащие радиоактивные элементы. Ионизацию осуществляют, например, возбуждением в воздухе в полости электрического разряда переменным электрическим и/или магнитным полем (источники полей на фиг.1 не показаны). Или путем ввода в полость катализатора процесса ионизации (инертный газ (например, аргон), элементы четвертой группы периодической таблицы химических элементов (например, углерод) и др. В результате такого воздействия молекулы воздуха (азота и кислорода) частично разрушаются с выделением большого количества тепла и кинетической энергии [3]. Поток расширенного в полости 12 газа вылетает к центральной оси устройства, увлекая (эжектируя) при этом воздух из внешней среды через входное сечение 3. Далее клапаны 15 открываются и в полость 12 поступает воздух из внешней среды или от источника сжатого воздуха (баллона сжатого воздуха). После этого клапаны закрываются. Частота выполнения таких операций (пульсаций) регулируется и может быть достаточно высокой, чтобы обеспечить как импульсный, так и квазинепрерывный характер работы. Когда скорость потока газа, идущего из полости 12, с учетом эжектируемого воздуха из внешней среды (через сопло 8) между сечениями 11 и 17 будет достаточной для эжекции воздуха из полости 21, в последней возникнет некоторое разрежение. Оно будет способствовать повышению перепада давлений между сечениями 3 и 17 и тем самым увеличению скорости истечения и расхода воздуха через входное отверстие 3. Это, в свою очередь, приведет к усилению вакуумирования полости 21. Такие процессы будут происходить до тех пор, пока перестанет повышаться вакуум в этой полости. Движитель начинает работать только за счет засасывания в сопло 21 воздуха из внешней среды вакуумом этой полости. После прекращения пульсаций возникает разрежение и в полости 12. При дальнейшем самовакуумировании полостей 12, 21 и 22 в выходном отверстии 4 ускорителя 2 возникнет устойчивый сверхзвуковой поток воздуха.
В верхней части корпуса воздушный поток после выхода из 4 по сигналам из блока управления (на фиг.1, 2 не показан), передающимся исполнительным механизмам привода створок в воздуховодах, разделяется на два или более вертикальных воздуховода с выходными соплами 6 под углом 180° к вертикали устройства и, по крайней мере, два горизонтальных воздухопровода с выходными соплами 7. Для управления потоками воздуха на выходе 4 ускорителя предусмотрены датчики скорости движения устройства в трех направлениях, и скорости потока на выходе из всех сопел, связанные с блоком управления. Энергии сверхзвукового потока воздуха (одного или нескольких воздушных тормозных устройств) должно быть достаточно для уравновешивания груза (спасательного модуля, летательного аппарата и т.п.), подъема его на некоторую высоту и горизонтального перемещения (при необходимости).
Рассматриваемый режим работы устройства не является единственным. Возможен вариант работы, при котором впрыскивание и ионизация газа (воздуха) в полости 12 производятся непрерывно. В этом случае энергия, выделяемая при разложении атомов газа в полости 12, будет дополнять, усиливать энергетический эффект движения воздуха в усилителе, полученный от вакуумирования полостей 21 и 22.
Затраты энергии на разгон и обеспечение устойчивой выработки сверхзвукового потока воздуха в качестве кинетической энергии для работы устройства сравнительно небольшие. Энергия тратится на разгон воздуха внутри ускорителя до заданной скорости (на ионизацию воздуха в полости 12 и энерговозбуждение воздуха), на работу механизмов открытия – закрытия клапанов 7, 15, на исполнительные механизмы приводов створок, работу измерительной и управляющей аппаратуры.
Применение изобретения позволит в первую очередь осуществить более безопасный спуск объекта и его приземление, обеспечить движение спускаемого объекта (аварийно-спасательного модуля летательного аппарата, самого летательного аппарата, грузов) по горизонтали и при необходимости некоторый подъем объекта на большую высоту.
Источники информации
1. Патент РФ 2187443, кл. 7 В 64 С 1/32, В 64 D 25/12, публ. 2002.08.20.
2. Патент РФ 2172277, кл. 7 В 64 C 1/32, B 64 С 21/02, В 64 D 25/12, публ. 2001.08.20.
3. Заявка на изобретения РФ 94023443, кл. 6 B 64 С 1/12, публ. 1995.10.10.
4. Патент РФ 2201381, кл. 7 B 64 С 27/04, B 64 С 1/32, B 64 D 17/80, публ. 2003.03.27.
5. Патент РФ 2025572, кл. 5 F 02 K 11/00, публ. 1994.12.30.
Формула изобретения
Воздушное тормозное устройство, содержащее сопла и технические средства для получения воздуха с заданными параметрами, отличающееся тем, что оно дополнительно снабжено средством энерговозбуждения воздуха, в корпусе устройства размещен по вертикали ускоритель потока воздуха, поступающего снизу вверх, состоящий из не менее двух сужающихся сопел на одной оси, герметично соединенных между собой, каждое сопло жестко или с возможностью осевого перемещения введено коаксиально в следующее по ходу движения воздуха сопло с образованием между соплами по крайней мере одной полости, в которой размещены впускные клапаны на ее стенке и средства энерговозбуждения воздуха, в полостях размещены датчики давления, в верхней части корпуса устройства воздушный поток, поступающий из ускорителя, разветвляется и направляется по воздуховодам к двум или более выходным вертикальным соплам, расположенным под углом 180° к вертикали, а также к одному или нескольким горизонтальным соплам, для управления потоками воздуха из ускорителя предусмотрены датчики скорости движения самого устройства в трех направлениях и датчики скорости потока на выходе из всех сопел, кроме этого имеются исполнительные механизмы привода створок в воздуховодах и блок управления работой устройства.
РИСУНКИ
|
|