|
|
(21), (22) Заявка: 2004120600/09, 05.07.2004
(24) Дата начала отсчета срока действия патента:
05.07.2004
(43) Дата публикации заявки: 10.01.2006
(46) Опубликовано: 27.07.2006
(56) Список документов, цитированных в отчете о поиске:
RU 2182365 C1, 10.05.2002. RU 2006948 C1, 30.01.1994. RU 2018962 C1, 30.08.1994. US 2001030605 B2, 18.10.2001. US 2003206103 B2, 06.11.2003. JP 2001082009, 27.03.2001. US 5673021 A, 30.09.1997.
Адрес для переписки:
600037, г.Владимир, ул. Нижняя Дубрава, 24-158, Г.Г. Легкой
|
(72) Автор(ы):
Гусев Юрий Анатольевич (RU), Кузнецов Лев Борисович (RU), Крифукс Олег Владимирович (RU), Карабанов Сергей Михайлович (RU), Цедилин Николай Григорьевич (RU), Никитин Александр Анатольевич (RU)
(73) Патентообладатель(и):
ЗАКРЫТОЕ АКЦИОНЕРНОЕ ОБЩЕСТВО “МАГНИТНЫЕ МАТЕРИАЛЫ” (RU), ОТКРЫТОЕ АКЦИОНЕРНОЕ ОБЩЕСТВО “Рязанский завод металлокерамических приборов” (RU)
|
(54) УСТРОЙСТВО ДЛЯ СИГНАЛИЗАЦИИ О ВСКРЫТИИ ОБЪЕКТА
(57) Реферат:
Изобретение относится к сигнальным устройствам и может быть использовано для сигнализации об открывании крышки, люка, двери. Техническим результатом является повышение надежности работы и уменьшение габаритов. Устройство включает корпус и датчик сигнала, выполненный в виде геркона и магнита, в корпусе неподвижно установлена продольная ось, на которой расположена с возможностью осевого перемещения втулка, на переднем конце которой неподвижно закреплен первый кольцевой магнит с установленным на нем магнитным экраном, а на заднем конце втулки – второй кольцевой магнит, при этом внутри оси расположена полость, в которой установлен геркон с выводами, выходящими из корпуса. Кольцевой магнит при ослаблении взаимодействия с ферромагнитной частью объекта устанавливает втулку с кольцевыми магнитами в положение равновесия, при котором магнитная индукция становится равной нулю и магнитоконтакты геркона разомкнуты. 7 з.п. ф-лы, 2 ил.
Изобретение относится к сигнальным устройствам и может быть использовано для сигнализации об открывании крышки, люка, двери и т.п.
Известно устройство для сигнализации о вскрытии объекта, описанное в авторском свидетельстве SU 1457654, G 08 B 13/08 (приоритет от 25.05.87 г.), содержащее корпус, в котором установлен с возможностью осевого перемещения и кинематически связанный с сигнальным переключателем шток, на котором свободно установлены опорная шайба и винтовая пружина, причем один конец винтовой пружины закреплен на корпусе, а другой – на опорной шайбе, которая снабжена штифтом, кинематически связанным с фиксирующими пазами на противоположных сторонах окна корпуса.
Недостатком устройства является то, что при открытии крышки сигнализация о вскрытии объекта срабатывает, шток фиксируется в верхнем положении и при закрытии крышки может быть сломан.
Кроме того, большое количество кинематических узлов и использование механического сигнального переключателя снижают надежность и ведут к увеличению габаритов устройства.
Наиболее близким к заявляемому является устройство для сигнализации о вскрытии объекта, описанное в патенте RU 2018962, G 08 B 13/08, опубликованном в 1994 году, содержащее корпус с крышкой, выполненный с возможностью осевого перемещения шток, кинематически связанный с датчиком сигнала, спиральную пружину, один конец которой жестко закреплен на опорной пластине, которая прикреплена к корпусу, причем на штоке установлена первая опорная шайба, а другой конец спиральной пружины закреплен на первой опорной шайбе, при этом в него введены вторая опорная шайба, поворотный двуплечий рычаг, упор, первая, вторая и третья плоские пружины, датчик сигнала выполнен в виде магнита, магнитного экрана и геркона, первые концы первой и второй плоских пружин жестко прикреплены соответственно к верхнему и нижнему плечам поворотного двуплечного рычага, нижнее плечо которого снизу взаимодействует с упором, второй конец первой пружины расположен на второй опорной шайбе, которая свободно установлена на штоке, один конец третьей плоской пружины прикреплен к корпусу, а другой взаимодействует с верхним плечом поворотного двуплечного рычага, магнитный экран расположен между магнитом и герконом и одним концом прикреплен посредством оси к подшипнику и корпусу, а другой его конец взаимодействует со вторым концом второй плоской пружины, поворотный двуплечий рычаг укреплен посредством подшипника к корпусу.
Недостатком данного устройства является низкая надежность, обусловленная наличием большого числа кинематических узлов, которое приводит к увеличению габаритов устройства.
Изобретение направлено на повышение надежности работы устройства и уменьшение его габаритов за счет упрощения конструкции путем исключения большого числа кинематических узлов и использования магнитной системы с входящими в нее двумя кольцевыми постоянными магнитами с аксиальным намагничиванием.
Заявляемое устройство для сигнализации о вскрытии объекта имеет следующую совокупность признаков: устройство для сигнализации о вскрытии объекта, включающее ферромагнитную часть, содержащее корпус и датчик сигнала, выполненный в виде геркона, в отличие от прототипа, в его корпусе на продольной оси расположена с возможностью осевого перемещения втулка, на переднем конце которой закреплен первый кольцевой магнит с установленным на нем магнитным экраном, на заднем конце втулки закреплен второй кольцевой магнит, внутри оси имеется полость, в которой установлен геркон с выводами, выходящими из корпуса, при этом первый кольцевой магнит при ослаблении взаимодействия с ферромагнитной частью объекта устанавливает втулку с кольцевыми магнитами в положение равновесия, таким образом, чтобы второй кольцевой магнит занял относительно геркона положение, при котором магнитная индукция становится равной нулю и магнитоконтакты геркона разомкнуты.
Такое выполнение устройства для сигнализации о вскрытии объекта позволяет повысить надежность в работе и уменьшить габариты устройства.
Кроме того, первый и второй магниты имеют аксиальное намагничивание, но первый магнит выполнен из спеченного редкоземельного материала Nd-Fe-B, а второй магнит – из анизотропного магнитотвердого феррита или магнитопласта Nd-Fe-B, что позволяет обеспечить оптимальную работоспособность этого устройства.
Для обеспечения фиксации и герметичности выводов магнитоконтактов геркона полость продольной оси должна быть заполнена герметиком.
Корпус устройства может быть выполнен в виде цилиндра из ударопрочного неферромагнитного материала, например пластмассы. Выполнение устройства в виде цилиндра является оптимальным для изготовления и монтажа и обеспечивает надежность и работоспособность заявляемого устройства.
Ось и втулка должны быть выполнены из неферромагнитного материала, например пластмассы, что также обеспечивает оптимальную работоспособность.
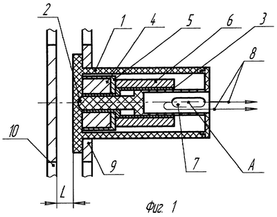
На фиг.1 изображено устройство для сигнализации о вскрытии объекта в закрытом положении в разрезе.
На фиг.2 изображено устройство для сигнализации о вскрытии объекта в открытом положении.
Заявляемое устройство содержит корпус 1, в котором неподвижно установлена продольная ось 2, на которой расположена с возможностью осевого перемещения втулка 3. На переднем конце втулки 3 закреплен первый кольцевой магнит 4 с магнитным экраном 5, а на заднем ее конце закреплен второй кольцевой магнит 6.
Внутри оси 2, в задней ее части, имеется полость, в которой установлен геркон 7 с выводами 8, выходящими из корпуса 1. Для фиксации и обеспечения герметичности выводов 8 магнитоконтактов геркона 7 полость оси 2 заполнена герметиком.
Корпус 1 устройства выполнен в виде цилиндра из неферромагнитного ударопрочного материала, например пластмассы.
Ось 2 и втулка 3 выполнены также из неферромагнитных материалов, например пластмассы.
Магнитный экран 5 выполнен из ферромагнитного магнитомягкого материала, например стали.
Устройство неподвижно установлено на неподвижной панели 9 охраняемого объекта, которая выполнена из ферромагнитного магнитомягкого материала. В том случае, если панель 9 выполнена из дерева или пластмассы, на переднюю часть корпуса 1 устройства дополнительно устанавливается кольцо из ферромагнитного магнитомягкого материала, например стали.
Открываемый элемент 10 (крышка, люк, дверь и т.п.) охраняемого объекта также выполнен из ферромагнитного магнитомягкого материала или имеет накладку из такого же материала, закрепленную в месте соприкосновения с передней стенкой корпуса 1 устройства.
Устройство работает следующим образом.
В исходном состоянии (фиг.1) открываемый элемент 10, например крышка, охраняемого объекта закрыт, т.е. приближен к корпусу 1 устройства на расстояние L
При открывании (фиг.2) крышки 10, т.е при ее отведении от передней стенки корпуса 1 устройства на расстояние L>Lоткл. (где Lоткл. – расстояние отключения), взаимодействие магнита 4 с ферромагнитной частью крышки 10 ослабевает на столько, что втулка 3 с магнитами 4 и 6 отводится к задней стенке корпуса 1. Это происходит за счет силы магнитосцепления между магнитом 4 и ферромагнитной частью панели 9. Эта сила стремится установить втулку 3 с магнитами 4 и 6 в положение равновесия, когда задняя сторона панели 9 и передний торец магнита 4 располагаются в одной плоскости, тем самым как бы выполняя функцию возвратной пружины.
При этом магнит 6 занимает относительно геркона 7 положение, как показано на фиг.2, и в точке “А” аксиальная составляющая становится равной нулю. Первый кольцевой магнит 4 предназначен при ослаблении взаимодействия с ферромагнитной частью объекта установить втулку 3 с кольцевыми магнитами в положение равновесия, таким образом, чтобы второй кольцевой магнит 6 занял относительно геркона 7 положение, при котором магнитная индукция становится равной нулю и магнитоконтакты геркона 7 разомкнуты. При разомкнутых магнитоконтактах геркона 7 с его выводов 8 поступает сигнал на узел сигнализации и извещает об открытом состоянии объекта.
В узле сигнализации данный сигнал преобразуется в звуковой, световой или иной сигнал оповещения о вскрытии объекта.
Магнитный экран 5 служит для ослабления нормальной составляющей магнитной индукции магнита 4 и, как следствие, нормальной составляющей силы магнитосцепления с ферромагнитной частью панели 9, что уменьшает сопротивление перемещению втулки 3 с магнитами 4 и 6. В то же время эта сила, как было описано выше, выполняет роль возвратной пружины и перемещает втулку 3 с магнитами к задней стенке устройства при отдалении подвижной крышки 10 охраняемого объекта от корпуса 1 устройства.
В том случае, если панель 9 выполнена из дерева или пластмассы, на переднюю часть корпуса 1 устройства дополнительно устанавливается кольцо из ферромагнитного магнитомягкого материала, которое выполняет функцию аналогичную панели 9, а именно функцию возврата втулки 3 с магнитами в положение при открывании крышки 10, показанное на фиг.2.
Таким образом, при открывании крышки 10 охраняемого объекта состояние магнитоконтактов геркона 7 изменяется с замкнутого на разомкнутое и информация об этом поступает с его выводов 8 на узел сигнализации, в котором происходит преобразование данной информации в световой или звуковой сигнал тревоги о вскрытии объекта.
Неподвижная установка в корпусе устройства продольной оси, на которой расположена с возможностью осевого перемещения втулка, на переднем конце которой неподвижно закреплен первый кольцевой магнит с установленным на нем магнитным экраном, а на заднем конце втулки закреплен второй кольцевой магнит, причем внутри продольной оси расположена полость, в которой установлен геркон с выводами, выходящими из корпуса, и при этом первый кольцевой магнит при ослаблении взаимодействия с ферромагнитной частью объекта устанавливает втулку с кольцевыми магнитами в положение равновесия, таким образом, чтобы второй кольцевой магнит занял относительно геркона положение, при котором магнитная индукция становится равной нулю и магнитоконтакты геркона разомкнуты, позволяет повысить надежность в работе и уменьшить габариты устройства для сигнализации о вскрытии объекта за счет упрощения конструкции путем исключения большого числа кинематических узлов и использования магнитной системы.
Кроме того, первый и второй кольцевые магниты имеют аксиальное намагничивание, но первый магнит выполнен из спеченного редкоземельного материала Nd-Fe-B, а второй магнит – из анизотропного магнитотвердого феррита или магнитопласта Nd-Fe-B, что позволяет обеспечить оптимальную работоспособность этого устройства.
Для обеспечения фиксации и герметичности выводов магнитоконтактов геркона полость продольной оси должна быть заполнена герметиком.
Корпус устройства может быть выполнен в виде цилиндра из ударопрочного неферромагнитного материала, например пластмассы. Выполнение устройства в виде цилиндра является оптимальным для изготовления и монтажа и обеспечивает надежность и работоспособность заявляемого устройства.
Ось и втулка должны быть выполнены из неферромагнитного материала, например пластмассы, что так же обеспечивает оптимальную работоспособность.
Формула изобретения
1. Устройство для сигнализации о вскрытии объекта, включающее ферромагнитную часть, содержащее корпус и датчик сигнала, выполненный в виде геркона, отличающееся тем, что в корпусе на продольной оси расположена с возможностью осевого перемещения втулка, на переднем конце которой закреплен первый кольцевой магнит с установленным на нем магнитным экраном, на заднем конце втулки закреплен второй кольцевой магнит, внутри оси имеется полость, в которой установлен геркон с выводами, выходящими из корпуса, при этом первый кольцевой магнит при ослаблении взаимодействия с ферромагнитной частью объекта устанавливает втулку с кольцевыми магнитами в положение равновесия таким образом, чтобы второй кольцевой магнит занял относительно геркона положение, при котором магнитная индукция становится равной нулю и магнитоконтакты геркона разомкнуты.
2. Устройство для сигнализации о вскрытии объекта по п.1, отличающееся тем, что первый магнит имеет аксиальное намагничивание и выполнен из спеченного редкоземельного материала Nd-Fe-B.
3. Устройство для сигнализации о вскрытии объекта по п.2, отличающееся тем, что второй магнит имеет аксиальное намагничивание и выполнен из анизотропного магнитотвердого феррита или магнитопласта Nd-Fe-B.
4. Устройство для сигнализации о вскрытии объекта по п.3, отличающееся тем, что корпус выполнен из ударопрочного неферромагнитного материала, например пластмассы.
5. Устройство для сигнализации о вскрытии объекта по п.4, отличающееся тем, что ось выполнена из неферромагнитного материала, например пластмассы.
6. Устройство для сигнализации о вскрытии объекта по п.5, отличающееся тем, что втулка выполнена из неферромагнитного материала, например пластмассы.
7. Устройство для сигнализации о вскрытии объекта по п.6, отличающееся тем, что полость оси заполнена герметиком.
8. Устройство для сигнализации о вскрытии объекта по п.7, отличающееся тем, что корпус устройства выполнен в виде цилиндра.
РИСУНКИ
MM4A – Досрочное прекращение действия патента СССР или патента Российской Федерации на изобретение из-за неуплаты в установленный срок пошлины за поддержание патента в силе
Дата прекращения действия патента: 06.07.2007
Извещение опубликовано: 20.02.2009 БИ: 05/2009
сраб.>
|
|