|
|
(21), (22) Заявка: 2004136186/11, 09.12.2004
(24) Дата начала отсчета срока действия патента:
09.12.2004
(46) Опубликовано: 27.07.2006
(56) Список документов, цитированных в отчете о поиске:
SU 1320574 A1, 30.06.1987. RU 2176843 C1, 10.12.2001. FR 2580362 А, 17.10.1986.
Адрес для переписки:
603109, г.Нижний Новгород, ул. Суетинская, 3, кв.57, Л.В. Гришиной
|
(72) Автор(ы):
Слепнев Валерий Юрьевич (RU)
(73) Патентообладатель(и):
Слепнев Валерий Юрьевич (RU)
|
(54) МЕХАНИЧЕСКАЯ ПЕРЕДАЧА ДЛЯ ПРЕОБРАЗОВАНИЯ ВРАЩАТЕЛЬНОГО ДВИЖЕНИЯ В ВОЗВРАТНО-ПОСТУПАТЕЛЬНОЕ
(57) Реферат:
Изобретение относится к области механики, а именно к устройствам преобразования вращательного движения в возвратно-поступательное, и может быть использовано в игрушках, в бытовых машинах, в приводах станков и транспортных средств. Механическая передача для преобразования вращательного движения в возвратно-поступательное содержит установленный на основании двигатель с ротором и Г-образную насадку, закрепленную на оси ротора двигателя. Насадка установлена между двумя штырями, которые выполнены по центру стержня на некотором расстоянии друг от друга, параллельно друг другу, но с отклонением в разные стороны от оси стержня. Стержень закреплен с помощью фиксаторов в подшипниках, соединяющих его со стойками, закрепленными на основании. Техническим результатом является упрощение конструкции и расширение функциональных возможностей устройства. 1 ил.
Предлагаемое изобретение относится к области механики, а именно к устройствам преобразования вращательного движения в возвратно-поступательное и может быть использовано в игрушках, в бытовых машинах, в приводах станков и транспортных средств.
В настоящее время достаточно интенсивно ведется разработка механических передач для преобразования вращательного движения в возвратно-поступателное. Как правило, в этих передачах функцию конечного выходного элемента, то есть элемента, который вращается для установления передаточного отношения, то есть который может обеспечить связь между двумя средствами передачи энергии, выполняет, например, выходная шестерня, блок шестерен, соединительная муфта, выходной элемент гидромуфты и т.д.
Недостаток известных передач заключается в сложности их конструкций и недостаточной эффективности.
Задача, решаемая изобретением, – создание новой конструкции механической передачи.
Технический результат от использования изобретения заключается в упрощении конструкции и расширении функциональных возможностей.
Это достигается тем, что механическая передача для преобразования вращательного движения в возвратно-поступательное содержит приводной механизм и конечный выходной элемент, приводной механизм выполнен в виде двигателя с ротором, установленном на основании, а конечный выходной элемент – в виде Г-образной насадки, закрепленной на оси ротора двигателя и установленной между двумя штырями, которые выполнены по центру горизонтального стержня на некотором расстоянии друг от друга, параллельно друг другу, но с отклонением в разные стороны от оси стержня, закрепленного с помощью фиксаторов в подшипниках, соединяющих стержень со стойками, закрепленными на основании.
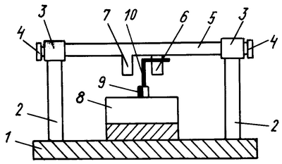
Приведен чертеж механической передачи для преобразования вращательного движения в возвратно-поступательное.
Конструктивно предлагаемая механическая передача для преобразования вращательного движения в возвратно-поступательное на фиг.1 содержит основание 1, стойки 2, подшипники 3, фиксаторы 4, стержень 5, центральные штыри 6, 7, двигатель 8, ротор 9, Г-образную насадку 10.
Сборку предлагаемого изобретения осуществляют следующим образом.
На основании 1 закрепляют стойки 2, которые соединяют с помощью подшипников 3 со стержнем 5. Стержень 5 в подшипниках 3 закрепляют с помощью фиксаторов 4. По центру стержня 5 на некотором расстоянии друг от друга выполняют штыри 6 и 7 параллельно друг другу, но с отклонением в разные стороны от оси стержня 5. На корпусе 1 устанавливают двигатель 8 с закрепленной на оси его ротора 9 Г-образной насадкой 10. Г-образную насадку 10 располагают между штырей 6 и 7.
В качестве двигателя 4 используют, например, бензомотор или электромотор.
Предлагаемое изобретение работает следующим образом.
При работе двигателя 8, установленного на основании 1, закрепленная на оси ротора 9 Г-образная насадка 10 начинает вращаться, задевая сначала штырь 6 и отклоняя его в одну сторону, затем задевая штырь 7 и отклоняя его в противоположную сторону. При этом стержень 5, закрепленный с помощью фиксаторов 4 в подшипниках 3, которые соединяют его со стойками 2, совершает возвратно-поступательное движение.
Формула изобретения
Механическая передача для преобразования вращательного движения в возвратно-поступательное, содержащая приводной механизм и конечный выходной элемент, отличающаяся тем, что приводной механизм выполнен в виде двигателя с ротором, установленном на основании, а конечный выходной элемент – в виде Г-образной насадки, закрепленной на оси ротора двигателя и установленной между двумя штырями, которые выполнены по центру стержня на некотором расстоянии друг от друга, параллельно друг другу, но с отклонением в разные стороны от оси стержня, закрепленного с помощью фиксаторов в подшипниках, соединяющих стержень со стойками, закрепленными на основании.
РИСУНКИ
|
|