|
|
(21), (22) Заявка: 2004122557/06, 23.07.2004
(24) Дата начала отсчета срока действия патента:
23.07.2004
(43) Дата публикации заявки: 27.01.2006
(46) Опубликовано: 27.07.2006
(56) Список документов, цитированных в отчете о поиске:
КУРЗИНЕР Р.И. Реактивные двигатели для сверхзвуковых скоростей полета. М.: Машиностроение, 1977, с.142-143, рис.4.8. RU 2027045 C1, 20.01.1995. DE 3932791 A1, 11.04.1991. US 3348379 A, 24.10.1967. DE 1277638 А, 12.12.1968. SU 1800080 A1, 07.03.1993.
Адрес для переписки:
105203, Москва, ул. Первомайская, 100, кв.132, Б.Ф. Кочеткову
|
(72) Автор(ы):
Кочетков Борис Федорович (RU)
(73) Патентообладатель(и):
Кочетков Борис Федорович (RU)
|
(54) СПОСОБ СОЗДАНИЯ РЕАКТИВНОЙ ТЯГИ И УСТРОЙСТВО ДЛЯ ЕГО ОСУЩЕСТВЛЕНИЯ В ВИДЕ КОМБИНИРОВАННОГО ВОЗДУШНО-РЕАКТИВНОГО ДВИГАТЕЛЯ
(57) Реферат:
Способ создания реактивной тяги турбореактивного двигателя для старта, разгона и полета летательного аппарата заключается в сжатии воздуха компрессором, приводимым газовой турбиной, сжигании топлива в камере сгорания и дополнительном сжигании топлива в выходной камере сгорания, размещенной перед реактивным соплом. Реактивную тягу создают за счет истечения сжатого газа через реактивное сопло. После разгона летательного аппарата до необходимой скорости полета используют прямоточный воздушно-реактивный двигатель, предварительно сжимая воздух в нем за счет скоростного напора и подавая его в выходную камеру сгорания с ее боковых сторон, минуя компрессор, создавая при этом радиально направленные потоки. В выходной камере сгорания производят дополнительное сжатие потока, для чего создают направленные от периферии к ее центру потоки поступающего сжатого за счет скоростного напора воздуха, сталкивая их в центральной части выходной камеры сгорания с взаимным торможением и превращением их кинетической энергии в дополнительное сжатие. Дополнительное сжигание топлива производят в области повышенного сжатия воздуха. Изобретение направлено на повышении экономичности при больших скоростях полета. 2 н. и 3 з.п. ф-лы, 1 ил.
Изобретение относится к реактивным двигательным установкам и предназначено для применения при полетах летательных аппаратов, преимущественно скоростных самолетов в воздушном пространстве.
Известен способ создания реактивной тяги с применением прямоточного воздушно-реактивного двигателя (ПВРД), при котором сжатие воздуха перед подачей в камеру сгорания производят скоростным напором, а продукты сгорания направляют в реактивное сопло (см. “Политехнический словарь” под ред А.Ю.Ишлинского, изд. “Советская энциклопедия”. M. – 1980, стр.420-421).
Недостатком способа создания реактивной тяги является то, что он применим только при скорости полета, равной 2-3,5 скорости звука.
Наиболее близким по совокупности технических признаков является способ создания реактивной тяги турбореактивного двигателя для старта, разгона и полета летательного аппарата посредством сжатия воздуха компрессором, приводимым газовой турбиной, сжигания топлива в камере сгорания и дополнительного сжигания топлива в выходной камере сгорания, размещенной перед реактивным соплом, создания реактивной тяги за счет истечения сжатого газа через реактивное сопло, использования после разгона летательного аппарата до необходимой скорости полета прямоточного воздушно-реактивного двигателя, предварительно сжимая воздух в нем за счет скоростного напора и подачи его в выходную камеру сгорания с ее боковых сторон, минуя компрессор, создавая при этом радиально направленные потоки (см. Курзинер Р.И., “Реактивные двигатели для больших сверхзвуковых скоростей полета”, М.: Машиностроение, 1977, стр.142-143, рис. 4.8).
Недостатком указанного ТРДПэ по сравнению с заявленным является то, что эжектирующий контур ТРДПэ функционирует при всех режимах работы двигателя, что не позволяет обеспечить экономию ресурса включенного в состав ТРДПэ турбореактивного двигателя. Дополнительное сжатие воздуха перед камерой сгорания в ТРДПэ осуществляется в прямоточном потоке, что уменьшает возможность эффективного сжатия проходящего через двигатель потока воздуха.
Известен прямоточный воздушно-реактивный двигатель ((ПВРД), за входным отверстием которого размещен диффузор, обеспечивающий сжатие воздуха скоростным его напором (см. указанный выше “Политехнический словарь” под ред А.Ю.Ишлинского, стр.420-421). К недостаткам ПВРД относится возможность его применения только при скорости полета, равной 2-3,5 скорости звука, и необходимость применения при использовании ПВРД стартового устройства для взлета и разгона самолета до необходимой скорости полета.
Наиболее близким к заявленному устройству по техническим признакам является комбинированный воздушно-реактивный двигатель, содержащий компрессор, камеры сгорания, газовую турбину и реактивное сопло, размеренную за газовой турбиной перед реактивным соплом выходную (форсажную) камеру сгорания, которая сообщается с атмосферным воздухом через входное устройство, минуя компрессор, камеры сгорания и газовую турбину, при этом входное устройство обеспечивает возможность предварительного сжатия воздуха за счет скоростного напора и связано с воздухопроводом, выполненным как внешний контур двигателя, размещенным по кругу равномерно со всех сторон с внешней боковой стороны двигателя, при этом расположенное по кругу выходное отверстие воздуховода сообщается с выходной (форсажной) камерой сгорания с ее боковых сторон с возможностью направления потоков воздуха из воздухопровода в сторону центра выходной камеры сгорания, при этом выходная камера сгорания снабжена форсункой для подачи топлива в область наибольшего сжатия воздуха (см. Курзинер Р.И. “Реактивные двигатели для больших сверхзвуковых скоростей полета”, М.: Машиностроение, 1977, стр.142-143, рис.4.8).
Недостатком указанного двигателя является наличие в его составе камеры смешения и диффузора этой камеры, что приводит к значительному увеличению размеров, массы и усложнению устройства. Дополнительное сжатие воздуха в направлении его свободного движения не позволяет получить высокую степень сжатия, что снижает эффективность работы двигателя.
Предлагаемое изобретение по способу создания реактивной тяги и устройству для его осуществления в виде комбинированного воздушно-реактивного двигателя (КВРД) позволяет получить технический результат, заключающийся в возможности, подобно ПВРД, бескомпрессорного сжатия воздуха при полете самолета с большой скоростью и способности обеспечить взлет и разгон самолета с применением предложенного КВРД без использования стартового устройства. При этом обеспечивается высокая экономичность двигателя в связи с высокой степенью сжатия воздуха в камере сгорания перед истечением газа из реактивного сопла.
Способ создания реактивной тяги турбореактивного двигателя для старта, разгона и полета летательного аппарата достигается посредством сжатия воздуха компрессором, приводимым газовой турбиной, сжигания топлива в камере сгорания и дополнительного сжигания топлива в выходной камере сгорания, размещенной перед реактивным соплом, создания реактивной тяги за счет истечения сжатого газа через реактивное сопло, использования после разгона летательного аппарата до необходимой скорости полета прямоточного воздушно-реактивного двигателя, предварительно сжимая воздух а нем за счет скоростного напора и подачи его в выходную камеру сгорания с ее боковых сторон, минуя компрессор, создавая при этом радиально направленные потоки.
Согласно изобретению в выходной камере сгорания производят дополнительное сжатие потока, для чего создают направленные от периферии к ее центру потоки поступающего сжатого за счет скоростного напора воздуха, сталкивая их в центральной части выходной камеры сгорания с взаимным торможением и превращением их кинетической энергии в дополнительное сжатие, а дополнительное сжигание топлива производят в области повышенного сжатия воздуха, создавая условия для увеличения скорости истечения полученного газа через реактивное сопло.
При осуществлении способа создания реактивной тяги применяют три основных режима работы КВРД:
первый – в режиме только турбореактивного двигателя преимущественно при старте, разгоне и полете летательного аппарата со скоростью, меньшей, чем это необходимо для работы в режиме прямоточного воздушно-реактивного двигателя;
второй – в совместном режиме турбореактивного двигателя и прямоточного воздушно-реактивного двигателя при форсированном режиме работы, а также при переходе с одного режима работы на другой;
третий – в режиме только прямоточного воздушно-реактивного двигателя при большой скорости полета.
Применение указанных режимов работы осуществляют путем сжигания топлива соответственно в камере сгорания и/или выходной камере сгорания с использованием заслонок входного устройства для воздуха в открытом или закрытом положениях.
Комбинированный воздушно-реактивный двигатель (КВРД), предназначенный для осуществления указанного выше способа создания реактивной тяги, содержит компрессор, камеры сгорания, газовую турбину и реактивное сопло, размещенную перед реактивным соплом выходную камеру сгорания, которая сообщается с атмосферным воздухом через входное устройство, минуя компрессор, камеры сгорания и газовую турбину. При этом входное устройство обеспечивает возможность предварительного сжатия воздуха за счет скоростного напора и связано с воздуховодом, выполненным как внешний контур двигателя, размещенным по кругу равномерно со всех сторон с внешней боковой стороны двигателя. Расположенное по кругу выходное отверстие воздуховода сообщается с выходной камерой сгорания с ее боковых сторон с возможностью направления потоков воздуха из воздуховода в сторону выходной камеры сгорания. При этом выходная камера сгорания снабжена форсункой для подачи топлива в область наибольшего сжатия воздуха.
Согласно изобретению выходная камера сгорания размещена непосредственно за газовой турбиной перед реактивным соплом. Выходное отверстие воздуховода выполнено с возможностью направления потоков воздуха от периферии к центру выходной камеры сгорания, столкновения и взаимного торможения этих потоков в центральной части выходной камеры сгорания, обеспечивающих превращение их кинетической энергии в дополнительное сжатие. Перед входным отверстием входного устройства установлены управляемые заслонки, обеспечивающие возможность открытия или закрытия входного отверстия для встречного потока воздуха.
Как частный случай, воздуховод выполнен в виде размещенного равномерно со всех сторон с внешней боковой стороны двигателя кольцевого воздуховода с круговыми относительно линии оси двигателя входным и выходным отверстиями.
Как частный случай, воздуховод выполнен из размещенных с внешней боковой стороны двигателя равномерно по кругу нескольких одинаковых по размеру и форме труб со своими входными и выходными отверстиями и упомянутыми выше управляемыми заслонками.
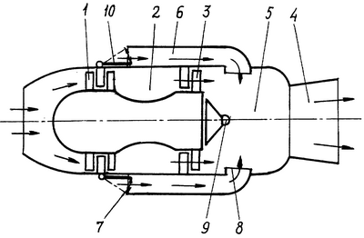
На приведенном чертеже в разрезе по осевой фронтальной плоскости показано в общем виде осуществление способа создания реактивной тяги на примере функционирования соответствующего устройства в виде КВРД. Стрелками на чертеже показано направление движения воздуха и продуктов сгорания.
КВРД содержит компрессор 1, камеры сгорания 2, газовую турбину 3 и реактивное сопло 4, размещенную перед реактивным соплом выходную камеру сгорания 5, которая сообщается с атмосферным воздухом через входное устройство, минуя компрессор, камеры сгорания и газовую турбину. При этом входное устройство обеспечивает возможность предварительного сжатия воздуха за счет скоростного напора и связано с воздуховодом 6, выполненным как внешний контур двигателя, размещенным по кругу равномерно со всех сторон с внешней боковой стороны двигателя. Расположенное по кругу выходное отверстие 8 воздуховода сообщается с выходной камерой сгорания 5 с ее боковых сторон с возможностью направления потоков воздуха из воздуховода 6 в сторону выходной камеры сгорания 5. Выходная камера сгорания снабжена форсункой 9 для подачи топлива с область наибольшего сжатия воздуха. Выходная камера сгорания 5 размещена непосредственно за газовой турбиной 3 перед реактивным соплом 4. Выходное отверстие 8 воздуховода 6 выполнено с возможностью направления потоков воздуха от периферии к центру выходной камеры сгорания 5, столкновения и взаимного торможения этих потоков в центральной части выходной камеры сгорания, обеспечивающих превращение их кинетической энергии в дополнительное сжатие. Перед входным отверстием 7 входного устройства установлены управляемые заслонки 10, обеспечивающие возможность открытия или закрытия входного отверстия для встречного потока воздуха.
Как частный случай, воздуховод 6 выполнен в виде размещенного равномерно со всех сторон с внешней боковой стороны двигателя кольцевого воздуховода с круговыми относительно линии оси двигателя входным 7 и выходным 8 отверстиями.
Как частный случай, воздуховод 6 выполнен из размещенных с внешней боковой стороны двигателя равномерно по кругу нескольких одинаковых по размеру и форме труб со своими входными 7 и выходными 8 отверстиями и упомянутыми выше управляемыми заслонками 10.
Приведенное устройство в виде КВРД осуществляет предложенный способ создания реактивной тяги следующим образом.
Используются возможности, характерные для турбореактивного двигателя, при старте, разгоне и полете летательного аппарата. При этом с помощью компрессора 1 осуществляют сжатие воздуха, который вместе с подачей топлива направляют в камеры сгорания 2. В качестве привода компрессора 1 применяют газовую турбину 3, за которой обеспечивают возможность сжигания топлива в выходной камере сгорания 5 с последующим истечением сжатого газа через реактивное сопло 4 с созданием реактивной тяги. При этом экономичность КВРД выше и он может функционировать при меньшей скорости полета, чем прямоточный воздушно-реактивный двигатель, поскольку в предложенном КВРД осуществляется дополнительное к скоростному напору сжатие воздуха непосредственно в выходной камере сгорания 5 путем приведенного выше создания в ней встречных потоков воздуха с их взаимным торможением.
Отличие выходной камеры сгорания 5 в КВРД от известной форсажной камеры, входящей в состав ТРД, заключается в том, что выходная камера сгорания 5 непосредственно сообщается с атмосферным воздухом, сжатие которого осуществляется в указанном выше входном устройстве за счет скоростного напора встречных потоков воздуха при полете самолета и дополнительно повышается путем создания встречных потоков воздуха в самой выходной камере сгорания. В отличие от этого в форсажную камеру ТРД сжатый воздух в конечном счете поступает от компрессора. Это отличие обеспечивает возможность работы КВРД в режиме ПВРД. Создание реактивной тяги у КВРД при любой скорости движения обеспечивает возможность взлета, разгона и дальнейшего полета без применения стартового устройства, которое необходимо при применении ПВРД.
При указанном выше первом режиме работы КВРД открытие заслонки 10 входного устройства обеспечивает поступление в поток истекающего через реактивное сопло 4 газа дополнительной массы воздуха, что при одной и той же затрате энергии повышает экономичность КВРД подобно тому, как это осуществляется в двухконтурных турбореактивных двигателях.
Второй из указанных выше режимов работы осуществляется при открытых заслонках 10 и при одновременной подаче топлива в камеры сгорания 2 и в выходную камеру сгорания 5. Это обеспечивает возможность создания форсированного режима работы двигателя.
При третьем режиме работы топливо подается только в выходную камеру сгорания 5, и работа осуществляется в режиме ПВРД при большой скорости полета летательного аппарата с высокой экономичностью.
Формула изобретения
1. Способ создания реактивной тяги турбореактивного двигателя для старта, разгона и полета летательного аппарата посредством сжатия воздуха компрессором, приводимым газовой турбиной, сжигания топлива в камере сгорания и дополнительного сжигания топлива в выходной камере сгорания, размещенной перед реактивным соплом, создания реактивной тяги за счет истечения сжатого газа через реактивное сопло, использования после разгона летательного аппарата до необходимой скорости полета прямоточного воздушно-реактивного двигателя, предварительно сжимая воздух в нем за счет скоростного напора и подачи его в выходную камеру сгорания с ее боковых сторон, минуя компрессор, создавая при этом радиально направленные потоки, отличающийся тем, что в выходной камере сгорания производят дополнительное сжатие потока, для чего создают направленные от периферии к ее центру потоки поступающего сжатого за счет скоростного напора воздуха, сталкивая их в центральной части выходной камеры сгорания с взаимным торможением и превращением их кинетической энергии в дополнительное сжатие, а дополнительное сжигание топлива производят в области повышенного сжатия воздуха, создавая условия для увеличения скорости истечения полученного газа через реактивное сопло.
2. Способ по п.1, отличающийся тем, что при его осуществлении применяют три основных режима работы комбинированного реактивного двигателя: первый – в режиме только турбореактивного двигателя, преимущественно при старте, разгоне и полете летательного аппарата со скоростью меньшей, чем это необходимо для работы в режиме прямоточного воздушно-реактивного двигателя; второй – в совместном режиме турбореактивного двигателя и прямоточного воздушно-реактивного двигателя при форсированном режиме работы, а также при переходе с одного режима работы на другой; третий – в режиме только прямоточного воздушно-реактивного двигателя при большой скорости полета; применение указанных режимов работы осуществляется путем сжигания топлива соответственно в камерах сгорания и/или выходной камере сгорания с использованием заслонок входного устройства в открытом или закрытом положениях.
3. Комбинированный воздушно-реактивный двигатель, содержащий компрессор, камеры сгорания, газовую турбину и реактивное сопло, размещенную перед реактивным соплом выходную камеру сгорания, которая сообщается с атмосферным воздухом через входное устройство, минуя компрессор, камеры сгорания и газовую турбину, при этом входное устройство обеспечивает возможность предварительного сжатия воздуха за счет скоростного напора и связано с воздуховодом, выполненным как внешний контур двигателя, размещенным по кругу равномерно со всех сторон с внешней боковой стороны двигателя, при этом расположенное по кругу выходное отверстие воздуховода сообщается с выходной камерой сгорания с ее боковых сторон с возможностью направления потоков воздуха из воздуховода в сторону выходной камеры сгорания, при этом выходная камера сгорания снабжена форсункой для подачи топлива в область наибольшего сжатия воздуха, отличающийся тем, что выходная камера сгорания размещена непосредственно за газовой турбиной и перед реактивным соплом, выходное отверстие воздуховода выполнено с возможностью направления потоков воздуха от периферии к центру выходной камеры сгорания, столкновения и взаимного торможения этих потоков в центральной части выходной камеры сгорания, обеспечивающих превращение их кинетической энергии в дополнительное сжатие, перед входным отверстием входного устройства установлены управляемые заслонки, обеспечивающие возможность открытия или закрытия входного отверстия для встречного потока воздуха.
4. Реактивный двигатель по п.3, отличающийся тем, что как частный случай выполнения воздуховод выполнен в виде размещенного равномерно со всех сторон с внешней боковой стороны двигателя кольцевого воздуховода с круговыми относительно линии оси двигателя входным и выходным отверстиями.
5. Реактивный двигатель по п.3, отличающийся тем, что как частный случай выполнения воздуховод выполнен из размещенных с внешней боковой стороны двигателя равномерно по кругу нескольких одинаковых по размеру и форме труб со своими входными и выходными отверстиями и упомянутыми выше управляемыми заслонками.
РИСУНКИ
|
|