|
|
(21), (22) Заявка: 2001132120/03, 26.11.2001
(24) Дата начала отсчета срока действия патента:
26.11.2001
(43) Дата публикации заявки: 27.08.2003
(46) Опубликовано: 27.07.2006
(56) Список документов, цитированных в отчете о поиске:
RU 2170302 C2, 10.07.2001. SU 10461 А1, 31.07.1929. SU 508587 А1, 30.03.1976. SU 876952 А1, 27.08.2003. RU 2139389 C1, 10.10.1999. US 4361940 A, 07.12.1982.
Адрес для переписки:
198323, Санкт-Петербург, ул. Заречная, 2, ОАО “ВНИИтрансмаш”
|
(72) Автор(ы):
Григорьев Александр Владимирович (RU), Глинчиков Адольф Васильевич (RU), Зенькович Павел Алексеевич (RU), Кузьмин Михаил Михайлович (RU), Порватов Александр Сергеевич (RU), Рождественский Сергей Владимирович (RU)
(73) Патентообладатель(и):
Открытое акционерное общество “Всероссийский научно-исследовательский институт транспортного машиностроения” (RU)
|
(54) АГРЕГАТ ДЛЯ УДАЛЕНИЯ ИЗ ГРУНТА АНКЕРОВ И ФУНДАМЕНТОВ ОПОР КОНТАКТНОЙ СЕТИ ЖЕЛЕЗНОЙ ДОРОГИ
(57) Реферат:
Изобретение относится к устройствам извлечения из грунта анкеров и фундаментов глубокого заложения, преимущественно железобетонных опор контактной сети электрифицированных железных дорог. Техническим результатом является возможность извлечения анкеров и фундаментов глубокого заложения, имеющих различные профили сечения по высоте. Для этого агрегат содержит базовую машину со стреловым краном, соединенные между собой вертикальными силовыми гидроцилиндрами основание и захватное устройство с горизонтальными силовыми гидроцилиндрами, связанными с насосной станцией и прикрепленными к траверсе, снабженной направляющими роликами, взаимодействующими с оголовком, устанавливаемом на удаляемом анкере (фундаменте). Причем захватное устройство снабжено неподвижными самоустанавливающимися губками, установленными на одной стороне траверсы на всю ширину удаляемого анкера (фундамента) на сферических подпятниках, шарнирно закрепленных на траверсе и снабженных ограничителями поворота, а на противоположной стороне траверсы аналогично установлены подвижные самоустанавливающиеся губки, закрепленные шарнирно на концах поперечной балки, соединяющей штоки горизонтальных силовых цилиндров захватного устройства, в средней части которой установлена дополнительная выдвижная губка с возможностью ее перемещения перпендикулярно поперечной балке и фиксацией ее в крайних положениях на упомянутой поперечной балке, рабочая поверхность выдвижной губки выполнена самоустанавливающейся. При этом направляющий оголовок выполнен в виде объемной рамы, размеры горизонтального прямоугольного сечения которой идентичны размерам горизонтального сечения удаляемого анкера (фундамента), в верхней части рамы оголовка выполнены два асимметричных направляющих скоса, а в нижней – установлены четыре винтовых самоустанавливающихся зажима с возможностью закрепления оголовка за коническую оставшуюся часть опоры контактной сети или за наружную поверхность технологической трубы, предварительно устанавливаемой в отверстие упомянутой опоры. Установлена поворотная рамка с фиксатором ее в рабочем положении и шарнирно закрепленными на ней двумя поворотными створками, на которых попарно закреплены винтовые самоустанавливающиеся зажимы и запорно-распорная вставка с возможностью закрепления оголовка за наружную поверхность анкера за встроенные проушины или за внутреннюю цилиндрическую поверхность фундамента. 14 ил.
Изобретение относится к устройствам извлечения из грунта анкеров и фундаментов глубокого заложения, преимущественно железобетонных опор контактной сети электрифицированных железных дорог.
Известно устройство для извлечения обсадных труб [1], включающее цилиндрический корпус с конической поверхностью в нижней ее части, конусные плашки, установленные с возможностью поступательного перемещения относительно поверхности корпуса, и связанный с плашками шток, снабженное кольцом с радиальными пазами, установленным над конусной поверхностью корпуса с возможностью осевого перемещения относительно последнего и соединенным со штоком гибкими звеньями, а с плашками – шарнирно, при этом корпус и шток связаны между собой с помощью автостопа.
Данное устройство монтируется на значительно выступающей из грунта головке обсадной трубы, что исключает извлечение из грунта железобетонных анкеров и фундаментов, незначительно выступающих над поверхностью грунта.
Известно устройство для погружения и извлечения свай из грунта [2], содержащее базовую машину с рамой, силовой механизм в виде домкрата, захват для свай, соединенный с домкратом посредством шарнирной тяги, и направляющую, снабженное дополнительным захватом, закрепленным на домкрате посредством дополнительной шарнирной тяги, направленной в противоположную от основной тяги сторону, и дополнительной направляющей, причем каждая из тяг закреплена на раме тяговой машины с помощью оси, расположенной горизонтально, и снабжена прикрепленной к ней с помощью оси, расположенной вертикально, телескопической стрелой, выдвижная часть которой выполнена в виде примыкающей к захвату для свай упругой вилки с установленной на ней с возможностью перемещения муфтой, закрепленной на штоке смонтированного в полости стрелы гидродомкрата, а каждая из направляющих снабжена соединенной с ней с помощью оси, расположенной вертикально, дополнительной телескопической стрелой, выдвижная часть которой выполнена с захватом в виде упругих пластин, при этом в каждой паре соответственно направляющей и тяги телескопические стрелы соединены между собой раздвижным рычагом.
Недостатком данного устройства являются сложность конструкции и необходимость размещения двух вертикальных последовательно расположенных на свае домкратов.
Известно устройство для извлечения из грунта строительных элементов, преимущественно опор линии связи [3], включающее базовую машину со смонтированными на ней вертикально гидроцилиндрами подъема с захватными средствами, гидроцилиндры шарнирно прикреплены к раме базовой машины и снабжены подкосами, прикрепленными своими концами к раме базовой машины и к корпусам гидроцилиндров, причем захватные средства выполнены в виде закрепленных на концах штоков гидроцилиндров рычажных ухватообразных клещей с гидравлическим приводом. Недостатками данного устройства являются наличие дополнительного гидравлического привода захватных средств и размещение гидравлических цилиндров на базовой машине, приводящих к раздавливанию поверхности опоры чрезмерным усилием, прикладываемым к захватному устройству.
Известно устройство для извлечения из грунта стержневых элементов [4], в частности конических железобетонных столбов опор контактной сети электрифицированной железной дороги, содержащее базовую машину с грузоподъемным устройством и установленные вертикально гидроцилиндры, снабженные захватными приспособлениями и опирающиеся на разъемное кольцевое ярмо.
Известно изобретение, относящееся к устройствам извлечения из грунта фундаментов, преимущественно железобетонных опор контактной сети электрической железной дороги [5]. Извлекатель содержит опорное основание и захватное устройство, соединенные между собой силовыми гидроцилиндрами, связанными с гидросистемой базовой машины, снабженной стреловым краном, опорное основание состоит из двух самоустанавливающихся плит, связанных между собой стержнями, в центральной части которых установлены нижние опоры силовых рабочих гидроцилиндров, верхние шаровые опоры которых установлены на траверсе захватного устройства, в нижней части которой размещены захваты, взаимодействующие с извлекаемым фундаментом, снабженные собственными зажимающими гидравлическими цилиндрами, траверса снабжена центрирующими подпружиненными роликами, взаимодействующими с направляющим оголовком, предварительно закрепляемым на извлекаемом фундаменте с помощью механизма фиксации. Устройство позволяет извлекать свайные фундаменты глубокого заложения.
Недостаток же его в том, что не может извлекать анкеры и фундаменты, имеющие изменяющиеся по их высоте профили поперечных сечений, а также фундаменты с оставшейся частью опоры.
Задачей, решаемой данным изобретением, является возможность извлечения анкеров и фундаментов глубокого заложения, имеющих различные профили сечения по высоте, предназначенных для установки опор контактной сети электрифицированных железных дорог.
Предлагаемый агрегат для удаления из грунта анкеров и фундаментов опор контактной сети железной дороги содержит базовую машину со стреловым краном, основание, соединенное вертикальными гидроцилиндрами с захватным устройством с горизонтальными силовыми гидроцилиндрами, связанными с насосной станцией и прикрепленными к траверсе, снабженной направляющими роликами, взаимодействующими с оголовком, устанавливаемом на удаляемом анкере (фундаменте), захватное устройство снабжено неподвижными самоустанавливающимися губками, установленными на одной стороне траверсы на всю ширину удаляемого анкера (фундамента) на сферических подпятниках, шарнирно закрепленных на траверсе и снабженных ограничителями поворота, а на противоположной стороне траверсы аналогично установлены подвижные самоустанавливающиеся губки, закрепленные шарнирно на концах поперечной балки, соединяющей штоки горизонтальных силовых цилиндров захватного устройства, в средней части которой установлена дополнительная выдвижная губка с возможностью ее перемещения перпендикулярно поперечной балке и фиксацией ее в крайних положениях на упомянутой поперечной балке, рабочая поверхность губки выполнена самоустанавливающейся, например, в виде зубчатого ролика с вертикальной осью вращения, при этом направляющий оголовок выполнен в виде объемной рамы, размеры горизонтального прямоугольного сечения которого идентичны габаритам горизонтального сечения удаляемого анкера (фундамента), в верхней части рамы оголовка выполнены два асимметричных направляющих скоса, а в нижней установлены четыре винтовых самоустанавливающихся зажима с возможностью закрепления оголовка за коническую оставшуюся часть опоры контактной сети или за наружную поверхность технологической трубы, предварительно монтируемой в отверстие упомянутой опоры, установлена поворотная рамка с фиксатором ее в рабочем положении и шарнирно закрепленными на ней двумя поворотными створками, на которых попарно закреплены винтовые самоустанавливающиеся зажимы и запорно-распорная вставка с возможностью закрепления оголовка за наружную поверхность анкера за встроенные проушины или за внутреннюю цилиндрическую поверхность фундамента.
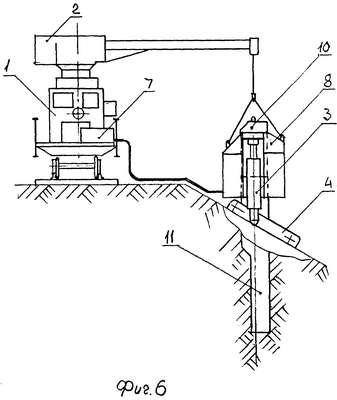
На фиг.1-5 показаны возможные варианты верхней части фундаментов после удаления стойки и анкеров, предназначенных к извлечению из грунта. На фиг.6 представлен общий вид агрегата. На фиг.7-9 – конструкция захватного устройства и траверсы. На фиг.10, 11 изображена конструкция оголовка. На фиг.12 показано закрепление оголовка за оставшуюся после обрезки часть стойки, на фиг.13 – то же за внутреннюю цилиндрическую поверхность фундамента, на фиг.14 – то же за проушины анкера.
Агрегат для удаления из грунта анкеров и фундаментов опор контактной сети железной дороги состоит из базовой машины 1 со стреловым краном 2, соединенных между собой вертикальными силовыми гидроцилиндрами 3 основания 4 и захватного устройства 5 с горизонтальными силовыми гидроцилиндрами 6, связанными с насосной станцией 7 и прикрепленными к траверсе 8, снабженной направляющими роликами 9, взаимодействующими с оголовком 10, устанавливаемом на удаляемом анкере (фундаменте) 11. При этом захватное устройство 5 снабжено неподвижными самоустанавливающимися губками 12, установленными на одной стороне траверсы на всю ширину удаляемого анкера (фундамента) 11 на сферических подпятниках 13, шарнирно закрепленных на траверсе 8, а на противоположной стороне траверсы 8 аналогично установлены подвижные самоустанавливающиеся губки 15, закрепленные шарнирно на концах поперечной балки 16, соединяющей штоки горизонтальных силовых цилиндров 6 захватного устройства 5, в средней части которой установлена дополнительная выдвижная губка 17 с возможностью ее перемещения перпендикулярно поперечной балке 16 и фиксацией ее в крайних положениях на упомянутой поперечной балке 16, рабочая поверхность губки 17 выполнена самоустанавливающейся, например, в виде зубчатого ролика 18 с вертикальной осью вращения, при этом направляющий оголовок 10 выполнен в виде объемной рамы 19, размеры горизонтального прямоугольного сечения которого идентичны размерам горизонтального сечения удаляемого анкера (фундамента) 11, в верхней части рамы 19 оголовка 10 выполнены два асимметричных направляющих скоса, а в нижней установлены четыре винтовых самоустанавливающихся зажима 20 с возможностью закрепления оголовка 10 за коническую оставшуюся часть стойки опоры 21 контактной сети или за наружную поверхность технологической трубы 22, предварительно монтируемой в отверстие упомянутой опоры 21 (фиг.5), установлена поворотная рамка 23 с фиксатором 24 ее в рабочем положении и шарнирно закрепленными на ней двумя поворотными створками 25 и 26, на которых попарно закреплены винтовые самоустанавливающиеся зажимы 27, 28 и запорно-распорная вставка 29 с возможностью закрепления оголовка на наружной поверхности анкера 30 за встроенные проушины 31 (фиг.14) или за внутреннюю цилиндрическую поверхность фундамента 11 (фиг.13).
Устройство работает следующим образом.
Базовая машина 1 размещается напротив удаляемого фундамента 11 (анкера), на который предварительно устанавливают оголовок 10. В зависимости от вида выступающей части фундамента 11 используются те или иные возможности конструкции оголовка 10. Например, на фиг.1 показана выступающая часть фундамента 11 с предварительно удаленной стойкой опоры 21. На такой фундамент оголовок 10 устанавливается с помощью винтовых самоустанавливающихся зажимов, 27 и 28, установленных на створках 25 и 26 поворотной рамки 23. Створки 25 и 26 в рабочем положении фиксируются запорно-распорной вставкой 29.
На фиг.2 показан тот же фундамент, но с оставшейся частью опоры 21. В этом случае крепление оголовка 10 осуществляется с помощью четырех винтовых самоустанавливающихся зажимов 20 за коническую оставшуюся часть стойки опоры 21 или за поверхность технологической трубы 22, предварительно установленной в отверстие упомянутой опоры 21 (фиг.5). Закрепление оголовка 10 за анкер (фиг.3, 4) производится за проушины 30. Для этого на горизонтальную поверхность стреловым краном 2 устанавливают оголовок 10, укладывают поворотную рамку 23 и фиксируют ее фиксатором 24 в рабочем положении. В проушины 30 анкера устанавливают запорно-распорную вставку 29, а затем с помощью винтовых самоустанавливающихся зажимов 27 и 28 закрепляют оголовок 10 на поверхности анкера. Далее, с помощью стрелового крана 2 через оголовок 10 надевают траверсу 8, опирая на грунт основание 4. Подают давление в горизонтальные гидроцилиндры 6 захватного устройства 5, сжимая анкер (фундамент) 11 за боковые поверхности, выступающие над поверхностью грунта. Подают давление в вертикальные силовые гидроцилиндры 3. При этом анкер (фундамент) 11 вытягивается из грунта на величину рабочего хода гидроцилиндров 3. Страхуют анкер (фундамент) 11 тросом стрелового крана 2. Подавая давление в противоположные полости гидроцилиндров 3 и 6, опускают траверсу. Зажимают фундамент за его выступающую часть подачей давления в гидроцилиндры 6, а затем подают давление в гидроцилиндры 3, повторяя цикл подъема.
Особенность существующих фундаментов и анкеров заключается в том, что их сечение по высоте меняется: квадратное сечение верхней четверти высоты анкера и фундамента переходит в так называемые “перья”, имеющие трехлучевое сечение.
В этом случае необходимо воспользоваться самоустанавливающейся дополнительной выдвижной губкой 17. Для этого, когда из грунта после подъема появляются “перья”, губку 17 вручную выдвигают на определенное расстояние, перпендикулярное поперечной балке 16, и фиксируют в этом положении. При этом зубчатый ролик 18 губки 17 самоустанавливается между “перьями”, а губки 15 упираются в ребра “перьев”. Подают давление в гидроцилиндры 3 и 6 в установленном порядке и подъем анкера (фундамента) 11 продолжается до тех пор, пока он окончательно не выйдет из грунта.
Затем стреловым краном 2 его переносят в место складирования, а агрегат перемещают на следующий анкер (фундамент).
Список использованной литературы
1. Авт. св. 1738924, 1992, 5 E 02 D 9/00, “Устройство для извлечения обсадных труб”, Габригидзе Ю.Д., Гой Ю.Л.
2. Авт. св. 1214844, 1986, 4 E 02 D 7/20, 11/00, “Устройство для погружения и извлечения свай из грунта”, Власов Ю.Г, Калинин Б.И.
3. Авт. св. 729310, 1980, E 02 D 9/02, “Устройство для извлечения из грунта строительных элементов, преимущественно опор линии связи”, Роменков А.Н., Ешмуханов М.
4. Решение о выдаче патента по заявке N 9742763 от 29.07.97 на изобретение “Устройство для извлечения из грунта стержневых конических элементов”.
5. Патент №2170302 РФ, 1999, 7 E 02 D 9/02, “Извлекатель фундаментов из грунта”, Брагин Ю.И., Глинчиков А.В., Кузьмин М.М., Микеров Н.В., Порватов А.С., Рождественский С.В. (прототип).
Формула изобретения
Агрегат для удаления из грунта анкеров и фундаментов опор контактной сети железной дороги, содержащий базовую машину со стреловым краном, соединенные между собой вертикальными силовыми гидроцилиндрами основание и захватное устройство с горизонтальными силовыми гидроцилиндрами, связанными с насосной станцией и прикрепленными к траверсе, снабженной направляющими роликами, взаимодействующими с оголовком, устанавливаемым на удаляемом анкере (фундаменте), отличающийся тем, что захватное устройство снабжено неподвижными самоустанавливающимися губками, установленными на одной стороне траверсы на всю ширину удаляемого анкера (фундамента) на сферических подпятниках, шарнирно закрепленных на траверсе и снабженных ограничителями поворота, а на противоположной стороне траверсы аналогично установлены подвижные самоустанавливающиеся губки, закрепленные шарнирно на концах поперечной балки, соединяющей штоки горизонтальных силовых цилиндров захватного устройства, в средней части которой установлена дополнительная выдвижная губка с возможностью ее перемещения перпендикулярно поперечной балке и фиксацией ее в крайних положениях на упомянутой поперечной балке, рабочая поверхность выдвижной губки выполнена самоустанавливающейся, например, в виде зубчатого ролика с вертикальной осью вращения, при этом направляющий оголовок выполнен в виде объемной рамы, размеры горизонтального прямоугольного сечения которой идентичны размерам горизонтального сечения удаляемого анкера (фундамента), в верхней части рамы оголовка выполнены два асимметричных направляющих скоса, а в нижней установлены четыре винтовых самоустанавливающихся зажима с возможностью закрепления оголовка за коническую оставшуюся часть опоры контактной сети или за наружную поверхность технологической трубы, предварительно устанавливаемой в отверстие упомянутой опоры, установлена поворотная рамка с фиксатором ее в рабочем положении и шарнирно закрепленными на ней двумя поворотными створками, на которых попарно закреплены винтовые самоустанавливающиеся зажимы и запорно-распорная вставка с возможностью закрепления оголовка за наружную поверхность анкера за встроенные проушины или за внутреннюю цилиндрическую поверхность фундамента.
РИСУНКИ
MM4A – Досрочное прекращение действия патента СССР или патента Российской Федерации на изобретение из-за неуплаты в установленный срок пошлины за поддержание патента в силе
Дата прекращения действия патента: 27.11.2009
Извещение опубликовано: 20.11.2010 БИ: 32/2010
|
|