|
|
(21), (22) Заявка: 2004135614/03, 06.12.2004
(24) Дата начала отсчета срока действия патента:
06.12.2004
(46) Опубликовано: 27.07.2006
(56) Список документов, цитированных в отчете о поиске:
SU 1666633 A1, 30.07.1991. SU 1544879 A1, 23.02.1990. SU 1562397 A1, 07.05.1990. SU 1760001 A1, 07.09.1992. US 6652189 B2, 25.11.2003.
Адрес для переписки:
346412, Ростовская обл., г. Новочеркасск, пер. Комсомольский, 25а, кв.1, А.А. Чистякову
|
(72) Автор(ы):
Шкура Виктор Николаевич (RU), Боровской Владимир Петрович (RU), Чистяков Александр Анатольевич (RU), Горяйнов Алексей Владимирович (RU)
(73) Патентообладатель(и):
Федеральное государственное образовательное учреждение высшего профессионального образования “Новочеркасская государственная мелиоративная академия” (ФГОУ ВПО НГМА) (RU)
|
(54) РЫБОХОДНЫЙ КАНАЛ (ВАРИАНТЫ)
(57) Реферат:
Изобретение относится к гидротехническому строительству, а именно к рыбопропускным сооружениям, предназначенным для пропуска производителей рыбы через подпорные сооружения к местам нереста и нагула. Рыбоходный канал включает водопроводящий тракт, выполненный в виде канала, головная часть которого соединена с верхним бьефом гидроузла, а устьевая часть – с нижним бьефом, элементы усиленной шероховатости, установленные на дне канала по его длине, дополнительный проточный тракт, соединенный с водопроводящим трактом, причем его устьевая часть выполнена автономной и расположена выше по течению устьевой части водопроводящего тракта, образуя многоголовый входной оголовок, и нерестовый субстрат в виде гравийно-галечниковой отсыпки. Дополнительный проточный тракт выполнен с длиной, равной длине водопроводящего тракта, и сообщен с водопроводящим трактом посредством сопрягающих узлов, образованных посредством пересечения под углом к друг другу дополнительного проточного и водопроводящего трактов с образованием замкнутых участков. Головная часть дополнительного проточного тракта выполнена параллельной головной части водопроводящего тракта. Во втором варианте конструкции рыбоходного канала дополнительный проточный тракт пересекает трассу водопроводящего тракта в зоне сопрягающих узлов, образованных посредством пересечения под углом к друг другу дополнительного проточного и водопроводящего трактов с образованием замкнутых участков. Дополнительный проточный тракт в районе сопрягающих узлов выполнен в виде лотка, а дно водопроводящего тракта в месте пересечения двух трактов выполнено ныряющим с образованием под лотком дополнительного проточного тракта донного водопропускного отверстия. Изобретение обеспечивает создание в рыбоходном канале эффективных для прохода рыбы гидравлических условий путем гашения кинетической энергии водного потока. 2 н. и 15 з.п. ф-лы, 21 ил.
Изобретение относится к гидротехническому строительству, а именно к рыбопропускным сооружениям, предназначенным для пропуска производителей рыбы через подпорные сооружения к местам нереста и нагула.
Известен рыбоходно-нерестовый канал [1], включающий водопроводящий тракт, выполненный в виде канала, выходной оголовок которого соединен с верхним бьефом гидроузла, а входной оголовок – с нижним бьефом, элементы усиленной шероховатости, выполненные в виде параллелепипедов, установленные на дне канала по его длине под острым углом к продольной оси канала, и дополнительные проточные тракты, входные и выходные части которых соединены с водопроводящим трактом.
Недостатком данного сооружения является низкая эффективность гашения кинетической энергии водного потока и нерациональное использование дополнительного расхода воды.
Наиболее близким по технической сущности и достигаемому результату является рыбоходно-нерестовый канал [2], включающий водопроводящий тракт, выполненный в виде канала, головная часть которого соединена с верхним бьефом гидроузла, а устьевая часть – с нижним бьефом, элементы усиленной шероховатости, установленные на дне канала по его длине, дополнительный проточный тракт, соединенный с водопроводящим трактом, причем его устьевая часть выполнена автономной и расположена выше по течению устьевой части водопроводящего тракта, образуя многоголовый входной оголовок и нерестовый субстрат в виде гравийно-галечниковой отсыпки.
Недостатком данного сооружения является низкая эффективность гашения кинетической энергии водного потока.
Наиболее близким по технической сущности и достигаемому результату для варианта является рыбоходно-нерестовый канал [2], включающий водопроводящий тракт, выполненный в виде канала, головная часть которого соединена с верхним бьефом гидроузла, а устьевая часть – с нижним бьефом, элементы усиленной шероховатости, установленные на дне канала по его длине, дополнительный проточный тракт, устьевая часть которого выполнена автономной и расположена выше по течению устьевой части водопроводящего тракта, образуя многоголовый входной оголовок, и нерестовый субстрат в виде гравийно-галечниковой отсыпки.
Недостатком данного сооружения является низкая эффективность гашения кинетической энергии водного потока.
Целью изобретения является создание эффективных гидравлических условий в рыбоходном канале и его варианте для гашения кинетической энергии водного потока.
Сущность изобретения заключается в следующем.
По п.1 формулы изобретения. Выполнение дополнительного проточного тракта с длиной, равной длине водопроводящего тракта, при этом он сообщается с водопроводящим трактом посредством сопрягающих узлов образованных посредством пересечения под углом к друг другу дополнительного проточного тракта и водопроводящего тракта, позволяет сформировать новую плановую компоновку рыбоходного тракта. В этом варианте при слиянии (соударении) двух потоков – дополнительного проточного тракта и водопроводящего тракта, непосредственно в районе размещения сопрягающих узлов происходит интенсивное гашение избыточной кинетической энергии потока, при этом используется энергия соударяющихся потоков.
Выполнение головной части дополнительного проточного тракта параллельной головной части водопроводящего тракта позволяет получить компоновку многоголового выходного оголовка.
По п.2 формулы изобретения. Выполнение замкнутого участка затопленным (фиг.10), при этом на его площади размещен нерестовый субстрат, позволяет по длине рыбоходного канала сформировать участки для нереста рыбы. Кроме того, в этой компоновке формируется поперечное сечение канала типа “русло-пойма-русло”, что способствует снижению средней скорости потока. Кроме того, свой вклад в гашение избыточной энергии потока вносит гидравлическое явление, называемое кинематическим эффектом взаимодействия безнапорного потоков русловой и пойменной частей поперечного сечения канала (кинематический эффект Г.В.Железнякова). При взаимодействии потоков русловой и пойменной частей в канале наблюдается существенное уменьшение средних и поверхностных скоростей потока в русловой части под влиянием потока пойменной части, одновременно с этим в прирусловом отсеке потока пойменной части, как правило, наблюдается некоторое увеличение скоростей.
По п.3 формулы изобретения. Выполнение замкнутого участка затопленным, при этом на его площади размещен нерестовый субстрат в виде гравийно-галечниковой отсыпки, при этом боковые стенки дополнительного проточного и водопроводящего трактов, прилегающие к замкнутому участку, выполнены с вплывными отверстиями(фиг.8 и 9), позволяет сформировать нерестовое поле с регулируемыми скоростями водного потока. Наличие вплывных отверстий, их размеры и размещение регламентируют гидравлический режим на нерестовом поле, при этом скорости потока внутри замкнутого участка имеют меньшие значения.
По п.4 формулы изобретения. Выполнение замкнутого участка с дополнительными рыбоходными каналами и с дополнительными сопрягающими узлами, образованными посредством пересечения дополнительных рыбоходных каналов под углом к друг другу, при этом головная часть одного рыбоходного канала соединена с водопроводящим трактом, а его устьевая часть – с дополнительным проточным трактом, причем головная часть другого рыбоходного канала соединена дополнительным проточным трактом, а его устьевая часть – с водопроводящим трактом (фиг.11 и 12), позволяет мигрантам свободно перемещаться из водопроводящего тракта в дополнительный проточный тракт. Таким образом, оба тракта образуют единую систему для пропуска и нереста рыбы.
По п.5 формулы изобретения. Выполнение головных частей дополнительного проточного и водопроводящего трактов, совмещенных друг с другом и разделенных между собой продольной стенкой (фиг.13), позволяет получить многоголовый выходной оголовок, обеспечивающий выход рыбы в одном поперечном створе верхнего бьефа.
По п.6 формулы изобретения. Выполнение устьевых частей дополнительного проточного и водопроводящего трактов, совмещенных друг с другом и разделенных между собой продольной стенкой (фиг.19), позволяет получить многоголовый входной оголовок, характеризующийся более мощным привлекающим рыбу потоком.
По п.7 формулы изобретения. Выполнение головных и устьевых частей дополнительного проточного и водопроводящего трактов, совмещенных друг с другом и разделенных между собой продольными стенками (фиг.20), позволяет получить вариант компоновки многоголового входного и выходного оголовков рыбоходного канала.
По п.8 формулы изобретения. Выполнение дополнительного проточного и водопроводящего трактов, по своей длине, выполненных с сужающимися и с расширяющимися участками, которые чередуются друг за другом, причем сужающиеся участки имеют глубину, большую глубины расширяющихся участков, позволяет сформировать по длине дополнительного проточного и водопроводящего трактов дно с плесами и перекатами (фиг.17 и 18). Данная компоновка дна наиболее близка по своей форме к форме дна речного русла.
Кроме того, данная форма дна двух трактов способствует увеличению общего гидравлического сопротивления водному потоку и позволяет получить компоновку рыбоходного канала с меньшей длиной. Кроме того, плесы и перекаты позволяют донным рыбам (например, осетровым) более эффективно преодолевать рыбоходный тракт.
По п.9 формулы изобретения. Выполнение дополнительного проточного тракта по своей длине с сужающимися и с расширяющимися участками, которые чередуются друг за другом, при этом сужающиеся участки имеют глубину, большую глубины расширяющихся участков, при этом по длине дополнительного проточного тракта сформировано дно с плесами и перекатами, позволяет сформировать в дополнительном проточном тракте поток с меньшими скоростями, чем поток в водопроводящем тракте. Этот момент позволяет слабым и ослабленным рыбам эффективно перемещаться в направлении верхнего бьефа. Кроме того, плесы и перекаты позволяют донным рыбам (например, осетровым) более эффективно преодолевать рыбоходный тракт.
По п.10 формулы изобретения. Выполнение водопроводящего тракта по своей длине с сужающимися и с расширяющимися участками, которые чередуются друг за другом, причем сужающиеся участки имеют глубину, большую глубины расширяющихся участков, при этом по длине водопроводящего тракта сформировано дно с плесами и перекатами, позволяет сформировать в водопроводящем тракте поток с меньшими скоростями, чем поток в дополнительном проточном тракте. Этот момент позволяет слабым и ослабленным рыбам эффективно перемещаться в направлении верхнего бьефа. Кроме того, плесы и перекаты позволяют донным рыбам (например, осетровым) более эффективно преодолевать рыбоходный тракт.
По п.11 формулы изобретения. Как вариант, плановая компоновка трасс дополнительного проточного тракта и водопроводящего тракта, в районе сопрягающих узлов, может быть выполнена иной. Дополнительный проточный тракт в районе сопрягающих узлов выполнен в виде лотка, при этом дно водопроводящего тракта, в месте пересечения двух трактов, выполнено ныряющим с образованием под лотком дополнительного проточного тракта донного водопропускного отверстия. Это позволяет избежать непосредственно соударения двух потоков и создать нормальные условия для прохода рыбы по дополнительному проточному тракту. Однако наличие конструкции лотка в сопрягающем узле также способствует частичному гашению кинетической энергии водного потока, протекающего по водопроводящему тракту, поскольку этот поток в поверхностных горизонтах гасится при контакте с боковой стенкой лотка. Одновременно для пропуска основного расхода воды дно водопроводящего тракта, под лотком дополнительного проточного тракта, выполнено ныряющим с образованием донного водопропускного отверстия.
По п.12 формулы изобретения. Выполнение замкнутого участка затопленным (фиг.10), при этом на его площади размещен нерестовый субстрат, позволяет по длине рыбоходного канала сформировать участки для нереста рыбы. Кроме того, в этой компоновке формируется поперечное сечение канала типа “русло-пойма-русло”, что способствует снижению средней скорости потока. Кроме того, свой вклад в гашение избыточной энергии потока вносит гидравлическое явление, называемое кинематическим эффектом взаимодействия безнапорного потоков русловой и пойменной частей поперечного сечения канала (кинематический эффект Г.В.Железнякова). При взаимодействии потоков русловой и пойменной частей в канале наблюдается существенное уменьшение средних и поверхностных скоростей потока в русловой части под влиянием потока пойменной части, одновременно с этим в прирусловом отсеке потока пойменной части, как правило, наблюдается некоторое увеличение скоростей.
По п.13 формулы изобретения. Выполнение замкнутого участка затопленным, при этом на его площади размещен нерестовый субстрат, а боковые стенки дополнительного проточного и водопроводящего трактов, прилегающие к замкнутому участку, выполнены с вплывными отверстиями (фиг.8 и 9), позволяет сформировать нерестовое поле с регулируемыми скоростями водного потока. Наличие вплывных отверстий, их размеры и размещение регламентируют гидравлический режим на нерестовом поле, при этом скорости потока внутри замкнутого участка имеют меньшие значения.
По п.14 формулы изобретения. Выполнение замкнутого участка с дополнительными рыбоходными каналами и с дополнительными сопрягающими узлами, образованными посредством пересечения дополнительных рыбоходных каналов под углом к друг другу, при этом головная часть одного рыбоходного канала соединена с водопроводящим трактом, а его устьевая часть – с дополнительным проточным трактом, причем головная часть другого рыбоходного канала соединена дополнительным проточным трактом, а его устьевая часть – с водопроводящим трактом (фиг.11 и 12), позволяет мигрантам свободно перемещаться из водопроводящего тракта в дополнительный проточный тракт. Таким образом, оба тракта образуют единую систему для пропуска и нереста рыбы.
По п.15 формулы изобретения. Выполнение дополнительного проточного и водопроводящего трактов, по своей длине, выполненных с сужающимися и с расширяющимися участками, которые чередуются друг за другом, причем сужающиеся участки имеют глубину, большую глубины расширяющихся участков, позволяет сформировать по длине дополнительного проточного и водопроводящего трактов дно с плесами и перекатами (фиг.17 и 18). Данная компоновка дна наиболее близка по своей форме к форме дна речного русла. Кроме того, данная форма дна двух трактов способствует увеличению общего гидравлического сопротивления водному потоку и позволяет получить компоновку рыбоходного канала с меньшей длиной. Кроме того, плесы и перекаты позволяют донным рыбам (например, осетровым) более эффективно преодолевать рыбоходный тракт.
По п.16 формулы изобретения. Выполнение дополнительного проточного тракта по своей длине с сужающимися и с расширяющимися участками, которые чередуются друг за другом, при этом сужающиеся участки имеют глубину, большую глубины расширяющихся участков, при этом по длине дополнительного проточного тракта сформировано дно с плесами и перекатами, позволяет сформировать в дополнительном проточном тракте поток с меньшими скоростями, чем поток в водопроводящем тракте. Этот момент позволяет слабым и ослабленным рыбам эффективно перемещаться в направлении верхнего бьефа. Кроме того, плесы и перекаты позволяют донным рыбам (например, осетровым) более эффективно преодолевать рыбоходный тракт.
По п.17 формулы изобретения. Выполнение водопроводящего тракта по своей длине с сужающимися и с расширяющимися участками, которые чередуются друг за другом, причем сужающиеся участки имеют глубину, большую глубины расширяющихся участков, при этом по длине водопроводящего тракта сформировано дно с плесами и перекатами, позволяет сформировать в водопроводящем тракте поток с меньшими скоростями, чем поток в дополнительном проточном тракте. Этот момент позволяет слабым и ослабленным рыбам эффективно перемещаться в направлении верхнего бьефа. Кроме того, плесы и перекаты позволяют донным рыбам (например, осетровым) более эффективно преодолевать рыбоходный тракт.
Решение поставленной задачи достигается путем создания новой конструкции рыбоходного канала и его варианта. Графический материал, поясняющий сущность предлагаемого изобретения, представлен на следующих фигурах:
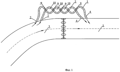
фиг.1 – рыбоходный канал, план;
фиг.2 – фрагмент рыбоходного канала, план, участки сопряжения;
фиг.3 – продольный разрез водопроводящего тракта, узел сопряжения;
фиг.4 – продольный разрез дополнительного проточного тракта, узел сопряжения;
фиг.5 – узел А на фиг.2, изометрия;
фиг.6 – узел Б на фиг.2, план;
фиг.7 – разрез В-В на фиг.6;
фиг.8 – затопленный замкнутый участок, ограниченный боковыми стенками водопроводящего и дополнительного проточного тракта, вариант с вплывными отверстиями;
фиг.9 – разрез Г-Г на фиг.8;
фиг.10 – поперечный разрез затопленного замкнутого участка;
фиг.11 – замкнутый участок вариант с дополнительными рыбоходными каналами;
фиг.12 – разрез Д-Д на фиг.11;
фиг.13 – вариант рыбоходного канала с совмещенными головными частями дополнительного проточного и водопроводящего трактов, план;
фиг.14 – продольный разрез водопроводящего тракта, узел сопряжения, вариант с донным водопропускным отверстием;
фиг.15 – разрез Е-Е на фиг.14;
фиг.16 – разрез Ж-Ж на фиг.14;
фиг.17 – вариант выполнения дна канала в виде перекатов и плесов, продольный разрез;
фиг.18 – то же, план;
фиг.19 – вариант рыбоходного канала с совмещенными устьевыми частями дополнительного проточного и водопроводящего трактов, план;
фиг.20 – вариант рыбоходного канала с совмещенными головными и устьевыми частями дополнительного проточного и водопроводящего трактов, план;
фиг.21 – разрез З-З на фиг.20.
Рыбоходный канал включает водопроводящий тракт 1, выполненный в виде канала, головная 2 часть которого соединена с верхним 3 бьефом гидроузла, а устьевая 4 часть – с нижним 5 бьефом, элементы усиленной шероховатости 6, установленные на дне канала по его длине, дополнительный проточный тракт 7, соединенный с водопроводящим трактом 1, причем его устьевая 4 часть выполнена автономной и расположена выше, по течению, устьевой 4 части водопроводящего тракта 1, образуя многоголовый входной оголовок, и нерестовый субстрат 8 в виде гравийно-галечниковой отсыпки.
Дополнительный проточный тракт 7 выполнен с длиной, равной длине водопроводящего тракта 1, причем он сообщен с водопроводящим трактом 1 посредством сопрягающих узлов 9, образованных посредством пересечения под углом к друг другу дополнительного проточного 7 и водопроводящего трактов 1 с образованием замкнутых участков 10, а головная 2 часть дополнительного проточного тракта 7 выполнена параллельной головной 2 части водопроводящего тракта 1.
Кроме того, замкнутый участок 10 может быть выполнен затопленным, при этом на его площади размещен нерестовый субстрат 8.
Помимо того, замкнутый участок 10 может быть выполнен затопленным, при этом на его площади размещен нерестовый субстрат, а боковые стенки дополнительного проточного 7 и водопроводящего 1 трактов, прилегающие к замкнутому участку 10, выполнены с вплывными отверстиями 11.
Кроме того, замкнутый участок 10 может быть выполнен с дополнительными рыбоходными каналами 12 и с дополнительными сопрягающими узлами 13, образованными посредством пересечения дополнительных рыбоходных каналов 12 под углом к друг другу, при этом головная часть одного рыбоходного канала 12 соединена с водопроводящим трактом 1, а его устьевая часть – с дополнительным проточным трактом 7, причем головная часть другого рыбоходного канала 12 соединена с дополнительным проточным трактом 7, а его устьевая часть – с водопроводящим трактом 1.
Помимо того, головные 2 части дополнительного проточного 7 и водопроводящего 1 трактов могут быть совмещены друг с другом и разделены между собой продольной стенкой 14.
Кроме того, устьевые 4 части дополнительного проточного 7 и водопроводящего 1 трактов могут быть совмещены друг с другом и разделены между собой продольной стенкой 14.
Помимо того, головные 2 и устьевые 4 части дополнительного проточного 7 и водопроводящего 1 трактов могут быть совмещены друг с другом и разделены между собой продольными стенками 14.
Кроме того, дополнительный проточный 7 и водопроводящий 1 тракты по своей длине могут быть выполнены с сужающимися 15 и с расширяющимися 16 участками, которые чередуются друг за другом, причем сужающиеся 15 участки имеют глубину, большую глубины расширяющихся 16 участков, при этом по длине дополнительного проточного 7 и водопроводящего 1 трактов сформировано дно с плесами и перекатами.
Помимо того, дополнительный проточный тракт 7 по своей длине может быть выполнен с сужающимися 15 и с расширяющимися 16 участками, которые чередуются друг за другом, причем сужающиеся 15 участки имеют глубину, большую глубины расширяющихся 16 участков, при этом по длине дополнительного проточного тракта 7 сформировано дно с плесами и перекатами.
Кроме того, водопроводящий тракт 1 по своей длине может быть выполнен с сужающимися 15 и с расширяющимися 16 участками, которые чередуются друг за другом, причем сужающиеся 15 участки имеют глубину, большую глубины расширяющихся 16 участков, при этом по длине водопроводящего тракта 1 сформировано дно с плесами и перекатами.
Согласно варианту, рыбоходный канал включает водопроводящий тракт 1, выполненный в виде канала, головная 2 часть которого соединена с верхним 3 бьефом гидроузла, а устьевая 4 часть – с нижним 5 бьефом, элементы усиленной шероховатости 6, установленные на дне канала по его длине, дополнительный проточный тракт 7, устьевая 4 часть которого выполнена автономной и расположена выше по течению устьевой 4 части водопроводящего тракта 1, образуя многоголовый входной оголовок, и нерестовый субстрат 8 в виде гравийно-галечниковой отсыпки.
Дополнительный проточный тракт 7 выполнен с длиной, равной длине водопроводящего тракта 1, причем он пересекает трассу водопроводящего тракта 1 в зоне сопрягающих узлов 9, образованных посредством пересечения под углом к друг другу дополнительного проточного 7 и водопроводящего 1 трактов с образованием замкнутых участков 10, при этом головная 2 часть дополнительного проточного тракта 7 выполнена параллельной головной 2 части водопроводящего тракта 1, а дополнительный проточный тракт 7 в районе сопрягающих узлов 9 выполнен в виде лотка 17, при этом дно водопроводящего тракта 1 в месте пересечения двух трактов 1 и 7 выполнено ныряющим с образованием под лотком 17 дополнительного проточного тракта 7 донного водопропускного отверстия 18.
Кроме того, замкнутый участок 10 может быть выполнен затопленным, при этом на его площади размещен нерестовый субстрат 8.
Помимо того, замкнутый участок 10 может быть выполнен затопленным, при этом на его площади размещен нерестовый субстрат 8, а боковые стенки дополнительного проточного 7 и водопроводящего 1 трактов, прилегающие к к замкнутому участку 10, выполнены с вплывными отверстиями 11.
Кроме того, замкнутый участок 10 может быть выполнен с дополнительными рыбоходными каналами 12 и с дополнительными сопрягающими узлами 13, образованными посредством пересечения дополнительных рыбоходных каналов 12 под углом к друг другу, при этом головная часть одного рыбоходного канала 12 соединена с водопроводящим трактом 1, а его устьевая часть – с дополнительным проточным трактом 7, причем головная часть другого рыбоходного канала 12 соединена с дополнительным проточным трактом 7, а его устьевая часть – с водопроводящим трактом 1.
Помимо того, дополнительный проточный 7 и водопроводящий 1 тракты по своей длине могут быть выполнены с сужающимися 15 и с расширяющимися 16 участками, которые чередуются друг за другом, причем сужающиеся 15 участки имеют глубину, большую глубины расширяющихся 16 участков, при этом по длине дополнительного проточного 7 и водопроводящего 1 трактов сформировано дно с плесами и перекатами.
Кроме того, дополнительный проточный тракт 7 по своей длине может быть выполнен с сужающимися 15 и с расширяющимися 16 участками, которые чередуются друг за другом, причем сужающиеся 15 участки имеют глубину, большую глубины расширяющихся 16 участков, при этом по длине дополнительного проточного тракта 7 сформировано дно с плесами и перекатами.
Помимо того, водопроводящий тракт 1 по своей длине может быть выполнен с сужающимися 15 и с расширяющимися 16 участками, которые чередуются друг за другом, причем сужающиеся 15 участки имеют глубину, большую глубины расширяющихся 16 участков, при этом по длине водопроводящего тракта 1 сформировано дно с плесами и перекатами.
Рыбоходный канал работает следующим образом.
Привлечение рыбы из нижнего бьефа 5 в устьевую часть 4 водопроводящего тракта 1 и дополнительного проточного тракта 7 осуществляется подачей рабочего расхода из верхнего бьефа 3. Благодаря своей компоновке (фиг.1) тракты 1 и 7 в местах своего пересечения образуют сопрягающие узлы 9 и одновременно в промежутках между сопрягающими узлами 9 – замкнутые участки 10. В сопрягающих узлах 9 водные потоки трактов 1 и 7 соударяются друг с другом, при этом происходит активный процесс гашения избыточной кинетической энергии потока и соответственно создание локального подпора уровня воды. Слияние двух потоков в сопрягающих узлах 9 происходит под углом 90 градусов, что является самой эффективной схемой гашения потоков в зоне слияния.
Как вариант, дополнительный проточный тракт 7 в районе сопрягающих узлов 9 может быть выполнен в виде лотка 17, при этом дно водопроводящего тракта 1 в месте пересечения двух трактов 1 и 7 может быть выполнено ныряющим с образованием под лотком 17 дополнительного проточного тракта 7 донного водопропускного отверстия 18. Это позволяет избежать непосредственно соударения двух потоков и создать нормальные условия для прохода рыбы по дополнительному проточному тракту 7. Однако наличие конструкции лотка 17 в сопрягающем узле 9 также способствует частичному гашению кинетической энергии водного потока, протекающего по водопроводящему тракту 1, поскольку этот поток в поверхностных горизонтах гасится при контакте с боковой стенкой лотка 17. Одновременно для пропуска основного расхода воды дно водопроводящего тракта 1 под лотком 17 дополнительного проточного тракта 7 выполнено ныряющим с образованием донного водопропускного отверстия 18 (фиг.14 и 15).
По длине трактов 1 и 7 расположены элементы усиленной шероховатости 6 (фиг.6), которые способствуют гашению кинетической энергии потока в придонных горизонтах.
Возможен вариант, когда замкнутый участок 10 выполнен затопленным (фиг.10), при этом на его площади размещен нерестовый субстрат 8, что позволяет по длине рыбоходного канала сформировать участки для нереста рыбы. Кроме того, в этой компоновке формируется поперечное сечение канала типа “русло-пойма-русло”, что способствует снижению средней скорости потока за счет проявления гидравлического явления, называемого кинематическим эффектом взаимодействия безнапорного потоков русловой и пойменной частей поперечного сечения канала. При взаимодействии потоков русловой и пойменной частей в канале наблюдается существенное уменьшение средних и поверхностных скоростей потока в русловой части под влиянием потока пойменной части, одновременно с этим в прирусловом отсеке потока пойменной части, как правило, наблюдается некоторое увеличение скоростей.
Возможен вариант выполнения замкнутого участка 10 затопленным, при этом на его площади также размещен нерестовый субстрат 8 в виде гравийно-галечниковой отсыпки, при этом боковые стенки дополнительного проточного 7 и водопроводящего 1 трактов, прилегающие к замкнутому участку 10, выполнены с вплывными отверстиями 11 (фиг.8 и 9), что позволяет сформировать нерестовое поле с регулируемыми скоростями водного потока. Наличие вплывных отверстий 11, их размеры и плановое размещение регламентируют гидравлический режим на нерестовом поле, при этом скорости потока внутри замкнутого участка 10 будут иметь меньшие значения, чем в случае просто затопленного участка 10 (фиг.10).
Возможен вариант выполнения замкнутого участка 10 с дополнительными рыбоходными каналами 12 и с дополнительными сопрягающими узлами 13, образованными посредством пересечения дополнительных рыбоходных каналов 12 под углом к друг другу, при этом головная часть одного рыбоходного канала 12 соединена с водопроводящим трактом 1, а его устьевая часть – с дополнительным проточным трактом 7, причем головная часть другого рыбоходного канала 12 соединена дополнительным проточным трактом 7, а его устьевая часть – с водопроводящим трактом 1 (фиг.11 и 12), что позволяет мигрантам свободно перемещаться из водопроводящего тракта 1 в дополнительный проточный тракт 7 и обратно. Таким образом, оба тракта 1 и 7 образуют единую систему для пропуска рыбы в верхний 3 бьеф гидроузла.
Возможен вариант выполнения головных 2 частей дополнительного проточного 7 и водопроводящего 1 трактов, совмещенных друг с другом и разделенных между собой продольной стенкой 14 (фиг.13), что позволяет получить многоголовый выходной оголовок, обеспечивающий выход рыбы в одном поперечном створе верхнего 3 бьефа.
Возможен вариант выполнения устьевых 4 частей дополнительного проточного 7 и водопроводящего 1 трактов, совмещенных друг с другом и разделенных между собой продольной стенкой 14 (фиг.19), что позволяет получить многоголовый входной оголовок, характеризующийся более мощным привлекающим рыбу потоком.
Возможен вариант выполнения головных 2 и устьевых 4 частей дополнительного проточного 7 и водопроводящего 1 трактов, совмещенных друг с другом и разделенных между собой продольными стенками 14 (фиг.20), что позволяет получить вариант компоновки многоголового входного и выходного оголовков рыбоходного канала.
Возможен вариант выполнения дополнительного проточного 7 и водопроводящего 1 трактов, по своей длине, выполненных с сужающимися 15 и с расширяющимися 16, которые чередуются друг за другом, при этом сужающиеся 15 участки имеют глубину больше, чем глубина расширяющихся 16 участков, что позволяет сформировать по длине дополнительного проточного 7 и водопроводящего 1 трактов дно с плесами и перекатами (фиг.17 и 18). Данная компоновка дна наиболее близка по своей форме к форме дна речного русла. Кроме того, данная форма дна двух трактов 1 и 7 способствует увеличению общего гидравлического сопротивления водному потоку и позволяет получить компоновку рыбоходного канала с меньшей длиной. Кроме того, плесы и перекаты позволяют донным рыбам (например, осетровым) более эффективно преодолевать рыбоходный канал.
Возможен вариант выполнения дополнительного проточного 7 тракта по своей длине с сужающимися 15 и с расширяющимися 16, которые чередуются друг за другом, при этом сужающиеся 15 участки имеют глубину больше, чем глубина расширяющихся 16 участков, причем по длине дополнительного проточного 7 тракта формируется дно с плесами и перекатами, что позволяет сформировать в дополнительном проточном 7 тракте поток с меньшими скоростями, чем поток в водопроводящем тракте 1. Этот момент позволяет слабым и ослабленным рыбам эффективно перемещаться в направлении верхнего 3 бьефа. Кроме того, плесы и перекаты позволяют донным рыбам (например, осетровым) более эффективно преодолевать рыбоходный канал.
Возможен вариант выполнения водопроводящего тракта 1 по всей длине с сужающимися 15 и с расширяющимися 16 по ширине участками, которые чередуются друг за другом, при этом сужающиеся 15 участки имеют глубину больше, чем глубина расширяющихся 16 участков, причем по длине водопроводящего 1 тракта формируется дно с плесами и перекатами, что позволяет сформировать в водопроводящем 1 тракте поток с меньшими скоростями, чем поток в дополнительном проточном 7 тракте. Этот момент позволяет слабым и ослабленным рыбам эффективно перемещаться в направлении верхнего 3 бьефа. Кроме того, плесы и перекаты позволяют донным рыбам (например, осетровым) более эффективно преодолевать рыбоходный канал.
Предлагаемый рыбоходный канал позволяет обеспечить стабильные и эффективные условия для формирования привлекающего рыбу потока, эффективные условия для гашения избыточной кинетической энергии водного потока, а также оптимальные условия для прохода рыб в верхний бьеф гидроузла. Кроме того, впервые в практике проектирования рыбоходных и рыбоходно-нерестовых каналов дополнительный рыбоходный тракт совмещает в себе функции дополнительного блока питания и гасителя избыточной кинетической энергии водного потока.
Источники информации
1. Авторское свидетельство СССР №1666633, “Рыбоходно-нерестовый канал”, МПК Е 02 В 8/08, Шкура В.Н., Чистяков А.А., Новойдарский А.В., Анохин А.М. и Черкасов В.А. (СССР). Опубл. БИ №28, 1991.
2. Патент РФ №2233363, “Рыбоходно-нерестовый канал”, МПК Е 02 В 8/08, Чистяков А.Ан., Шкура В.Н., Анохин А.М., Чемикосова Е.А., Чистяков А.Ал. Опубл. 27.07.2004.
Формула изобретения
1. Рыбоходный канал, включающий водопроводящий тракт, выполненный в виде канала, головная часть которого соединена с верхним бьефом гидроузла, а устьевая часть – с нижним бьефом, элементы усиленной шероховатости, установленные на дне канала по его длине, дополнительный проточный тракт, соединенный с водопроводящим трактом, причем его устьевая часть выполнена автономной и расположена выше по течению устьевой части водопроводящего тракта, образуя многоголовый входной оголовок, и нерестовый субстрат в виде гравийно-галечниковой отсыпки, отличающийся тем, что дополнительный проточный тракт выполнен длиной, равной длине водопроводящего тракта, причем он сообщен с водопроводящим трактом посредством сопрягающих узлов, образованных посредством пересечения под углом к друг другу дополнительного проточного и водопроводящего трактов с образованием замкнутых участков, а головная часть дополнительного проточного тракта выполнена параллельной головной части водопроводящего тракта.
2. Канал по п.1, отличающийся тем, что замкнутый участок выполнен затопленным, при этом на его площади размещен нерестовый субстрат.
3. Канал по п.1, отличающийся тем, что замкнутый участок выполнен затопленным, при этом на его площади размещен нерестовый субстрат, а боковые стенки дополнительного проточного и водопроводящего трактов, прилегающие к замкнутому участку, выполнены с вплывными отверстиями.
4. Канал по п.1, отличающийся тем, что замкнутый участок выполнен с дополнительными рыбоходными каналами и с дополнительными сопрягающими узлами, образованными посредством пересечения дополнительных рыбоходных каналов под углом к друг другу, при этом головная часть одного рыбоходного канала соединена с водопроводящим трактом, а его устьевая часть – с дополнительным проточным трактом, причем головная часть другого рыбоходного канала соединена с дополнительным проточным трактом, а его устьевая часть – с водопроводящим трактом.
5. Канал по п.1, отличающийся тем, что головные части дополнительного проточного и водопроводящего трактов совмещены друг с другом и разделены между собой продольной стенкой.
6. Канал по п.1, отличающийся тем, что устьевые части дополнительного проточного и водопроводящего трактов совмещены друг с другом и разделены между собой продольной стенкой.
7. Канал по п.1, отличающийся тем, что головные и устьевые части дополнительного проточного и водопроводящего трактов совмещены друг с другом и разделены между собой продольными стенками.
8. Канал по любому из пп.1, 5-7, отличающийся тем, что дополнительный проточный и водопроводящий тракты по своей длине выполнены с сужающимися и с расширяющимися участками, которые чередуются друг за другом, причем сужающиеся участки имеют глубину, большую глубины расширяющихся участков, при этом по длине дополнительного проточного и водопроводящего трактов сформировано дно с плесами и перекатами.
9. Канал по любому из пп.1, 5-7, отличающийся тем, что дополнительный проточный тракт по своей длине выполнен с сужающимися и с расширяющимися участками, которые чередуются друг за другом, причем сужающиеся участки имеют глубину, большую глубины расширяющихся участков, при этом по длине дополнительного проточного тракта сформировано дно с плесами и перекатами.
10. Канал по любому из пп.1, 5-7, отличающийся тем, что водопроводящий тракт по своей длине выполнен с сужающимися и с расширяющимися участками, которые чередуются друг за другом, причем сужающиеся участки имеют глубину, большую глубины расширяющихся участков, при этом по длине водопроводящего тракта сформировано дно с плесами и перекатами.
11. Рыбоходный канал, включающий водопроводящий тракт, выполненный в виде канала, головная часть которого соединена с верхним бьефом гидроузла, а устьевая часть – с нижним бьефом, элементы усиленной шероховатости, установленные на дне канала по его длине, дополнительный проточный тракт, устьевая часть которого выполнена автономной и расположена выше по течению устьевой части водопроводящего тракта, образуя многоголовый входной оголовок, и нерестовый субстрат в виде гравийно-галечниковой отсыпки, отличающийся тем, что дополнительный проточный тракт выполнен длиной, равной длине водопроводящего тракта, причем он пересекает трассу водопроводящего тракта в зоне сопрягающих узлов, образованных посредством пересечения под углом к друг другу дополнительного проточного и водопроводящего трактов с образованием замкнутых участков, при этом головная часть дополнительного проточного тракта выполнена параллельной головной части водопроводящего тракта, а дополнительный проточный тракт в районе сопрягающих узлов выполнен в виде лотка, при этом дно водопроводящего тракта в месте пересечения двух трактов выполнено ныряющим с образованием под лотком дополнительного проточного тракта донного водопропускного отверстия.
12. Канал по п.11, отличающийся тем, что замкнутый участок выполнен затопленным, при этом на его площади размещен нерестовый субстрат.
13. Канал по п.11, отличающийся тем, что замкнутый участок выполнен затопленным, при этом на его площади размещен нерестовый субстрат, а боковые стенки дополнительного проточного и водопроводящего трактов, прилегающие к замкнутому участку, выполнены с вплывными отверстиями.
14. Канал по п.11, отличающийся тем, что замкнутый участок выполнен с дополнительными рыбоходными каналами и с дополнительными сопрягающими узлами, образованными посредством пересечения дополнительных рыбоходных каналов под углом друг к другу, при этом головная часть одного рыбоходного канала соединена с водопроводящим трактом, а его устьевая часть – с дополнительным проточным трактом, причем головная часть другого рыбоходного канала соединена с дополнительным проточным трактом, а его устьевая часть – с водопроводящим трактом.
15. Канал по п.11, отличающийся тем, что дополнительный проточный и водопроводящий тракты по своей длине выполнены с сужающимися и с расширяющимися участками, которые чередуются друг за другом, причем сужающиеся участки имеют глубину, большую глубины расширяющихся участков, при этом по длине дополнительного проточного и водопроводящего трактов сформировано дно с плесами и перекатами.
16. Канал по п.11, отличающийся тем, что дополнительный проточный тракт по своей длине выполнен с сужающимися и с расширяющимися участками, которые чередуются друг за другом, причем сужающиеся участки имеют глубину, большую глубины расширяющихся участков, при этом по длине дополнительного проточного тракта сформировано дно с плесами и перекатами.
17. Канал по п.11, отличающийся тем, что водопроводящий тракт по своей длине выполнен с сужающимися и с расширяющимися участками, которые чередуются друг за другом, причем сужающиеся участки имеют глубину, большую глубины расширяющихся участков, при этом по длине водопроводящего тракта сформировано дно с плесами и перекатами.
РИСУНКИ
MM4A – Досрочное прекращение действия патента СССР или патента Российской Федерации на изобретение из-за неуплаты в установленный срок пошлины за поддержание патента в силе
Дата прекращения действия патента: 07.12.2006
Извещение опубликовано: 20.06.2008 БИ: 17/2008
|
|