|
|
(21), (22) Заявка: 2004125824/12, 24.08.2004
(24) Дата начала отсчета срока действия патента:
24.08.2004
(43) Дата публикации заявки: 10.02.2006
(46) Опубликовано: 20.07.2006
(56) Список документов, цитированных в отчете о поиске:
SU 1806543 А1, 07.04.1993. SU 1417827 A1, 23.08.1988. SU 1516057 A1, 23.10.1989. SU 1410899 A1, 23.07.1988. SU 967375 А, 28.10.1982. US 5151064 A, 29.09.1992. DE 4120731 A1, 24.12.1992.
Адрес для переписки:
660049, г.Красноярск, ул. Профсоюзов, 3, ОАО “ПО “КЗК”, УГК
|
(72) Автор(ы):
Пономарев Геннадий Викторович (RU), Невмержицкий Виктор Данилович (RU), Татаренко Евгений Николаевич (RU), Мазунин Александр Анатольевич (RU)
(73) Патентообладатель(и):
Открытое акционерное общество “Производственное объединение “Красноярский завод комбайннов” (RU)
|
(54) БУНКЕР ЗЕРНОУБОРОЧНОГО КОМБАЙНА
(57) Реферат:
Изобретение относится к сельскохозяйственному машиностроению и может быть использовано в зерноуборочных комбайнах. Бункер зерноуборочного комбайна включает корпус с горловиной и прикрепленные на шарнирах к горловине две крышки. Каждая крышка горловины имеет два боковых сектора с продольным пазом и накладкой. Боковые сектора крышек сопряжены между собой при помощи продольных пазов и осей – синхронизаторов. Накладки пазов расположены на противоположных сторонах сопрягаемых секторов. Ось-синхронизатор представляет собой стержень. С одной стороны стержня жестко прикреплено кольцо. С другой стороны стержень снабжен плоской шайбой и имеет отверстие под шплинт для фиксации шайбы. Расстояние между внутренними поверхностями кольца и шайбы больше толщины двух секторов и двух накладок. Использование в бункере крышек с боковыми секторами, сопряженных между собой посредством продольных пазов и осей-синхронизаторов, обеспечивает надежную работу загрузочного устройства при увеличении полезного объема бункера и предотвращении высыпания зерна. 1 з.п. ф-лы, 3 ил.
Изобретение относится преимущественно к сельскохозяйственному машиностроению, в частности к зерноуборочным комбайнам.
Известен бункер зерноуборочного комбайна (Х.И.Изаксон. Зерноуборочные комбайны «Нива» и «Колос», Москва, 1980 г., стр.184, 186, 187, рис.139 и 140), содержащий корпус, загрузочное и выгрузное устройства бункера и крышку люка, установленную на крыше корпуса бункера. Недостаток такого устройства в том, что при заполнении бункера крышка люка не открывается и при переполнении бункера останавливается загрузочное устройство, срабатывает предохранительный механизм привода загрузочного устройства, что снижает надежность работы зерноуборочного комбайна.
Известен бункер зерноуборочного комбайна (Д.И.Шаткус. Зерноуборочные комбайны «Енисей», Москва, 1986 г., стр.100, 101, рис.45), содержащий корпус бункера, загрузочное и выгрузное устройства, две створки крышки, снабженные пружинами и винтовым натяжным механизмом для пружин. В таком устройстве при переполнении бункера створки под действием зерна приподнимаются и предохраняют привод загрузочного устройства от перегрузок. Однако створки недостаточны по размерам, открываются на малый угол и не всегда компенсируют переполнение бункера, что приводит к забиваниям загрузочного устройства бункера.
Технический результат изобретения выражается в повышении надежности работы загрузочного устройства, в увеличении полезного объема бункера за счет увеличенных крышек и большего угла их открытия, а также в предотвращении просыпания зерна.
Это достигается тем, что бункер зерноуборочного комбайна включает корпус с горловиной, прикрепленные шарнирно к горловине две крышки, загрузочное и выгрузное устройства, при этом каждая крышка горловины снабжена двумя боковыми секторами, каждый из которых имеет продольный паз с накладкой, причем боковые сектора крышек сопряжены между собой при помощи продольных пазов и осей-синхронизаторов, а накладки пазов расположены на противоположных сторонах сопрягаемых секторов, причем ось-синхронизатор выполнена в виде стержня, с одной стороны которого перпендикулярно оси стержня жестко прикреплено кольцо, а с другой стороны стержень снабжен увеличенной плоской шайбой и отверстием под шплинт для фиксации шайбы, при этом размер между внутренними поверхностями кольца и шайбы немного больше толщины двух секторов и двух накладок. Сопоставительный анализ с прототипом показывает, что заявляемое устройство отличается тем, что каждая крышка горловины снабжена двумя боковыми секторами, каждый из которых имеет продольный паз с накладкой, причем боковые сектора крышек сопряжены между собой при помощи продольных пазов и осей-синхронизаторов, а накладки пазов расположены на противоположных сторонах сопрягаемых секторов, причем ось-синхронизатор выполнена в виде стержня, с одной стороны которого перпендикулярно оси стержня жестко прикреплено кольцо, а с другой стороны стержень снабжен увеличенной плоской шайбой и отверстием под шплинт для фиксации шайбы, при этом размер между внутренними поверхностями кольца и шайбы немного больше толщины двух секторов и двух накладок. Проверка соответствия заявленного изобретения требованию изобретательского уровня показала, что изобретение не следует для специалиста явным образом из известного уровня техники, т.к. из последнего не выявлено влияния предписываемых изобретением преобразований, характеризуемых отличительными от прототипа существенными признаками на достижение технического результата.
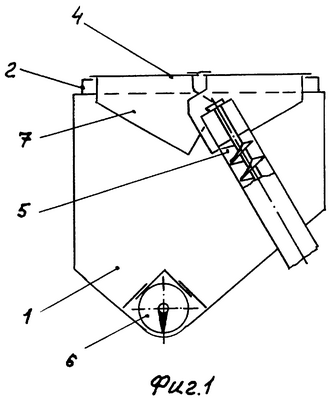
На фиг.1 схематично изображен бункер зерноуборочного комбайна (продольный разрез); на фиг.2 изображена горловина бункера с крышками в закрытом и открытом положении; на фиг.3 – сечение А-А на фиг.2.
Бункер зерноуборочного комбайна включает корпус 1 с горловиной 2, прикрепленные на шарнирах 3 к горловине крышки 4, загрузочное устройство 5 и выгрузное устройство 6. Каждая крышка горловины снабжена двумя боковыми секторами 7, жестко прикрепленными к крышке, при этом каждый сектор имеет продольный паз 8 с усиливающей накладкой 9. Боковые сектора крышек сопряжены между собой при помощи продольных пазов и осей-синхронизаторов 10, причем усиливающие накладки пазов расположены на противоположных сторонах сопрягаемых секторов. Ось-синхронизатор выполнена в виде стержня 11, к которому с одной стороны перпендикулярно оси (не обозначена) стержня жестко прикреплено кольцо 12, а с другой стороны стержень снабжен увеличенной шайбой 13 и отверстием 14 под шплинт (не показан) для фиксации шайбы на стержне так, чтобы размер между внутренними поверхностями кольца и шайбы был немного больше толщины двух накладок и двух секторов, соединяемых между собой осью-синхронизатором.
Бункер зерноуборочного комбайна работает следующим образом. Через загрузочное устройство 5 зерно поступает внутрь корпуса 1 бункера, и постепенно заполняется весь его объем. При дальнейшей работе комбайна зерно, поступающее из загрузочного устройства 5, начинает поднимать крышки 4 горловины 2 бункера, которые поворачиваются вокруг шарниров 3 и начинают раскрываться. За счет жесткого крепления боковых секторов 7 на крышках бункера, которые при повороте крышек 4 скользят по горловине 2, зерно не просыпается, а продолжает раскрывать крышки дальше. При этом оси-синхронизаторы 10 скользят вдоль продольных пазов 8 с усиливающими накладками 9 в каждом из четырех боковых секторах 7, обеспечивая синхронное, т.е. одинаковое раскрытие крышек 4, что предотвращает просыпание зерна через край одной из крышек. Когда крышки бункера не связаны между собой, то за счет разного давления зерна на одну из крышек одна из них раскрывается сильнее, и в этом случае зерно просыпается на крышку, расположенную ниже, и теряется. Для облегчения скольжения осей-синхронизаторов 10 в продольных пазах 8 и устранения перекосов и заеданий стержень 11 оси-синхронизатора жестко соединен с кольцом 12 под прямым углом, а увеличенная шайба 13 при помощи отверстия 14 установлена на стержне так, что обеспечивается небольшой зазор в соединении двух сопрягаемых секторов 7 крышек 4. При полном раскрытии крышек 4 зерноуборочный комбайн прекращает свою работу и приступает к выгрузке зерна из бункера при помощи выгрузного устройства 6, при этом крышки 4 под действием собственного веса возвращаются в исходное положение синхронно за счет сопряжения секторов, связанных между собой осями-синхронизаторами.
Таким образом, использование в бункере крышек с боковыми секторами увеличенного размера, которые сопряжены между собой посредством продольных пазов и осей-синхронизаторов, обеспечивает более надежную работу загрузочного устройства, увеличивает полезный объем бункера и предотвращает просыпание зерна.
Формула изобретения
1. Бункер зерноуборочного комбайна, включающий корпус с горловиной, прикрепленные шарнирно к горловине две крышки, загрузочное и выгрузное устройства, отличающийся тем, что каждая крышка горловины снабжена двумя боковыми секторами, каждый из которых имеет продольный паз с накладкой, при этом боковые сектора крышек сопряжены между собой при помощи продольных пазов и осей-синхронизаторов, причем накладки пазов расположены на противоположных сторонах сопрягаемых секторов.
2. Бункер зерноуборочного комбайна по п.1, отличающийся тем, что ось-синхронизатор выполнена в виде стержня, с одной стороны которого перпендикулярно оси стержня жестко прикреплено кольцо, а с другой стороны стержень снабжен плоской шайбой и отверстием под шплинт для фиксации шайбы, при этом размер между внутренними поверхностями кольца и шайбы больше толщины двух секторов и двух накладок.
РИСУНКИ
MM4A – Досрочное прекращение действия патента СССР или патента Российской Федерации на изобретение из-за неуплаты в установленный срок пошлины за поддержание патента в силе
Дата прекращения действия патента: 25.08.2007
Извещение опубликовано: 10.03.2009 БИ: 07/2009
|
|