|
(21), (22) Заявка: 2004135877/12, 08.12.2004
(24) Дата начала отсчета срока действия патента:
08.12.2004
(46) Опубликовано: 20.07.2006
(56) Список документов, цитированных в отчете о поиске:
RU 2156561 C1, 27.09.2000. RU 2163431 C1, 27.02.2001. RU 2165136 C1, 20.04.2001. RU 2165137 С1, 20.04.2001. RU 2180164 С1, 10.08.2002. RU 2160984 C1, 27.12.2000.
Адрес для переписки:
127550, Москва, ул. Б. Академическая, 44, ВНИИГиМ, патентный отдел, Ю.С. Кащенко
|
(72) Автор(ы):
Буравцев Виталий Николаевич (RU), Салдаев Александр Макарович (RU), Кизяев Борис Михайлович (RU), Шамсутдинов Нариман Зебриевич (RU)
(73) Патентообладатель(и):
Государственное научное учреждение Всероссийский научно-исследовательский институт гидротехники и мелиорации им. А.Н. Костякова (RU)
|
(54) МАШИНА ДЛЯ ДОБЫЧИ КОРНЕЙ И КОРНЕВИЩ ЛАКРИЦЫ В ЕСТЕСТВЕННЫХ ЗАРОСЛЯХ И НА ПЛАНТАЦИЯХ КУЛЬТУРЫ СОЛОДКИ GLYCYRRHIZA GLABRA L. И GLYCYRRHIZA URALENSIS FISCH
(57) Реферат:
Изобретение относится к области сельского и лесного хозяйства, сельскохозяйственному машиностроению, в частности к машинам для уборки лекарственных растений, залегающих на значительной глубине. Машина включает раму, рабочий орган для подкапывания и вырезания пласта и сепарирующее устройство в виде двух последовательно установленных приводных битеров. В рабочем органе для подкапывания и вырезания пласта места перехода лемеха и боковин сопряжены наклонными полками. Фронтальные части боковин снабжены режущими кромками на двугранных лезвиях, переходящими на режущие кромки односторонних лезвий полок лемеха. Задняя часть лемеха имеет криволинейный лоток. По ходу рамы первый битер снабжен гибкими элементами, размещенными с равным угловым шагом на периферийной части дисков, установленных по краям ступицы битера. Каждый из гибких элементов выполнен в виде отрезка многожильного каната или звеньев якорной цепи. Звенья цепи или отрезка каната установлены по дуге, описываемой уравнениями: где S – длина дуги гибкого элемента, а – параметр, SH – гиперболический синус, х – абсцисса, отсчитывается от середины оси симметрии битера, y – ордината искомой точки. Концы упомянутых гибких элементов соединены шарнирами и переходными элементами с дисками ступицы битера. Второй битер снабжен установленной в его диаметральной плоскости парой свободно вращающихся вальцов. Повышается производительность и снижается себестоимость лекарственного сырья. 8 ил.
Изобретение относится к сельскохозяйственному машиностроению, в частности к машинам для уборки корней лекарственных растений, залегающих на значительной глубине, например корней солодки голой, солодки уральской, алтея лекарственного, девясила высокого и др. с аналогичным строением подземных органов.
Известна машина для уборки корней растений, преимущественно лакрицы, содержащая раму, копирующие катки, рабочий орган для подкапывания и вырезания пласта, сепарирующее устройство в виде приводного ротора с клыками на его поверхности, в которой рабочий орган для подкапывания и вырезания пласта выполнен в виде U-образной скобы с ножом и наклонными к направлению движения боковыми стойками, снабженными щитками, а крайние клыки ротора установлены под углом к его оси и оппозитно друг другу; щитки выполнены в зеркальном отражении, а их удаленные концы установлены с сужением в направлении подачи корневой массы (RU, патент №2156562 C1, МПК 7 A 01 D 31/00. Машина для уборки корней растений преимущественно лакрицы /А.В. Галда, А.М. Салдаев (RU) – Заявка №99111286/13; заявлено 24.05.1999; опубликовано 27.09.2000 г., бюл. №27 Изобретения. Полезные модели. 2000 №27).
К недостаткам данной машины относятся высокий процент повреждения корней и корневищ лекарственных растений. Повреждения вызваны наклоненными к горизонту подъемниками (28) U-образной скобы и радиально ориентированными клыками (6) приводного ротора (5). Снижение частоты вращения ротора (5) не снижает величину повреждаемых корней.
Наиболее близким аналогом к заявленному объекту является машина для добычи корней и корневищ лакрицы в естественных зарослях и на плантациях культуры солодки, включающая копирующие катки, рабочий орган для подкапывания и вырезания пласта и сепарирующее устройство в виде двух последовательно установленных приводных битеров, в котором каждый из битеров снабжен радиально установленными клыками. Периферийные кромки клыков размещены по линии в диаметральной плоскости каждого их них, при этом поверхность вращения одного из них имеет форму катеноида, а поверхность другого битера – бочкообразную. Битеры размещены на дополнительной раме, соединенной шарнирно с рамой и связанной с ней посредством талрепа. Привод битеров размещен в полости дополнительной рамы и снабжен последовательно установленными в кинематической цепи привода карданным телескопическим валом с шарнирами Гука по его концам, ведущего вала с двумя звездочками приводной зубчатой цепи с разделением потока передаваемой мощности на два параллельных русла посредством ведомых звездочек зубчатой цепи и валов, установленных в полости продольных брусьев дополнительной рамы, концы которых соединены, например, цепными муфтами с приемными валами угловых конических редукторов, а шлицевые хвостовики выходных валов редукторов соединены с шлицевыми втулками корпусов битеров (RU, патент №2156561 C1, МПК 7 A 01 D 31/00. Машина для добычи корней и корневищ лакрицы в естественных зарослях и на плантациях культуры солодки Glycyrrhiza glabra L. и Glycyrrhiza uralensis Fisch. /A.B. Галда, А.М. Салдаев (RU) – Заявка №99109825/13; заявлено 11.05.1999; опубликовано 27.09.2000 г., бюл. №27 Изобретения. Полезные модели. 2000 №27).
Эта машина нами принята в качестве наиближайшего аналога.
К недостаткам данной машины относятся механические повреждения извлекаемых корней и корневищ лекарственных растений концами клыков (35, 36) двух последовательно установленных битеров (5, 6).
Сущность изобретения заключается в следующем.
Задача, на решение которой направлено заявляемое изобретение, – повышение качества добываемого лекарственного сырья.
Технический результат – повышение производительности и снижение себестоимости лекарственных препаратов.
Указанный технический результат достигается тем, что в известной машине для добычи корней и корневищ лакрицы в естественных зарослях и на плантациях культуры солодки, (Glycyrrhiza glabra L. и Glycyrrhiza uralensis Fisch), включающей раму, рабочий орган для подкапывания и вырезания пласта и сепарирующее устройство в виде двух последовательно установленных приводных битеров, согласно изобретению в рабочем органе для подкапывания и вырезания пласта места перехода лемеха и боковин сопряжены наклонными полками, фронтальные части боковин снабжены режущими кромками на двугранных лезвиях, переходящими на режущие кромки односторонних лезвий полок и лемеха, задняя часть которого имеет криволинейный лоток, по ходу рамы первый битер снабжен гибкими элементами, размещенными с равным угловым шагом на периферийной части дисков, установленных по краям ступицы битера, а каждый из гибких элементов выполнен в виде отрезка многожильного каната или звеньев якорной цепи, при этом звенья цепи или отрезки каната установлены по дуге, описываемой уравнениями:

где S – длина дуги гибкого элемента;
а – параметр цепной линии;
sh – гиперболический синус;
х – абсцисса, отсчитываемая от середины оси симметрии битера;
y – ордината искомой точки.
При этом концы упомянутых гибких элементов соединены шарнирами и переходными элементами с дисками ступицы битера, а второй битер снабжен установленными в его диаметральной плоскости парой свободно вращающихся вальцов.
Изобретение поясняется чертежами.
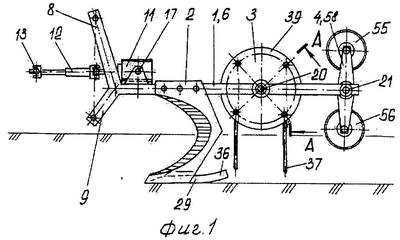
На фиг.1 изображена машина на для добычи корней и корневищ лакрицы в естественных зарослях и на плантациях культуры солодки Glycyrrhiza glabra L. и Glycyrrhiza uralensis Fisch, вид слева.
На фиг.2 изображена машина на для добычи корней и корневищ лакрицы в естественных зарослях и на плантациях культуры Glycyrrhiza glabra L. и Glycyrrhiza uralensis Fisch, вид в плане.
На фиг.3 представлен первый по ходу рамы битер с гибкими элементами в виде отрезков многожильного каната, концы которого заделаны в переходные элементы и шарнирами соединены с периферийными кромками дисков.
На фиг.4 показан рабочий орган для подкапывания и вырезания пласта, вид слева.
На фиг.5 показан рабочий орган для подкапывания и вырезания пласта, вид спереди.
На фиг.6 – второй по ходу рамы приводной битер в виде пары свободно вращающихся вальцов, вид спереди.
На фиг.7 – второй по ходу рамы приводной битер в виде пары свободно вращающихся вальцов, вид сбоку.
На фиг.8 – сечение А-А на фиг.1, соединение звеньев якорной цепи с переходным элементом и шарнира на периферийной кромке диска по ходу рамы битера.
Сведения, подтверждающие возможность реализации заявленного технического решения заключаются в следующем.
Машина на для добычи корней и корневищ лакрицы в естественных зарослях и на плантациях культуры солодки содержит раму 1, рабочий орган 2 для подкапывания и вырезания пласта и сепарирующее устройство в виде двух последовательно установленных приводных битеров 3 и 4.
Рама 1 сварной конструкции выполнена на виде в плане П-образной формы из полых балок 5, 6, и 7 прямоугольного сечения. Сопрягаемые концы балок 5-7 усилены плитами и косынками. На балке 5 смонтированы кронштейны 8, 9 и 10 навески рамы 1 на тяги навесной гидросистемы агрегатируемого трактора. На плите балки 5 закреплен конический редуктор 11 для привода вращения битеров 3 и 4. Приемный вал редуктора 11 с агрегатируемым трактором связан телескопическим валом 12 с шарниром Гука 13 по концам. Выходной вал 15 редуктора 11 муфтой 16 соединен с ведущим валом 17 бортового редуктора 18, смонтированного в полости балки 6. Подшипниковые опоры 19, 20, 21, 22 закреплены на стенках и гнездах балки 6.
Рабочий орган 2 для подкапывания и вырезания пласта почвы с корнями лекарственных растений (см. фиг.1, 2, 4 и 5) закреплен на балках 6 и 7 рамы 1 посредством болтов 22 устанавливаемых в бонках 23 и 24, боковин 25 и 26. В пары бонок 27 боковин 25 и 26 размещают оси 27, исключающие срез крепежных болтов 22. Лемех 29 размещен в нижних частях боковин 25 и 26. Места перехода лемеха 29 и боковин 25 и 26 сопряжены наклонными полками 30, 31. Режущие кромки 32 плавно переходят на режущие кромки 34 и 35 односторонних лезвий полок 30, 31 и лемеха 29. Задняя часть лемеха 29 имеет криволинейный лоток 36 для подъема вырезанного пласта над дном канавы.
Первый по ходу рамы 1 битер 3 снабжен гибкими элементами 37 (см. фиг.1-3). Гибкие элементы 37 с равным угловым шагом размещены на периферийной части дисков 38 и 39. Диски 38 и 39 установлены по краям ступицы 40 битера 3. В ступице 40 смонтированы соосные шлицевые цапфы 41 и 42 для привода во вращение битера 3. Цапфы 41 и 42 размещены в подшипниковых опорах 18 и 20 балок 6 и 7 рамы 1. Каждый из гибких элементов 37 выполнен в виде отрезка многожильного металлического каната (см. фиг.3) или звеньев 43 якорной цепи (фиг.8).
Звенья якорной и отрезки каната гибких элементов 37 установлены по дуге цепной линии, описываемой уравнениями:


где s – длина дуги гибкого элемента;
а – параметр цепной линии;
sh – гиперболический синус;
х – абсцисса, отсчитываемая от середины оси симметрии битера;
y – ордината искомой точки.
Величина параметра цепной линии «а» нами выбрана с учетом высоты подъема подрезанного пласта над дном канавы и максимальной деформации изгибом слоя почвы и грунта, переплетенных корнями лекарственных растений. Концы 44 и 45 гибких элементов 37 снабжены переходными элементами 46. В варианте использования звеньев из якорной цепи переходной элемент 47 имеет пару отверстий: овальное отверстие 48 предусмотрено для связи со звеном 43 якорной цепи; цилиндрическое (круглое) отверстие предназначено для его размещения на оси 49. Концы 44 и 45 отрезков многожильного металлического каната спрессованы в глухих отверстиях переходных элементов 46. Упомянутые гибкие элементы 37 соединены шарнирами 50 и переходными элементами 46 с дисками 38 и 39 ступицы 40 битера 3. В каждом шарнире 50 ось 49 размещена посредством подшипника скольжения 51 и упорной шайбы 52. Смещение оси 49 в шарнире ограничено гайкой 53 на резьбовой части 54. Такое конструктивное исполнение шарниров 50 в соединениях гибких элементов 37 и дисков 38 и 39 позволяет надежно работать битеру 3 в абразивной среде, а каждому элементу 37 выполнять функции подъемника.
Второй битер 4 по ходу рамы 1 снабжен установленной в его диаметральной плоскости парой свободно вращающихся вальцов 55 и 56 (см. фиг.1, 2, 6, 7). Цапфы вальцов 55 и 56 смонтированы в гнездах 57 посредством самоустанавливающихся подшипников разовой смазки. Гнезда 57 размещены на концах двуплечих рычагов 58. Рычаги 58 кольцевыми сварными швами соединены со ступицей 59. В полости ступицы 59 смонтированы соосные шлицевые цапфы 60 и 61 для привода ступицы 59 установлены в подшипниковых опорах 19 и 21 балок 6 и 7 рамы 1.
Машина для добычи корней и корневищ работает следующим образом.
Пальцами в кронштейнах навески 8-10 раму 1 соединяют с тягами навески трактора. Шарнир 13 на конце телескопического вала 12 соединяют чистым болтом с шлицевым хвостовиком ВОМ трактора с частотой вращения 540 или 1000 мин-1. На выбранном массиве дикорастущих лекарственных растений определяют направление движения агрегата. При поступательном движении агрегата и включенном ВОМ машина выполняет технологический процесс добычи корней и корневищ следующим образом. Режущими кромками 32 боковин 25 и 26, кромками 34 наклонных полок 30 и 31 и режущей кромкой 35 лемеха 29 пласт почвы с корнями растений подрезается по незамкнутому периметру шириной 150 см на глубине 45…52 см. Подрезанный пласт двугранными лезвиями 33 боковин 25 и 26 и лезвием с односторонней заточкой полок 30, 31 и лемеха 29 смещается в направлении криволинейного лотка 36. Подрезанный пласт лотком 36 поднимается над уровнем дна канавы на высоту не менее 20 см. Описанная геометрия рабочего органа 2 для подкапывания и вырезания пласта имеет минимальное тяговое сопротивление, а сам пласт практически не подвержен деформации.
Установленный за рабочим органом 2 приводной битер 3 своими гибкими элементами 37 подхватывает подрезанный пласт. При вращении битера 3 каждый гибкий элемент 37 поднимает пласт выше ступицы 40. При подъеме пласта элементами 37 он подвергается в поперечно-вертикальной плоскости знакопеременным изгибающим воздействиям.
Дальше пласт в поднятом над канавой положении перемещается в направлении приводного битера 4. Частота вращения битера 4 в 5-8 раз больше частоты вращения битера 3. Вальцами 55 и 56 битера пласт подвергается знакопеременным изгибающим нагрузкам в продольно-вертикальной плоскости. При воздействии гибких элементов 37 и вальцов 55 и 56 битеров 3 и 4 грунт и почва, отделяясь от корневой массы, оседают в разрыхленном состоянии в канаве. Корневая масса извлекается из деформируемого пласта и укладывается лентой на поверхности взрыхленной полосы. После частичной просушки лакричное или другое лекарственное сырье подбирают известными уборочными машинами.
При массе орудия менее 870 кг корни и корневища солодки голой извлекаются из слоя 45-55 см на полосе шириной 1,5 м. Агрегатирование машины осуществлено с трактором Т-150К класса тяги. Производительность агрегата за час чистой работы при скорости перемещения 6 км/ч составляет 0,85 га. Количество поврежденных корней из общей массы сырья не превышает 8-12%. Таким образом достигается повышение производительности и снижение себестоимости лекарственного сырья.
Формула изобретения
Машина для добычи корней и корневищ лакрицы в естественных зарослях и на плантациях культуры солодки (Glycyrrhiza glabra L. и Glycyrrhiza uralensis Fisch), включающая раму, рабочий орган для подкапывания и вырезания пласта и сепарирующее устройство в виде двух последовательно установленных приводных битеров, отличающаяся тем, что в рабочем органе для подкапывания и вырезания пласта места перехода лемеха и боковин сопряжены наклонными полками, фронтальные части боковин снабжены режущими кромками на двухгранных лезвиях, переходящими на режущие кромки односторонних лезвий полок лемеха, задняя часть которого имеет криволинейный лоток; по ходу рамы первый битер снабжен гибкими элементами, размещенными с равным угловым шагом на периферийной части дисков, установленных по краям ступицы битера, а каждый из гибких элементов выполнен в виде отрезка многожильного каната или звеньев якорной цепи, при этом звенья цепи или отрезки каната установлены по дуге, описываемой уравнениями

S – длина дуги гибкого элемента;
а – параметр цепной линии;
sh – гиперболический синус;
х – абсцисса, отсчитываемая от середины оси симметрии битера;
y – ордината искомой точки,
при этом концы упомянутых гибких элементов соединены шарнирами и переходными элементами с дисками ступицы битера, а второй битер снабжен установленными в его диаметральной плоскости парой свободно вращающихся вальцов.
РИСУНКИ
|