|
(21), (22) Заявка: 2004136388/12, 14.12.2004
(24) Дата начала отсчета срока действия патента:
14.12.2004
(46) Опубликовано: 20.07.2006
(56) Список документов, цитированных в отчете о поиске:
SU 1658873 А, 30.06.1991. SU 660616 А, 15.05.1979. SU 718039 А, 28.02.1980. SU 886790 А, 07.12.1981. SU 965381 А, 15.10.1982. FR 2206662 А, 12.07.1974.
Адрес для переписки:
440014, г.Пенза, ул. Ботаническая, 30, ФГОУ ВПО “Пензенская государственная сельскохозяйственная академия”
|
(72) Автор(ы):
Кухмазов Кухмаз Зейдулаевич (RU), Крячко Владимир Михайлович (RU)
(73) Патентообладатель(и):
ФГОУ ВПО “Пензенская государственная сельскохозяйственная академия” (RU)
|
(54) УСТРОЙСТВО ДЛЯ ОБРЕЗКИ БОТВЫ КОРНЕПЛОДОВ НА КОРНЮ
(57) Реферат:
Устройство содержит раму, на которой последовательно установлены размещенные в поперечной плоскости рабочие органы для обрезки ботвы и доочистки головок корнеплодов. Рабочий орган для доочистки выполнен в виде очистительных пластин, установленных на подпружиненных лопастях, шарнирно закрепленных к ступице, жестко установленной на валу. Повышается качество доочистки головок корнеплодов. 2 ил.
Изобретение относится к сельскохозяйственному машиностроению, в частности к устройствам для обрезки ботвы корнеплодов на корню.
Известны устройства для обрезки ботвы корнеплодов на корню, на раме которых последовательно установлены роторные или ротационные рабочие органы для обрезки ботвы и доочистки головок корней А.С. СССР №1097224 А 01 D 23/02 1983 г. (опубл. Бюл. №22 1984 г.); А.С. СССР №886790 А 01 D 23/02 1979 г. (опубл. Бюл. №45 1981 г.); А.С. СССР №965381 А 01 D 23/02 1981 г. (опубл. Бюл. №38 1982 г.) и др.
Эти устройства обладают общими недостатками: низкое качество обрезки ботвы и доочистки головок корнеплодов при их неравномерном расположении относительно поверхности почвы.
Из известных наиболее близким по технической сущности является устройство для обрезки ботвы корнеплодов на корню А.С. СССР №1658873 А 01 D 23/02 1989 г. (опубл. Бюл. №24 1991 г.), содержащее раму, на которой последовательно установлены размещенные в поперечной плоскости рабочие органы для обрезки ботвы и доочистки головок корнеплодов. Рабочий орган для обрезки ботвы выполнен в виде ротационного барабана с ножами. Каждый рабочий орган для доочистки головок корнеплодов состоит из очистительного элемента, выполненного в виде эластичных пластин, установленных на вертикальном валу под углом от 40 до 45° к вертикальной плоскости.
В процессе работы ротационный барабан с ножами срезает предварительно ботву с корнеплодов, после чего корнеплоды с оставшимися остатками ботвы обрабатываются эластичными пластинами, которые, вращаясь в горизонтальной плоскости, обкатывают головку корнеплода.
Недостатком данного устройства является плохое качество доочистки головок корнеплодов при неравномерном их расположении по высоте (относительно поверхности поля) и по длине рядка из-за отсутствия механизма копирования.
Заявленное изобретение направлено на устранение указанного недостатка и от его реализации получен следующий технический результат: повышение качества доочистки головок корнеплодов за счет их копирования доочистительным рабочим органом.
Указанный технический результат достигается за счет установки очистительных пластин на подпружиненных лопастях, шарнирно закрепленных к ступице, жестко установленной на валу.
Новым существенным признаком предлагаемого устройства является использование подпружиненных лопастей, шарнирно закрепленных к ступице, что позволяет каждому очистительному элементу копировать головки корнеплодов при их доочистке, причем жесткость пружины подбирается с целью создания усилия, не повреждающего корнеплод, но в то же время позволяющего удалять остатки ботвы.
Применение нового существенного признака позволяет повысить качество доочистки головок корнеплодов путем повышения копирующей способности рабочих органов.
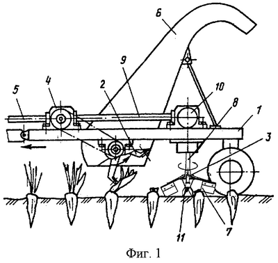
На фиг.1 изображено предлагаемое устройство, вид сбоку.
На фиг.2 показана схема рабочего органа для доочистки головок корнеплодов.
Устройство для обрезки ботвы корнеплодов на корню содержит раму 1, на которой последовательно установлены размещенные в поперечной плоскости рабочие органы 2 для обрезки ботвы и рабочие органы 3 для доочистки головок корнеплодов. Рабочий орган 2 для обрезки ботвы выполнен в виде ротационного барабана с ножами и снабжен приводом 4 от трактора посредством вала 5 отбора мощности. Над ротационным барабаном установлен отводящий трубообразный кожух 6.
Рабочие органы 3 для доочистки головок корнеплодов состоят из нескольких очистительных элементов, выполненных в виде эластичных пластин 7, установленных на лопастях 12 под углом от 40 до 45° к вертикальной плоскости. Лопасти 12 посредством шарнира 15 закреплены к ступице 13 и зафиксированы пружинами 14. Каждый рабочий орган 3 смонтирован на вертикальном валу 8 и имеет привод от вала 9 посредством редуктора 10. Крепление рабочего органа 3 на вертикальном валу 8 осуществляется с помощью стопорного болта 11.
Эластичные пластины 7 выполнены из прорезиненной ленты.
Устройство работает следующим образом.
В процессе движения устройства ротационный барабан с ножами срезает предварительно ботву с корнеплодов, после чего корнеплоды с оставшимися остатками ботвы обрабатываются эластичными пластинами 7, которые, вращаясь в горизонтальной плоскости, обкатывают головку корнеплода, оставляя ее в чистом виде.
Выполнение рабочих органов 3 для доочистки головок корнеплодов из эластичных пластин 7 и установка их на подпружиненных лопастях 12, шарнирно закрепленных к ступице 13, позволяет каждому очистительному элементу копировать головки корнеплодов и обеспечивать хорошее качество удаления остатков ботвы независимо от неравномерности их расположения по высоте и по длине рядка.
Формула изобретения
Устройство для обрезки ботвы корнеплодов на корню, содержащее раму, на которой последовательно установлены размещенные в поперечной плоскости рабочие органы для обрезки ботвы и доочистки головок корнеплодов, отличающееся тем, что рабочий орган для доочистки выполнен в виде очистительных пластин, установленных на подпружиненных лопастях, шарнирно прикрепленных к ступице, жестко установленной на валу.
РИСУНКИ
MM4A – Досрочное прекращение действия патента СССР или патента Российской Федерации на изобретение из-за неуплаты в установленный срок пошлины за поддержание патента в силе
Дата прекращения действия патента: 15.12.2006
Извещение опубликовано: 20.06.2008 БИ: 17/2008
|