|
|
(21), (22) Заявка: 2005106765/09, 09.03.2005
(24) Дата начала отсчета срока действия патента:
09.03.2005
(46) Опубликовано: 10.07.2006
(56) Список документов, цитированных в отчете о поиске:
RU 2210862 C1, 20.08.2003. RU 2185029 C1, 10.07.2002. RU 2157051 C1, 27.09.2000. RU 2002376 C1, 30.10.1993. US 5048057 A, 10.09.1991. WO 9200639, 09.01.1992.
Адрес для переписки:
394018, г.Воронеж, ул. Плехановская, 14, ФГУП “Воронежский научно-исследовательский институт связи”
|
(72) Автор(ы):
Бокк Олег Федорович (RU), Борисов Василий Иванович (RU), Маковий Владимир Александрович (RU)
(73) Патентообладатель(и):
Федеральное государственное унитарное предприятие “Воронежский научно-исследовательский институт связи” (RU)
|
(54) СПОСОБ И ЛИНИЯ РАДИОСВЯЗИ С ПСЕВДОСЛУЧАЙНОЙ ПЕРЕСТРОЙКОЙ РАБОЧЕЙ ЧАСТОТЫ
(57) Реферат:
Изобретение относится к области радиосвязи и может быть использовано в радиотехнических системах связи в режиме широкополосных сигналов с псевдослучайной перестройкой несущей радиочастоты (ППРЧ). Технический результат – повышение помехозащищенности от мощных сосредоточенных по частоте помех, достигается тем, что в способе после широкополосной фильтрации сигнал подают на «К» одинаковых параллельных тракта, в каждом из которых последовательно проводят ослабление сигнала в функции от времени и его узкополосную фильтрацию, причем в течение отрезка времени прихода сигнала от передатчика на частоте настройки перестраиваемого по частоте полосового фильтра ослабление минимально, до прихода сигнала передатчика на упомянутой частоте ослабление монотонно убывает от максимального до минимального, после окончания сигнала передатчика на этой же частоте ослабление монотонно возрастает от минимального к максимальному, выходные сигналы суммируют и демодулируют, для обеспечения синхронизации время перестройки по частоте в цепи синхронизации передатчик – приемник сдвигают на необходимую величину, а перестройку по частоте каждого из полосовых перестраиваемых фильтров проводят реже в «К» раз. 2 н.п. ф-лы, 10 ил.
Предлагаемое изобретение относится к области радиосвязи, может быть использовано в радиотехнических системах, предназначенных для организации линии радиосвязи в режиме широкополосных сигналов с псевдослучайной перестройкой рабочей частоты (ППРЧ).
Передача сигналов в режиме ППРЧ подробно описана в литературе, в частности в книге Борисов В.И. и др. “Помехозащищенность систем радиосвязи с расширением спектра сигналов методом псевдослучайной перестройки рабочей частоты” – М.: Радио и связь, 2000. – 384 с.
Известны системы связи, работающие в режиме скачков (прыжков) по частоте, например Torrievi D.J. Principles of Military Communication Systes-Dedham, MA: Artech House. Inc. 1981 (3P, 1986, №3, с.13), Тузов Г.И., Сивов В.А., Прытков В.И. и др. Помехозащищенность радиосистем со сложными сигналами. М.: Радио и связь, 1985, 264 с.
Недостатком в работе указанных систем связи с ППРЧ является низкая помехозащищенность от мощных сосредоточенных по частоте помех.
Наиболее близким к предлагаемому является способ передачи сигналов в режиме ППРЧ, представленный в книге Борисов В.И. и др. “Помехозащищенность систем радиосвязи с расширением спектра сигналов методом псевдослучайной перестройки рабочей частоты” – М.: Радио и связь, 2000. – 384 с. ил. ISBN-5-256-01392-0, стр.27, рис.1.10, принятый за прототип.
Способ-прототип заключается в следующем. Входная информация в модуляторе передатчика преобразуется в модулированную радиочастоту, затем преобразуется в выходную радиочастоту, которая излучается в течение заданного, первого отрезка времени. В следующем отрезке времени, как и в предыдущем, информация в передатчике преобразуется в модулированную радиочастоту и переносится в выходную радиочастоту, отличную по номиналу от первой, затем излучается и так далее. Смена несущей частоты от одного отрезка времени к другому происходит по псевдослучайному закону последовательно на частотах, определяемых генератором псевдослучайной последовательности (ГПС) передатчика. Радиосигналы в соответствующие отрезки времени принимаются приемником за счет синхронной перестройки частоты полосового фильтра под воздействием ГПС приемника, выделенный полосовым фильтром сигнал демодулируется и подается на выход приемника. В частном случае полосовой перестраиваемый фильтр может быть выполнен в виде супергетеродина – смесителя, на один вход которого подается сигнал, на другой – напряжение от гетеродина (синтезатора), перестраиваемое по частоте, а на выходе выделяются частоты, равные разности (сумме) частот входного сигнала и напряжения гетеродина фильтром на промежуточную частоту. Не нарушая последующего изложения, под словом “фильтр” можно, в частности, понимать и согласованный, оптимальный фильтр.
Еще раз отметим, что синхронизация ГПС передатчика и ГПС приемника осуществляется заранее одним из известных способов.
Подробно вопрос синхронизации рассмотрен в книге Борисова В.И. и др. “Помехозащищенность систем радиосвязи с расширением спектра сигналов методом псевдослучайной перестройки рабочей частоты” – М.: Радио и связь, 2000. – 384 с. ил. ISBN-5-256-01392-0, глава 6.
Условно для облегчения понимания диаграмма работы в режиме ППРЧ приведена на фиг.1.
Как видно из примера, показанного на фиг.1, сигнал передатчика излучается последовательно на частотах f2, f0, f1, f2, f1, причем время излучения на каждой частотной позиции равно Т0. (Постоянство интервала времени Т0 не является обязательным.) Прием на тех же частотах осуществляется синхронно, но с небольшим запозданием, вызванным, как указывалось выше, задержками в трактах приема и передачи, а также временем распространения. Отметим, что сигнал, излучаемый передатчиком, предварительно модулируется входной информацией, в приемнике после фильтрации полосовым фильтром происходит обратный процесс демодуляции, после которого восстановленная информация подается на выход приемника.
На практике рассмотренная выше работа может происходить только в диапазоне частот, свободном от сосредоточенных по частоте помех. В случае наличия в диапазоне рабочих частот сосредоточенных по спектру помех работа системы резко ухудшается.
Рассмотрим указанный недостаток конкретно.
Пусть в линии радиосвязи происходит N скачков в секунду, время одного скачка Т0 примем за единицу, а для удобства частоту будем измерять в единицах 1/Т0, тогда частоту N/T0 обозначим х. Если условно считать частоту постоянной, а прыжки по частоте приписать сосредоточенной по частоте помехе, то спектр последней можно записать в виде S( х).

Пусть А=1, тогда S(x) будет иметь вид, представленный на фиг.2а. Это общеизвестная зависимость спектральной плотности S(x) от частоты в “ближней” и S(x1) “дальней” зонах.
Следует отметить, что значительное расширение спектра в режиме скачков по частоте х>1, т.е. при “больших” отстройках по частоте, показаны на фиг.2б. С целью выделения существа вопроса на фиг.3 показано изменение модулей максимумов в точках максимума |S( х)| в логарифмическом масштабе. Чтобы подчеркнуть изменение подхода к построению графика на фиг.3, переменная х заменена на x1.
Пусть помеха превосходит сигнал на 80 дБ (допустимый уровень помех на соседнем канале при работе без прыжков по частоте). Если допустить в режиме ППРЧ величину за счет помехи на входе по уровню равной половине минимального сигнала, необходима отстройка рабочей частоты от частоты сосредоточенной по спектру помехи x1=2 3200/Т0 (при отстройке 3200/Т0 помеха равна сигналу). Рассмотрим конкретный случай. При 200 скачках в секунду Т0=5·10-3 сек. Необходимая отстройка от несущей частоты помехи, при которой мощность помехи, попадающей в полосу фильтра, меньше мощности сигнала на “допустимую” величину (5-6 дБ), составляет ±1,3·106 Гц. Таким образом, значительная часть диапазона частот становится не пригодной для передачи сигналов, так как при уменьшении отстройки по сравнению с ±1,3·106 Гц уровень помехи на входе приемника резко возрастает. Кроме того, число помех обычно значительно больше, чем одна. Если на входе приемника присутствуют 5-10 помех, то пораженным окажется значительная часть УКВ диапазона, а именно 13-26 МГц.
Положение ухудшается и при увеличении скорости прыжков, например, если частота прыжков увеличивается в 5 раз, то подавление полосы частот приема сигнала увеличивается тоже в пять раз.
Таким образом, при нахождении в диапазоне частот отдельных, сосредоточенных по спектру помех применение способа-прототипа принципиально приводит к повышению уровня помех на частотах приема из-за расширения спектра этих помех.
Недостатком способа-прототипа является низкая помехозащищенность от мощных сосредоточенных по частоте помех, даже если частота этой помехи не совпадает с какой-либо принимаемой частотой.
Нами предлагается способ приема сигнала ППРЧ, свободный от этого недостатка.
Для устранения указанного недостатка в способе радиосвязи для сигналов с псевдослучайной перестройкой рабочей частоты (ППРЧ), в котором на передающем конце осуществляется преобразование входной информации в радиочастоту путем модуляции ее по закону входной информации и преобразование модулированной по закону входной информации радиочастоты в первую модулированную выходную радиочастоту передатчика в первый временной отрезок Т0, по истечении этого временного отрезка во второй временной отрезок осуществляется преобразование модулированной по закону входной информации радиочастоты в модулированную выходную радиочастоту передатчика, отличную по номиналу от первой, и т.д., на приемном конце производится синхронная с передающим концом перестройка частоты приема в каждый временной отрезок, что обеспечивает прием радиосигнала, несмотря на изменение его частоты, принятый сигнал выделяется широкополосным фильтром и перестраиваемым полосовым фильтром, сигнал демодулируется и, как информация, подается на выход, согласно изобретению после широкополосной фильтрации сигнал подают на К одинаковых параллельных тракта, в каждом из которых последовательно проводят ослабление сигнала в функции от времени и узкополосную фильтрацию сигнала перестраиваемым полосовым фильтром, причем в течение отрезка времени прихода сигнала от передатчика на частоте настройки перестраиваемого по частоте полосового фильтра ослабление минимально, до прихода сигнала передатчика на упомянутой частоте ослабление монотонно убывает от максимального до минимального, после окончания сигнала передатчика на этой же частоте ослабление монотонно возрастает от минимального к максимальному, выходные сигналы суммируют и демодулируют, для обеспечения синхронизации время перестройки по частоте в цепи синхронизации передатчик – приемник сдвигают на необходимую величину, а перестройку по частоте каждого из полосовых перестраиваемых фильтров проводят реже в К раз.
Предлагаемый способ радиосвязи состоит в следующем. Информационный сигнал на передающем конце подключается к передатчику, преобразуется в радиочастоту и излучается в эфир, последовательно на различных частотах в течение определенного отрезка времени Т0 на каждой из частот. На приемном конце осуществляется фильтрация сигналов в широкополосном фильтре, затем сигнал делится на К параллельных перестраиваемых по частоте трактов, частота настройки которых может отличаться. В каждом тракте последовательно проводят ослабление сигнала в функции от времени и узкополосную фильтрацию сигнала перестраиваемым полосовым фильтром.
Причем в течение отрезка времени прихода сигнала от передатчика на частоте настройки перестраиваемого по частоте полосового фильтра ослабление минимально, до прихода сигнала передатчика на упомянутой частоте ослабление монотонно убывает от максимального до минимального. После окончания сигнала передатчика на этой же частоте ослабление монотонно возрастает от минимального к максимальному, выходные сигналы всех К перестраиваемых полосовых фильтров суммируют и демодулируют. С целью обеспечения синхронизации время перестройки по частоте в цепи синхронизации передатчик – приемник сдвигают на необходимую величину.
Изменение частоты полосовых фильтров производится в К раз реже, чем изменение частоты передачи в передатчике. Причем подача сигнала после широкополосной фильтрации на соответствующий перестраиваемый полосовой фильтр осуществляется с ослаблением в зависимости от времени, сначала после переключения на соответствующую радиочастоту в течение времени Т0[(K/2)-1/2] ослабление монотонно уменьшается от максимальной величины (например, 1000 раз) до величины, близкой к 1, затем в течение времени Т0 постоянно или меняется незначительно, а затем в отрезок времени Т0[(K/2)-1/2] монотонно увеличивается от величины, близкой к 1, до максимальной. Общее время работы приемника на данной частоте составляет
КТ0=Т0[(K/2)-1/2]+Т0+Т0[(K/2)-1/2].
Сигнал, отфильтрованный в полосовом фильтре, демодулируется и поступает на выход приемника.
На передающем конце излучение радиосигнала в соответствии с псевдослучайной последовательностью задерживается на отрезок времени Т0[(K/2)-1/2]. (Без учета задержки, необходимой для синхронизма линии связи ППРЧ.) Можно не задерживать сигнал в передатчике на отрезок времени Т0[(K/2)-1/2], но в этом случае необходимо опережать момент излучения передатчика на указанное время в приемнике и перестраивать его параллельные полосовые фильтры заранее на соответствующую частоту излучения передатчика. Возможно, задержку сигнала выполнить как сумму “двух задержек”: в приемнике опережение и в передатчике задержка. Принципиально, чтобы в линии радиосвязи присутствовала задержка между началом приема сигнала и его генерацией.
Таким образом, сигнал выделяется первым из К полосовых фильтров в отрезок времени Т0, когда коэффициент передачи близок единице. Затем сигнал выделяется поочередно одним из К-1 оставшихся полосовых фильтров, причем коэффициент передачи сигнала в соответствующих усилителях как раз в заданный отрезок времени Т0 близок единице. Сигнал фильтруется полосовым фильтром и демодулируется. Выходная информация после демодуляции образует непрерывный поток и передается на выход. Выходная информация приемника соответствует входной информации передатчика. При таком подходе временные импульсы помехи на входе каждого полосового фильтра растягиваются по времени и имеют сглаженные передний и задний фронты.
Эти обстоятельства приводят к резкому сужению спектра помех на входе каждого полосового фильтра и, следовательно, к снижению уровня помех в дальней зоне в десятки раз.
Известны системы связи, работающие в режиме скачков (прыжков) по частоте, например Torrievi D.J. Principles of Military Communication Systes-Dedham, MA: Artech House. Inc. 1981 (3P, 1986, №3, с.13), Тузов Г.И., Сивов В.А., Прытков В.И. и др. Помехозащищенность радиосистем со сложными сигналами. – М.: Радио и связь, 1985 – 264 с.
Недостатком в работе указанных системы с ППРЧ является низкая помехозащищенность от мощных сосредоточенных по частоте помех.
Наиболее близкой по технической сущности к предлагаемой является система радиосвязи, представленная в книге Борисов В.И. и др. “Помехозащищенность систем радиосвязи с расширением спектра сигналов методом псевдослучайной перестройки рабочей частоты” – М.: Радио и связь, 2000. – 384 с. ил. ISBN-5-256-01392-0, стр.24, принятая за прототип.
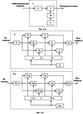
Функциональная схема устройства-прототипа приведена на фиг.4 и определенное число приемников других станций (для определенности двух) на фиг.4а.
На фиг.4 обозначено:
1 – прередатчик;
2 – модулятор;
3 – генератор частоты;
4 – смеситель;
5 – синтезатор;
6 – генератор псевдослучайной последовательности (ГПС);
на фиг.4а:
7, 7а – приемник,
8, 8а – широкополосный фильтр,
9, 9а – смеситель,
10, 10а – полосовой фильтр,
11, 11а – демодулятор,
12, 12а – синтезатор частот приемника,
13, 13а – генератор псевдослучайной последовательности (ГПС) приемника.
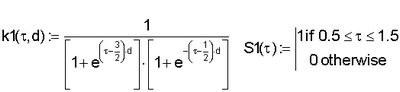
Укрупним схему устройства-прототипа таким образом, как представлено на фиг.5а и фиг.5б. На фиг.5а обозначено:
1 – передатчик;
2 – модулятор;
3 – перестраиваемый генератор вынужденных колебаний;
4 – генератор псевдослучайной последовательности (ГПС) передатчика;
5, 5а – первый и второй приемники;
6, 6а – широкополосные фильтры первого и второго приемников;
7, 7а – перестраиваемые полосовые фильтры (ПФ) первого и второго приемников;
8, 8а – демодуляторы сигналов первого и второго приемников;
9, 9а – ГПС первого и второго приемников.
Линия радиосвязи-прототип содержит на передающем конце передатчик 1, состоящий из последовательно соединенных модулятора 2 и перестраиваемого генератора вынужденных колебаний 3, к управляющим входам которого подключены соответствующие выходы ГПС 4.
При этом вход модулятора 2 является входом передатчика 1, а выход перестраиваемого генератора вынужденных колебаний 3 – выходом сигнала передатчика 1.
На приемном конце число приемников других станций примем равным двум, пусть они будут идентичны.
Рассмотрим построение одного из приемников.
Приемник 5 содержит последовательно соединенные широкополосный фильтр 6, перестраиваемый ПФ 7 и демодулятор 8, выход которого является выходом символов приемника 5. Кроме того, выходы ГПС 9 соединены с соответствующими входами перестраиваемого ПФ 7. Построение второго приемника аналогично.
Еще раз отметим, что, как было упомянуто, ГПС 4 передатчика и ГПС 9, ГПС 9а приемников находятся в синхронизме, по этой причине радиосигналы в соответствующие отрезки времени принимаются приемниками за счет синхронной перестройки частоты под воздействием ГПС 9, 9а приемников и ГПС 4 передатчика.
Синхронизация ГПС 4 передатчика и ГПС 9, 9а приемников осуществляется заранее одним из известных способов.
Рассмотрим работу линии радиосвязи-прототипа. Входная информация поступает на модулятор 2 передатчика 1 и в нем преобразуется в модулированную радиочастоту. Перестраиваемый генератор вынужденных колебаний 3 переносит модулированную радиочастоту на выходную радиочастоту, определяемую сигналом от ГПС 4 передатчика 1, и излучает в течение заданного отрезка времени. В следующем отрезке времени, как и в предыдущем, информация в модуляторе 2 передатчика 1 преобразуется в модулированную радиочастоту, а в перестраиваемый генератор вынужденных колебаний 3 переносит модулированную радиочастоту на выходную радиочастоту, определяемую сигналом от ГПС 4 передатчика, и излучает ее в течение второго отрезка времени. Вторая выходная радиочастота, как правило, отличается от первой. Аналогично происходит работа передатчика 1 и в последующие отрезки времени.
Рассмотрим работу прототипа на приемном конце. Принятые радиочастотные сигналы фильтруются на входе широкополосным фильтром 6 приемника 5, а затем подаются на перестраиваемый ПФ 7 приемника 5, где селектируется полезный сигнал и подается на демодулятор 8, выходной сигнал демодулятора 8 – информация, подводимая к входу модулятора 2 передатчика 1. Перестройка ПФ 7 происходит по командам от ГПС 9 приемника.
Работа линии радиосвязи-прототипа в части передатчика 1 и второго приемника 5а абсолютно аналогична описанию, приведенному выше для линии радиосвязи передатчика 1 и первого приемника 5.
Недостатком линии радиосвязи-прототипа является то, что она работает эффективно только при отсутствии мощных сосредоточенных по частоте помех.
Нами предлагается линия радиосвязи, свободная от этого недостатка.
Для устранения указанного недостатка в линию радиосвязи, содержащую на передающем конце передатчик, состоящий из последовательно соединенных модулятора и перестраиваемого генератора вынужденных колебаний, а также генератора псевдослучайной последовательности (ГПС) передатчика, причем вход модулятора является информационным входом, а выход генератора вынужденных колебаний – выходом передатчика, на приемном конце, по крайней мере, один приемник, состоящий из широкополосного фильтра и последовательно соединенных первого полосового перестраиваемого фильтра (ПФ) и демодулятора сигналов, выход которого является выходом приемника, а также ГПС приемника, согласно изобретению введены в передатчик блок задержки, выход которого соединен с входом генератора вынужденных колебаний, вход блока задержки соединен с выходом ГПС передатчика, на приемном конце в каждый приемник – К управляемых широкополосных аттенюаторов и К-1 перестраиваемых П, а также блок управления широкополосными аттенюаторами и блок задержки и разделения ГПС кода приемника на “К” команд приемника, при этом выход ГПС приемника соединен с входами блока задержки и разделения ГПС кода приемника на “К” команд приемника и блока управления широкополосными аттенюаторами, выходы которого соединены с управляющими входами соответствующих К управляемых широкополосных аттенюаторов, первые входы которых соединены с выходом широкополосного фильтра, выходы управляемых широкополосных аттенюаторов подсоединены к первым входам соответствующих перестраиваемых ПФ, выходы которых объединены, а их вторые входы соединены с соответствующими выходами блока задержки и разделения ГПС кода приемника на “К” команд приемника.
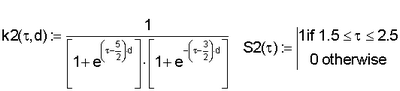
На фиг.6а и 6б представлена функциональная схема предлагаемой линии радиосвязи, где обозначено:
на фиг.6а
1 – передатчик;
2 – модулятор, имеющий информационный вход;
3 – перестраиваемый генератор вынужденных колебаний;
4 – ГПС передатчика;
10 – блок задержки передатчика;
на фиг.6б
5, 5.а – первый и второй приемники;
6, 6.а – широкополосные фильтры первого и второго приемников;
71-7к, 7.a1-7.aк – перестраиваемые ПФ первого и второго приемников;
8, 8.а – демодуляторы сигналов первого и второго приемников;
9, 9.а – ГПС первого и второго приемников.
11, 11.а – блок управления широкополосными аттенюаторами первого и второго приемников;
12, 12.а – блок задержки и разделения ГПС кода приемника на “К” команд первого и второго приемников;
13, 13.а – управляемые широкополосные аттенюаторы первого и второго приемников.
Предлагаемая линия радиосвязи содержит на передающем конце последовательно соединенные модулятор 2 и перестраиваемый генератор вынужденных колебаний 3, выход которого является выходом передатчика. Вход модулятора 2 является информационным входом передатчика. Кроме того, выход ГПС 4 соединен с соответствующим входом блока задержки 10, выход которого соединен с управляющим входом перестраиваемого генератора вынужденных колебаний 3.
Рассмотрим построение приемного конца.
Рассмотрим построение одного из двух идентичных приемников 5, который содержит широкополосный фильтр 6, выход которого соединен с первыми входами управляемых широкополосных аттенюаторов 131-13к, выходы которых через соответствующие перестраиваемые ПФ 71-7к соединены с входом демодулятора сигналов 8, выход которого является выходом приемника. Выход ГПС 9 соединен с входами блока управления широкополосными аттенюаторами 11 и блока задержки и разделения ГПС кода приемника на “К” команд приемника 12. Выходы блока управления широкополосными аттенюаторами 11 соединены с управляющими входами управляемых широкополосных аттенюаторов 131-13к соответственно. Выходы блока задержки и разделения ГПС кода приемника на “К” команд приемника 12 соединены со вторыми входами ПФ 7 соответственно. При этом вход широкополосного фильтра 6 является входом приемника.
Рассмотрим работу предлагаемой линии радиосвязи.
Еще раз отметим, что, как было упомянуто, генераторы передатчика ГПС 4 и приемников ГПС 9, ГПС 9.а находятся в синхронизме, по этой причине радиосигналы в соответствующие отрезки времени принимаются приемниками за счет синхронной перестройки частоты под воздействием ГПС приемников 9, 9.а и ГПС передатчика 4.
Синхронизация ГПС передатчика 4 и ГПС приемников 9, 9.а осуществляется заранее одним из известных способов.
Рассмотрим работу предлагаемой линии радиосвязи на примере одного передатчика на передающем конце и первого приемника на приемном конце.
Входная информация поступает на модулятор 2 передатчика 1, выходная радиочастота которого модулирована по закону входной информации, и подается на вход перестраиваемого генератора вынужденных колебаний 3, где в соответствии с командой от ГСП 4, задержанной в блоке задержки 10 на необходимое время, происходит преобразование модулированной радиочастоты в выходную модулированную радиочастоту и излучение этой частоты в течение заданного отрезка времени.
В следующем отрезке времени, как и в предыдущем, информация в модуляторе 2 передатчика 1 преобразуется в модулированную радиочастоту, а перестраиваемый генератор вынужденных колебаний 3 преобразует модулированную радиочастоту в выходную модулированную радиочастоту, отличную по номиналу от первой, причем номинал ее определяется сигналом от ГПС 4 передатчика, который соединен с генератором вынужденных колебаний 3 через блок задержки 10. Выходная модулированная радиочастота излучается передатчиком 1 и так далее. Еще раз отметим, что смена несущей частоты от одного отрезка времени к другому происходит по псевдослучайному закону последовательно на частотах, определяемых ГПС 4 передатчика 1, который синхронизирован с ГПС 9 приемника 5.
На приемном конце радиолинии модулированный радиосигнал подается на вход широкополосного фильтра 6 приемника 5, где фильтруется и подается на входы управляемых широкополосных аттенюаторов 131-13к приемника 5, в которых коэффициент передачи меняется в заданный интервал времени под воздействием соответствующих каждому аттенюатору управляющих сигналов от блока управления широкополосными аттенюаторами 11. Причем на вход блока 11 подаются выходные сигналы ГПС 9. Выходные сигналы каждого из управляемых широкополосных аттенюаторов 131-13к приемника 5 подаются для селекции на соответствующие ПФ 71-7к, перестройка по частоте этих фильтров осуществляется в соответствии с командами на каждый перестраиваемый ПФ 71-7к от блока задержки и разделения 12 ГПС кода приемника на “К” команд, входным сигналом для которого являются команды от ГПС 9. Выходные сигналы ПФ 71-7к являются входными для демодулятора сигналов 8, выходные сигналы которого в свою очередь будут выходными сигналами первого приемника 5.
Аналогично работает второй приемник 5а.
Рассмотрим примеры реализации блоков 11 и 12.
На фиг.7 представлена схема реализации блока 11, где обозначено:
11.1 – счетчик на К;
11.2 – демультиплексор на К выходов;
11.31 – 11.3к – синхронный одновибратор;
11.41 – 11.4к – счетчик на N;
11.51 – 11.5к – постоянное запоминающее устройство (ПЗУ);
11.61 – 11.6к – цифроаналоговый преобразователь (ЦАП);
11.7 – тактовый генератор.
Блок управления широкополосными аттенюаторами приемника 11 содержит счетчик на К 11.1, счетный вход которого соединен с входом демультиплексора на К выходов 11.2 и является информационным входом блока 11. При этом выходы счетчика 11.1 соединены с соответствующими адресными входами демультиплексора 11.2. А также К линеек, каждая из которых содержит последовательно соединенные синхронный одновибратор 11.3, счетчик на N 11.4, ПЗУ 11.5 и ЦАП 11.6. Выходы демультиплексора 11.2 соединены с входами запуска соответствующих синхронных одновибраторов 11.3, тактовые входы которых подсоединены к выходу тактового генератора 11.7 и тактовым входам счетчиков на N 11.4. Выходы ЦАП 11.61-11.6к являются выходами блока 11.
Работает блок 11 следующим образом.
Сигнал с выхода ГПС 9 приемника поступает одновременно на счетный вход счетчика на К 11.1 и на информационный вход демультиплексора на К 11.2. Выходной код счетчика на К 11.1 поступает на адресные входы демультиплексора на К 11.2. После каждого нового сигнала, поступившего на вход блока 11, состояние счетчика 11.1 изменяется и соответственно изменяется его выходной код. Демультиплексор 11.2 передает информацию, поступающую на его информационный вход, на один из его К выходов и далее на вход запуска одного из синхронных одновибраторов 11.31-11.3к – в соответствии с кодом, установленным счетчиком 11.4 на его адресных входах. Таким образом, каждый из К входных сигналов блока 11.2 запускает соответствующий ему одновибратор 11.31…11.3к.
Одновибратор 11.3 формирует на своем выходе импульс длиной, равный длине приемного интервала КТ0, который подается на вход разрешения счета соответствующего счетчика на N 11.4. В течение этого времени счетчик на N 11.4 считает импульсы, поступающие на его счетный вход, и код на его выходах последовательно изменяется от 0 до N-1. С выхода счетчиков 11.4 коды поступают на адресные входы соответствующих ПЗУ, причем в ПЗУ заранее записаны отсчеты, величина которых в течение времени Т0[(К/2)-1/2], ослабление монотонно уменьшается от максимальной величины (например, 1000 раз) до величины, близкой к 1, затем в течение времени Т0 постоянно или меняется незначительно, а затем в отрезок времени Т0 [(К/2)-1/2] монотонно увеличивается от величины, близкой к 1, до максимальной. Содержимое ячеек ПЗУ последовательно поступает на информационные входы ЦАП 11.6, преобразуется им в непрерывный сигнал для управления аттенюаторами и поступает на К выходов блока 11.
Пример реализации счетчика на К 11.2 и счетчика на N 11.41-11.4к приведен в [1, с. 354, рис. 20.14].
Пример реализации демультиплексора (селектора) на К 11.2 приведен в [1, с. 328, рис. 19.8].
Пример реализации синхронного одновибратора 11.3. приведен в [1, с. 361, рис. 30.31].
На фиг.8 представлена схема реализации блока 12, где обозначено:
12.1 – счетчик на К;
12.2 – демультиплексор.
Блок 12 содержит счетчик на К 12.1, счетный вход которого подключен к информационному входу демультиплексора 12.2 и является входом блока 12. Выходы счетчика 12.1 соединены с соответствующими адресными входами демультиплексора 12.2. К выходов демультиплексора являются выходами блока 12.
Работает блок 12 следующим образом.
Сигнал с выхода генератора ГПС 9 приемника поступает одновременно на счетный вход счетчика на К 12.1 и на информационный вход демультиплексора на К 12.2. Выходной код счетчика на К 12.1 поступает на адресные входы демультиплексора на К 12.2. После каждого нового сигнала, поступившего на вход блока 12, состояние счетчика 12.1 изменяется и соответственно изменяется его выходной код. Демультиплексор 12.2 передает информацию, поступающую на его информационный вход, на один из его К выходов в соответствии с кодом, установленным счетчиком 12.2 на его адресных входах. Таким образом осуществляется разделение (распределение) каждых К входных сигналов блока 12 по его К выходам.
Пример реализации счетчика на К 12.1, реализованного на счетчиках с предварительной установкой, приведен в [1, с. 354, рис. 20.14].
Пример реализации демультиплексора (селектора) на К 12.2 приведен в [1, с. 328, рис 19.8].
Покажем эффективность работы предлагаемых способа и линии радиосвязи ППРЧ на конкретном примере.
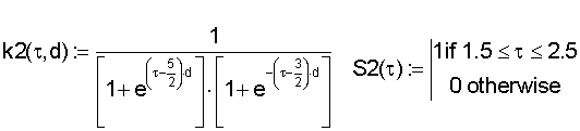
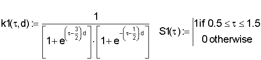
Для количественной оценки рассмотрим самый простой случай К=2.
Пусть коэффициенты передачи входных усилителей (трактов) приемников меняются, как показано на фиг.9. Предположим, что зависимость коэффициента передачи k1( , d) первого и k2( , d) второго высокочастотного тракта может быть представлена формулами:


при d=16 и d=32.
На фиг.9 показаны зависимости коэффициентов передачи от времени . Как видно из фиг.9, коэффициент передачи k1( , 16) в зоне 0,5  1,5 близок к единице, и сигнал, находящийся на входе приемника, будет принят без потерь. В отрезки времени 0  0,5 и 1,5  2 коэффициент передачи меняется от 0 до 0,8, но в среднем мал (0,05), таким образом, влиянием этих отрезков времени на прием ППРЧ можно пренебречь. (Добавление шума незначительно.)
При  1 одновременно с первым входным трактом приемника начинает работать второй входной тракт приемника. Зависимость коэффициента передачи от времени k2( ,16) второго входного тракта приемника совпадает с k1( , 16), но сдвинута на время =1. В соответствии с изложенными выше принципом второй входной тракт приемника в интервале времени 1,5  2,5 принимается полезный сигнал ППРЧ на последующей частоте. Как и при приеме на первой частоте первым входным трактом приемника, во втором входном тракте приемника в отрезки времени 1  1,5 и 2,5  3 коэффициент передачи меняется, но мал по величине и не оказывает влияния на прием ППРЧ, а в отрезок времени 1,5  2,5 близок к единице.
На фиг.9 для сравнения приводятся коэффициенты усиления для случая прототипа S1( ) и S2( ), в котором входной тракт один и открыт на время 0,5  1,5 на первой частоте и на время 1,5  2,5 на второй частоте. Естественно, в этом случае прием происходит постоянно во времени, но сначала на первой, а затем на второй частоте.
На фиг.9 для сравнения изображен случай и k2( , 32), зависимость коэффициента передачи от времени ближе к S1( ) и S2( ).
Теперь рассмотрим выигрыш в случае приема ППРЧ несколькими (в рассматриваемом случае двумя) управляемыми высокочастотными трактами по уменьшению спектра узкополосных помех в режиме ППРЧ.
На фиг.10 приведены зависимости расширения спектра узкополосной помехи для трех случаев. На фиг.10 обозначено: 1 – прототип, 2 – k1( , 32), 3 – k1( , 16). Как видно из приведенных данных, даже в ближней зоне спектральная плотность при предлагаемом способе приема значительно меньше, начиная с х более 3-4.
На фиг.10б приведены зависимости спектральной плотности от х>7 при значительных отстройках. Из фиг.10б видно, что спектральная плотность при реализации предлагаемого способа падает в 10000 раз (80 дБ) для первого варианта – k1( , 32) при х=13 и для второго варианта – k1( , 16) при х=8. Учитывая приведенное значение необходимой отстройки для прототипа (х=3200, фиг.3), выигрыш предлагаемого способа составит примерно 240 раз, 400 раз соответственно.
Таким образом, технический результат предлагаемых способа и линии радиосвязи с ППРЧ – повышение помехозащищенности от мощных сосредоточенных по частоте помех.
Литература
1. Титце У., Шенк К. Полупроводниковая схемотехника. Справочное руководство. Пер с нем. – М.: Мир, 1982. – 512 с., ил.
Формула изобретения
1. Способ радиосвязи для сигналов с псевдослучайной перестройкой рабочей частоты (ППРЧ), в котором на передающем конце осуществляется преобразование входной информации в радиочастоту путем модуляции ее по закону входной информации и преобразование модулированной по закону входной информации радиочастоты в первую модулированную выходную радиочастоту передатчика, в первый временной отрезок ТО, по истечении этого временного отрезка во второй временной отрезок осуществляется преобразование модулированной по закону входной информации радиочастоты в модулированную выходную радиочастоту передатчика, отличную по номиналу от первой, на приемном конце производится синхронная с передающим концом перестройка частоты приема в каждый временной отрезок, что обеспечивает прием радиосигнала несмотря на изменение его частоты, принятый сигнал выделяется широкополосным фильтром и перестраиваемым полосовым фильтром, сигнал демодулируется и как информация подается на выход, отличающийся тем, что после широкополосной фильтрации сигнал подают на К одинаковых параллельных трактов, в каждом из которых последовательно проводят ослабление сигнала в функции от времени и узкополосную фильтрацию сигнала перестраиваемым полосовым фильтром, причем в течение отрезка времени прихода сигнала от передатчика на частоте настройки перестраиваемого по частоте полосового фильтра ослабление минимально, до прихода сигнала передатчика на упомянутой частоте ослабление монотонно убывает от максимального до минимального, после окончания сигнала передатчика на этой же частоте ослабление монотонно возрастает от минимального к максимальному, выходные сигналы суммируют и демодулируют, для обеспечения синхронизации время перестройки по частоте в цепи синхронизации передатчик – приемник сдвигают на необходимую величину, а перестройку по частоте каждого из полосовых перестраиваемых фильтров проводят реже в К раз.
2. Линия радиосвязи для сигналов с псевдослучайной перестройкой несущей частоты (ППРЧ), содержащая на передающем конце передатчик, состоящий из последовательно соединенных модулятора и перестраиваемого генератора вынужденных колебаний, а также генератора псевдослучайной последовательности (ГПС) передатчика, причем вход модулятора является информационным входом, а выход генератора вынужденных колебаний – выходом передатчика, на приемном конце, по крайней мере, один приемник, состоящий из широкополосного фильтра и последовательно соединенных первого полосового перестраиваемого фильтра (ПФ) и демодулятора сигналов, выход которого является выходом приемника, а также ГПС приемника, отличающаяся тем, что введены в передатчик блок задержки, выход которого соединен с входом генератора вынужденных колебаний, вход блока задержки соединен с выходом ГПС передатчика, на приемном конце в каждый приемник – К управляемых широкополосных аттенюаторов и К-1 перестраиваемых ПФ, а также блок управления широкополосными аттенюаторами 11 и блок задержки и разделения ГПС кода приемника на “К” команд приемника, при этом выход ГПС приемника соединен с входами блока задержки и разделения ГПС кода приемника на “К” команд приемника, и блока управления широкополосными аттенюаторами, выходы которого соединены с управляющими входами соответствующих К управляемых широкополосных аттенюаторов, первые входы которых соединены с выходом широкополосного фильтра, выходы управляемых широкополосных аттенюаторов подсоединены к первым входам соответствующих перестраиваемых ПФ, выходы которых объединены, а их вторые входы соединены с соответствующими выходами блока задержки и разделения ГПС кода приемника на “К” команд приемника.
РИСУНКИ
|
|