|
|
(21), (22) Заявка: 2000113963/09, 01.06.2000
(24) Дата начала отсчета срока действия патента:
01.06.2000
(30) Конвенционный приоритет:
02.06.1999 DE 29909701.3
(46) Опубликовано: 10.07.2006
(56) Список документов, цитированных в отчете о поиске:
ЕР 0405337 А2, 02.01.1991. SU 1308207 A3, 30.04.1987. RU 2133071 C1, 10.07.1999. US 5359657 А, 25.10.1994.
Адрес для переписки:
103735, Москва, ул. Ильинка, 5/2, ООО “Союзпатент”, пат.пов. Ю.В.Пинчуку, рег.№ 656
|
(72) Автор(ы):
БУРМАЙСТЕР Клаус-Дитер (DE), ГЭРТНЕР Норберт (DE), ХАЁК Ёханн Георг (DE)
(73) Патентообладатель(и):
КВАНТЕ АГ (DE)
|
(54) ЗАЩИТНЫЙ СОЕДИНИТЕЛЬ ДЛЯ ЭЛЕМЕНТА ТЕЛЕКОММУНИКАЦИОННОГО ОБОРУДОВАНИЯ
(57) Реферат:
Изобретение относится к электротехнике. Защитный соединитель для элемента телекоммуникационного оборудования включает в себя кожух, несколько соединительных контактов, которые соединяются в собранном состоянии с контактами элемента телекоммуникационного оборудования и выполнены, по меньшей мере частично, в виде полосок из листового металла, причем соединительные контакты расположены по меньшей мере частично параллельно друг другу, в результате чего образуются две параллельные плоскости, по меньшей мере один контакт заземления, соединенный с землей в установленном положении, по меньшей мере один беспроводный защитный компонент и по меньшей мере один проводной компонент, причем все защитные компоненты расположены между плоскостями, образованными соединительными контактами, и находятся в непосредственном контакте с соединительными контактами и, при необходимости, с контактом заземления. 11 з.п. ф-лы, 4 ил.
Область техники, к которой относится изобретение
Изобретение относится к защитному соединителю для элемента телекоммуникационного оборудования.
Для защиты электронных компонентов и оборудования, соединенных большей частью с помощью телекоммуникационных соединительных средств, выполненных в виде шин или блоков, от чрезмерных электрических токов и/или напряжений обычно используют защитные соединители, которые выполнены с возможностью штепсельного соединения на открытой стороне кожуха соединительного средства и содержат компоненты, необходимые для защиты. В таких устройствах защитные соединители обычно выполнены для защиты пары проводников в каждом кожухе, т.е. они подключаются попарно к смежным контактам входной и выходной стороны и соединяют их электрически с защитными компонентами.
Уровень техники
В защитном соединителе, известном из DE 3909783 C1, соединительные контакты, выполненные на печатной плате, вставлены соответствующим образом между лепестками контактов, выполненных в виде размыкающих контактов соответствующего краевого соединителя. Проводящий путь соединяет контакты на входной и выходной сторонах и проводит ток через подключенные защитные компоненты, которые припаяны на печатной плате. Использование печатной платы для соединения с контактами соединительных средств уже является недостатком, поскольку это увеличивает затраты, так как печатная плата требует отдельного способа изготовления и дополнительных затрат труда, потому что необходимо припаивать отдельно выполненные компоненты на печатную плату. В результате последние выступают практически вертикально из печатной платы. Они расположены наверху печатной платы и образуют этот известный защитный соединитель, требующий относительно большой кожух. Это означает, что в зоне краевого соединителя занимается много пространства над контактами.
В защитном соединителе, известном из ЕР 0471167 A1, трехполюсный предохранитель от перенапряжений, который не требует проводов, соединен с печатной платой через выполненную из листового металла часть, расположенную между ними. При использовании не смонтированного предохранителя от перенапряжений при таком расположении требуется меньше пространства. Однако, вследствие необходимости иметь печатную плату, недостатком этого известного соединителя также является высокая стоимость.
Из DE 3813889 C1 известен защитный соединитель, включающий беспроводные компоненты, в котором электроды защитных компонентов соединены с контактами, которые соединяются с контактами краевого соединителя. В этом случае защитные компоненты удерживаются в кожухе посредством прижатия крючками, направленными пружинно навстречу друг другу.
Из DE 9101599 U1 известен защитный соединитель, в котором несколько изогнутых соединительных контактов, снабженных желобками, расположены компактно друг над другом и контактируют различные защитные компоненты. Вследствие сложности сборки и загроможденного расположения в собранном виде этот известный защитный соединитель также требует улучшения.
В DE 3412452 A1 раскрыт защитный соединитель для распределительных шин, в котором беспроводные защитные компоненты можно вставлять с возможностью удаления с верхней открытой стороны. В этом известном защитном соединителе нет дополнительной возможности для размещения проводных защитных компонентов.
В ЕР 0405337 А2 описан соответствующий защитный соединитель для распределительной шины, который выполнен с возможностью штепсельного соединения проводных защитных компонентов. В этом случае отдельные камеры также открыты в верхнюю сторону и проводные предохранители от перенапряжений вставлены в этом направлении и контактируются так, что они становятся электрически проводящими с помощью соединительных контактов. Однако предохранители от перенапряжений расположены в одной плоскости над соединительными контактами, так что необходимо значительное пространство для этого известного защитного соединителя. Кроме того, в этом случае нет возможности вставления беспроводных защитных компонентов.
Из DE 4005942 A1 известен защищающий от перенапряжений соединитель для разделяющих шин, в котором защищающие от перенапряжений компоненты расположены на опорной пластине, которая снабжена утолщениями. Наличие печатной платы приводит к относительно высокой стоимости.
Те же недостатки относятся к предмету DE 19811455 C1, в котором печатная плата также имеет защитные элементы.
Сущность изобретения
В основу изобретения положена задача создания защитного соединителя для элемента телекоммуникационного оборудования, имеющего не загроможденную простую конфигурацию, недорогую в изготовлении, и содержащего по меньшей мере один беспроводной защитный компонент, одновременно обеспечивающего надежную защиту для компонентов и элементов оборудования, включенных за соединительными средствами, снабженными защитным соединителем.
Эта задача решена с помощью признаков пункта 1 формулы изобретения.
В соответствии с этим защитный соединитель, согласно изобретению, содержит кожух и множество соединительных контактов, которые соединяются с контактами элемента телекоммуникационного оборудования и выполнены по меньшей мере частично в виде полос из листового металла. Такое выполнение соединительных контактов является, с одной стороны, простым, и, с другой стороны, благодаря параллельному расположению по меньшей мере части контактов, согласно изобретению, обеспечиваются две плоскости, создаваемые в защитном соединителе, согласно изобретению. Согласно изобретению защитные компоненты, включая по меньшей мере один беспроводной защитный компонент и один проводной компонент, расположены между плоскостями, образуемыми соединительными контактами, и контактируют соединительные контакты, а также заземленный контакт.
Другими словами, соединительные контакты выполнены по меньшей мере частично так, что они расположены напротив друг друга и образуют между ними пространство, в котором расположены защитные компоненты. Это обеспечивает особенно не загроможденную и простую конфигурацию защитного соединителя и упрощает сборку, поскольку пространство для защитных компонентов задано и ограничено соединительными контактами. Дополнительно к этому такое расположение очень сильно экономит пространство. В частности, по сравнению с обычным способом установки “на” печатной плате, уменьшаются размеры защитного соединителя и пространство, необходимое для его размещения.
Кроме того, прямое контактирование защитных компонентов с частью соединительных контактов и контактов заземления устраняет необходимость в дорогой печатной плате, неудобной в обращении. По сравнению с обычно применяемыми печатными платами выполнение соединительных контактов в виде полосок из листового металла имеет заметное преимущество, заключающееся в том, что контакты могут быть выполнены прочными. Выполнение контактов прочными, т.е. обеспечение определенного проводящего поперечного сечения, необходимо для пропускания возникающих токов. На используемых до настоящего времени печатных платах проводники могут быть выполнены, по техническим причинам, только относительно тонкими, что значительно уменьшает действительное поперечное сечение. За счет использования элементов в форме полосок из листового металла, к которым непосредственно присоединяются провода проводных компонентов с образованием электрически проводящего соединения, обеспечивается предпочтительная прочная конструкция этих проводников.
Кроме того, защитный соединитель, согласно изобретению, не ограничивается вариантом выполнения, предназначенным для защиты электронных компонентов и элементов оборудования, соединенных с помощью единственной пары соединительных средств. Наоборот, описанная выше конфигурация может быть выполнена в виде так называемого многожильного защитного соединителя, снабженного компонентами, необходимыми для защиты электронных элементов оборудования или компонентов, соединенных различными парами с соединительными средствами, имеющимися в защитном соединителе. В этом случае защитный соединитель может быть выполнен в виде кассеты для размещения защитных компонентов для нескольких пар. Однако защитный соединитель, согласно изобретению, предпочтительно содержит два соединительных контакта или две пары соединительных контактов, так что он предназначен для защиты единственной пары.
Другие предпочтительные варианты выполнения защитного соединителя, согласно изобретению, изложены в других пунктах формулы изобретения.
Соединительные контакты и/или контакт заземления предпочтительно выполнять с контактными лепестками, выступающими из выполненных в виде полосок частей и образующих контакт с защитным компонентом, в результате чего функции защитного соединителя, согласно изобретению, можно реализовать с помощью особенно предпочтительных способов и средств.
При таком устройстве особые преимущества обеспечиваются в отношении лучшего поверхностного контакта защитных компонентов и особенно надежное контактирование, если лепестки слегка наклонены относительно поверхностей защитных компонентов, так что обеспечивается линейный контакт с поверхностью защитного компонента. При таком устройстве может случиться, что кромка лепестка даже слегка врезается в поверхность защитного компонента для достижения особенно надежного контакта.
В наиболее предпочтительном варианте выполнения защитного соединителя, согласно изобретению, внутри него дополнительно предусмотрен разделенный на камеры диэлектрик, в которых, в частности, размещены беспроводные компоненты, при этом эти камеры обеспечивают наиболее простую сборку защитного соединителя.
При использовании соединительных контактов и/или контакта заземления, содержащих выполненный на них лепесток, особенно предпочтительно комбинировать эти камеры, так что стенки камер имеют пазы, в которых размещаются и направляются лепестки для обеспечения особенно точного расположения соединительных контактов и/или контакта заземления, а также для упрощения сборки.
Для контактирования проводного защитного компонента предпочтительно, чтобы по меньшей мере одна часть соединительного контакта и/или контакта заземления содержала по меньшей мере одну зажимную прорезь для зажима соответствующего провода проводного защитного компонента таким образом, чтобы провод проходил в направлении зажимной прорези. Другими словами, две ножки, образующие между ними зажимную прорезь, проходят параллельно проводу защитного компонента, введенного в зажимную прорезь.
В этом случае сборка значительно упрощается за счет использования упомянутого выше диэлектрика, если лепестки содержат направляющие для проводов проводного защитного компонента, так что с помощью направляющих точно задается положение проводов относительно зажимных прорезей для обеспечения тем самым надежного электрического соединения.
Кроме того, при использовании защитного соединителя, согласно изобретению, предпочтительно предусматривать входы в кожухе, через которые имеется доступ снаружи к контрольным точкам соединительных контактов для обеспечения выполнения необходимого контроля.
При снаряжении защитного соединителя, согласно изобретению, защитными компонентами предпочтительно предусматривать защиту от избыточного тока, предпочтительно в виде термистора, и/или защиту от перенапряжений в виде газового разрядника, и/или тонко настраиваемую защиту от перенапряжения, предпочтительно в виде тонко настраиваемого защитного диода или твердотельного предохранителя от перенапряжений. Такой электронный предохранитель от перенапряжений имеет предпочтительно узкие допуски на срабатывание. С помощью указанных выше компонентов или их комбинаций можно предпочтительно обеспечить как защиту от избыточных токов, так и защиту от перенапряжений.
При размещении соединительных контактов в кожухе защитного соединителя предпочтительно, чтобы контакты содержали согнутую вдвое скобу, с помощью которой они удерживаются в кожухе или в его половинке.
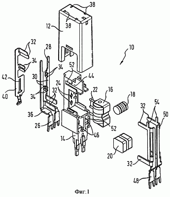
Ниже приводится подробное описание примера выполнения изобретения со ссылками на прилагаемые чертежи, на которых изображено:
фиг.1 – соединитель, согласно изобретению, на виде в разнесенной изометрической проекции;
фиг.2 – частично собранный соединитель, согласно фиг.1, на виде сзади в изометрической проекции;
фиг.3 – соединитель, согласно изобретению, в более собранном состоянии на виде спереди в изометрической проекции и
фиг.4 – соединитель, согласно изобретению, в другом собранном состоянии на виде спереди в изометрической проекции.
Сведения, подтверждающие возможность осуществления изобретения
На фиг.1 показан защитный соединитель, обозначенный в целом позицией 10, содержащий кожух 12, в котором в полностью собранном состоянии размещаются защитные компоненты и контакты, расположенные в диэлектрике 14. Защитные компоненты, предусмотренные в показанном примере выполнения, представляют собой защиту от перенапряжений в виде газового разрядника 16, два устройства тонкой настройки для защиты от перенапряжений в виде защитных диодов 18 тонкой настройки и два средства защиты от избыточного тока в виде термисторов 20. В показанном примере выполнения защитные диоды 18 и термисторы 20 являются беспроводными, в то время как газовый разрядник 16 является проводным и содержит провода 22.
При сборке защитного соединителя 10, согласно изобретению, провода 22 вставляют в соответствующие направляющие 24 для проводов, предусмотренные в диэлектрике 14, выполненном из пластмассы. Два первых соединительных контакта 26 и 28 расположены в установленном состоянии на задней стороне диэлектрика 14, нижняя часть которых, как показано на фиг.1, соединяется с контактами телекоммуникационного оборудования, на которое штепсельным образом устанавливается защитный соединитель 10.
В показанном примере выполнения два соединительных контакта 26, 28 содержат, с одной стороны, выполненную по существу в виде полосы часть 30, от которой отходят внутрь диэлектрика 14 контактные лепестки 32, а также пара контактных ножек 34, причем ножки 34 образуют между собой контактную прорезь. В окончательно собранном состоянии, которое будет детально описано ниже, лепестки 32 соединены с поверхностями термисторов 20.
Кроме того, в каждую соответствующую контактную прорезь между ножками 34 введен провод 22 газового разрядника 16, так что провод 22 проходит в направлении контактной прорези и параллельно передним частям ножек 34. Для обеспечения точного положения провода 22 относительно ножек 34 снабженный прорезями паз содержит для каждого провода направляющую 24 на обеих сторонах сверху и снизу в диэлектрике 14, в которую вводят одну ножку 34. Относительно соединительных контактов 26 и 28 следует дополнительно отметить, что они в своей нижней части содержат скобу 36, изготовленную путем двойного сгибания. В результате два контакта 26 и 28 проходят в направлении верхней стороны кожуха 12 так, что верхние концы соединительных контактов 26, 28 доступны в качестве контрольных точек через соответствующие входы 38 в кожухе 12.
За двумя соединительными контактами 26, 28 в окончательно собранном состоянии (как показано на фиг.1) расположен контакт 40 заземления, содержащий в своей нижней половине часть, с помощью которой он заземляется при установке на элементе телекоммуникационного оборудования. Замковый паз 42, выполненный в форме перевернутого Т, служит для определения положения на диэлектрике 14, который имеет на задней стороне соответствующий замок, выполненный в виде перевернутого Т. В своей верхней части контакт 40 заземления содержит, с одной стороны, пару контактных ножек 34, образующих между ними контактную прорезь, в которую в окончательно собранном состоянии вставлен средний провод 22 газового разрядника 16. С другой стороны, на верхней половине контакта 40 заземления предусмотрены два контактных лепестка 32, каждый из которых служит для осуществления контакта с одним из защитных диодов 18.
Для этой цели два защитных диода 18 тонкой настройки вставляют в собранном состоянии в соответствующие камеры 44 диэлектрика 14. Аналогичным образом в нижней части диэлектрика 14 расположены камеры 46 для каждого из термисторов 20. Установка защитных диодов 18 в камеры 44 и термисторов 20 в камеры 46 осуществляют через соответствующие отверстия с малым поперечным сечением, направленные в сторону передней части (как показано на фиг.1) защитного соединителя 10. Для обеспечения во вдвинутом состоянии надежного контактирования поверхностей названных последними беспроводных защитных компонентов 18, 20, а также для надежного направления двух других соединительных контактов 48 и 50 камеры 44 и 46 содержат пазы 52, в которые входят и направляются лепестки 32 соединительных контактов 48, 50. Две верхние камеры 44 содержат пазы 52, выполненные в виде боковых отверстий, в то время как две нижние камеры 46 содержат выполненные в виде полосок пазы в двух наружных боковых стенках. Дополнительно к этому камеры 44 и 46 с задней стороны (как показано на фиг.1) также имеют открытые отверстия, значение которых будет пояснено ниже со ссылками на фиг.2. Эти направленные в заднюю сторону отверстия служат применительно к защитным диодам 18 для контактирования с частями контакта 40 заземления и применительно к термистору 20 для контактирования с двумя другими соединительными контактами 26 и 28.
Следует отметить, что все лепестки 32 предпочтительно расположены с небольшим наклоном относительно поверхностей защитных диодов 18 и термисторов 20, так что создается линейный контакт с этими поверхностями. Наконец, два соединительных контакта 48, 50 содержат части 54, которые проходят до входов 38 в кожухе 12 и тем самым создают контрольные точки, доступные снаружи. Как следует из разнесенного вида на фиг.1, в окончательно собранном состоянии все защитные компоненты 16, 18, 20 расположены между соединительными контактами 26, 28, 48 и 50, что обеспечивает особенно не загроможденное и компактное выполнение защитного соединителя 10, согласно изобретению.
На фиг.2 показано первое собранное положение, в котором один соединительный контакт 26 уже вставлен с задней стороны в диэлектрик 14. Второй соединительный контакт 28 показан в частично вставленном положении, что иллюстрирует, что направление лепестков 32 осуществляется в каждом случае с помощью подходящих пазов 52, предусмотренных в диэлектрике 14. Это относится также к лепесткам 32 в верхней части контакта 40 заземления, для которых предусмотрен паз 52 в форме выполненной в виде полоски канавки или направляющей в диэлектрике 14.
На фиг.2 показана, наконец, конфигурация диэлектрика 14 в зоне, в которой в окончательно собранном состоянии расположены провода 22 проводного компонента и тем самым контактные ножки 34. К круглому углублению 56 наверху и внизу примыкает соответствующая часть, определяющая положение контактных ножек, так что в окончательно собранном состоянии обеспечивается надежный ввод проводов 22 между ножками 34.
На фиг.3 показано другое собранное состояние, которое иллюстрирует, что концы ножек 34 проходят через снабженные канавками прорези, открытые вперед, между которыми за счет соответствующей конфигурации диэлектрика 14 вводится каждый провод 22 проводного компонента 16.
На фиг.4 показано, как два соединительных контакта 48 и 50 устанавливают на диэлектрик 14 после установки проводного компонента 16 и расположения одного из беспроводных компонентов 18 и 20 (смотри фиг.1), из которых на фиг.4 показан только левый из двух защитных диодов 18. В показанном примере выполнения каждый лепесток 32 направляется соответствующим пазом в камерах 44, 46, в которых расположены беспроводные защитные компоненты 18, 20. В целом, две выполненные в виде полосок части 58 соединительных контактов 48 и 50 образуют первую плоскость. Вторую плоскость образуют выполненные в виде полосок части 30 (смотри фиг.1) двух контактов 26, 28, только верхние концы которых показаны на фиг.4. Как следует из разнесенной проекции на фиг.1, выполненные в виде полосок части расположены по кромкам защитного соединителя 10, так что все защитные компоненты 16, 18, 20 расположены незагроможденным образом между соединительными контактами 26, 28, 48 и 50 с целью простой установки и надежного электрического контактирования. Дополнительно к этому следует отметить, что, как показано в собранном состоянии на фиг.4, защитный соединитель 10 комплектуется также соединительным контактом 50, который полностью устанавливается в показанное положение соединительного контакта 48, после чего сверху надевается кожух 12 для завершения компактной конфигурации защитного соединителя 10, причем контрольные точки остаются доступными через входы 38 в кожухе 12. Дополнительно к этому кожух 12 обеспечивает надежное закрывание защитного соединителя согласно изобретению. Другими словами, защитные компоненты остаются закрытыми и не могут быть извлечены без определенных трудностей, что соответствует идее их постоянного размещения в компактно выполненном защитном соединителе.
Формула изобретения
1. Защитный соединитель (10) для элемента телекоммуникационного оборудования, включающий в себя кожух (12), несколько соединительных контактов (26, 28, 48, 50), которые соединяются с контактами элемента телекоммуникационного оборудования и выполнены по меньшей мере частично (30, 58) в виде полосок из листового металла, причем соединительные контакты (26, 28, 48, 50) расположены по меньшей мере частично параллельно друг другу, в результате чего образуются две параллельные плоскости, по меньшей мере один контакт (40) заземления, соединенный с землей в установленном положении, по меньшей мере один беспроводный защитный компонент (18, 20) и по меньшей мере один защитный проводной компонент (16), причем все защитные компоненты (16, 18, 20) расположены между плоскостями, образованными соединительными контактами (26, 28, 48, 50), и находятся в непосредственном контакте с соединительными контактами (26, 28, 48, 50) и, при необходимости, с контактом (40) заземления.
2. Защитный соединитель по п.1, отличающийся тем, что соединительные контакты (26, 28, 48, 50) и/или контакт (40) заземления содержат лепестки (32), с помощью которых контактируют указанные защитные компоненты (18, 20).
3. Защитный соединитель по п.2, отличающийся тем, что лепестки (32) установлены наклонно к поверхности защитного компонента (18, 20) так, что достигается линейный контакт с поверхностью компонента (18, 20).
4. Защитный соединитель по любому из пп.1-3, отличающийся тем, что предусмотрен диэлектрик (14), содержащий камеры (44, 46), в которых размещены защитные компоненты (18, 20).
5. Защитный соединитель по п.4, отличающийся тем, что стенки камер (44, 46) содержат пазы (52), в которых размещены лепестки (32).
6. Защитный соединитель по любому из пп.1-5, отличающийся тем, что по меньшей мере один из соединительных контактов (26, 28) и/или контакт (40) заземления содержит по меньшей мере одну зажимную прорезь, в которой зажат провод (22) защитного проводного компонента (16) с такой ориентацией, что он проходит в направлении зажимной прорези.
7. Защитный соединитель по любому из пп.4-6, отличающийся тем, что диэлектрик (14) содержит направляющие (24) для проводов.
8. Защитный соединитель по любому из пп.1-7, отличающийся тем, что кожух (12) содержит входы (38), обеспечивающие возможность доступа снаружи к контрольным точкам соединительных контактов (26, 28, 48, 50).
9. Защитный соединитель по любому из пп.1-8, отличающийся тем, что он содержит защиту от избыточного тока и/или защиту от перенапряжений в виде проводного защитного компонента (16), в качестве которого использован газовый разрядник, или защиту от перенапряжений с тонкой настройкой.
10. Защитный соединитель по п.9, отличающийся тем, что защита от избыточного тока предусмотрена в виде беспроводного защитного компонента (20), в качестве которого использован термистор.
11. Защитный соединитель по п.9 или 10, отличающийся тем, что защита от перенапряжений с тонкой настройкой предусмотрена в виде беспроводного защитного компонента (18), в качестве которого использован защитный диод с тонкой настройкой или твердотельный предохранитель от перенапряжений.
12. Защитный соединитель по любому из пп.1-11, отличающийся тем, что по меньшей мере один соединительный контакт (26, 28) образован согнутой вдвое скобой (36), которой контакт опирается на кожух (12).
РИСУНКИ
|
|