|
|
(21), (22) Заявка: 2004126988/09, 09.09.2004
(24) Дата начала отсчета срока действия патента:
09.09.2004
(43) Дата публикации заявки: 20.02.2006
(46) Опубликовано: 10.07.2006
(56) Список документов, цитированных в отчете о поиске:
RU 2183889 C2, 20.06.2002. АЙЗЕНБЕРГ Г.З. и др., Антенны УКВ, Москва, Связь, 1977, ч.2, с.181, рис.6.8. RU 2024129 С1, 30.11.1994. US 4409595 А, 11.10.1983. JP 5055822 A, 05.03.1993.
Адрес для переписки:
111123, Москва, ул. Плеханова, 6, ФГУП “ГМЗ “Салют”, Директору В.А. Панину
|
(72) Автор(ы):
Немоляев Алексей Иванович (RU), Бородин Николай Данилович (RU)
(73) Патентообладатель(и):
Федеральное государственное унитарное предприятие “Государственный московский завод “Салют” (RU)
|
(54) ЛИНЕЙНАЯ АНТЕННА СВЕРХВЫСОКОЙ ЧАСТОТЫ
(57) Реферат:
Изобретение относится к радиотехнике сверхвысоких частот и может быть использовано в радиолокации, например в радиолокационных станциях кругового обзора. Линейная антенна сверхвысокой частоты состоит из многоканального делителя мощности, последовательной системы излучателей и элемента связи излучателей с выходами многоканального делителя мощности. Многоканальный делитель мощности выполнен на несимметричной полосковой линии и размещен на широкой стенке внутри прямоугольной трубы. Периодическая система излучателей выполнена в виде окон на узкой стенке прямоугольной трубы. Элементы связи выполнены в виде емкостных или индуктивных вибраторов, отстоящих от другой узкой стенки прямоугольной трубы на расстоянии в одну четверть средней длины волны. Техническим результатом является уменьшение габаритов, упрощение конструкции и улучшение электрических параметров. 2 з.п. ф-лы, 6 ил.
Изобретение относится к радиотехнике сверхвысокой частоты и может быть использовано в радиолокации при разработке как линейных антенн, так и плоских антенных решеток, например в радиолокационных станциях кругового обзора.
Широко применяемые в радиолокации волноводные щелевые антенны (Г.З.Айзенбрг и др. «Антенны УКВ, часть 2, стр.177-205, изд. «Связь», М., 1997 г.; патенты России: SU 1746444, RU 2206157) представляют собой прямоугольный волновод с периодически распределенными щелями в узкой или широкой стенках волновода. Волноводно-щелевые антенны с наклоненными щелями на узкой стенке, обладая сравнительной простотой конструкции, имеют целый ряд недостатков: узкополосность (10%); наличие резонансов, обусловленных дисперсионными свойствами волновода и последовательным подключением щелевых излучателей; невысокий коэффициент полезного действия (80-90%) и значительный уровень боковых лепестков в диаграмме направленности антенны (особенно при малом числе щелей), обусловленные предельными значениями коэффициентов связи на уровне не более минус 10 дБ и противоположным углом наклона соседних щелей; нежелательное подсканирование главного луча вдоль волновода при работе в полосе частот. Кроме того, применение волноводно-щелевых антенн в дециметровом диапазоне длин волн ограничивается возрастанием массогабаритных характеристик, поскольку поперечные размеры волновода пропорциональны длине волны.
Применение двойных щелей (патент США 3740751) хотя и позволяет улучшить некоторые характеристики антенны (увеличение широкополосности, повышение коэффициента полезного действия), но не устраняет принципиальные недостатки, обусловленные периодичностью и переменным наклоном излучающих щелей.
Известные решения возбуждения прямых щелей с применением реактивных элементов, например индуктивных вибраторов для прямых щелей в узкой стенке волновода («Антенны УКВ», стр.181), в принципе, позволяют устранить недостатки, связанные с наклоном щелей, но ценой значительного усложнения конструкции, что не всегда приемлемо.
Более существенными достоинствами обладает конструкция печатно-полосковой антенны (патент России 1835974; В.В. Демидов и др. «Печатно-полосковые вибраторные фазированные антенные решетки L- и S-диапазонов». Антенны, выпуск 9(55), 2001 г., стр.3-8), в которой используется печатно-полосковый делитель мощности с синфазными выходами, нагруженными на печатно-полосковые вибраторы.
Недостатками такой линейной антенны можно считать сложность технологического оснащения, повышенный уровень вносимых потерь и сравнительно низкий уровень пропускаемой мощности.
Задачей, на решение которой направлено предлагаемое изобретение, является расширение арсенала технических средств указанного назначения с одновременным улучшением эксплуатационных характеристик. Техническими результатами при реализации предлагаемого изобретения являются, в частности, уменьшение габаритов, упрощение конструкции и улучшение электрических параметров линейной антенны.
Сущность предлагаемого изобретения заключается в выполнении делителя мощности на несимметричной полосковой линии (Справочник по расчету и конструированию СВЧ полосковых устройств под ред. В.И.Вольмана, М., «Радио и связь», 1982 г.) и размещении его на широкой стенке прямоугольной трубы с периодической системой излучателей, выполненной в виде окон на узкой стенке прямоугольной трубы, а элементы связи выполнены в виде емкостных или индуктивных вибраторов, отстоящих от другой узкой стенки прямоугольной трубы на расстоянии в одну четверть средней длины волны.
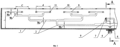
На фиг.1 и 2 приведена конструкция одного из возможных вариантов линейной антенны с многоканальным делителем мощности параллельного типа, тройниковыми разветвителями и вибраторами емкостного типа, легко реализуемая в длинноволновой части дециметрового диапазона длин волн.
На фиг.3 и 4 приведен вариант линейной антенны, более подходящей для коротковолновой части дециметрового и сантиметрового диапазонов длин волн, со свернутым многоканальным делителем мощности и вибратором индуктивного типа.
На фиг.5 и 6 приведен вариант линейной антенны с многоканальными делителями мощности, выполненными по последовательной схеме с использованием направленных ответвителей или тройниковых разветвителей, которые реализуемы в широком диапазоне длин волн, в том числе и метровом.
Конструктивно, предлагаемое изобретение (см. фиг.1 и 2) представляет собой прямоугольную трубу 1 (не обязательно волноводную), внутри которой на одной из широких стенок размещен многоканальный делитель мощности 2, выполненный на несимметричной полосковой линии с диэлектрической подложкой 3, изготовленной, например, из пенопласта. Проводники многоканального делителя мощности выполнены из тонкого (1-2 мм) листа, например твердого алюминиевого сплава, что обеспечивает меньший уровень вносимых потерь и больший уровень пропускаемой мощности по сравнению с печатными проводниками. Экономическая целесообразность очевидна, поскольку современные компьютерные технологии позволяют изготавливать сложные конфигурации изделий с малыми затратами, тем более, что возможно изготовление целой пачки идентичных изделий.
Входной коаксиальный разъем 4 расположен со стороны узкой стенки прямоугольной трубы и закреплен на ней с помощью бобышки 5.
Для получения разностного канала линейной антенны на входе многоканального делителя мощности использовано мостовое устройство 6 типа «гибридное кольцо», разностное плечо 7 которого выведено через широкую стенку прямоугольной трубы.
Широко применяемое на практике неравномерное распределение мощности по длине линейной антенны в данной конструкции многоканального делителя мощности реализуется перепадом волновых сопротивлений выходных плеч тройниковых разветвлений 8, определяемых шириной проводников W1 и W2. Для уменьшения поперечных размеров линейной антенны, что имеет немаловажное значение в дециметровом диапазоне длин волн, волновое сопротивление основной линии многоканального делителя мощности, определяемое шириной W0, может быть выбрано равным 100 Ом. Для согласования многоканального делителя мощности со стандартным 50-омным входом 4 использован ступенчатый переход 9. Периодическая система излучателей выполнена в виде окон 10, прорезанных в узкой стенке прямоугольной трубы. Электрическая связь излучающих окон 10 с выходами многоканального делителя мощности 2 осуществляется системой емкостных вибраторов 11, отстающих от узкой стенки прямоугольной трубы на расстоянии L, примерно равном 0,25 0 ( 0 – средняя длина волны). Расстояние d между излучающими окнами и между соседними выходами многоканального делителя мощности, а также ширина окон С выбираются из условия 0,5 00.
Экспериментально установлено, что выбор ширины излучающего окна С оказывает существенное влияние на согласование линейной антенны. Оптимальный размер С находится в пределе от 0,5 0 до 0,75 0. Выбор высоты излучающего окна S менее критичен. Он может быть равным высоте прямоугольной трубы b или быть меньше ее. Ширина прямоугольной трубы а выбирается из условия от 0,25 0 до 0,5 0.
Поскольку поперечные размеры многоканального делителя мощности не зависят от рабочей длины волны и определяются в основном размерами h и t несимметричной полосковой линии (см. фиг.2), выигрыш в габаритах с увеличением рабочей длины волны возрастает.
На фиг.3 и 4 представлен вариант линейной антенны для более коротких волн. Необходимое условие расположения вибраторов на расстоянии L от узкой стенки трубы, примерно равном 0,25 0, обеспечивается за счет 180-градусного разворота выходных плеч многоканального делителя мощности.
Как показано на фиг.4 (это подтверждено экспериментально), вибратор 12 излучаемых электромагнитных волн может быть индуктивным, то есть замкнут на широкую стенку прямоугольной трубы.
Для работы линейной антенны в условиях внешней среды внутренняя полость прямоугольной трубы может быть заполнена герметизирующим радиопрозрачным диэлектриком, например пенопластом, как показано на Фиг.2 или излучающие окна 10 заклеены радиопрозрачным диэлектриком 13, например фторопластом, как показано на фиг.4.
На фиг.5 представлена конструкция линейной антенны с использованием многоканального делителя мощности параллельно-последовательного типа с центрально расположенным входным коаксиальным разъемом 4. Каждая из двух зеркально расположенных ветвей многоканального делителя мощности 2 представляет собой делитель мощности, выполненный на направленных ответвителях 14 с четвертьволновыми связями, коэффициент связи которых определяется зазором между проводниками первичной и вторичной линий. Для обеспечения синфазности выходов многоканального делителя мощности направленные ответвители разнесены на расстоянии К= 0. Расстояние между соседними выходами многоканального делителя мощности d, определяемое тройниковым разветвителем 8, равно 0,5 0. Излучение через окна 10, как и в предыдущих вариантах линейной антенны, обеспечивается емкостными или индуктивными вибраторами, отстоящими от узкой стенки прямоугольной трубы на расстоянии L, примерно равном 0,25 0.
На фиг.6 приведен вариант линейной антенны с последовательным многоканальным делителем мощности, в котором использованы только тройниковые разветвители 8 и 15. Его основные размеры L, d, и К имеют такие же значения, как и в предыдущем варианте линейной антенны (см. фиг.5).
При экспериментальной проверке работоспособности предлагаемого изобретения в 30-сантиметровом диапазоне длин волн был использован волновод сечением 110×55 мм. Четырехканальный делитель мощности был выполнен на полосковой линии высотой h=5 мм с толщиной проводника t=1 мм (см. фиг.1, 2). При волновом сопротивлении коаксиального входа, равном 50 Ом, коэффициент стоячей волны по напряжению линейной антенны не превышал значения 1,5 в полосе частот от 1,0 до 1,20 ГГц.
Формула изобретения
1. Линейная антенна сверхвысокой частоты, содержащая многоканальный делитель мощности, систему излучателей и элементы связи излучателей с выходами многоканального делителя мощности, который выполнен на полосковой линии с диэлектрической подложкой, размещаемой внутри прямоугольной трубы, отличающаяся тем, что многоканальный делитель мощности выполнен на несимметричной полосковой линии с диэлектрической подложкой, которая размещена на одной из широких стенок внутри прямоугольной трубы, ширина которой выбрана 0,3 0, где 0 – средняя длина волны, система излучателей выполнена в виде излучающих окон в одной из узких стенок прямоугольной трубы, ширина каждого излучающего окна 0,5 0, а элементы связи выполнены в виде емкостных или индуктивных вибраторов, отстоящих от другой узкой стенки прямоугольной трубы на расстоянии 0,25 0, причем расстояние d между излучающими окнами и между соседними выходами многоканального делителя мощности выбирается из условия 0,5 00.
2. Линейная антенна по п.1, отличающаяся тем, что внутренняя полость прямоугольной трубы заполнена герметизирующим диэлектриком, например пенопластом.
3. Линейная антенна по п.1, отличающаяся тем, что излучающие окна заполнены радиопрозрачным диэлектриком, например фторопластом.
РИСУНКИ
Прежний патентообладатель:
Федеральное государственное унитарное предприятие “Государственный московский завод “Салют”
(73) Патентообладатель:
Открытое акционерное общество “Научно-производственное предприятие “Салют”
Договор № РП0000883 зарегистрирован 13.07.2010
Извещение опубликовано: 20.08.2010 БИ: 23/2010
|
|