|
(21), (22) Заявка: 2005117536/28, 08.06.2005
(24) Дата начала отсчета срока действия патента:
08.06.2005
(46) Опубликовано: 10.07.2006
(56) Список документов, цитированных в отчете о поиске:
RU 2161244 С1, 27.12.2000. RU 2129659 C1, 27.04.1999. RU 2022304 С1, 30.10.1994. US 5109922 А, 05.05.1992. US 4469175 А, 04.09.1984.
Адрес для переписки:
121248, Москва, а/я 18, пат.пов. В.А.Хорошкееву
|
(72) Автор(ы):
Фролов Дмитрий Павлович (RU)
(73) Патентообладатель(и):
Фролов Дмитрий Павлович (RU)
|
(54) СПОСОБ АКУСТИЧЕСКОГО ВОЗДЕЙСТВИЯ НА НЕФТЕНОСНЫЙ ПЛАСТ В ПРИЗАБОЙНОЙ ЗОНЕ
(57) Реферат:
Изобретение относится к нефтедобывающей промышленности и может быть использовано при разработке нефтяных месторождений и очистке водозаборных и рудных скважин. Согласно заявленному способу для воздействия на нефтяной пласт в зону перфорации обсадной колонны помещают акустический излучатель, содержащий два излучающих элемента в форме диска с плоскими излучающими поверхностями и, по меньшей мере, один отражающий экран, расположенный между ними на внешней поверхности корпуса. Акустическое поле локализуют в двух резонирующих объемах, ограниченных излучающими элементами, экраном, стенками обсадной колонны и внешней поверхностью корпуса излучателя. Причем в каждом резонирующем объеме излучающую поверхность излучающего элемента и отражающую поверхность экрана располагают перпендикулярно оси обсадной колонны и на расстоянии между этими поверхностями, равном половине длины волны на рабочей частоте в скважинной жидкости. При этом достигают совпадения резонансной частоты объемов с резонансной частотой излучателя. Техническим результатом заявленного изобретения является обеспечение значительной интенсивности акустического поля в призабойной зоне внутри обсадной колонны и околоскважинном пространстве независимо от внутреннего диаметра обсадной колонны. 1 з.п. ф-лы, 1 ил.
Изобретение относится к нефтедобывающей промышленности и может быть использовано при разработке нефтяных месторождений и очистке водозаборных и рудных скважин.
Существуют различные способы создания механического воздействия на зону перфорации обсадной колонны и нефтяной пласт, расположенный за ней.
Известен способ акустического воздействия на зону перфорации и нефтяной пласт в призабойной зоне с использованием акустического излучателя с излучающими пластинчатыми элементами (патент RU 2022304, 1994 г.).
Недостатком известного способа является малая мощность акустического излучателя и, следовательно, невысокая эффективность процесса.
Известен способ виброакустического воздействия на нефтяной пласт, включающий использование акустического излучателя с резонансной камерой (патент RU 2129659, 1999 г.).
Для реализации известного способа используется конструкция, в которой резонансная камера находится внутри акустического излучателя. При этом акустическое излучение производится через щели, что уменьшает отдаваемую акустическую мощность и область акустической обработки околоскважинного пространства.
Наиболее близким по технической сущности и достигаемому результату к заявленному является способ по патенту RU 2161244, 2000 г.
Известное техническое решение заключается в использовании магнитострикционного стержневого излучателя и отражателя, закрепленных в опорном корпусе, или двух стержневых излучателей и одного экрана, закрепленных в опорном корпусе. Резонансные объемы скважинной жидкости находятся также внутри корпуса прибора.
В настоящее время используются обсадные колонны с внутренним диаметром от 93,9 мм до 475 мм.
Наиболее широко используемые обсадные трубы имеют внутренний диаметр, лежащий в пределах 94 мм-154 мм при толщине стенки от 5 до 12 мм.
При практической реализации способа акустического воздействия на нефтяной пласт, осуществляемого с помощью известного устройства, последнее может использоваться в обсадных трубах с другим внутренним диаметром. При этом для локализации энергии в объеме жидкости необходимо изменение геометрических размеров всех элементов устройств – опорного корпуса, экрана, излучателей, а значит, и устройств внутренних креплений узлов к корпусу, т.е. практически изготовление нового устройства.
Техническим результатом заявленного изобретения является обеспечение значительной интенсивности акустического поля в призабойной зоне внутри обсадной колонны и околоскважинном пространстве независимо от внутреннего диаметра обсадной колонны.
Технический результат достигается за счет того, что для воздействия на нефтяной пласт в зону перфорации обсадной колонны помещают акустический излучатель, содержащий два излучающих элемента в форме диска с плоскими излучающими поверхностями и, по меньшей мере, один отражающий экран, расположенный между ними на внешней поверхности корпуса. Акустическое поле локализуют в двух резонирующих объемах, ограниченных излучающими элементами, экраном, стенками обсадной колонны и внешней поверхностью корпуса излучателя. Причем в каждом резонирующем объеме излучающую поверхность излучающего элемента и отражающую поверхность экрана располагают перпендикулярно оси обсадной колонны и на расстоянии между этими поверхностями, равном половине длины волны на рабочей частоте в скважинной жидкости. При этом достигают совпадения резонансной частоты объемов с резонансной частотой излучателя.
В предпочтительном варианте осуществления способа локализацию создаваемого акустического поля в двух резонирующих объемах осуществляют за счет использования двух отражающих экранов, устанавливаемых параллельно один другому между излучающими элементами, с возможностью регулирования расстояния между каждым излучающим элементом и ближайшим к нему экраном.
Для осуществления предлагаемого способа используется устройство с составными излучателями, у которых излучающие элементы вынесены за пределы корпуса.
Резонансные излучающие объемы жидкости формируются в области внешней по отношению к корпусу излучателя. Диаметр корпуса излучателя может быть выполнен существенно меньшим внутреннего диаметра обсадной колонны, а также диаметров излучающих элементов и отражающих экранов. При работе устройства внутри обсадных колонн различного диаметра достаточно изменить диаметры дискообразных излучающих элементов и отражающих экранов, т.е. иметь набор двух сменных элементов или элементов, имеющих возможность наращивания по диаметру.
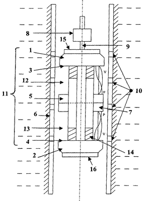
Сущность способа поясняется на примере работы устройства, схематично изображенного на чертеже.
Устройство представляет собой акустический излучатель, включающий излучающие элементы 1 и 2 в форме диска с плоскими излучающими поверхностями 3 и 4 соответственно. Акустический излучатель снабжен отражающим экраном 5, установленным перпендикулярно продольной оси обсадной колонны 6. Отражающие поверхности экрана 5 параллельны обращенным к ним плоским поверхностям 3 и 4 излучающих элементов 1 и 2. Экран 5 и излучающие элементы 1 и 2 установлены с минимально возможным зазором к стенкам обсадной колонны для создания резонирующего объема внутри колонны. Под минимально возможным зазором понимается зазор, обеспечивающий беспрепятственное опускание устройства в обсадную колонну и одновременно обеспечивающий локализацию акустического поля внутри резонирующего объема, ограниченного излучающими элементами, стенками обсадной колонны, внешней поверхностью излучателя и отражающим экраном. Т.е. диски излучателя практически полностью перекрывают проходное сечение обсадной колонны.
Устройство может быть дополнено вторым отражающим экраном 7.
Оба отражающих экрана устанавливают между излучающими элементами. Расстояние между излучающей поверхностью 3 (и 4) излучающего элемента и обращенной к ней поверхностью экрана 3 (и 5) определяется для каждого типа скважинной жидкости и составляет половину длины волны в скважинной жидкости на рабочей частоте излучателя. Излучающие элементы 1 и 2 связаны с акустическим генератором 8 с помощью электропитающего кабеля 9. Устройство используется для работы внутри обсадной колонны 6 в зоне перфорации 10 призабойной зоны 11.
Эффективность способа увеличивается, если в создании акустического излучения в резонирующих полостях 12 и 13 участвует в качестве активного элемента корпус излучателя 14. Это достигается за счет использования симметричных излучателей «составного типа», причем воздействие корпуса синфазно с воздействием излучающих активных накладок.
Для увеличения добротности излучающих элементов 1 и 2 их внешние поверхности экранируют акустически «мягкими» экранами 15 и 16 соответственно, с целью устранения излучения во внешнее пространство.
Пример осуществления способа
Способ акустического воздействия на нефтеносный пласт в призабойной зоне осуществлялся на Правдинском месторождении, куст №21, скважина №1121.
Дебит скважины составлял Qж=50 м3/сутки, при этом 50% от этого объема приходилось на воду. Удельный вес нефти составлял 0,85 г/см3, а удельный вес воды (минерализованной) – 1,09 г/см3. Глубина скважины 2450 м, высота пласта 5 м.
При замене насосного оборудования скважину остановили и заглушили жидкостью (минерализованной водой с удельным весом 1,09 г/см3). В связи с тем что скважинная жидкость представляет собой смесь чистых жидкостей (нефти и воды), скорость звука в которых различается незначительно (примерно на 1-2%), расстояние между излучающим элементом и отражающими экранами установили перед спуском излучателя, принимая исходную длину волны равной длине звуковой волны в воде на рабочей частоте излучателя.
При регулировке расположения экранов также учли фактическую рабочую частоту излучателя, которая не всегда совпадает проектной (номинальной) частотой, поскольку изготовление излучателя с точно определенной частотой представляет известную сложность.
Излучатель опустили на подошву пласта. Акустическое воздействие осуществляли с интервалами по высоте через каждые 0,5 м по 2 часа на каждом интервале.
После озвучивания (обработки) излучатель подняли, а в скважину опустили глубинный насос УЭНЦ-50, который ввели в эксплуатацию.
После вывода скважины на постоянный режим эксплуатации были произведены следующие замеры.
Qж=72 м3/сутки, Qнефти=38 м3 /сутки. Процент воды составил 53%.
Через каждые 7 дней замеры повторяли в течении двух месяцев. Результаты в среднем составили: Qж=70 м3/сутки, Qнефти=35 м3/сутки.
Наиболее эффективно применение низкочастотных (800 Гц-10 кГц) акустических излучателей, поскольку при одинаковой акустической мощности амплитуда колебательного смещения обратно пропорциональна используемой частоте, и увеличивается зона акустического воздействия на нефтеносный пласт. Кроме того, при понижении рабочей частоты усиливается акустическое воздействие на нефтеносный пласт за обсадной колонной, т.к. улучшаются условия для прохождения акустического поля через стенки колонны, и уменьшается его затухание в нефтеносном слое.
Формула изобретения
1. Способ акустического воздействия на нефтяной пласт, заключающийся в том, что в зону перфорации обсадной колонны помещают акустический излучатель, содержащий два излучающих элемента в форме диска с плоскими излучающими поверхностями, перекрывающими внутреннее сечение обсадной колонны, по меньшей мере, один отражающий экран, расположенный между ними на внешней поверхности корпуса излучателя, а создаваемое акустическое поле локализуют в двух резонирующих объемах, ограниченных излучающими элементами, стенками обсадной колонны, внешней поверхностью корпуса излучателя и отражающими поверхностями экрана, причем в каждом резонирующем объеме излучающую поверхность излучающего элемента и отражающую поверхность экрана располагают перпендикулярно оси обсадной колонны на расстоянии между этими поверхностями, равном половине длины волны в скважинной жидкости на резонансной частоте акустического излучателя, при этом внешние поверхности излучающих элементов защищают акустически мягкими экранами.
2. Способ по п.1, отличающийся тем, что локализацию создаваемого акустического поля в двух резонирующих объемах осуществляют за счет использования двух отражающих экранов, симметрично установленных между излучающими элементами с возможностью регулирования расстояния между каждым излучающим элементом и ближайшим к нему экраном.
РИСУНКИ
|