|
(21), (22) Заявка: 2004129971/28, 18.10.2004
(24) Дата начала отсчета срока действия патента:
18.10.2004
(43) Дата публикации заявки: 20.03.2006
(46) Опубликовано: 10.07.2006
(56) Список документов, цитированных в отчете о поиске:
RU 2102738 С1, 20.01.1998. RU 2176081 C1, 26.12.2001. EP 0825435 A1, 25.02.1998.
Адрес для переписки:
117418, Москва, ул. Гарибальди, 36, секция 3, ОАО “Автогаз”, А.Н. Коваленко
|
(72) Автор(ы):
Коваленко Александр Николаевич (RU), Седых Александр Александрович (RU), Седых Александр Дмитриевич (RU)
(73) Патентообладатель(и):
ОАО “Автогаз” (RU)
|
(54) УСТРОЙСТВО ДЛЯ СОХРАНЕНИЯ ПОСТОЯНСТВА РАСХОДА ГАЗА ПРИ ДЕФЕКТОСКОПИИ ГАЗОПРОВОДА
(57) Реферат:
Изобретение относится к области неразрушающего контроля труб. Технический результат: обеспечение постоянства расхода газа. Сущность: содержит систему торможения дефектоскопа с тормозными колодками, имеющими подвеску, позволяющую им перемещаться в радиальном направлении, постоянными магнитами и электромагнитами, соединенными с тормозными колодками, отверстие для перепуска газа, датчик скорости. От датчика скорости сигнал подается на блок управления. С блока управления осуществляется управление током в обмотках электромагнитов для регулирования усилия прижатия тормозных колодок к поверхности газопровода. 1 ил.
Изобретение относится к области неразрушающего контроля и применяется для тщательного анализа и контроля состояния внутренней и внешней поверхностей труб в заглубленных магистральных газопроводах.
Известно техническое решение “Дефектоскоп для внутритрубных исследований”, патент РФ №2102738, G 01 N 27/87, 20.01.1998 г., содержащий цилиндрическое основание с опорными узлами, блок энергоснабжения, блок регистрации информации.
Аналогом заявленного изобретения является также известное техническое решение по патенту РФ №2144182, 08.10.1998 г., “Магнитный проходной дефектоскоп”, содержащее, в частности, цилиндрическое основание с опорными узлами, блок скорости перемещения, источник магнитного поля.
Недостатками указанных известных технических решений является не сохранение параметров перекачки газа в газопроводе при движении дефектоскопа внутри газопровода.
Для газопроводов в зависимости от диаметра установлены оптимальные значения режимов перекачки газа. Например:
– для газопровода диаметром 1420 мм расход газа по газопроводу устанавливается 28-30 млрд. м3 в год при давлении 75 атм,
– для газопровода диаметром 1220 мм 14-16 млрд м3 в год при давлении 55 атм,
– для газопровода диаметром 1220 мм 10-12 млрд м3 в год при давлении 55 атм.
При перекачке газа по трубам по длине трубопровода происходит уменьшение давления за счет потерь на преодоление сопротивления на стенках трубопровода движению газа. Давление в конце газопровода уменьшается на 20-30% от номинального. Расход газа по сечению трубопровода определяется по формуле:

где g – плотность газа, V – скорость движения газа по трубопроводу, S – площадь сечения трубопровода.
При этом аналогично падению давления газа по длине газопровода исходя из формулы (1) следует, что в конце газопровода скорость газа должна быть увеличена на 20-30% от начальной скорости, при условии постоянства расхода газа по длине трубопровода.
Основным требованием проведения качественного контроля является требование поддержания скорости движения снаряда в определенном диапазоне скоростей, который значительно ниже скорости перекачки газа по трубопроводу. Например: для дефектоскопов продольного намагничивания (коррозионных) скорость движения дефектоскопа не должна превышать критической скорости (если скорость движения снаряда превышает критическую, то не происходит полного намагничивания стенки трубопровода за счет скин-эффекта и, как следствие, падает достоверность контроля). Эта скорость в зависимости от толщины стенки трубопровода колеблется в пределах 2-4 м/с.
Если скорость движения дефектоскопа установить равной критической скорости, то расход газа по трубопроводу уменьшается до 20-30% от номинального расхода. При этом следует учесть, что на установление скорости перекачки газа, равной скорости движения дефектоскопа 2-4 м/с, требуется определенное время – это примерно 6-8 часов. Для прохождения дефектоскопа участка длиной 100 км потребуется 20-24 часа, после прохождения дефектоскопа по трубопроводу на восстановление оптимального расхода газа по газопроводу потребуется еще 4-6 часов. Итого трубопровод выводится из режима оптимальной перекачки газа на 30-38 часов и потери на перекачку составляют:
– при оптимальной скорости перекачки расход равен Q=90 млн м3/сутки.
За время проведения дефектоскопии по газопроводу перекачали бы 120÷135 млн м3 газа.
Итого потери составят примерно 100÷110 млн м3 газа.
Для обеспечения сохранения постоянства расхода газа по газопроводу необходимо часть газа перепустить через дефектоскоп. По расчетам для перепуска газа при сохранении постоянства расхода диаметр перепускного отверстия (при скорости движения дефектоскопа = 4 м/с) должен меняться от 770 до 850 мм для диаметра 1420 мм. Если принять эти данные при проектировании снаряда, то в этом случае необходимо будет делать многосекционный снаряд, длина которого будет превыше 8-9 м и для запасовки этой конструкции в газопровод потребуется переоборудование камер запуска – приема дефектоскопов.
В действующих конструкциях дефектоскопов диаметр перепускного отверстия может быть не более 500-600 мм.
Задачей изобретения является создание устройства, позволяющего обеспечить постоянства расхода газа, перекачиваемого по газопроводу, при сохранении конструкции дефектоскопа.
Для решения этой задачи предлагается устройство для сохранения постоянства расхода газа при дефектоскопии газопровода, в который помещен дефектоскоп, содержащее систему торможения дефектоскопа с тормозными колодками, имеющими подвеску, позволяющую им перемещаться в радиальном направлении, постоянные магниты и электромагниты, соединенные с тормозными колодками, отверстие для перепуска газа, датчик скорости для подачи сигнала на блок управления, с которого осуществляется управление током в обмотках электромагнитов для регулирования усилия прижатия тормозных колодок к поверхности газопровода.
При этом следует учесть, что при изменении скорости потока от начальной (это примерно 10 м/с) до конечной ( 13÷15 м/с) диаметр перепускного отверстия меняется в пределах 10÷15% от начального. Поэтому для создания условия перепуска газового потока, не изменяя его расхода, создается такое сопротивление движению дефектоскопа за счет системы постоянных магнитов, что при заданной скорости дефектоскопа диаметр проходного сечения перепускного отверстия равен 500÷600 мм. Для поддержания постоянства скорости движения дефектоскопа по всему контролируемому участку трубопровода с помощью электромагнитов создается дополнительное сопротивление движению, позволяющее перепустить газ через перепускное отверстие с большей скоростью, что сохраняет постоянство расхода газа по газопроводу.
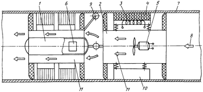
Изобретение поясняется чертежом, где приведена схема устройства;
1 – дефектоскоп;
2 – устройство регулирования скорости движения дефектоскопа;
3 – электромагнит;
4 – сменная тормозная колодка;
5 – генератор тока;
6 – блок управления;
7 – газопровод;
8 – направление движения газа;
9 – датчик скорости;
10 – постоянные магниты;
11 – отверстие для перепуска газа.
Устройство работает следующим образом.
Дефектоскоп 1 вместе с устройством регулирования скорости движения 2 помещают в камеру запуска. С помощью перепускных клапанов на манжетах создается перепад давления, который придает снаряду движения в потоке газа. Для того, чтобы дефектоскоп двигался с заданной скоростью подбирается необходимое количество постоянных магнитов с заданным усилием прижатия тормозных колодок 4 к поверхности газопровода. Усилие прижатия подбирается таким образом, чтобы обеспечить прохождение через отверстие 11 для перепуска газа все количество газа, перекачиваемого по газопроводу, не меняя его расхода. При этом тормозные колодки 4 имеют подвеску, позволяющую им свободно перемещаться в радиальном направлении и складываться уменьшая диаметр системы торможения до 0,85 от номинального диаметра трубопровода (подвеска может быть выполнена в виде пантографов). Тормозные колодки выполнены в виде щеток, залитых полиуретаном, чтобы увеличить коэффициент трения до максимально возможного (обычно это 0,8÷0,85). Колодки являются сменными и заменяются по мере их износа. Для того, чтобы движение дефектоскопа не зависело от рельефа местности и от распределения скорости перекачки газа по длине газопровода в устройство введены электромагниты 3, с помощью которых производится регулирование усилия прижатия, позволяющее регулировать скорость в пределах 20÷30% от оптимального значения скорости движения дефектоскопа. Регулирование происходит следующим образом: с датчика скорости 9 поступают данные о скорости движения дефектоскопа 1. Если скорость превышает оптимальную, то на электромагниты 3 с датчика скорости 9 через блок управления 6 поступает сигнал, увеличивающий силу тока в обмотках катушки намагничивания, тем самым увеличивается сила притяжения тормозных колодок 4 к газопроводу, в результате чего происходит увеличение силы сопротивления и, как следствие, уменьшение скорости движения дефектоскопа.
Аналогично, если происходит уменьшение скорости движения дефектоскопа 1 относительно оптимальной скорости, то на электромагнит 3 намагничивания, тем самым уменьшается сила притяжения тормозных колодок и, как следствие, увеличивается скорость движения дефектоскопа. Ток для питания обмоток катушек намагничивания 3 на них поступает ток от генератора тока 5, который состоит собственно из генератора и пропеллера, вращаемого потоком перепускаемого газа.
Тормозная система, как отмечалось выше, содержит систему электромагнитов и постоянных магнитов, сочетание количества которых подбирается в зависимости от решаемых задач управления движения дефектоскопа.
Формула изобретения
Устройство для сохранения постоянства расхода газа при дефектоскопии газопровода, в который помещен дефектоскоп, содержащее систему торможения дефектоскопа с тормозными колодками, имеющими подвеску, позволяющую им перемещаться в радиальном направлении, постоянными магнитами и электромагнитами, соединенными с тормозными колодками, отверстие для перепуска газа, датчик скорости для подачи сигнала на блок управления, с которого осуществляется управление током в обмотках электромагнитов для регулирования усилия прижатия тормозных колодок к поверхности газопровода.
РИСУНКИ
MM4A – Досрочное прекращение действия патента СССР или патента Российской Федерации на изобретение из-за неуплаты в установленный срок пошлины за поддержание патента в силе
Дата прекращения действия патента: 19.10.2006
Извещение опубликовано: 27.10.2007 БИ: 30/2007
NF4A – Восстановление действия патента СССР или патента Российской Федерации на изобретение
Дата, с которой действие патента восстановлено: 10.12.2007
Извещение опубликовано: 10.12.2007 БИ: 34/2007
|