|
|
(21), (22) Заявка: 2004137256/28, 20.12.2004
(24) Дата начала отсчета срока действия патента:
20.12.2004
(46) Опубликовано: 10.07.2006
(56) Список документов, цитированных в отчете о поиске:
Кричевский Е.С., Волченко А.Г., Галушкин С.С. Контроль влажности твердых и сыпучих материалов. М., Энергоатомиздат, 1987, стр.6-8. SU 392391 А1, 01.01.1973. SU 654890 A1, 30.03.1979. SU 126659 A1, 01.01.1960. US 5656767, 12.08.1997. WO 9207251, 30.04.1992.
Адрес для переписки:
656038, г.Барнаул, пр. Ленина, 46, АлтГТУ, ОИПС
|
(72) Автор(ы):
Федотов Владимир Константинович (RU), Ключников Виктор Васильевич (RU), Бевзов Владимир Анатольевич (RU)
(73) Патентообладатель(и):
Государственное образовательное учреждение высшего профессионального образования “Алтайский государственный технический университет им. И.И. Ползунова” (АлтГТУ) (RU)
|
(54) ВЫСОКОЧАСТОТНЫЙ ДИЭЛЬКОМЕТРИЧЕСКИЙ ИЗМЕРИТЕЛЬ НЕЭЛЕКТРИЧЕСКИХ ВЕЛИЧИН
(57) Реферат:
Изобретение относится к области электрических измерений неэлектрических величин и может быть использовано как для контроля и измерения влажности сыпучих материалов по их диэлектрической проницаемости, так и для контроля, например, уровня, наличия вещества непосредственно в технологическом процессе. Техническим результатом является повышение точности измерений путем устранения погрешности от электрической проводимости контролируемого вещества. Высокочастотный диэлькометрический измеритель неэлектрических величин содержит измерительный автогенератор, в колебательный контур которого включен измерительный конденсатор с электродами. Измерительный автогенератор снабжен дополнительным колебательным контуром и выполнен в виде двухтактного автогенератора. Оба колебательных контура подключены к симметричному входу измерительного автогенератора, а их общая точка заземлена по высокой частоте. При этом коэффициент связи между контурами Ксв 0. Кроме того, электроды измерительного конденсатора расположены симметрично на диаметрально противоположных сторонах цилиндрического корпуса, причем длина дуги каждого электрода равна четверти длины окружности цилиндрического корпуса. 1 з.п. ф-лы, 3 ил.
Предлагаемое изобретение относится к области электрических измерений неэлектрических величин и может быть использовано как для контроля и измерения влажности сыпучих материалов по их диэлектрической проницаемости, так и для контроля, например, уровня, наличия вещества непосредственно в технологическом процессе.
Основным недостатком описанного устройства является низкая точность измерений, так как при определении влажности зерна по амплитуде высокочастотного сигнала с колебательного контура появляется большая погрешность, зависящая от не только изменения диэлектрической проницаемости контролируемого вещества, но и от электрической проводимости этого вещества.
Наиболее близким к предлагаемому изобретению по технической сущности и достигаемому результату (прототипом) является влагометрическая система, содержащая высокочастотный измерительный автогенератор, в колебательный LC контур которого включен измерительный конденсатор с электродами. При внесении в измерительный конденсатор контролируемого вещества измеряется частота измерительного генератора (Кричевский Е.С., Волченко А.Г., Галушкин С.С. Контроль влажности твердых и сыпучих материалов. – М.: Эгнергоатомиздат, 1987, – с.6-8).
Основным недостатком влагометрической системы является низкая точность измерений, так как частота измерительного автогенератора изменяется не только в зависимости от изменений параметров контролируемого вещества (в частности, его диэлектрической проницаемости), но и от величины электрической связи этого вещества с общей точкой контролируемой цепи, которая, в свою очередь, зависит от электрической проводимости контролируемого вещества, наличия металлических и электропроводящих элементов технологического оборудования и другого оборудования в зоне контроля. А в технологическом процессе контролируемое вещество, как правило, имеет переменную связь с общей точкой цепи вследствие перемещения вещества, изменения его плотности, появления сопротивления утечки. Кроме того, при изменении температуры среды также появляется дополнительная погрешность вследствие изменения геометрических размеров измерительного конденсатора.
Изобретение решает задачу повышения точности измерений.
Технический результат достигается тем, что в высокочастотном диэлектрическом измерителе неэлектрических величин, содержащем измерительный автогенератор, в колебательный контур которого включен измерительный конденсатор с электродами, измерительный автогенератор снабжен дополнительным колебательным контуром и выполнен в виде двухтактного автогенератора, к симметричному входу которого подключены оба колебательных контура с общей точкой и измерительный конденсатор. Общая точка колебательных контуров заземлена по высокой частоте, а коэффициент связи между контурами Ксв 0.
Кроме того, электроды измерительного конденсатора расположены симметрично на диаметрально противоположных сторонах цилиндрического корпуса, причем длина дуги каждого электрода равна четверти длины окружности цилиндрического корпуса.
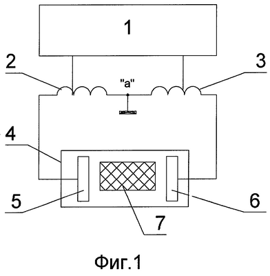
Предлагаемое изобретение поясняется чертежами, где на фиг.1 показана эквивалентная схема высокочастотного диэлькометрического измерителя неэлектрических величин, на фиг.2 – эквивалентная схема колебательного контура высокочастотного диэлькометрического измерителя неэлектрических величин, а на фиг.3 – вариант принципиальной схемы предлагаемого устройства. Высокочастотный диэлькометрический измеритель неэлектрических величин содержит измерительный автогенератор, выполненный в виде двухтактного автогенератора 1, к симметричному входу которого подключены два колебательных контура 2 и 3, содержащие индуктивности L1, L2 соответственно и общий измерительный конденсатор 4 с электродами 5 и 6. Общая точка индуктивностей L1 и L2 заземлена по высокой частоте. Между электродами измерительного конденсатора 4 расположено контролируемое вещество 7. Частота двухтактного автогенератора 1 определяется общей индуктивностью L1, L2 и емкостью С измерительного конденсатора 4. Емкость измерительного конденсатора, в свою очередь, зависит от диэлектрической проницаемости контролируемого вещества 7.
Электроды 5 и 6 измерительного конденсатора 4 расположены симметрично на диаметрально противоположных сторонах цилиндрического корпуса. Длина дуги каждого из электродов 5, 6 равна четверти длины окружности цилиндрического корпуса (фиг.1, 3).
На фиг.2 дополнительно показаны:
– Zк – сопротивление утечки контролируемого вещества до общей точки колебательных контуров;
– “а” – общая точка колебательных контуров;
– “b” – условная общая точка контролируемого вещества 7;
– С1 – емкость между электродом 5 измерительного конденсатора 4 и контролируемым веществом 7;
– С2 – емкость между электродом 6 измерительного конденсатора 4 и контролируемым веществом 7;
– L1 – индуктивность колебательного контура 2;
– L2 – индуктивность колебательного контура 3;
– I1 – ток в цепи первого колебательного контура;
– I2 – ток в цепи дополнительного колебательного контура.
На фиг.3 дополнительно показаны:
С3, С4, С5, R1, R2, R3, R4, R5, VT1, VT2 – элементы электрической схемы двухтактного автогенератора.
Сопротивление утечки Zк в процессе измерения является непостоянной величиной и зависит как от проводимости контролируемого вещества, например, потерь, наличия примесей, так и от расположения металлических и электропроводящих элементов технологического оборудования относительно объема контролируемого вещества. Резонансные частоты каждого из контуров определяются формулами:

где L1, L2 – соответственно индуктивность колебательных контуров 2 и 3;
C1, C2 – соответственно емкость между электродами 5, 6 и контролируемым веществом 7.
Частоты связи автогенератора определяются выражением

где 
здесь K1 – степень связи контура 2 с контуром 3, определяется отношением напряжений на элементе связи к напряжению на полной реактивности контура 2 при разомкнутом контуре 3; К2 – степень связи контура 3 с контуром 2, определяется аналогичным образом, т.е.

При 1= 2= 0 получим

Из выражений (5) следует, что частота измерительного автогенератора изменяется в зависимости от величины сопротивления контакта Zk, которое является элементом связи между контурами; при Ксв 1 частота автогенератора будет неустойчива, при Ксв 0 получим 1 1 и 2 2, то есть при 1= 2= 0 получим 1,2 0. Таким образом, условие Ксв=0 является наиболее желательным при работе высокочастотного диэлькометрического измерителя неэлектрических величин. Определим условие, при котором выполняется требование Ксв=0 измерительного автогенератора. Во-первых, как следует из фиг.2 и выражений (3, 4), указанное требование выполняется при Zk 0, а также если точки «а» и «б» эквипотенциальны. Во-вторых, существует еще одно условие, при котором Ксв=0. Для получения этого условия предполагаем, что добротности контуров одинаковы, и определяем напряжение на элементе связи контура, выполненного в виде уравновешенного моста (фиг.2). Из фиг.2 следует, что

а также

Подставляя (6) и (7) в (4), получим

Формула (3) с учетом выражений (8) имеет следующий вид:

Из полученной формулы (9) следует, что коэффициент связи Ксв равен нулю при C2L2=C1L1.
Таким образом, условие Ксв=0 предполагает, что контролируемое вещество 7 и общая точка колебательных контуров 2 и 3 находятся под нулевым потенциалом.
Работа высокочастотного диэлькометрического измерителя неэлектрических величин осуществляется следующим образом. Вначале измеряется частота измерительного автогенератора 1 с помощью частотомера (на чертеже не показан). Затем вводится в измерительный конденсатор 4 контролируемое вещество 7. В зависимости от диэлектрической проницаемости вещества изменяется емкость измерительного конденсатора 4, а следовательно, и частота измерительного автогенератора 1. По изменению частоты судят о контролируемом параметре, например, влажности, плотности. При этом электрическая проводимость контролируемого вещества и сопротивление утечки на общую точку измерительной цепи не влияют, так как само вещество находится под нулевым потенциалом относительно этой общей точки.
Кроме того, предлагаемая конструкция измерительного конденсатора 4 позволяет снизить погрешность от изменения температуры окружающей среды. Действительно, так как емкость CL двухэлектродного конденсатора на единицу длины в первом приближении без учета влияния краевого эффекта и при условии квазистационарности, однородности и изотропности контролируемой среды определяется выражением

где 0 – диэлектрическая постоянная;
с – относительная диэлектрическая проницаемость контролируемого вещества;
В – ширина электродов;
Н – расстояние между электродами,
то при указанном условии изменение температуры приведет к пропорциональному изменению ширины В электродов и расстоянию Н между ними. Следовательно, отношение В/Н останется неизменным и емкость конденсатора будет определяться в основном диэлектрической проницаемостью контролируемого вещества.
Таким образом, по сравнению с влагометрической системой, выбранной в качестве прототипа, в предлагаемом высокочастотном диэлькометрическом измерителе неэлектрических величин погрешность от электрической проводимости контролируемого вещества отсутствуют, что приводит к повышению точности измерений.
Формула изобретения
1. Высокочастотный диэлькометрический измеритель неэлектрических величин, содержащий измерительный автогенератор, в колебательный контур которого включен измерительный конденсатор с электродами, отличающийся тем, что измерительный автогенератор снабжен дополнительным контуром и выполнен в виде двухтактного автогенератора, к симметричному входу которого подключены оба колебательных контура с общей точкой и измерительный конденсатор, причем общая точка колебательных контуров заземлена по высокой частоте, а коэффициент связи между контурами Ксв 0.
2. Высокочастотный диэлькометрический измеритель неэлектрических величин по п.1, отличающийся тем, что электроды измерительного конденсатора расположены симметрично на диаметрально противоположных сторонах цилиндрического корпуса, причем длина дуги каждого электрода равна четверти длины окружности цилиндрического корпуса.
РИСУНКИ
|
|