|
(21), (22) Заявка: 2004132662/28, 09.11.2004
(24) Дата начала отсчета срока действия патента:
09.11.2004
(46) Опубликовано: 10.07.2006
(56) Список документов, цитированных в отчете о поиске:
SU 991239 A1, 23.01.1983. DE 10252211 A1, 27.05.2004. SU 378751 A1, 23.07.1973. SU 657316 A1, 15.04.1979.
Адрес для переписки:
153582, г.Иваново, ул. Лежневская, 183, ОАО “Точприбор” /СКБ/
|
(72) Автор(ы):
Горбунов Владимир Николаевич (RU), Мирошниченко Михаил Игоревич (RU), Поздняков Алексей Борисович (RU), Смушкович Бер Лейзерович (RU)
(73) Патентообладатель(и):
Открытое акционерное общество “Точприбор” (RU)
|
(54) МАШИНА ДЛЯ ИСПЫТАНИЯ ОБРАЗЦОВ НА РАСТЯЖЕНИЕ И СЖАТИЕ
(57) Реферат:
Изобретение относится к испытательной технике, а именно к машинам для испытания образцов на растяжение и сжатие. Цель изобретения – повышение точности и воспроизводимости результатов испытаний путем автоматического поддержания заданной скорости возрастания нагрузки (напряжения). Машина содержит (фиг.2) испытательную установку 20 с подвижной траверсой и механизмом ее перемещения, выполненным в виде пары винтовых передач, захваты для крепления образца 11. Машина дополнительно снабжена блоком программирования нагрузки (деформации) 15, который в зависимости от заданного оператором закона измерения нагрузки выдает в каждый момент времени сигнал, соответствующий заданной величине нагрузки Рзад, на блок сравнения 16, расположенный в замкнутом контуре автоматического регулирования. В замкнутый контур также входят регулятор скорости 17 перемещения подвижной траверсы, регулируемый электропривод 18 с двигателем 19, испытательная установка 20 с образцом 11, измеритель силы 12, измеритель перемещения траверсы 13 и блок определения жесткости системы “машина-образец” 14. Входы блока 14 связаны с измерителем силы 12 и измерителем перемещения траверсы 13, а выходы – с регулятором скорости 17. Замыкание контура автоматического регулирования осуществляется отрицательной обратной связью по силе таким образом, чтобы заданный закон изменения нагрузки (деформации) поддерживался с необходимой точностью путем изменения частоты вращения двигателя в пределах определенного участка диаграммы деформирования образца. 1 з.п. ф-лы, 2 ил.
Изобретение относится к испытательной технике, а именно к машинам для испытания образцов на растяжение и сжатие.
Известны испытательные машины, обеспечивающие постоянную скорость возрастания нагрузки (напряжения) в образцах (см. Голубков B.C., Пирогов К.М., Смушкович Б.Л. Испытательные машины в текстильном материаловедении. «Легпромбытиздат». М, 1988 с.205, с.8-9). Недостатками указанных машин являются ограниченность максимальной нагрузки и невозможность регистрации спадающих участков диаграммы растяжения, обусловленные наличием в системе нагружения инерционных масс.
Наиболее близкой по технической сущности к заявляемой машине является выбранная в качестве прототипа разрывная машина ИР 5143-200, содержащая испытательную установку (силовую раму) с подвижной траверсой и механизмом ее перемещения, выполненным в виде пары винтовых передач, регулируемый электропривод с электродвигателем, регулятор скорости, измеритель силы с датчиком силы, измеритель перемещения подвижной траверсы с датчиком перемещения (деформации). Машина ИР 5143-200 позволяет также испытывать образцы на сжатие и изгиб.
Недостатком известной машины является невозможность автоматического поддержания заданной скорости возрастания нагрузки (напряжения), что необходимо, например, для обеспечения точности при определении предела текучести (см. ГОСТ 1497-84. Металлы. Методы испытаний на растяжение). Задачей изобретения является повышение точности и воспроизводимости результатов испытаний путем автоматического поддержания заданной скорости возрастания нагрузки (напряжения) или, в общем случае, программирования нагрузки (деформации).
Указанная цель достигается тем, что машина для испытания образцов на растяжение и сжатие, содержащая испытательную установку (силовую раму) с подвижной траверсой и механизмом ее перемещения, выполненным в виде пары винтовых передач, регулируемый электропривод с электродвигателем, регулятор скорости, измеритель силы с датчиком силы, измеритель перемещения подвижной траверсы (деформации образца) с датчиком перемещения (деформации), дополнительно снабжена блоком программирования нагрузки (деформации), сигнал с которого по силе подается на блок сравнения, расположенный в замкнутом контуре автоматического регулирования. В замкнутый контур также входят регулятор скорости перемещения подвижной траверсы, регулируемый электропривод с двигателем, испытательная установка с образцом, измеритель силы, измеритель перемещения подвижной траверсы (деформации образца) и блок определения жесткости системы «машина-образец». Замыкание контура автоматического регулирования осуществляется отрицательной обратной связью по силе таким образом, чтобы заданный закон изменения нагрузки (деформации) поддерживался с необходимой точностью путем изменения частоты вращения двигателя в пределах определенного участка диаграммы деформирования образца.
Кроме того, применение в машине блока определения жесткости системы «машина-образец», входы которого связаны с измерителем силы и измерителем перемещения траверсы, а выходы – с регулятором скорости, позволит повысить быстродействие системы регулирования.
Сопоставительный анализ с прототипом показывает, что заявляемая машина отличается тем, что она дополнительно снабжена блоком программирования нагрузки (деформации), сигнал с которого по силе подается на блок сравнения, расположенный в замкнутом контуре автоматического регулирования, в который входят также регулятор скорости перемещения подвижной траверсы, регулируемый электропривод с двигателем, испытательная установка с образцом, измеритель силы, измеритель перемещения подвижной траверсы (деформации образца) и блок определения жесткости системы «машина-образец», а замыкание контура осуществляется отрицательной обратной связью по силе таким образом, чтобы заданный закон изменения нагрузки (деформации) поддерживался с необходимой точностью путем изменения частоты вращения двигателя в пределах определенного участка диаграммы деформирования образца. Кроме того, входы блока определения жесткости системы «машина-образец» связаны с измерителем силы и измерителем перемещения подвижной траверсы, а выходы – с регулятором скорости.
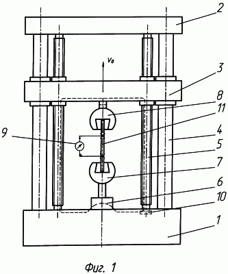
На фиг.1 изображена схема испытательной установки, а на фиг.2 – блок-схема машины.
Испытательная установка (фиг.1) состоит из основания 1, верхней неподвижной траверсы 2 и подвижной траверсы 3, направляющих (колонн) 4 и ходовых винтов 5. На основании установлен датчик силы 6, с которым связан неподвижный захват 7. Подвижный захват 8 связан с траверсой 3.
В захватах закрепляется испытываемый образец 11. На одном из синхронно вращающихся ходовых винтов установлен датчик перемещения 10. Если требуется измерять деформацию образца, то на него устанавливается датчик деформации (тензометр) 9.
Силовая рама установки, содержащая элементы, жесткость которых влияет на общую жесткость машины, показана пунктиром.
Датчик силы может устанавливаться также на траверсы 2 и 3. Кроме того, возможно испытание на сжатие и изгиб, тогда захваты 8 и 9 заменяются опорами-тарелями или специальными опорами (на чертеже не показаны), а движение траверсы 3 направлено в направлении, противоположном Vo.
Принципиальных отличий в работу машины испытания на сжатие или изгиб не вносят.
Блок-схема машины (фиг.2) включает следующие элементы:
– Измеритель силы (ИС) 12, который в качестве преобразователя содержит датчик силы ДС, непосредственно воспринимающий усилие в образце 11.
– Измеритель перемещения (ИП) 13, который в качестве преобразователя содержит датчик перемещения ДП подвижной траверсы.
– Блок определения жесткости сс системы «машина-образец» (БОЖс) 14, выполняющий функцию дифференцирования (р):

где Р – нагрузка
L – перемещение
– Блок программирования нагрузки (БПН) 15, который в зависимости от заданного оператором закона измерения нагрузки выдает в каждый момент времени сигнал, соответствующий заданной величине нагрузки Pзад.
– Блок сравнения (БС) 16, который определяет разность между заданной и измеренной величиной нагрузки и подает на вход регулятора скорости величину:

– Регулятор скорости (PC) 17, который выдает соответствующий сигнал Vзад на привод машины 18. Передаточная функция регулятора в простейшем случае:

где Тм – постоянная времени электропривода. Если требуется постоянная скорость возрастания нагрузки Vp, то скорость

– Электропривод (ЭП) 18 с электродвигателем (М) 19, который отрабатывает заданную скорость Vзад и осуществляет привод подвижной траверсы машины.
– Испытательная установка УИ (силовой контур) 20. Содержит основание, направляющие (колонны), ходовые винты (передаточная функция 1/р) и две траверсы – неподвижную и подвижную.
– Образец 10 – испытываемый образец, устанавливаемый в захваты машины.
Указанные блоки образуют замкнутый контур регулирования, на вход которого поступает сигнал с БПН. Этот контур на фиг.2 изображен сплошными линиями.
Пунктирными линиями отмечен второй контур, в состав которого входят следующие элементы.
– Измеритель деформации (ИД) 21, который в качестве преобразователя содержит тензометр Т, установленный на базе образца 11. На его вход поступает действительное значение деформации образца Lo.
– Блок определения жесткости со образца (БОЖо) 22, выполняющий функции дифференцирования:

где Lo – деформация образца.
Соответствующий сигнал поступает на вход блока БПН.
Конструктивно блоки 14, 15, 16, 17 и 22 могут быть выполнены в виде программно-аппаратного устройства, реализуемого, например, с помощью компьютера.
Машина работает следующим образом. В захваты 7 и 8 испытательной установки (фиг.1) устанавливается испытываемый образец 11. При вращении винтов 4 (от электродвигателя через редукторы, на чертеже не показаны) перемещается траверса 3 с подвижным захватом 8, деформируя образец 11.
Датчик 6 измерителя силы воспринимает нагрузку, действующую на образец, датчик 10 измерителя перемещения – перемещение траверсы (захвата), а тензометр 9 – непосредственно деформацию образца.
На блоке программирования нагрузки 15 (фиг.2) задают необходимую программу изменения нагрузки. Например, если требуется постоянная скорость возрастания нагрузки, то необходимо задать линейный закон возрастания нагрузки. На выходе блок 15 в каждый момент выдает соответствующую величину силы Рзад, которая на блоке сравнения 16 сравнивается с сигналом от измерителя силы Ризм. Разность сигналов Р поступает на вход регулятора скорости 17.
Сигналы с измерителя силы 12 (Ризм) и измерителя перемещения траверсы 13 (Lизм) поступают на вход блока 14, который вычисляет жесткость cс системы «машина-образец» и подает соответствующий сигнал на вход регулятора скорости.
Регулятор скорости 17 регулирует скорость электропривода таким образом, чтобы электродвигатель 19 осуществлял деформирование образца 11, установленного на испытательной установке 20, со скоростью Vo, обеспечивающей скорость изменения нагрузки Vp в соответствии с установленным на блоке 15 законом регулирования. Необходимая величина изменения скорости:

где T – приращение времени;
Р – приращение нагрузки.
При этом должно обеспечиваться минимальное значение величины Р, стремящееся к 0.
Контур, показанный на фиг.2 пунктиром, работает следующим образом. На вход блока определения жесткости образца 22 подается сигнал с измерителя деформации 21, соответствующий деформации образца 11. Сигнал, соответствующий вычисленному значению жесткости образца со подается на вход блока программирования нагрузки 15, где осуществляется операция:

где Vд – скорость деформирования образца.
Таким образом, блок 15 может при наличии второго контура или при cо=const работать как программатор скорости деформирования образца.
Важное значение имеют два частных режима, которые позволяет реализовать предлагаемая машина:
1. Сила Р=const, тогда Vp=0. Соответствует режиму ползучести.
2. Деформация образца Lo=const, тогда Vд=0. Соответствует режиму релаксации нагрузки (напряжения).
Формула изобретения
1. Машина для испытания образцов на растяжение и сжатие, содержащая испытательную установку с подвижной траверсой и механизмом ее перемещения, выполненным в виде пары винтовых передач, регулируемый электропривод с электродвигателем, регулятор скорости, измеритель силы с датчиком силы, измеритель перемещения подвижной траверсы (деформации образца) с датчиком перемещения (деформации), отличающаяся тем, что она дополнительно снабжена блоком программирования нагрузки (деформации), сигнал с которого по силе подается на блок сравнения, расположенный в замкнутом контуре автоматического регулирования, в который входят также регулятор скорости перемещения подвижной траверсы, регулируемый электропривод с двигателем, испытательная установка с образцом и измеритель силы, а замыкание контура осуществляется отрицательной обратной связью по силе таким образом, чтобы заданный закон изменения нагрузки (деформации) поддерживался с необходимой точностью путем изменения частоты вращения двигателя в пределах определенного участка диаграммы деформирования образца.
2. Машина по п.1, отличающаяся тем, что в контур автоматического регулирования дополнительно включены измеритель перемещения подвижной траверсы и блок определения жесткости системы “машина – образец”, входы которого связаны с измерителем силы и измерителем перемещения подвижной траверсы, а выходы – с регулятором скорости.
РИСУНКИ
|