|
|
(21), (22) Заявка: 2004133260/28, 15.11.2004
(24) Дата начала отсчета срока действия патента:
15.11.2004
(46) Опубликовано: 10.07.2006
(56) Список документов, цитированных в отчете о поиске:
RU 2112689 C1, 10.06.1998. RU 2168438 С2, 10.06.2001. RU 2072681 С1, 27.01.1997. GB 1272658 А, 03.05.1972.
Адрес для переписки:
196158, Санкт-Петербург, Московское ш., 44, ФГУП “ЦНИИ им. акад. А.Н. Крылова”, Управление персоналом, Группа ИПС и патентоведения
|
(72) Автор(ы):
Беззубик Олег Николаевич (RU), Бицуля Александр Васильевич (RU), Дмитриев Дмитрий Сталевич (RU), Ерохин Сергей Константинович (RU), Карулин Евгений Борисович (RU), Карулина Марина Марковна (RU), Клементьева Наталья Юрьевна (RU), Михайлов Владимир Александрович (RU), Орлов Олег Павлович (RU), Пашин Валентин Михайлович (RU), Пятибратов Валерий Анатольевич (RU), Сазонов Кирилл Евгеньевич (RU), Тумашик Александр Петрович (RU)
(73) Патентообладатель(и):
Федеральное государственное унитарное предприятие “Центральный научно-исследовательский институт им. акад. А.Н. Крылова” (RU)
|
(54) СПОСОБ ИСПЫТАНИЙ МОДЕЛИ МОРСКОГО ИНЖЕНЕРНОГО СООРУЖЕНИЯ В ЛЕДОВОМ ОПЫТОВОМ БАССЕЙНЕ И УСТРОЙСТВО ДЛЯ ЕГО ОСУЩЕСТВЛЕНИЯ
(57) Реферат:
Изобретение относится к экспериментальной гидродинамике морских инженерных сооружений и касается методов испытания их моделей в опытовом бассейне и используемого оборудования. Согласно заявленному способу модель предварительно выполняют динамически подобной морскому инженерному сооружению по массогабаритным характеристикам, положению центра тяжести и моментам инерции относительно осей X, Y, Z модели. Перед испытаниями модель сооружения снабжают якорной системой удержания. Закрепление модели в канале опытового бассейна осуществляют через оборудованные динамометрами силы натяжения якорные связи. В процессе надвигания на испытуемую модель ледового образования измеряют угловые и линейные перемещения модели и в якорных связях. В устройстве для испытаний модели морского инженерного сооружения в ледовом опытовом бассейне модель снабжена якорными связями, с помощью которых она закреплена на ферме. Якорные связи оснащены динамометрами силы натяжения и устройствами регулировки связи на заданное начальное натяжение и выполнены неоднородными по длине. Ферма содержит плоское горизонтальное основание, вертикальные стойки и блоки. Основание фермы снабжено устройствами крепления вертикальных стоек с возможностью их установки в заданных точках основания, а вертикальные стойки снабжены блоками и устройствами их крепления с возможностью смещения их по высоте вдоль стоек и фиксации в заданном положении. Модель оборудована датчиками ее угловых и линейных перемещений. Выходы динамометров силы натяжения якорных связей, датчиков угловых и линейных перемещений модели соединены со входом ЭВМ. Технический результат: обеспечение возможности проведения испытаний моделей морских инженерных сооружений с якорной системой удержания в опытовых бассейнах и измерений кинематических и силовых характеристик как модели в целом, так и якорных связей. 2 н.п. ф-лы, 3 ил.
Изобретение относится к экспериментальной гидродинамике морских инженерных сооружений и касается методов испытания их моделей в опытовом бассейне и используемого оборудования.
Для освоения морских месторождений нефти и газа ведется проектирование и строительство различных морских сооружений, включающих, в частности, плавучие добычные платформы для длительной работы на глубокой воде в экстремальных волновых и ледовых условиях.
Наиболее перспективным типом платформ для таких условий является платформа с якорной системой удержания. Такие объекты испытаний являются уникальными и практически неизученными в экспериментальной гидродинамике из-за наличия сложных систем удержания.
Испытания платформ в ледовом опытовом бассейне, как правило, проводят в режиме обращенного движения, т.е. модель надвигают буксировочной тележкой на неподвижное ледовое поле (см. например, патент РФ №216843S, кл. В 63 В 9/02, G 01 M 10/00). В ходе таких испытаний получают информацию о величине глобальной ледовой нагрузки. Однако испытания платформы с якорной системой удержания в таком обращенном движении с жестким закреплением ее на динамометре не позволяет оценить все кинематические и силовые характеристики платформы и якорных связей удержания.
Известен способ испытаний модели морского инженерного сооружения в ледовом опытовом бассейне, заключающийся в том, что модель закрепляют на динамометре в канале опытового бассейна, намораживают ледовое поле или готовят торосистое образование из обломков льда, надвигают с помощью бульдозера буксировочной тележки полученное ледовое образование на испытуемую модель и измеряют действующие на модель глобальные силы и моменты (см., например, патент РФ №2112689, кл. В 63 В 9/02, G 01 M 10/00, Б.И. №16, 1998 г.), принятый за прототип.
Недостатком известного способа испытаний является жесткое закрепление испытуемой модели на динамометре, ограничивающее ее свободу перемещений, не позволяет оценить все кинематические и силовые характеристики платформы и якорных связей ее удержания, а глобальные силы и моменты, получаемые при таком жестком закреплении, оказываются значительно заниженными.
Известно устройство для испытаний модели морского инженерного сооружения в ледовом опытовом бассейне, содержащее канал, заполненный водой, на поверхности которой образовано ледовое поле, съемную металлическую ферму, неподвижно соединенную с днищем канала, буксировочную тележку с электроприводом и ходовыми колесами, находящимися в контакте с рельсами, проложенными вдоль канала, и оборудованную бульдозером для перемещения ледового поля, датчик скорости движения буксировочной тележки, динамометрическую и регистрирующую аппаратуру (см., например, патент РФ №2112689, кл. В 63 В 9/02, G 01 M 10/00, Б.И. №16, 1998 г.), принятое за прототип.
Недостатком известного устройства является невозможность проведения испытаний заякоренных объектов и измерения кинематических и силовых характеристик платформы и якорных связей.
Заявляемое изобретение направлено на обеспечение возможности проведения испытаний в опытовом бассейне моделей морских инженерных сооружений с якорной системой удержания и измерения кинематических и силовых характеристик как модели в целом, так и якорных связей.
Для этого предварительно модель выполняют динамически подобной морскому инженерному сооружению по массогабаритным характеристикам, положению центра тяжести и моментам инерции относительно осей X, Y, Z модели, перед испытаниями модель инженерного сооружения снабжают якорной системой удержания, закрепление модели в канале опытового бассейна осуществляют через оборудованные динамометрами силы натяжения якорные связи, которые выбирают динамически подобными натурному объекту, для чего предварительно определяют и подбирают на специальном стенде жесткостные характеристики упомянутых якорных связей, и в процессе надвигания на испытуемую модель ледового образования измеряют угловые и линейные перемещения модели и в якорных связях – усилия натяжения, а глобальные силы и моменты, действующие на модель, определяют расчетным путем по соотношениям

где
m – масса модели сооружения с учетом присоединенных масс воды;
rG – радиус вектора центра тяжести в связанной системе координат;
– тензор инерции сооружения (с учетом присоединенных моментов инерции и статических моментов);
– вектор линейной скорости полюса связанной системы координат;
– вектор угловой скорости полюса связанной системы координат;
– главный вектор внешних сил;
– главный момент внешних сил относительно полюса связанной системы координат.
В устройстве для испытаний модели морского инженерного сооружения в ледовом опытовом бассейне для достижения поставленной цели модель снабжена якорными связями, с помощью которых она закреплена на ферме, при этом якорные связи оснащены динамометрами силы натяжения и устройствами регулировки связи на заданное начальное натяжение и выполнены неоднородными по длине, ферма содержит плоское горизонтальное основание, вертикальные стойки и блоки, причем основание фермы снабжено устройствами крепления вертикальных стоек с возможностью их установки в заданных точках основания, а вертикальные стоики снабжены блоками и устройствами их крепления с возможностью смещения их по высоте вдоль стоек и фиксации в заданном положении, а модель оборудована датчиками ее угловых и линейных перемещений в направлении осей X, Y, Z, выходы динамометров силы натяжения якорных связей, датчиков угловых и линейных перемещений модели соединены со входом ЭВМ.
Для корректного определения кинематических и силовых характеристик необходимо обеспечить динамическое подобие модели и ее якорной системы удержания натурному объекту. С этой целью в модельном эксперименте динамическое подобие модели выполнялось по массогабаритным характеристикам в соответствии с выбранным масштабом модели, по положению центра тяжести и моментам инерции относительно осей X, Y, Z модели, а якорных связей выполнялось по целому ряду характеристик якорных цепей: по массе, по жесткости, по начальному натяжению, по линии провиса якорной цепи и др. В натурном объекте якорные связи представляют собой длинные или короткие связи, неоднородные по длине, состоящие из цепи вблизи якоря, стального троса и цепи вблизи клюзовой точки. В результате смещения сооружения связи растягиваются из-за упругих деформаций, превращаясь в натягиваемую струну, а при обратном смещении превращаются в обычные якорные цепи. Все эти особенности натурных якорных связей удержания сооружения моделируются в модельном эксперименте. Для этого предварительно выполняется расчет характеристики жесткости выбранной связи, которая в модельном эксперименте может представлять собой пучок из нескольких связей (4÷6). Затем подготовленные связи устанавливают на специальный стенд, снабдив их датчиками силы натяжения; растягивают их ступенями на одинаковое удлинение l в пределах упругих деформаций и измеряют при этом силу натяжения в связи. При необходимости изменяют жесткостную характеристику связи, добавляя или убирая часть нитей в пучке.
В процессе испытаний модели прямыми измерениями определяют усилия натяжения в якорных связях, угловые и линейные перемещения модели. Глобальные силы и моменты, действующие на модель, определяют расчетным путем. В основу расчета положен алгоритм решения нелинейной системы уравнений равновесия объекта при совместном перемещении и деформации неоднородных по длине якорных связей. Длина каждой связи в текущий момент времени определяется по известным координатам соответствующих якорных точек и вычисленным координатам (по данным измерений линейных и угловых перемещений модели) клюзовых точек крепления якорных связей к модели.
Указанный выше алгоритм решения нелинейной системы уравнений по определению глобальных сил и моментов реализован в соответствующей программе для ЭВМ. Исходными данными для выполнения расчетов по программе являются:
– инерционно-массовые характеристики модели;
– геометрические параметры заякоренной системы в начальный момент времени (включая координаты центра тяжести, координаты якорных и клюзовых точек и точки платформы, в которой измеряются перемещения);
– компоненты матрицы демпфирования заякоренной системы;
– временные записи изменения трех координат измеряемой точки и углов крена, дифферента, рыскания модели;
– временные записи изменения усилий натяжения связей;
– жесткостные характеристики нединамометрируемых связей.
На выходе программы выдаются восстановленные реализации во времени всех шести компонент глобальной ледовой нагрузки.
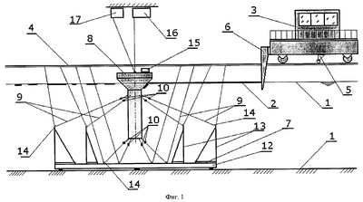
Сущность заявляемого изобретения поясняется чертежами, где на фиг.1 показано устройство для реализации способа испытаний модели морского инженерного сооружения с якорной системой удержания в опытовом бассейне; на фиг.2 – то же устройство, вид сбоку; на фиг.3 – фотография подготовленной к испытаниям модели в поле сплошного моделированного льда (с технологической тележкой над моделью).
Устройство для испытаний модели морского инженерного сооружения в ледовом опытовом бассейне содержит (фиг.1) канал 1, заполненный водой, на поверхности которой образовано ледовое поле 2, буксировочную тележку 3 с электроприводом и ходовыми колесами, находящимися в контакте с рельсами 4, проложенными вдоль канала, датчик скорости движения буксировочной тележки 5, бульдозер 6, съемную металлическую ферму 7, неподвижно соединенную с днищем канала, модель инженерного сооружения 8, которая снабжена якорными связями 9, с помощью которых она закреплена на ферме, динамометры силы натяжения в связях 10, устройство регулировки связи на заданное начальное натяжение 11 (фиг.2). Ферма 7 содержит плоское основание 12, вертикальные стойки 13, блоки 14. Основание фермы 12 снабжено устройствами крепления вертикальных стоек 13 с возможностью их установки в заданных точках основания (не показано). Вертикальные стойки 13 снабжены блоками и устройствами их крепления 14 с возможностью смешения их по высоте вдоль стоек и фиксации в заданном положении. Модель 8 оборудована гиросконическими датчиками ее угловых перемещений (крена, дифферента, рыскания) 15 и соединена гибкими связями с прецизионными потенциометрическими датчиками 16, 17 линейных перемещений модели в направлении осей X, Y, Z. Выходы динамометров силы натяжения якорных связей 10, датчиков угловых перемещений 15 и датчиков линейных перемещений модели 16, 17 соединены со входом ЭВМ (ЭВМ и линии связи с ней динамометров и датчиков не показаны).
Предложенный способ и устройство работают следующим образом.
Выбирают масштаб модели, рассчитывают и подбирают массу и габариты модели, положение центра тяжести и моменты инерции относительно осей X, Y, Z модели.
Определяют и подбирают якорные связи 9, обеспечивая их динамическое подобие натурным якорным связям. Оснащают якорные связи динамометрами силы натяжения и определяют на специальном стенде жесткостные характеристики связей. На технологическом настиле, выложенном над каналом опытового бассейна, устанавливают съемную металлическую ферму 7 с вертикальными стойками 13 и блоками 24. Вертикальные стойки 13 устанавливают в заданных (расчетных) точках основания 12 фермы и закрепляют их неподвижно. Блоки 14, установленные на вертикальных стойках 13, устанавливают на заданной высоте и фиксируют в этом положении. Подвешивают талью над фермой 7 модель морского инженерного сооружения 8. Закрепляют в клюзовых точках модели якорные связи 9, оснащенные динамометрами силы натяжения 10, пропускают их через соответствующие блоки 14 на основания фермы 12 и на вертикальных стойках 13 и выводят вдоль бортов канала опытового бассейна. Приподнимают ферму 7 над технологическим настилом. Разбирают технологический настил. Опускают металлическую ферму 7 на дно канала опытового бассейна и соединенную с ней якорными связями 9 модель 8, аккуратно подтравливая концы якорных связей 9. Соединяют концы якорных связей с устройствами регулировки связи на заданное начальное натяжение 11, противоположные концы которых неподвижно закреплены по бортам канала опытового бассейна. Устанавливают на модели 8 датчики угловых перемещений 1-5. Надвигают технологическую тележку (см фиг.3) с датчиками 16, 17 линейных перемещений так, чтобы она размещалась над испытуемой моделью 8. Соединяют модель 8 гибкими связями с датчиками 16, 17. Кабели от датчиков 15, 16, 17 и динамометров силы натяжения 10, проложенных внутри испытуемой модели 8, выводят на технологическую тележку и затем к рабочему месту оператора. Соединяют кабели динамометров и датчиков угловых и линейных перемещений с преобразовательной аппаратурой и ЭВМ. Регулируют с помощью устройства 11 начальное натяжение в якорных связях 9. контролируя его на ЭВМ. Устройство готово к испытаниям.
Намораживают ледовое поле 2. Измеряют его физико-механические характеристики. Проверяют и при необходимости дополнительно регулируют начальное натяжение якорных связей 9. Задают движение буксировочной тележке 3 с заданной скоростью V0 и надвигают с помощью бульдозера 6 ледовое поле 2 на испытуемую модель, регистрируя при этом на ЭВМ силы натяжения в якорных связях, угловые и линейные перемещения модели 8. Обрабатывают результаты испытаний и определяют глобальные силы и моменты, действующие на испытуемую модель сооружения.
Формула изобретения
1. Способ испытаний модели морского инженерного сооружения в ледовом опытовом бассейне, заключающийся в том, что модель закрепляют на динамометре в канале опытового бассейна, намораживают ледовое поле или готовят торосистое образование из обломков льда, надвигают с помощью бульдозера буксировочной тележки полученное ледовое образование на испытуемую модель и измеряют действующие на модель глобальные силы и моменты, отличающийся тем, что предварительно модель выполняют динамически подобной морскому инженерному сооружению по массогабаритным характеристикам, положению центра тяжести и моментам инерции относительно осей X, Y, Z модели, перед испытаниями модель сооружения снабжают якорной системой удержания, закрепление модели в канале опытового бассейна осуществляют через оборудованные динамометрами силы натяжения якорные связи, которые выбирают динамически подобными натурному объекту, для чего предварительно определяют и подбирают на специальном стенде жесткостные характеристики упомянутых якорных связей, и в процессе надвигания на испытуемую модель ледового образования измеряют угловые и линейные перемещения модели и в якорных связях – усилия натяжения, а глобальные силы и моменты, действующие на модель, определяют расчетным путем по соотношениям

где m – масса модели сооружения с учетом присоединенных масс воды;
rG – радиус вектора центра тяжести в связанной системе координат;
– тензор инерции сооружения (с учетом присоединенных моментов инерции и статических моментов);
– вектор линейной скорости полюса связанной системы координат;
– вектор угловой скорости полюса связанной системы координат;
– главный вектор внешних сил;
– главный момент внешних сил относительно полюса связанной системы координат.
2. Устройство для испытаний модели морского инженерного сооружения в ледовом опытовом бассейне, содержащее канал, заполненный водой, на поверхности которой образовано ледовое поле, съемную металлическую ферму, неподвижно соединенную с днищем канала, буксировочную тележку с электроприводом и ходовыми колесами, находящимися в контакте с рельсами, проложенными вдоль канала, и оборудованную бульдозером для перемещения ледового поля, датчик скорости движения буксировочной тележки, динамометрическую и регистрирующую аппаратуру, отличающееся тем, что модель снабжена якорными связями, с помощью которых она закреплена на ферме, при этом якорные связи оснащены динамометрами силы натяжения и устройствами регулировки связи на заданное начальное натяжение и выполнены неоднородными по длине, ферма содержит плоское горизонтальное основание, вертикальные стойки и блоки, причем основание фермы снабжено устройствами крепления вертикальных стоек с возможностью их установки в заданных точках основания, а вертикальные стойки снабжены блоками и устройствами их крепления с возможностью смещения их по высоте вдоль стоек и фиксации в заданном положении, а модель оборудована датчиками ее угловых и линейных перемещений в направлении осей X, Y, Z, выходы динамометров силы натяжения якорных связей, датчиков угловых и линейных перемещений модели соединены со входом ЭВМ.
РИСУНКИ
|
|