|
|
(21), (22) Заявка: 2004135233/02, 02.12.2004
(24) Дата начала отсчета срока действия патента:
02.12.2004
(46) Опубликовано: 10.07.2006
(56) Список документов, цитированных в отчете о поиске:
СВЕШНИКОВ В.К., УСОВ А.А., Станочные гидроприводы, Москва, Машиностроение, 1988, с.289, рис.7.8а. SU 580989 А1, 25.11.1977. SU 453326 А1, 19.02.1975. RU 2170859 С1, 20.07.2001. ЕР 0543177 А1, 26.05.1993. GB 2033537 А1, 21.05.1980.
Адрес для переписки:
109428, Москва, Рязанский пр-кт, 8а, АКХ “ВНИИМЕТМАШ”, ЗАО “Прочность”, пат.пов.Е.Н.Чудной, рег.№ 250
|
(72) Автор(ы):
Мухин Олег Сергеевич (RU), Корнилов Владимир Владимирович (RU), Микулин Геннадий Федорович (RU)
(73) Патентообладатель(и):
ЗАКРЫТОЕ АКЦИОНЕРНОЕ ОБЩЕСТВО “ПРОЧНОСТЬ” (RU)
|
(54) СИЛОВОЙ ГИДРОЦИЛИНДР ПРЕССА
(57) Реферат:
Изобретение относится к области машиностроения, в частности к силовым гидроцилиндрам, и может быть использовано в технологических машинах, таких как гидравлические прессы, тяжелые металлорежущие станки, прокатные станы и т.п. Гидроцилиндр содержит корпус, поршень и крышку поршневой полости, выполненную в виде блока, содержащего корпус крышки, в котором размещена гидроаппаратура, управляющая гидроцилиндром. Крышка поршневой полости снабжена стержнем, установленным соосно гидроцилиндру и проходящим через корпус крышки. Один конец стержня снабжен фланцем, размещенным в полости гидроцилиндра и соединенным с ним и корпусом крышки посредством разъемных соединений. Другой конец стержня оснащен опорной пластиной, связанной со стержнем посредством разъемного соединения и примыкающей к станине пресса. Корпус крышки закреплен на станине пресса с образованием зазора между его торцом и опорной пластиной. Зазор значительно превышает упругую деформацию стержня и опорной пластины во время работы пресса. Диаметр фланца равен внутреннему диаметру гидроцилиндра. Опорная пластина выполнена в виде круга, диаметр которого превышает диаметр стержня, а его площадь обеспечивает напряжение смятия материала станины пресса ниже допустимого. Опорная пластина присоединена к стержню при помощи винта, установленного соосно стержню. Головка винта выполнена в виде цилиндра с двумя лысками и установлена по скользящей посадке в углублении соответствующей формы, образованном в станине пресса. В результате обеспечивается повышение надежности гидропривода. 4 з.п. ф-лы, 1 ил.
Изобретение относится к области машиностроения, в частности к силовым гидроцилиндрам, и может быть использовано в технологических машинах, при работе которых действуют значительные силы, таких как гидравлические прессы, тяжелые металлорежущие станки, прокатные станы и тому подобное оборудование.
Известны силовые гидроцилиндры, каждый из которых содержит корпус, поршень и крышку, причем корпус выполнен заодно с фланцем, предназначенным для крепления гидроцилиндра к станине машины (см., например, Н.С.Добринский. Гидравлический привод прессов. М.: Машиностроение, 1975, с.89, рис.42а, б). Недостатком данной конструкции является, во-первых, то, что корпус под давлением жидкости помимо растягивающих тангенциальных и сжимающих радиальных напряжений испытывает растягивающие осевые напряжения, а также напряжения изгиба в зоне примыкания фланца к стенке корпуса, во-вторых, зона перехода фланца в стенку корпуса представляет собой жесткий концентратор напряжений.
Указанных недостатков лишены силовые гидроцилиндры, устанавливаемые в станине машины с опорой на крышку (донную часть) (см. там же, рис.42 г, д, е). Преимущество установки гидроцилиндра с опорой на донную часть (крышку поршневой полости) заключается в разгрузке стенки цилиндра от осевых растягивающих напряжений. Однако в такой конструкции невозможно установить гидроаппаратуру в крышке гидроцилиндра, так как она в процессе работы машины нагружена значительной по величине сжимающей силой и деформации сжатия создают опасность выхода гидроаппаратуры из строя вследствие защемления клапанов, а это в свою очередь снижает надежность гидропривода.
Известен гидроцилиндр с крышкой поршневой полости, выполненной в виде блока с размещенной в нем гидроаппаратурой (см. Свешников В.К., Усов А.А. Станочные гидроприводы. М.: Машиностроение, 1988, с.289, рис.7.8а). Преимуществом данной конструкции является то, что размещение в крышке гидроаппаратуры, управляющей данным гидроцилиндром, позволяет существенно сократить длину гидравлических линий и снизить потери давления. Однако по указанным выше причинам гидроцилиндр, имеющий такую конструкцию, нельзя устанавливать с опорой на крышку в технологических машинах, при работе которых действуют значительные силы, например в гидравлических прессах.
Технической задачей настоящего изобретения является повышение надежности гидропривода путем устранения осевой деформации крышки гидроцилиндра, возникающей в процессе работы гидравлического пресса.
Поставленная задача решается в силовом гидроцилиндре, включающем корпус, поршень и крышку поршневой полости, выполненную в виде блока, содержащего корпус крышки, в котором размещена гидроаппаратура, управляющая гидроцилиндром, причем крышка снабжена стержнем, установленным соосно гидроцилиндру и проходящим через корпус крышки, при этом один конец стержня снабжен фланцем, размещенным в полости гидроцилиндра и соединенным с ним и корпусом крышки посредством разъемных соединений, другой конец стержня оснащен опорной пластиной, связанной со стержнем посредством разъемного соединения и примыкающей к станине пресса, а корпус закреплен на станине пресса с образованием зазора между его торцом и опорной пластиной, значительно превышающего упругую деформацию стержня и опорной пластины во время работы пресса.
Диаметр фланца равен внутреннему диаметру гидроцилиндра, при этом стержень и фланец жестко связаны между собой или выполнены за одно целое.
Опорная пластина может быть выполнена в виде круга, диаметр которого превышает диаметр стержня, а его площадь обеспечивает напряжение смятия материала станины пресса ниже допустимого.
Опорная пластина присоединена к стержню посредством разъемного соединения, например, при помощи винта, установленного соосно стержню, причем головка винта выполнена в виде цилиндра с двумя лысками и установлена по скользящей посадке в углублении соответствующей формы, образованном в станине пресса.
Наличие стержня, установленного соосно гидроцилиндру и проходящего через корпус крышки, один конец которого оснащен опорной пластиной, примыкающей к станине пресса, в сочетании с закреплением корпуса крышки на станине пресса с образованием зазора между торцом корпуса и опорной пластиной, позволяет при работе гидравлического пресса устранить осевую деформацию крышки гидроцилиндра, что в свою очередь позволяет исключить нежелательные воздействия на размещенную в крышке гидроаппаратуру, управляющую гидроцилиндром.
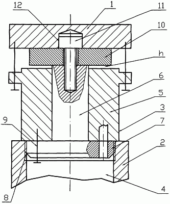
Сущность изобретения разъясняется в примере его конкретной реализации со ссылкой на прилагаемый чертеж, на котором показан силовой гидроцилиндр, выполненный согласно настоящему изобретению и установленный в гидравлическом прессе.
В прессе, содержащем станину 1, установлен гидроцилиндр 2, оснащенный крышкой 3 поршневой полости 4. Крышка 3 выполнена в виде блока, содержащего корпус 5 крышки, в котором размещена гидроаппаратура (не показана), управляющая гидроцилиндром 2. Крышка 3 поршневой полости 4 снабжена стержнем 6, установленным соосно гидроцилиндру 2 и проходящим через корпус 5 крышки. Один конец стержня 6 снабжен фланцем 7, размещенным в полости 4 гидроцилиндра 2. Фланец 7 соединен с гидроцилиндром 2 посредством резьбового соединения 8, а с корпусом 5 – винтами 9. Другой конец стержня 6 оснащен опорной пластиной 10, связанной со стержнем 6 и примыкающей к станине 1 пресса. Корпус 5 закреплен на станине 1 с образованием зазора h между его торцом и опорной пластиной 10, значительно превышающего упругую деформацию стержня 6 и опорной пластины 10 во время работы пресса.
Диаметр фланца 7 равен внутреннему диаметру гидроцилиндра 2, при этом стержень 6 и фланец 7 жестко связаны между собой или выполнены за одно целое.
Опорная пластина 10 выполнена в виде круга, диаметр которого превышает диаметр стержня 6, а его площадь обеспечивает напряжение смятия материала станины 1 ниже допустимого.
Опорная пластина 10 присоединена к стержню 6 при помощи винта 11, установленного соосно стержню 6, причем головка винта 11 выполнена в виде цилиндра с двумя лысками и установлена по скользящей посадке в углублении 12 соответствующей формы, образованном в станине 1 пресса.
Силовой гидроцилиндр работает следующим образом.
На рабочем участке цикла пресса в полость 4 гидроцилиндра 2 поступает жидкость высокого давления, возникающее при этом усилие передается на станину 1 через стержень 6 и опорную пластину 10. Благодаря наличию зазора h между торцами опорной пластины 10 и корпуса 5 крышки корпус 5 свободно перемещается относительно стержня 6 в пределах упругих деформаций стержня 6 и опорной пластины 10. Вследствие этого корпус 5 крышки остается разгруженным от сжимающей силы, которая действовала бы на него при непосредственном контакте корпуса 5 со станиной 1, и гидроаппаратура, размещенная в корпусе 5, не получает деформаций сжатия, которые могли бы привести к защемлению клапанов и, как следствие, выходу гидроаппаратуры из строя. Технический результат, достигаемый настоящим изобретением, заключается в устранении осевой деформации крышки гидроцилиндра, возникающей при работе пресса, что позволяет повысить надежность гидропривода и гидравлического пресса в целом.
Формула изобретения
1. Силовой гидроцилиндр пресса, включающий корпус, поршень и крышку поршневой полости, выполненную в виде блока, содержащего корпус крышки, в котором размещена гидроаппаратура, управляющая гидроцилиндром, отличающийся тем, что крышка поршневой полости снабжена стержнем, установленным соосно с гидроцилиндром и проходящим через корпус крышки, причем один конец стержня снабжен фланцем, размещенным в полости гидроцилиндра и соединенным с ним и корпусом крышки посредством разъемных соединений, а другой конец стержня оснащен опорной пластиной, связанной со стержнем посредством разъемного соединения и примыкающей к станине пресса, при этом корпус крышки закреплен на станине пресса с образованием зазора между его торцом и опорной пластиной, значительно превышающего упругую деформацию стержня и опорной пластины во время работы пресса.
2. Силовой гидроцилиндр по п.1, отличающийся тем, что диаметр фланца равен внутреннему диаметру гидроцилиндра.
3. Силовой гидроцилиндр по п.1, отличающийся тем, что стержень и фланец жестко связаны между собой или выполнены за одно целое.
4. Силовой гидроцилиндр по п.1, отличающийся тем, что опорная пластина выполнена в виде круга, диаметр которого превышает диаметр стержня, а его площадь обеспечивает напряжение смятия материала станины пресса ниже допустимого.
5. Силовой гидроцилиндр по п.1 или 4, отличающийся тем, что опорная пластина присоединена к стержню при помощи винта, установленного соосно со стержнем, причем головка винта выполнена в виде цилиндра с двумя лысками и установлена по скользящей посадке в углублении соответствующей формы, образованном в станине пресса.
РИСУНКИ
|
|