|
| На основании пункта 3 статьи 13 Патентного закона Российской Федерации от 23 сентября 1992 г. № 3517-I патентообладатель обязуется передать исключительное право на изобретение (уступить патент) на условиях, соответствующих установившейся практике, лицу, первому изъявившему такое желание и уведомившему об этом патентообладателя и федеральный орган исполнительной власти по интеллектуальной собственности, – гражданину РФ или российскому юридическому лицу. |
|
(21), (22) Заявка: 2005106793/11, 14.03.2005
(24) Дата начала отсчета срока действия патента:
14.03.2005
(46) Опубликовано: 10.07.2006
(56) Список документов, цитированных в отчете о поиске:
SU 1401194 A1, 07.06.1988. SU 1668773 A1, 07.08.1991. SU 1388613 A1, 15.04.1988. SU 1076662 A1, 28.02.1984. RU 2082036 C1, 20.06.1997. JP 6313529 А, 08.06.1988. US 24112852 A1, 17.12.1946.
Адрес для переписки:
123458, Москва, ул. Твардовского, 11, кв.92, О.С. Кочетову
|
(72) Автор(ы):
Кочетов Олег Савельевич (RU), Кочетова Мария Олеговна (RU), Ходакова Татьяна Дмитриевна (RU), Стареев Михаил Евгеньевич (RU)
(73) Патентообладатель(и):
Кочетов Олег Савельевич (RU)
|
(54) РЕЗИНОВЫЙ ВИБРОИЗОЛЯТОР С МАЯТНИКОВЫМ ПОДВЕСОМ
(57) Реферат:
Изобретение относится к машиностроению и может быть использовано для виброизоляции технологического оборудования, в том числе ткацких станков. Резиновый виброизолятор с маятниковым подвесом содержит упругий элемент, взаимодействующий с основанием корпуса и маятниковым подвесом. Маятниковый подвес выполнен в виде резьбовой шпильки, соединенной одним концом с опорным рычагом для крепления виброизолируемого объекта, а другим – с упорной шайбой и гайкой. Упорная шайба, взаимодействующая с гайкой и упругим элементом, выполнена из упругого материала. Упругий элемент выполнен составным и состоит из верхней и нижней частей различной жесткости. Основание корпуса выполнено в виде короба прямоугольного сечения, состоящего из верхней и нижней пластин, скрепленных по трем сторонам боковыми ребрами. Жесткость верхней части упругого элемента высотой «d» в два раза меньше жесткости нижней части высотой «с». В результате достигается повышение эффективности виброизоляции в резонансом режиме и упрощение конструкции и монтажа. 1 з.п. ф-лы, 3 ил.
Изобретение относится к машиностроению и может быть использовано для виброизоляции технологического оборудования, в том числе ткацких станков.
Наиболее близким техническим решением к заявляемому объекту является пружинный виброизолятор по авторскому свидетельству СССР №1401194, F 16 F 15/06, 1986 г. (прототип), содержащий упругий элемент в виде цилиндрической пружины, один торец которой опирается на основание корпуса, а другой взаимодействует с маятниковым подвесом.
Недостатком известного устройства является сложность шарнирного элемента и недостаточная эффективность на резонансе из-за отсутствия демпфирования колебаний.
Технический результат – повышение эффективности виброизоляции в резонансном режиме и упрощение конструкции и монтажа.
Это достигается тем, что в резиновом виброизоляторе с маятниковым подвесом, содержащим упругий элемент, взаимодействующий с основанием корпуса и маятниковым подвесом, маятниковый подвес выполнен в виде резьбовой шпильки, соединенной одним концом с опорным рычагом для крепления виброизолируемого объекта, а другим – с упорной шайбой и гайкой, причем упорная шайба, взаимодействующая с гайкой и упругим элементом, выполнена из упругого материала, а упругий элемент выполнен составным, состоящим из верхней и нижней частей различной жесткости, а основание корпуса выполнено в виде короба прямоугольного сечения, состоящего из верхней и нижней пластин, скрепленных по трем сторонам боковыми ребрами, причем жесткость верхней части упругого элемента высотой d в два раза меньше жесткости нижней части высотой с .
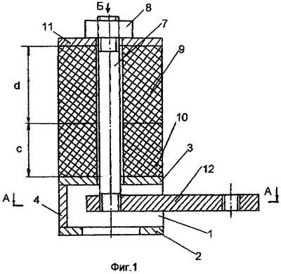
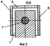
На фиг.1 представлен фронтальный разрез предлагаемого виброизолятора, на фиг.2 – разрез А-А фиг.1, на фиг.3 – вид Б фиг.1.
Резиновый виброизолятор с маятниковым подвесом содержит упругий элемент 9, взаимодействующий с основанием 3 корпуса и маятниковым подвесом 7. Маятниковый подвес выполнен в виде резьбовой шпильки 7, соединенной одним концом с опорным рычагом 12 для крепления виброизолируемого объекта (на чертеже не показан), а другим – с упорной шайбой 11 и гайкой 8, причем упорная шайба 11, взаимодействующая с гайкой 8 и упругим элементом 9, выполнена из упругого материала, а упругий элемент выполнен составным, состоящим из верхней 9 и нижней 10 частей различной жесткости. Основание 1 корпуса выполнено в виде короба прямоугольного сечения, состоящего из верхней 3 и нижней 2 пластин, скрепленных по трем сторонам боковыми ребрами 4, 5, 6.
Жесткость верхней части 9 упругого элемента высотой d в два раза меньше жесткости нижней части 10 высотой c .
Виброизолятор работает следующим образом.
При колебаниях виброизолируемого объекта упругий элемент 9 воспринимает вертикальные нагрузки, ослабляя тем самым динамическое воздействие на перекрытия зданий. Горизонтальные нагрузки воспринимаются маятниковым подвесом, выполненным в виде резьбовой шпильки 7, соединенной одним кондом с опорным рычагом 12 для крепления виброизолируемого объекта, а другим – с упорной шайбой 11 и гайкой 8. За счет такой схемы выполнения маятникового подвеса обеспечивается дополнительная пространственная виброизоляция оборудования по всем шести направлениям колебаний (по трем координатным осям x, y, z и поворотным колебаниям вокруг этих осей).
Предложенная конструкция виброизолятора является эффективной, а также отличается простотой при монтаже и эксплуатации.
Формула изобретения
1. Резиновый виброизолятор с маятниковым подвесом, содержащий упругий элемент, взаимодействующий с основанием корпуса и маятниковым подвесом, отличающийся тем, что маятниковый подвес выполнен в виде резьбовой шпильки, соединенной одним концом с опорным рычагом для крепления виброизолируемого объекта, а другим – с упорной шайбой и гайкой, причем упорная шайба, взаимодействующая с гайкой и упругим элементом, выполнена из упругого материала, а упругий элемент выполнен составным, состоящим из верхней и нижней частей различной жесткости, а основание корпуса выполнено в виде короба прямоугольного сечения, состоящего из верхней и нижней пластин, скрепленных по трем сторонам боковыми ребрами.
2. Резиновый виброизолятор с маятниковым подвесом по п.1, отличающийся тем, что жесткость верхней части упругого элемента высотой «d» в два раза меньше жесткости нижней части высотой «с».
РИСУНКИ
|
|