|
| На основании пункта 3 статьи 13 Патентного закона Российской Федерации от 23 сентября 1992 г. № 3517-I патентообладатель обязуется передать исключительное право на изобретение (уступить патент) на условиях, соответствующих установившейся практике, лицу, первому изъявившему такое желание и уведомившему об этом патентообладателя и федеральный орган исполнительной власти по интеллектуальной собственности, – гражданину РФ или российскому юридическому лицу. |
|
(21), (22) Заявка: 2005106794/11, 14.03.2005
(24) Дата начала отсчета срока действия патента:
14.03.2005
(46) Опубликовано: 10.07.2006
(56) Список документов, цитированных в отчете о поиске:
SU 1594326 A1, 23.09.1990. SU 101230 A1, 01.01.1953. RU 94025566 A1, 10.05.1996. SU 1763744 A1, 23.09.1992. JP 62278335 А, 03.12.1987. US 3120382 А, 04.02.1964.
Адрес для переписки:
123458, Москва, ул. Твардовского, 11, кв.92, О.С. Кочетову
|
(72) Автор(ы):
Кочетов Олег Савельевич (RU), Кочетова Мария Олеговна (RU), Ходакова Татьяна Дмитриевна (RU)
(73) Патентообладатель(и):
Кочетов Олег Савельевич (RU)
|
(54) РЕЗИНОВЫЙ ВИБРОИЗОЛЯТОР ДЛЯ ОБОРУДОВАНИЯ
(57) Реферат:
Изобретение относится к машиностроению и может быть использовано для виброизоляции технологического оборудования, в том числе ткацких станков. Резиновый виброизолятор для оборудования содержит корпус и упругий элемент, взаимодействующий с объектом. Корпус выполнен в виде двух связанных между собой уголков. Верхняя из полок уголков жестко связана со штырем, входящим в отверстие, выполненное в упругом элементе, и опирается на упругий элемент. Упругий элемент состоит из двух последовательно соединенных частей с разной жесткостью. На планку, связывающую уголки в нижней части свободных полок, перпендикулярно их поверхностям опирается опорный элемент оборудования. Жесткость верхней части упругого элемента высотой С в два раза больше жесткости нижней части упругого элемента высотой Е. Отношение ширины виброизолятора L к ширине планки D, на которую опирается опорный элемент оборудования, находится в оптимальном соотношении величин: L/D=B/T=3…7, где В – высота виброизолятора, Т – расстояние планки до основания в нагруженном состоянии. В результате достигается повышение эффективности виброизоляции в резонансом режиме и упрощение конструкции и монтажа. 1 з.п. ф-лы, 1 ил.
Изобретение относится к машиностроению и может быть использовано для виброизоляции технологического оборудования, в том числе ткацких станков.
Наиболее близким техническим решением к заявляемому объекту является виброизолятор по авторскому свидетельству СССР № 1594326, F 16 F 15/06, содержащий упругий элемент, один торец которого опирается на корпус, а другой взаимодействует с маятниковым механизмом, выполненным в виде шарнирного подвеса.
Недостатком известного устройства является сложность шарнирного элемента и недостаточная эффективность на резонансе из-за отсутствия демпфирования колебаний.
Технический результат – повышение эффективности виброизоляции в резонансном режиме и упрощение конструкции и монтажа.
Это достигается тем, что в резиновом виброизоляторе для оборудования, содержащем корпус и упругий элемент, взаимодействующий с объектом, корпус, выполнен в виде двух связанных между собой уголков, верхняя из полок которых жестко связана со штырем, входящим в отверстие, выполненное в упругом элементе, и опирается на упругий элемент, состоящий из двух последовательно соединенных частей с разной жесткостью, а на планку, связывающую уголки в нижней части свободных полок, перпендикулярно их поверхностям опирается опорный элемент оборудования, причем жесткость верхней части упруго элемента высотой С в два раза больше жесткости нижней части упруго элемента высотой Е, а отношение ширины виброизолятора L к ширине планки D, на которую опирается опорный элемент оборудования, находится в оптимальном соотношении величин: L/D=В/Т=3…7, где В – высота виброизолятора, Т – расстояние планки до основания в нагруженном состоянии.
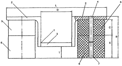
На чертеже представлен фронтальный разрез резинового виброизолятора.
Резиновый виброизолятор для оборудования содержит корпус 1 и упругий элемент 5, взаимодействующий с оборудованием. Корпус 1 выполнен в виде двух связанных между собой уголков 2, верхняя из полок которых жестко связана со штырем 4, входящим в отверстие 7, выполненное в упругом элементе 5, и опирается на упругий элемент, состоящий из двух последовательно соединенных частей с разной жесткостью, а на планку 3, связывающую уголки в нижней части свободных полок, перпендикулярно их поверхностям опирается опорный элемент оборудования (на чертеже не показан).
Жесткость верхней части 5 упругого элемента высотой С в два раза больше жесткости нижней части упругого элемента 6 высотой Е, а отношение ширины виброизолятора L к ширине планки D, на которую опирается опорный элемент оборудования, находится в оптимальном соотношении величин: L/D=В/Т=3…7, где В – высота виброизолятора, Т – расстояние планки до основания в нагруженном состоянии.
Резиновый виброизолятор для оборудования работает следующим образом.
При колебаниях виброизолируемого объекта упругий резиновый элемент 5 воспринимает вертикальные нагрузки, ослабляя тем самым динамическое воздействие на перекрытия зданий. Горизонтальные колебания гасятся за счет нестесненного расположения упругого элемента, что дает ему определенную степень свободы колебаний в горизонтальной плоскости.
Формула изобретения
1. Резиновый виброизолятор для оборудования, содержащий корпус и упругий элемент, взаимодействующий с объектом, отличающийся тем, что корпус выполнен в виде двух связанных между собой уголков, верхняя из полок которых жестко связана со штырем, входящим в отверстие, выполненное в упругом элементе, и опирается на упругий элемент, состоящий из двух последовательно соединенных частей с разной жесткостью, а на планку, связывающую уголки в нижней части свободных полок, перпендикулярно их поверхностям опирается опорный элемент оборудования.
2. Резиновый виброизолятор для оборудования по п.1, отличающийся тем, что жесткость верхней части упругого элемента высотой С в два раза больше жесткости нижней части упругого элемента высотой Е, а отношение ширины виброизолятора L к ширине планки D, на которую опирается опорный элемент оборудования, находится в оптимальном соотношении величин L/D=B/T=3…7, где В – высота виброизолятора, Т – расстояние планки до основания в нагруженном состоянии.
РИСУНКИ
|
|