|
|
(21), (22) Заявка: 2005108367/06, 24.03.2005
(24) Дата начала отсчета срока действия патента:
24.03.2005
(46) Опубликовано: 10.07.2006
(56) Список документов, цитированных в отчете о поиске:
SU 476763 A, 05.11.1975. RU 2246650 C2, 20.02.2005. SU 1809863 A, 15.04.1993. GB 2122694 A, 18.01.1984.
Адрес для переписки:
450000, г.Уфа, ул. К. Маркса, 12, УГАТУ, отдел интеллектуальной собственности, В.П. Ефремовой
|
(72) Автор(ы):
Ильясов Барый Галеевич (RU), Шаньгин Евгений Сергеевич (RU), Исбир Фади Алиевич (RU)
(73) Патентообладатель(и):
Государственное образовательное учреждение высшего профессионального образования “Уфимский государственный авиационный технический университет” (RU)
|
(54) УПРАВЛЯЕМЫЙ ПРИВОД ШТАНГОВОГО СКВАЖИННОГО НАСОСА
(57) Реферат:
Устройство предназначено для использования в области добычи нефти для управления режимом возвратно-поступательного движения штангового насоса. Входной и выходной механизмы выполнены в виде соосных валов, на концах которых закреплены фрикционные колеса. Передача выполнена в виде двухдискового фрикционного вариатора, диски которого соосны между собой и закреплены на подвижной обойме, имеющей возможность перемещения вдоль оси входного и выходного механизмов. Устройство для регулирования передаточного отношения выполнено в виде рычага, прямолинейно перемещающего подвижную обойму фрикционного вариатора. Достигается возможность управления скорости движения штангового скважинного насоса в широких пределах как в ручном, так и в автоматическом режиме. 1 ил.
Изобретение относится к оборудованию для добычи нефти и может быть использовано для управления режимом возвратно-поступательного движения штангового насоса.
Известен привод, переключаемый под нагрузкой, содержащий ведущий и ведомый коаксиальные валы и две пары фрикционных сцеплений, переключением которых последовательно соединяются две зубчатые передачи [Авт. св. СССР №1160943, МПК7 F 16 Н 3/08, БИ №21, 1985 г.].
Недостатками известного устройства являются сложность конструкции, обусловленная наличием большого количества коаксиальных валов, зубчатых передач и фрикционных муфт, а также недостаточно широкие функциональные возможности, обеспечивающие только ступенчатое изменение скорости ведомого вала.
Наиболее близким к заявляемому по конструктивным особенностям и достигаемым результатам является устройство для передачи крутящего момента с переменным передаточным отношением, принятое в качестве прототипа [Авт. св. СССР №476763, МПК7 F 16 Н 3/16, БИ №25, 1975 г.].
Устройство-прототип содержит входной и выходной механизмы, основную и вспомогательную силовые передачи, соединенные вариатором, механизм для регулирования передаточного отношения.
Недостатком данного устройства является сложность, обусловленная наличием большого количества сопряженных между собой механизмов, снижающих общую надежность устройства, а также недостаточно высокие функциональные возможности, не позволяющие изменять передаточное отношение и реверс под нагрузкой.
Задача, на решение которой направлено заявляемое изобретение, – улучшение эксплуатационных характеристик, упрощение конструкции и повышение надежности за счет двухдискового фрикционного вариатора с соосными дисками на подвижной обойме.
Для решения поставленной задачи в управляемом приводе штангового скважинного насоса, содержащем входной и выходной механизмы, передачу, соединяющую их, устройство для регулирования передаточного отношения, в отличие от прототипа входной и выходной механизмы выполнены в виде соосных валов, на концах которых закреплены фрикционные колеса, передача, соединяющая их, выполнена в виде двухдискового фрикционного вариатора, причем диски которого соосны между собой, закреплены на подвижной обойме, имеющей возможность перемещения вдоль оси входного и выходного механизмов, а устройство для регулирования передаточного отношения выполнено в виде рычага, прямолинейно перемещающего подвижную обойму фрикционного вариатора.
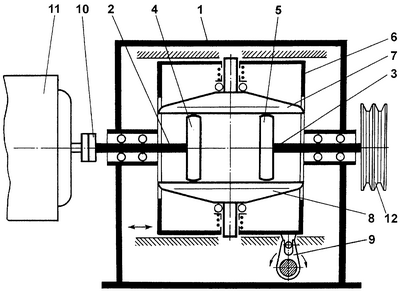
На чертеже показана схема заявляемого устройства.
В корпусе 1 размещены входной 2 и выходной 3 валы, на концах которых закреплены фрикционные колеса 4 и 5. Входной вал 2 и выходной вал 3 соосны между собой. В корпусе 1 также размещена подвижная обойма 6, на которой закреплены подпружиненные фрикционные диски 7 и 8. Подвижная обойма 6 имеет возможность прямолинейного перемещения вдоль оси входного вала 2 и выходного вала 3 с помощью рычага 9. Входной вал 2 соединен через муфту 10 с электродвигателем 11. На выходном валу 3 закреплен шкив ременной передачи 12.
Устройство работает следующим образом.
Электродвигатель 11 вращает входной вал 2 с фрикционным колесом 4 с постоянной угловой скоростью. С помощью фрикционных дисков 7 и 8 вращение передается на фрикционное колесо 5 и выходной вал 3. При этом частота вращения выходного вала 3 зависит от того, в каком положении относительно неподвижных в осевом направлении фрикционных валов 4 и 5 находится подвижная обойма 6 с фрикционными дисками 7 и 8. Расстояние между фрикционными колесами 4 и 5 установлено равным радиусу фрикционных дисков 7 и 8 и в процессе работы не изменяется. Перемещая с помощью рычага 9 подвижную обойму 6, можно изменять передаточное отношение привода. Через шкив 12 ременной передачи вращение передается на редуктор станка-качалки штангового скважинного насоса.
Предлагаемое устройство позволяет управлять скоростью движения штангового скважинного насоса в широких пределах как в ручном, так и в автоматическом режиме. Для того чтобы предлагаемый привод мог регулировать параметры движения насосной установки в автоматическом режиме, рычаг 9 соединяется с серводвигателем (не показан), который поворачивает его в соответствии с командой, полученной от электронной системы управления.
По сравнению с известными конструкциями управляемых редукторов заявляемое техническое решение обладает следующими преимуществами:
– простотой управления скоростью вращения выходного вала, обусловленной тем, что для изменения передаточного отношения достаточно повернуть рычаг;
– реверс и изменение скорости вращения осуществляются без разрыва кинематической цепи, что позволяет осуществлять регулирование под нагрузкой и повысить надежность.
Формула изобретения
Управляемый привод штангового скважинного насоса, содержащий входной и выходной механизмы, передачу, соединяющую их, устройство для регулирования передаточного отношения, отличающийся тем, что входной и выходной механизмы выполнены в виде соосных валов, на концах которых закреплены фрикционные колеса, передача выполнена в виде двухдискового фрикционного вариатора, диски которого соосны между собой, закреплены на подвижной обойме, имеющей возможность перемещения вдоль оси входного и выходного механизмов, а устройство для регулирования передаточного отношения выполнено в виде рычага, прямолинейно перемещающего подвижную обойму фрикционного вариатора.
РИСУНКИ
MM4A – Досрочное прекращение действия патента СССР или патента Российской Федерации на изобретение из-за неуплаты в установленный срок пошлины за поддержание патента в силе
Дата прекращения действия патента: 25.03.2007
Извещение опубликовано: 27.10.2008 БИ: 30/2008
|
|