|
|
(21), (22) Заявка: 2005108366/06, 24.03.2005
(24) Дата начала отсчета срока действия патента:
24.03.2005
(46) Опубликовано: 10.07.2006
(56) Список документов, цитированных в отчете о поиске:
SU 476763 A, 05.11.1975. RU 2246650 C2, 20.02.2005. SU 1809863 A, 15.04.1993. GB 2122694 A, 18.01.1984.
Адрес для переписки:
450000, г.Уфа, ул. К. Маркса, 12, УГАТУ, отдел интеллектуальной собственности, В.П. Ефремовой
|
(72) Автор(ы):
Ильясов Барый Галеевич (RU), Шаньгин Евгений Сергеевич (RU), Исбир Фади Алиевич (RU)
(73) Патентообладатель(и):
Государственное образовательное учреждение высшего профессионального образования “Уфимский государственный авиационный технический университет” (RU)
|
(54) ПРИВОД ШТАНГОВОГО СКВАЖИННОГО НАСОСА С БЕССТУПЕНЧАТЫМ РЕГУЛИРОВАНИЕМ СКОРОСТИ
(57) Реферат:
Устройство предназначено для использования в области добычи нефти для управления режимом возвратно-поступательного движения штангового насоса. Входной и выходной механизмы выполнены в виде соосных валов, на концах которых закреплены фрикционные колеса. Передача выполнена в виде фрикционного диска, установленного в подвижной обойме, имеющей возможность перемещения вдоль оси входного и выходного механизмов. Фрикционные колеса подпружинены роликами, размещены с обратной стороны фрикционного диска с возможностью прижатия к фрикционному диску. Устройство для регулирования передаточного отношения выполнено в виде винтового механизма с возможностью прямолинейного перемещения подвижной обоймы фрикционного диска. Достигается возможность управления скорости движения штангового скважинного насоса в широких пределах, как в ручном, так и в автоматическом режиме. 2 ил. 
Изобретение относится к оборудованию для добычи нефти и может быть использовано для управления режимом возвратно-поступательного движения штангового насоса.
Известен привод, переключаемый под нагрузкой, содержащий ведущий и ведомый коаксиальные валы и две пары фрикционных сцеплений, переключением которых последовательно соединяются две зубчатые передачи [Авт. св. СССР №1160943, МПК7 F 16 Н 3/08, БИ №21, 1985 г.].
Недостатком известного устройства является сложность конструкции, обусловленная наличием большого количества коаксиальных валов, зубчатых передач и фрикционных муфт, а также недостаточно широкие функциональные возможности, обеспечивающие только ступенчатое изменение скорости ведомого вала.
Наиболее близким к заявляемому по конструктивным особенностям и достигаемым результатам является устройство для передачи крутящего момента с переменным передаточным отношением, принятое в качестве прототипа [Авт. св. СССР №476763, МПК7 F 16 Н 3/16, БИ №25, 1975 г.].
Устройство-прототип содержит входной и выходной механизмы, основную и вспомогательную силовые передачи, соединенные вариатором, механизм для регулирования передаточного отношения.
Недостатком данного устройства является сложность, обусловленная наличием большого количества сопряженных между собой механизмов, снижающих общую надежность устройства, а также недостаточно высокие функциональные возможности, не позволяющие изменять передаточное отношение и реверс под нагрузкой.
Задача, на решение которой направлено заявляемое изобретение, – улучшение эксплуатационных характеристик, упрощение конструкции и повышение надежности за счет фрикционного диска, установленного в подвижной обойме.
Для решения поставленной задачи в приводе штангового скважинного насоса с бесступенчатым регулированием скорости, содержащем входной и выходной механизмы, передачу, соединяющую их, устройство для регулирования передаточного отношения, в отличие от прототипа входной и выходной механизмы выполнены в виде соосных валов, на концах которых закреплены фрикционные колеса, передача, выполнена в виде фрикционного диска, установленного в подвижной обойме, имеющей возможность перемещения вдоль оси входного и выходного механизмов, причем фрикционные колеса подпружинены роликами, размещены с обратной стороны фрикционного диска, прижаты к фрикционному диску, а устройство для регулирования передаточного отношения выполнено в виде винтового механизма с возможностью прямолинейного перемещения подвижной обоймы фрикционного диска.
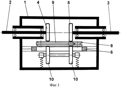
На фиг.1 показана схема устройства; на фиг.2 – то же, вид сверху.
В корпусе 1 размещены входной 2 и выходной 3 валы, на концах которых закреплены фрикционные колеса 4 и 5. Входной вал 2 и выходной вал 3 соосны между собой. В корпусе 1 также размещена подвижная обойма 6. Подвижная обойма 6 имеет возможность прямолинейного перемещения вдоль оси входного вала 2 и выходного вала 3 с помощью винтового механизма 7. На подвижной обойме 6 с помощью опорных роликов 8 закреплен с возможностью свободного вращения фрикционный диск 9. Рабочее усилие на фрикционных колесах 4 и 5 создают подпружиненные ролики 10, закрепленные на подвижной обойме 6.
Устройство работает следующим образом.
Входной вал 2 с фрикционным колесом 4 вращается с постоянной угловой скоростью электродвигателем (не показан). С помощью фрикционного диска 9 вращение передается на фрикционное колесо 5 и выходной вал 3. При этом частота вращения выходного вала 3 зависит от того, в каком положении относительно неподвижных в осевом направлении фрикционных валов 4 и 5 находится подвижная обойма 6 с фрикционным диском 9. Расстояние между фрикционными колесами 4 и 5 установлено равным радиусу фрикционного диска 9 и в процессе работы не изменяется. Перемещая с помощью винтового механизма 7 подвижную обойму 6 можно изменять передаточное отношение привода. Через выходной вал 3 ременной передачей вращение передается на редуктор станка-качалки штангового скважинного насоса.
Предлагаемое устройство позволяет управлять скоростью движения штангового скважинного насоса в широких пределах как в ручном, так и в автоматическом режиме. Для того, чтобы предлагаемый привод мог регулировать параметры движения насосной установки в автоматическом режиме, винтовой механизм 7 соединяется с серводвигателем (не показан), который поворачивает его в соответствии с командой, полученной от электронной системы управления.
По сравнению с известными конструкциями управляемых редукторов заявляемое техническое решение обладает следующими преимуществами:
– простотой управления скоростью вращения выходного вала, обусловленной тем, что для изменения передаточного отношения достаточно повернуть винт;
– реверс и изменение скорости вращения осуществляется без разрыва кинематической цепи, что позволяет осуществлять регулирование под нагрузкой и повысить надежность.
Формула изобретения
Привод штангового скважинного насоса с бесступенчатым регулированием скорости, содержащий входной и выходной механизмы, передачу, соединяющую их, устройство для регулирования передаточного отношения, отличающийся тем, что входной и выходной механизмы выполнены в виде соосных валов, на концах которых закреплены фрикционные колеса, передача выполнена в виде фрикционного диска, установленного в подвижной обойме, имеющей возможность перемещения вдоль оси входного и выходного механизмов, причем фрикционные колеса подпружинены роликами, размещены с обратной стороны фрикционного диска с возможностью прижатия к фрикционному диску, а устройство для регулирования передаточного отношения выполнено в виде винтового механизма, с возможностью прямолинейного перемещения подвижной обоймы фрикционного диска.
РИСУНКИ
MM4A – Досрочное прекращение действия патента СССР или патента Российской Федерации на изобретение из-за неуплаты в установленный срок пошлины за поддержание патента в силе
Дата прекращения действия патента: 25.03.2007
Извещение опубликовано: 27.10.2008 БИ: 30/2008
|
|