|
|
(21), (22) Заявка: 2003129564/06, 03.10.2003
(24) Дата начала отсчета срока действия патента:
03.10.2003
(43) Дата публикации заявки: 27.03.2005
(46) Опубликовано: 10.07.2006
(56) Список документов, цитированных в отчете о поиске:
RU 2070989 C1, 27.12.1996. RU 2209340 C1, 27.07.2003. RU 2204049 С2, 10.05.2003. SU 1236151 A1, 07.06.1986. SU 435842 A1, 15.07.1974. US 4424796 A, 10.01.1984.
Адрес для переписки:
414022, г.Астрахань, ул. Звездная, 47, к.5, Госэнергонадзор, В.Р. Рахматулину
|
(72) Автор(ы):
Рахматулин Виктор Раисович (RU), Чудаков Александр Александрович (RU)
(73) Патентообладатель(и):
Рахматулин Виктор Раисович (RU), Чудаков Александр Александрович (RU)
|
(54) ВЕТРОВОЙ ТЕПЛОГЕНЕРАТОР
(57) Реферат:
Изобретение относится к ветроэнергетике и может быть использовано для получения горячей воды для бытовых и технических нужд. Ветровой теплогенератор содержит ветродвигатель, редуктор, связанный через горизонтальные валы и электромагнитные муфты с теплогенератором и электрогенератором, эксцентрик, закрепленный на горизонтальном валу, контактирующий с плитой, коромысла с опорными стойками, соединительные штанги, перфорированные диски и мембрану. К нижней части плиты прикреплен шток, соединенный жестко с перфорированной мембраной, наружная часть которой с зазором размещена между кольцами, жестко прикрепленными к внутренней стенке теплогенератора. Между днищем и мембраной установлен электрический нагреватель. Между перфорированными дисками на штангах вертикально установлены теплоаккумулирующие капсулы, выполненные в виде полуцилиндров и скрепленные между собой дисками, внутренними окружностями жестко прикрепленными к поверхности капсул, а змеевик, установленный внутри теплогенератора по его образующей, через патрубки соединен с системой отопления. 2 з.п. ф-лы, 3 ил.
Изобретение относится к ветротеплоэнергетике и может быть использовано для получения горячей воды за счет преобразования механической энергии в тепловую для бытовых и технических нужд.
Известен калориметр с жидкостью, содержащий корпус, внутри которого погружена ось с вращающими лопатками и перегородками между ними (А.И.Гомонова, Пособие по физике, Учебник, Москва, Издательство МГУ, 1991, стр.173, рис.10.4).
Известный калориметр преобразовывает механическую энергию, поступающую от внешнего двигателя, в тепловую. Применяется в основном в лабораторной практике.
Известна ветроэнергетическая аккумулирующая установка Парахина И.Е., содержащая ветродвигатель с силовым валом, инерционный аккумулятор с приводным валом, электрический генератор и емкость, в которой плавает полный сосуд (Авторское свидетельство СССР 1195043, F 03 D 9/02, БИ №44, 1985 г.).
Известная установка, по замыслу автора, при наличии аккумулятора сглаживает колебания порывов ветра и предназначена в основном для обеспечения потребителей электроэнергией.
Известна теплоаккумулирующая капсула, содержащая герметичный корпус, заполненная теплоаккумулирующим составом, изменяющим свое агрегатное состояние в рабочем диапазоне температур (Патент РФ 2143646, F 24 H 7/00, БИ №36, 1999 г.).
Известно устройство для виброперемешивания жидких сред, содержащее вибропровод, коромысла с опорными стойками, соединительные штанги и перфорированные диски, размещенные в корпусе (Авторское свидетельство СССР 435842, B 01 f 11/00, БИ №26, 1974 г.).
Известное устройство предназначено для виброперемешивания жидких сред и в его конструкции не предусмотрено преобразования механической энергии в тепловую.
Технический результат, на достижение которого направлено изобретение, заключается в обеспечении возможности круглый год получать тепловую энергию в различных широтах России. При отсутствии необходимости в тепловой энергии (летом) ветровой теплогенератор может работать на получение электрической энергии.
Указанный технический результат достигается тем, что в ветровом теплогенераторе, содержащем ветродвигатель с силовым валом, редуктор, связанный через горизонтальные валы и электромагнитные муфты с теплогенератором и электрогенератором, эксцентрик, закрепленный на горизонтальном валу, контактирующий с плитой, коромысла с опорными стойками, соединительные штанги, перфорированные диски и мембрану, согласно изобретению к нижней части плиты прикреплен шток, соединенный жестко с перфорированной мембраной, наружная часть которой с зазором размещена между кольцами, жестко прикрепленными к внутренней стенке теплогенератора, а между днищем и мембраной установлен электрический нагреватель, электрически связанный через провода и щиток с электрогенератором и силовой сетью, причем между перфорированными дисками на штангах вертикально установлены теплоаккумулирующие капсулы, выполненные в виде полуцилиндров и скрепленные между собой дисками, внутренними окружностями жестко прикрепленными к поверхности капсул, а змеевик, установленный внутри теплогенератора по его образующей, через патрубки соединен с системой отопления. Перфорированные диски жестко прикреплены к штангам и имеют концентрические отверстия по своей поверхности, причем в среднем диске отверстия смещены на диаметр d по отношению к верхнему и нижнему дискам. Датчик вращения, установленный на силовом валу, электрически соединен с электромагнитными муфтами, установленными на горизонтальных валах.
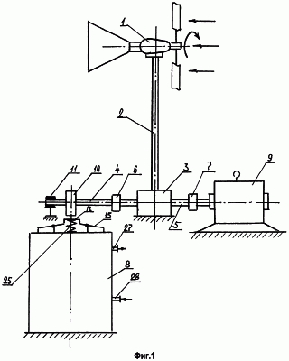
На чертежах изображена схема ветрового теплогенератора, где на Фиг.1 – общий вид, Фиг.2 – теплогенератор в разрезе и на Фиг.3 – теплоаккумулирующие капсулы, вид сверху.
Ветровой теплогенератор содержит ветродвигатель 1 с силовым валом 2, соединенный через редуктор 3 и горизонтальные валы 4 и 5, на которых установлены электромагнитные муфты 6 и 7 с теплогенератором 8 и электрогенератором 9. Электромагнитные муфты 6 и 7 соединены электрически с датчиком вращения, установленным на валу 2 (не показан). Эксцентрик 10, закрепленный на валу 4, между муфтой 8 и консольной опорой 11, контактирует с плитой 12. Перфорированные диски 13, размещенные горизонтально внутри теплогенератора 8, имеют концентрические отверстия (не показаны), через штанги 14 соединены с концами коромысел 15. Внутренние концы коромысел 15 через серьги прикреплены к плите 12, к нижней части которой прикреплен шток 16, соединенный жестко с перфорированной мембраной 17, имеющей концентрические отверстия (не показаны).
Наружная часть мембраны 17 с зазором размещена между кольцами 18 и 19, жестко прикрепленными к внутренней стенке теплогенератора 8. Между днищем 20 и мембраной 17 установлен электрический нагреватель 21, электрически связанный через провода и электрический щиток (не показаны) с электрогенератором 9 и силовой сетью.
На крышке 22 установлены опорные стойки 23 коромысел 15, контактирующие с ними втулками 24, имеющие свободное перемещение в вертикальной плоскости. Пружина 25 верхним концом контактирует с плитой 12, а нижним установлена на крышке 22.
Змеевик 26, установленный внутри теплогенератора 8 по его внутренней образующей, через патрубки 27 и 28 соединен, например, с системой отопления (не показана). Между перфорированными дисками 13 на штангах 14 вертикально установлены теплоаккумулирующие капсулы 29, заполненные теплоаккумулирующим составом, выполненные в виде полуцилиндров и скрепленные между собой дисками 30, внутренними окружностями жестко прикрепленными к поверхностям капсул 29, например, на сварке.
Диски 13 жестко прикреплены к штангам 14, имеют концентрические отверстия на своей поверхности. В среднем диске 13 отверстия смещены на диаметр d по отношению к верхнему и нижнему дискам 13. Теплогенератор 8 заполняется высоковязкой жидкостью, например веретенным маслом, до покрытия верхнего витка змеевика 26. Между уровнем залитого масла и крышкой 22 остается зазор «а» высотой не менее 4d (d – диаметр отверстий в дисках 13).
Датчик вращения может подавать команду как на одновременное включение муфт 6 и 7 для получения тепловой и электрической энергии, так и на раздельное. В случае сильных порывов ветра (ураган) датчик вращения отключает обе муфты 6 и 7 горизонтальных валов 4 и 5.
Ветровой теплогенератор работает следующим образом.
При появлении ветра достаточной силы вращается силовой вал 2 ветродвигателя 1. Датчик вращения дает сигнал включения электромагнитных муфт 6 и 7, и тем самым начинают вращение валы 4 и 5. Эксцентрик 10 воздействует своим кулачком на плиту 12 и тем самым приводит в действие механизм преобразования механической энергии в тепловую. Процесс преобразования происходит следующим образом
При опускании вниз плиты 12 шток 16 воздействует на мембрану 17, которая прогибается вниз, а ее наружная часть вдвигается в зазор между кольцами 18 и 19. Жидкость из-под мембраны 17 через концентрические отверстия вытесняется в верхнюю часть над мембраной 17.
Диски 13 вместе с капсулами 29 в этот момент переместятся вверх. Часть жидкости через отверстия в дисках перетечет вниз. Диски 30 на капсулах 29 поднимут часть объема жидкости вверх с возможным ее стоком с их поверхностей.
При уходе кулачка эксцентрика 10 с поверхности плиты 12 усилия мембраны 17 и пружины 25 возвратят систему преобразования в первоначальное положение (см. Фиг.2).
При периодическом опускании и подъеме (порядка 10 раз в минуту) мембраны 17, дисков 13 и 30 жидкость в теплогенераторе 8 будет нагреваться. Нагрев жидкости осуществляется за счет трения концов мембраны 17 о поверхности колец 18 и 19 и периодического перетока ее через отверстия в дисках 13 и мембраны 17, а также трения ее о поверхности дисков 30 капсул 29. Нагретая в теплогенераторе 8 жидкость (рабочая) передает тепло жидкости, циркулирующей через змеевик 26, присоединенный через патрубки 27 и 28 к системе отопления объекта. При отсутствии ветра капсулы 29 через поверхности дисков 30 начнут возвращать аккумулированное ими тепло рабочей жидкости и поддерживать ее температуру до требуемого уровня.
В этот период электрический нагреватель 21 через щиток автоматически переключается на получение электрической энергии из силовой сети до появления силы ветра достаточной величины.
Электрогенератор 9, при наличии ветра, подключен через щиток к электрическому нагревателю 21 и электрическому аккумулятору. Он может также использоваться автономно, т.е. снабжать электрической энергией потребителя (объекты фермерского хозяйства и др.)
Использование предлагаемого ветрового теплогенератора дает возможность круглый год получать тепловую энергию в различных широтах России. При отсутствии необходимости в тепловой энергии (летом) он может работать на получение электрической энергии.
Размещение змеевика внутри теплогенератора на внутренней его стенке позволяет теплоизоляцию его наружной стенки устанавливать с меньшей толщиной.
Формула изобретения
1. Ветровой теплогенератор, содержащий ветродвигатель с силовым валом, редуктор, связанный через горизонтальные валы и электромагнитные муфты с теплогенератором и электрогенератором, эксцентрик, закрепленный на горизонтальном валу, контактирующий с плитой, коромысла с опорными стойками, соединительные штанги, перфорированные диски и мембрану, отличающийся тем, что к нижней части плиты прикреплен шток, соединенный жестко с перфорированной мембраной, наружная часть которой с зазором размещена между кольцами, жестко прикрепленными к внутренней стенке теплогенератора, а между днищем и мембраной установлен электрический нагреватель, электрически связанный через провода и щиток с электрогенератором и силовой сетью, причем между перфорированными дисками на штангах вертикально установлены теплоаккумулирующие капсулы, выполненные в виде полуцилиндров и скрепленные между собой дисками, внутренними окружностями жестко прикрепленными к поверхности капсул, а змеевик, установленный внутри теплогенератора по его образующей, через патрубки соединен с системой отопления.
2. Ветровой теплогенератор по п.1, отличающийся тем, что перфорированные диски жестко прикреплены к штангам и имеют концентрические отверстия по своей поверхности, причем в среднем диске отверстия смещены на диаметр d по отношению к верхнему и нижнему дискам.
3. Ветровой теплогенератор по п.1 или 2, отличающийся тем, что датчик вращения, установленный на силовом валу, электрически соединен с электромагнитными муфтами, установленными на горизонтальных валах.
РИСУНКИ
MM4A – Досрочное прекращение действия патента СССР или патента Российской Федерации на изобретение из-за неуплаты в установленный срок пошлины за поддержание патента в силе
Извещение опубликовано: 10.08.2007 БИ: 22/2007
|
|