|
|
(21), (22) Заявка: 2004107038/06, 09.03.2004
(24) Дата начала отсчета срока действия патента:
09.03.2004
(43) Дата публикации заявки: 27.09.2005
(46) Опубликовано: 10.07.2006
(56) Список документов, цитированных в отчете о поиске:
SU 1745001 A1, 20.06.1996. RU 2149276 C1, 20.05.2000. RU 2145039 C1, 27.01.2000. US 4781019 A, 01.11.1988. JP 2002070648 A, 08.03.2002. WO 0112971 A1, 08.02.2001.
Адрес для переписки:
197082, Санкт-Петербург, ул. Красного курсанта, 16, Военно-космическая академия имени А.Ф. Можайского
|
(72) Автор(ы):
Беляев Борис Васильевич (RU), Великий Захар Сергеевич (RU), Ильич Дмитрий Владимирович (RU), Кузьминых Александр Владимирович (RU), Беляев Иван Борисович (RU)
(73) Патентообладатель(и):
Военно-космическая академия им. А.Ф. Можайского Министерства обороны РФ (RU)
|
(54) ЖИДКОСТНЫЙ РАКЕТНЫЙ ДВИГАТЕЛЬ
(57) Реферат:
Изобретение относится к ракетно-космической технике. Жидкостный ракетный двигатель имеет камеру, параллельно линии подачи горючего на охлаждение которой установлена обводная магистраль с регулятором расхода, перепускающая часть горючего в камеру, минуя тракт охлаждения. Изобретение обеспечивает увеличение ресурса камеры двигателя за счет снижения термических напряжений во внутренней стенке. 1 ил.
Изобретение относится к ракетно-космической технике и двигателестроению и может быть применено при создании жидкостных ракетных двигателей многоразового использования.
Известен ракетный двигатель с регенеративной системой охлаждения камеры, внутри каждого канала охлаждения которой образовано по меньшей мере одно выступающее ребро, предназначенное для усиления теплоотвода от стенки камеры (патент США №4781019, МПК F 02 К 9/00).
Однако данное техническое решение не позволяет устранить появление термических напряжений во внутренней стенке камеры, вызванных изменением теплового состояния стенок камеры из-за регулирования двигателя по каналам тяги и соотношения компонентов.
Наиболее близким по технической сути (прототипом) к предлагаемому изобретению является жидкостный ракетный двигатель (см. М.И.Шевелюк “Теоретические основы проектирования жидкостных ракетных двигателей”. – М.: Оборонгиз, 1960, с.398, фиг.9.1), содержащий камеру с регенеративной системой охлаждения и поясом жидкостной завесы, турбонасосную систему подачи компонентов в камеру и газогенератор, систему управления с регулятором тяги и регулятором соотношения компонентов.
Хотя в данном двигателе и обеспечивается тепловой режим работы конструкции камеры за счет использования поясов жидкостной завесы внутренней стенки горючим, однако камера этого двигателя не защищена от возникающих термических напряжений во внутренней стенке, вызванных изменением теплового состояния конструкции камеры из-за регулирования двигателя в полете по каналам тяги и соотношения компонентов. В результате совместного деформирования стенок камеры в их материале возникают большие термические напряжения, которые способны вызывать многократные нагружения конструкции и увеличить долю накапливаемых за каждый цикл повреждений, что приводит к резкому падению ресурса камеры.
Задачей изобретения является создание жидкостного ракетного двигателя, обеспечивающего получение технического результата, состоящего в увеличении ресурса камеры за счет снижения термических напряжений во внутренней стенке, вызванных регулированием двигателя.
Этот технический результат в жидкостном ракетном двигателе, содержащем камеру с регенеративной системой охлаждения и поясом жидкостной завесы, турбонасосную систему подачи компонентов в камеру и газогенератор, систему управления с регулятором тяги и регулятором соотношения компонентов, достигается тем, что в нем параллельно линии подачи горючего на охлаждение камеры установлена обводная магистраль с регулятором расхода, перепускающая часть горючего в камеру, минуя тракт охлаждения.
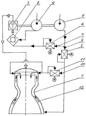
На схеме изображен предлагаемый жидкостный ракетный двигатель.
Двигатель состоит из камеры 1 с регенеративной системой охлаждения и поясом жидкостной завесы, турбонасосного агрегата, включающего газогенератор 2, турбину 3, насос окислителя 4, насос горючего 5, системы управления с регулятором тяги 6, расположенными в линии 7 подачи горючего в газогенератор 3, и с регулятором соотношения компонентов 8, расположенными в линии 9 подачи горючего на охлаждение камеры 1, параллельно которой установлена обводная магистраль 10 с регулятором расхода 11, перепускающая часть горючего в камеру 1, минуя тракт охлаждения 12.
Двигатель работает следующим образом. В процессе функционирования двигатель отрабатывает многочисленные команды от системы управления по регулированию тяги и соотношению компонентов, которые выполняются регулятором тяги 6 и регулятором соотношения компонентов 8. Регулирование двигателя изменяет расходы и температуру потоков продуктов сгорания в камере 1 и охлаждающей жидкости (горючего) в тракте охлаждения 12, что вызывает отклонение от установившихся значений условий теплоподвода к внутренней стенке камеры 1 и условий теплоотвода от нее, что приводит к изменению температур внутренней и наружной стенок камеры. В этот момент включается в работу регулятор расхода 11 в обводной магистрали 10, перепускающей часть горючего в камеру 1, минуя тракт охлаждения 12. Регулятор расхода 11 работает в зависимости от команд системы управления, формируемых таким образом, чтобы парировать изменения условий теплоподвода к внутренней стенке, вызванные регулированием двигателя, изменением расхода горючего в обводной магистрали. Это изменение расхода в обводной магистрали приводит к изменению расхода горючего в каналах тракта охлаждения, в результате чего изменяется величина коэффициента теплоотдачи в охлаждающую жидкость, что в целом изменяет тепловой поток в конструкцию камеры и, соответственно, изменяет температуру внутренней (огневой) стенки камеры. Из вышеизложенного видно, что регулятор расхода 11 в обводной магистрали 10 осуществляет стабилизацию теплового и напряженного состояния конструкции камеры 1, что уменьшает скачки термических напряжений во внутренней стенке камеры, исключает многократные нагружения конструкции и уменьшает накапливаемые повреждения во внутренней стенке, что в целом увеличивает ресурс камеры двигателя.
Таким образом, в результате работы предлагаемого регулятора расхода в обводной магистрали, перепускающей часть горючего в камеру, минуя тракт охлаждения, отрицательное воздействие термических напряжений, вызванных регулированием двигателя по тяге и соотношению компонентов, будет сведено до незначительного уровня путем стабилизации теплового и напряженного состояния конструкции камеры. Это обеспечивает получение технического результата, заключающегося в снижении термических напряжений во внутренней стенке и увеличении ресурса камеры жидкостного ракетного двигателя.
Формула изобретения
Жидкостный ракетный двигатель, содержащий камеру с регенеративной системой охлаждения и поясом жидкостной завесы, турбонасосную систему подачи компонентов в камеру и газогенератор, систему управления с регулятором тяги и регулятором соотношения компонентов, отличающийся тем, что параллельно линии горючего на охлаждение камеры установлена обводная магистраль с регулятором расхода, перепускающая часть горючего в камеру сгорания, минуя тракт охлаждения.
РИСУНКИ
MM4A – Досрочное прекращение действия патента СССР или патента Российской Федерации на изобретение из-за неуплаты в установленный срок пошлины за поддержание патента в силе
Извещение опубликовано: 10.06.2008 БИ: 16/2008
|
|