|
|
(21), (22) Заявка: 2004132552/03, 10.11.2004
(24) Дата начала отсчета срока действия патента:
10.11.2004
(46) Опубликовано: 10.07.2006
(56) Список документов, цитированных в отчете о поиске:
RU 2024729 C1, 15.12.1994. RU 2065916 C1, 27.08.1996. SU 1435755 A1, 07.11.1988. SU 1645443 A1, 30.04.1991. SU 1703806 A1, 07.11.1992. RU 2024723 C1, 15.12.1994. RU 2042777 C1, 27.08.1995. RU 2108441 C1, 10.04.1998. RU 2110664 C1, 10.05.1998.
Адрес для переписки:
423300, Республика Татарстан, г. Азнакаево, ул. Нефтяников, 24, НГДУ “Азнакаевнефть”, нач. тех. отд.
|
(72) Автор(ы):
Нуриев Ильяс Ахматгалиевич (RU), Андронов Сергей Николаевич (RU), Нурмухаметов Рафаиль Саитович (RU), Хисамов Раис Салихович (RU), Хазиев Рафаэль Фаритович (RU), Андронов Юрий Сергеевич (RU)
(73) Патентообладатель(и):
Открытое акционерное общество “Татнефть” им. В.Д. Шашина (RU)
|
(54) СПОСОБ ВСКРЫТИЯ ПЛАСТОВ И УСТРОЙСТВО ДЛЯ ЕГО ОСУЩЕСТВЛЕНИЯ
(57) Реферат:
Изобретение относится к буровой технологии и технике сооружения скважин различного назначения и может найти применение при вскрытии флюидонасыщенных пластов с различными пластовыми давлениями, в том числе и с аномально низким пластовым давлением. Техническим результатом изобретения является повышение надежности и эффективности бурения скважин при вскрытии поглощающих пластов. Для этого при вскрытии пластов до кровли проводят вращение и осевую подачу компоновки с долотом и подачу промывочной жидкости через внутреннюю полость компоновки на забой. Затем спускают и цементируют обсадную колонну с клиновым посадочным кольцом в башмачной части. Продолжают вскрытие с подачей промывочной жидкости через внутреннюю полость компоновки на забой до пласта с частичным или полным поглощением промывочной жидкости. При вскрытии пласта с частичным или полным поглощением промывочной жидкости разобщают затрубное пространство скважины выше пласта с частичным или полным поглощением промывочной жидкости. Подачу всего потока промывочной жидкости ведут через внутреннюю полость компоновки в затрубное пространство скважины выше места разобщения при одновременном создании в затрубном пространстве ниже места разобщения пониженного давления и депрессии на пласт и эжектировании жидкости со шламом с забоя через внутреннюю полость компоновки в затрубное пространство выше места разобщения, перемешивании с промывочной жидкостью и направлении к устью скважины. Устройство для осуществления способа включает долото, наддолотный переводник, эжекторный насос и буровые трубы. Между наддолотным переводником и эжекторным насосом установлена полированная труба с сальниковым разобщающим узлом. В башмачной части обсадной колонны установлено клиновое посадочное кольцо. Зона разрежения эжекторного насоса сообщена с внутренней полостью долота, наддолотного переводника и полированной трубы. Зона выброса жидкости из эжекторного насоса сообщена с затрубным пространством и расположена выше сальникового разобщающего узла. 2 с.п. ф-лы, 1 ил.
Изобретение относится к нефтяной промышленности и может найти применение при вскрытии флюидонасыщенных пластов с различными пластовыми давлениями, в том числе и с аномально низким пластовым давлением.
Известен способ бурения скважины, включающий вращение и осевую подачу компоновки с долотом и подачу промывочной жидкости из внутренней полости компоновки через долото на забой, при этом в зоне поглощения промывочной жидкости часть потока промывочной жидкости из внутренней полости компоновки направляют в затрубное пространство над долотом (Патент РФ №2024723, кл. Е 21 В 21/00, опубл. 15.12.94).
К недостаткам этого способа относится ненадежность работы в зонах поглощения промывочной жидкости, особенно интенсивного ухода промывочной жидкости, т. к. вдавливаемая в проницаемые стенки скважины фильтрационная корка не приводит к закупориванию раскрытых каналов поглощающих пород.
Наиболее близким к предлагаемому изобретению по технической сущности является способ бурения скважины, включающий вращение и осевую подачу компоновки с долотом и подачу промывочной жидкости через внутреннюю полость компоновки на забой, при этом в зоне поглощения промывочной жидкости подают весь поток промывочной жидкости в затрубное кольцевое пространство над долотом (Патент РФ №2024729, кл. Е 21 В 21/00, опубл. 15.12.94 – прототип).
К недостаткам известного способа относится техническая сложность практической реализации из-за высокой вероятности прихвата долота в шламовом “стакане”, который его полностью перекрывает.
В изобретении решается задача повышения надежности и эффективности технологии бурения скважин, в частности при вскрытии поглощающих пластов.
Задача решается тем, что в способе вскрытия пластов, включающем вращение и осевую подачу компоновки с долотом и подачу промывочной жидкости через внутреннюю полость компоновки на забой, в зоне продуктивного пласта подачу всего потока промывочной жидкости в затрубное пространство скважины согласно изобретению вскрытие с подачей промывочной жидкости через внутреннюю полость компоновки на забой ведут до кровли продуктивных пластов, не вскрывая их, спускают и цементируют обсадную колонну с клиновым посадочным кольцом в башмачной части, продолжают вскрытие с подачей промывочной жидкости через внутреннюю полость компоновки на забой до продуктивного пласта, при вскрытии продуктивного пласта разобщают затрубное пространство скважины выше продуктивного пласта, подачу всего потока промывочной жидкости ведут через внутреннюю полость компоновки в затрубное пространство скважины выше места разобщения, одновременно создают в затрубном пространстве ниже места разобщения пониженное давление и депрессию на продуктивный пласт и эжектируют жидкость со шламом с забоя через внутреннюю полость компоновки в затрубное пространство выше места разобщения, перемешивают с промывочной жидкостью и направляют к устью скважины.
Известна компоновка для бурения скважины, включающая переводники бурильной колонны и долота. В боковой поверхности переводника установлена разрушаемая мембрана, а ниже нее – седло и запорный элемент с центральными отверстиями (Патент РФ №2024723, кл. Е 21 В 21/00, опубл. 15.12.94).
При бурении в зоне с поглощением промывочной жидкости запорный элемент забрасывают в бурильную колонну. Повышением давления разрушают мембрану и часть потока направляют через боковое отверстие переводника. На забое происходит накапливание шлама и образование густой смеси шлама и раствора. Калибрующие элементы долота вдавливают твердые частицы шлама и смеси в стенку скважины. Происходит закупоривание пор пласта, предотвращающее поглощение промывочной жидкости.
Недостатком известного устройства является ненадежность работы в зонах поглощения промывочной жидкости, особенно интенсивного ухода промывочной жидкости, т.к. вдавливаемая в проницаемые стенки скважины фильтрационная корка не приводит к закупориванию раскрытых каналов поглощающих пород.
Наиболее близким к предлагаемому изобретению по технической сущности является устройство для бурения скважин, включающее буровое долото с промывочным каналом, наддолотный переводник с радиальными и осевыми каналами, с размещенным в его полости струйным насосом и соосно установленный в полости переводника патрубок с размещенным в нем шаровым вибратором, состоящим из шарового бойка и наковальни, и узел осевого разъединения бурильной колонны (Патент РФ №2065916, кл. Е 21 В 10/18, опубл. 27.08.1996 – прототип).
Известное устройство обеспечивает повышенные ударные нагрузки на породу, однако в зонах поглощения промывочной жидкости устройство работает ненадежно из-за ухода промывочной жидкости в пласт и ослабления эффекта от шарового вибратора.
В изобретении решается задача повышения надежности и эффективности бурения скважин при вскрытии поглощающих пластов.
Задача решается тем, что устройство для осуществления вскрытия пластов, включающее долото, наддолотный переводник, эжекторный насос и бурильные трубы, согласно изобретению дополнительно содержит полированную трубу с сальниковым разобщающим узлом, установленные между наддолотным переводником и эжекторным насосом, и клиновое посадочное кольцо, установленное в башмачной части обсадной колонны, при этом зона разрежения эжекторного насоса сообщена с внутренней полостью долота, наддолотного переводника и полированной трубы, зона выброса жидкости из эжекторного насоса сообщена с затрубным пространством и расположена выше сальникового разобщающего узла.
Сущность изобретения
При вскрытии продуктивных пластов в условиях частичного или полного поглощения промывочной жидкости происходит неоправданный расход промывочной жидкости и загрязнение продуктивного пласта промывочной жидкостью и продуктами бурения. Существующие технические решения не позволяют надежно и эффективно вскрывать поглощающие пласты с обеспечением отсутствия поглощения промывочной жидкости и сохранения коллекторских свойств. В предложенном способе и устройстве решается задача повышения надежности и эффективности бурения скважин при вскрытии поглощающих пластов. Задача решается следующим образом.
При вскрытии пластов вначале бурят скважину до кровли пластов по классической технологии, т.е. проводят вращение и осевую подачу компоновки с долотом и подачу промывочной жидкости через внутреннюю полость компоновки на забой. В скважину спускают и цементируют обсадную колонну с клиновым посадочным кольцом в башмачной части. Продолжают вскрытие с подачей промывочной жидкости через внутреннюю полость компоновки на забой до пласта с частичным или полным поглощением промывочной жидкости. При вскрытии пласта с частичным или полным поглощением промывочной жидкости извлекают из скважины прежнюю компоновку и спускают новую.
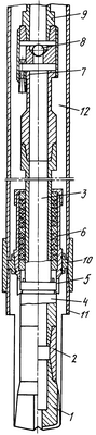
Новая компоновка представлена на чертеже.
Компоновка включает долото 1, наддолотный переводник 2, полированную трубу 3, ниппель 4, цанговое устройство 5, сальниковый узел 6, эжекторный насос 7, шар 8, утяжеленные трубы и бурильные трубы 9, клиновое посадочное кольцо 10, установленное в башмачной части обсадной колонны 11.
Ниппель 4, цанговое устройство 5, сальниковый узел 6 и клиновое посадочное кольцо 10 образуют разобщающее устройство.
Зона разрежения эжекторного насоса 7 сообщена с внутренней полостью долота 1, наддолотного переводника 2 и полированной трубы 3. Зона выброса жидкости из эжекторного насоса 7 сообщена с затрубным пространством 12 и расположена выше сальникового узла 6.
Вскрытие пласта осуществляют следующим образом.
Долото 1 плавно, с малой скоростью, пропускают через клиновое посадочное кольцо и подводят к забою скважины. В это время сальник 6 садится в клиновое посадочное кольцо 10, установленное в башмачной части обсадной колонны. При касании сальникового узла 6 с клиновым посадочным кольцом 10 и создании нагрузки 0,3-0,5 тонн цанговое устройство 5 освобождает сальниковый узел 6. Цанговое устройство необходимо для удержания сальникового узла 6 в неподвижном (зафиксированном) относительно полированной трубы 3 состоянии при спуске бурового инструмента и создания первоначального уплотнения зоны контакта “клиновое посадочное кольцо 10 – сальниковый узел 6”. Происходит разобщение затрубного пространства 12 скважины выше продуктивного пласта с частичным или полным поглощением промывочной жидкости. Создают осевую нагрузка на долото 1-3 тонны путем разгрузки веса бурового инструмента. При этой нагрузке происходит посадка сальникового узла 6 в клиновое посадочное кольцо 10, цанговое устройство 5 освобождается. После разобщения затрубного пространства 12 сбрасывают шар 8, перекрывая доступ промывочной жидкости к долоту 1. Промывочную жидкость по бурильным трубам 9 подают к эжекторному насосу 7. Производят вращение и подачу компоновки с долотом 1 с одновременной подачей промывочной жидкости через внутреннюю полость колонны бурильных труб 9 и эжекторный насос 7 в затрубное пространство 12. Герметичность зоны контакта “клиновое посадочное кольцо – сальниковый узел” проверяют путем контроля за объемом закачиваемой в скважину и выходящей из скважины промывочной жидкости. Начинают бурение (углубление) скважины. Подачу всего потока промывочной жидкости ведут через внутреннюю полость компоновки в затрубное пространство 12 скважины выше места разобщения при одновременном создании в затрубном пространстве ниже места разобщения пониженного давления, депрессии на пласт и эжектировании жидкости со шламом с забоя через внутреннюю полость компоновки в затрубное пространство 12 выше места разобщения. При истечении жидкости с высокой скоростью из насадки (сопла) эжекторного насоса 7 в ее конечном сечении и соответственно в затрубном пространстве 12 ниже клинового посадочного кольца 10 образуется зона пониженного давления. Создается депрессия на пласт, которая также создает прижимное усилие на сальниковом узле 6, уплотняющее зону контакта “клиновое посадочное кольцо 10 – сальниковый узел 6”. Жидкость со шламом эжектируется с забоя через внутреннюю полость долота 1, наддолотного переводника 2, полированной трубы 3 и эжекторный насос 7 и поступает в затрубное пространство 12, где перемешивается с промывочной жидкостью и проходит к устью скважины. Удаление выбуренной породы вместе с пластовой жидкостью производит эжекторный насос 7. После окончания долбления на длину полированной трубы 3 производят промывку скважины и подъем инструмента. При необходимости дальнейшего углубления скважины после подъема инструмента наращивают следующую бурильную трубу 9 ниже полированной трубы 3, спускают компоновку, скважину углубляют, повторяя операции. После срыва сальника 6 происходит поглощение части столба промывочной жидкости до статического уровня. Однако при следующем долблении поглощенная жидкость будет извлечена эжекторным насосом 7, т.е. накопительного загрязнения пласта промывочной жидкостью не будет, поскольку после каждого порционного поглощения происходит очистка пласта от этой порции инородной жидкости. К тому же в зависимости от объема притока пластовой жидкости, варьируя временем промывки скважины, можно непосредственно контролировать выход, параметры, количество и качество пластовой жидкости, т.е. производить опробование каждого вскрытого интервала. Сопровождение бурения газовым и механическим каротажом даст возможность определить оптимальную глубину вскрытия, параметры пласта. После окончания углубления скважины (вскрытия пласта) последовательно по мере подъема инструмента разбирают:
1. бурильные трубы, утяжеленные бурильные трубы 9;
2. эжекторный насос 7;
3. полированную бурильную трубу вместе с сальниковым узлом 6 и цанговым устройством 5;
4. наддолотный переводник 2;
5. долото 1.
Техническим преимуществом предлагаемого способа и устройства по сравнению с прототипом является эффективная очистка забоя от выбуриваемого шлама, повышающая надежность буровых работ при прохождении поглощающих зон. Создаются гидродинамически оптимальные условия бурения скважины при отрицательном или на балансе пластового и забойного давлений. Повышается качество первичного вскрытия продуктивных отложений. В результате этого достигается сохранение коллекторских свойств продуктивного пласта.
При вскрытии коллектора, сложенного чередованием проницаемых и непроницаемых пластов, вскрытие первого проницаемого пласта определится при бурении прямой промывкой по уходу промывочной жидкости. После перехода на вскрытие пласта предложенным способом выбуренная порода будет удаляться с забоя пластовой жидкостью, поднимаясь по бурильным трубам до эжекторного насоса, а далее, проходя через насадку, поднимется по затрубному пространству на дневную поверхность. В зоне разрежения движение пластовой жидкости происходит как при обратной промывке – из кольцевого пространства в трубное. При входе долота в плотный пласт, где нет пластовой жидкости, но верхний открытый пласт-коллектор будет продолжать “снабжать” забой пластовой жидкостью, а по мере вскрытия дополнительных нижележащих проницаемых пластов будет происходить увеличение притока пластовой жидкости и улучшение промывки забоя скважины. При наличии обильного притока из пласта возможна замена промывочной (циркулирующей через эжекторный насос) жидкости полностью на пластовую при условии безопасности такой замены, а в отрицательном случае необходимо решить проблему сепарирования и утилизации выходящей пластовой жидкости, которая будет смешиваться с промывочной жидкостью и циркулировать совместно с ней.
Пример конкретного выполнения
Бурят нефтедобывающую скважину на серпуховский горизонт, проектная глубина – 930 м. Башкирский горизонт – 876-902 м, серпуховский – 902-930 м. Обсадную колонну диаметром 168 мм спускают на глубину 889 м. Бурение до 889 м производят турбинным способом с использованием турбобура 3ТСШ1-195 с долотом диаметром 215,9 мм, утяжеленных бурильных труб диаметром 165 мм, длиной 75 м и бурильных труб диаметром 127 мм с подачей промывочной жидкости через внутреннюю полость компоновки на забой. Режим бурения:
1. Нагрузка на долото 14-18 тонн;
2. Расход промывочной жидкости 27-30 л/сек;
3. Давление на стояке 10-12 МПа.
При достижении глубины 889 м производят геофизические исследования. Спускают и цементируют обсадную колонну диаметром 168 мм с клиновым посадочным кольцом на глубине 888 м в башмачной части. Башмак эксплутационной колонны расположен на глубине 889 м. После ожидания затвердевания цемента, определения качества цементирования спускают компоновку: долото 143.7СЗ ГАУ R-290, утяжеленные бурильные трубы диаметром 108 мм длиной 75 м, остальное – бурильные трубы диаметром 89 мм. Долото пропускают через клиновое посадочное кольцо и разбуривают башмак обсадной колонны с подачей промывочной жидкости (полимерного раствора) плотностью 1050 кг/м3 через внутреннюю полость компоновки на забой. Далее продолжают вскрытие пласта (бурение скважины) с подачей промывочной жидкости плотностью 1050 кг/м3 через внутреннюю полость компоновки на забой до начала поглощения промывочной жидкости. Полный уход промывочной жидкости встречен на глубине 919 м. Извлекают рабочую компоновку, собирают и спускают в скважину компоновку согласно чертежу. При вскрытии пласта с полным поглощением промывочной жидкости разобщают затрубное пространство скважины выше пласта с полным поглощением промывочной жидкости. Подачу всего потока промывочной жидкости ведут через внутреннюю полость компоновки в затрубное пространство скважины выше места разобщения при одновременном создании в затрубном пространстве ниже места разобщения пониженного давления, депрессии на пласт и эжектировании жидкости со шламом с забоя через внутреннюю полость компоновки в затрубное пространство выше места разобщения, перемешивании с промывочной жидкостью и направлении к устью скважины. Режим бурения:
1. Нагрузка на долото 2-5 тонн;
2. Расход промывочной жидкости 10-12 л/сек;
3. Давление на стояке 14-15 МПа;
4. Частота вращения долота 60 об/мин.
После углубления скважины (вскрытия пласта) на длину полированной трубы до глубины 930 м контроль производят как по общей мере бурового инструмента, так и с момента посадки сальникового узла 6 на клиновое посадочное кольцо 10, фиксируемого по гидравлическому индикатору веса в момент отцепления цангового устройства 5. Производят подъем компоновки, проводят геофизические исследования. Скважину переводят на нефть, осваивают и передают в эксплуатацию.
В результате удается вскрыть продуктивные пласты без кольматации призабойной зоны буровым раствором. Практика применения предложенного технического решения показывает высокую надежность (отсутствие отказов) при бурении скважин с поглощающими пластами.
Применение предложенного способа и устройства позволит повысить надежность и эффективность бурения скважин при вскрытии поглощающих пластов.
Формула изобретения
1. Способ вскрытия пластов, включающий вращение и осевую подачу компоновки с долотом и подачу промывочной жидкости через внутреннюю полость компоновки на забой, в зоне продуктивного пласта подачу всего потока промывочной жидкости в затрубное пространство скважины, отличающийся тем, что вскрытие с подачей промывочной жидкости через внутреннюю полость компоновки на забой ведут до кровли продуктивных пластов, не вскрывая их, спускают и цементируют обсадную колонну с клиновым посадочным кольцом в башмачной части, продолжают вскрытие с подачей промывочной жидкости через внутреннюю полость компоновки на забой до продуктивного пласта, при вскрытии продуктивного пласта разобщают затрубное пространство скважины выше продуктивного пласта, подачу всего потока промывочной жидкости ведут через внутреннюю полость компоновки в затрубное пространство скважины выше места разобщения, одновременно создают в затрубном пространстве ниже места разобщения пониженное давление и депрессию на продуктивный пласт и эжектируют жидкость со шламом с забоя через внутреннюю полость компоновки в затрубное пространство выше места разобщения, перемешивают с промывочной жидкостью и направляют к устью скважины.
2. Устройство для осуществления вскрытия пластов, включающее долото, наддолотный переводник, эжекторный насос и буровые трубы, отличающееся тем, что дополнительно содержит полированную трубу с сальниковым разобщающим узлом, установленные между наддолотным переводником и эжекторным насосом, и клиновое посадочное кольцо, установленое в башмачной части обсадной колонны, при этом зона разрежения эжекторного насоса сообщена с внутренней полостью долота, наддолотного переводника и полированной трубы, зона выброса жидкости из эжекторного насоса сообщена с затрубным пространством и расположена выше сальникового разобщающего узла.
РИСУНКИ
MM4A – Досрочное прекращение действия патента СССР или патента Российской Федерации на изобретение из-за неуплаты в установленный срок пошлины за поддержание патента в силе
Дата прекращения действия патента: 11.11.2007
Извещение опубликовано: 10.07.2009 БИ: 19/2009
|
|