|
|
(21), (22) Заявка: 2004138461/12, 28.12.2004
(24) Дата начала отсчета срока действия патента:
28.12.2004
(46) Опубликовано: 10.07.2006
(56) Список документов, цитированных в отчете о поиске:
DE 19654017 A1, 25.06.1998. RU 2240416 C2, 20.11.2004. GB 2251009 A, 24.06.1992. EP 0409453 A1, 23.01.1991.
Адрес для переписки:
143900, Московская обл., г. Балашиха, Западная промзона, ш. Энтузиастов, 7, ООО НПП “Модуль”
|
(72) Автор(ы):
Свиридов Николай Васильевич (RU), Тепляков Николай Николаевич (RU), Муслов Владимир Евгеньевич (RU)
(73) Патентообладатель(и):
ООО “Научно-производственное предприятие “МОДУЛЬ” (RU)
|
(54) ЖЕЛЕЗОБЕТОННАЯ ПАНЕЛЬ
(57) Реферат:
Изобретение относится к области строительства, в частности к ограждающим конструкциям для банковских защитных кабин и хранилищ банковских ценностей. Железобетонная панель включает заполненный бетоном арматурный каркас, выполненный из продольных и поперечных стержней, жестко связанных между собой. Панель снабжена прямоугольным выступом, размещенным, по меньшей мере, на одной боковой стороне. Одна из боковых плоскостей выступа является продолжением плоскости панели, а толщина выступа равна половине ее толщины. Арматурный каркас содержит, по меньшей мере, три продольных стержня и установлен таким образом, что один из крайних продольных стержней размещен в основании выступа напротив образуемого им угла, а концы поперечных стержней проходят в теле выступа. Панель снабжена закладными элементами, которые выполнены в виде полос и установлены на концах панели с наружной и внутренней сторон параллельно торцам. Технический результат, получаемый в результате изготовления железобетонных панелей согласно настоящему изобретению, заключается в снижении металлоемкости панели примерно в полтора раза, что в результате значительно снижает себестоимость ее изготовления. 8 з.п. ф-лы, 14 ил.
Изобретение относится к области строительства, в частности к ограждающим конструкциям для банковских защитных кабин и хранилищ банковских ценностей.
При возведении банковских защитных кабин и аналогичных сооружений необходимо обеспечивать требуемый класс устойчивости к взлому и одновременно пулестойкость ограждающих конструкций.
Известно ограждение защищаемого помещения для хранения ценностей в виде монолитной конструкции из бетона, дисперсно армированного стальными фибрами, включающей арматурные сетки, ячейки которых смещены друг относительно друга (RU 2111319 А, 20.05.1998).
Данная ограждающая конструкция обеспечивает требуемый класс устойчивости к взлому, однако, возведение монолитных конструкций сопряжено с большими трудозатратами, которые включают установку опалубки, установку по месту арматуры, заполнение ее бетоном и уплотнение бетона при помощи вибраторов различных конструкций, что весьма затруднительно при размещении защитных кабин или хранилищ ценностей внутри готовых зданий.
Известны панели для хранилищ, сейфов и дверей, содержащие наружную, внутреннюю и промежуточную плиты и демпфирующий теплоизоляционный материал (RU 2042029 С1, 20.08.1995).
Возведение хранилищ ценностей из панелей заводской готовности более технологично по сравнению с монолитным способом. Однако обычно подобные панели имеют большую массу из-за больших габаритов и повышенного процента армирования, поэтому их перемещение в замкнутом пространстве готового здания представляет значительные трудности, так как в большинстве случаев должно производиться вручную из-за невозможности применения подъемно-транспортной техники.
Известна панель для банковских хранилищ, сейфов и бронированных дверей, включающая металлическую стенку, металлическое обрамление, выполненное по периметру панели, арматурный каркас, выполненный, по меньшей мере, из одной решетки, торцы элементов которой приварены встык к обрамлению, и заполнитель, в которой часть продольных элементов металлического обрамления выполнена из швеллера и/или уголка, при этом арматурный каркас содержит, по меньшей мере, две решетки, причем крайние продольные элементы каждой решетки арматурного каркаса приварены к продольным элементам обрамления по всей длине, а внутреннее пространство панели заполнено бетоном (RU 2240416 А, 20.11.2004).
Недостатком данной конструкции является высокая металлоемкость и, следовательно, высокая стоимость.
Ближайшим аналогом данного изобретения является железобетонная панель для банковских защитных кабин и хранилищ банковских ценностей, включающая заполненный бетоном арматурный каркас, выполненный из продольных и поперечных стержней, жестко связанных между собой, и имеющая прямоугольный выступ, размещенный, по меньшей мере, на одной боковой стороне, одна из боковых плоскостей выступа является продолжением плоскости панели, а толщина выступа равна половине ее толщины, при этом концы поперечных стержней проходят в теле выступа (DE 19654017 А1, 25.06.1998).
Данная конструкция имеет высокую прочность за счет пространственной жесткости, обеспечиваемой арматурным каркасом, металлическими стенками и обрамлением, что обеспечивает требуемый класс устойчивости к взлому, но при этом стык панелей не обладает пулестойкостью; при использовании панелей данной конструкции для возведения защитных кабин и подобных сооружений требуется установка дополнительного металлического нащельника на стык панелей для обеспечения пулестойкости сооружения, что еще больше увеличивает металлоемкость конструкции.
Техническим результатом при реализации данного изобретения является снижение металлоемкости железобетонной панели при обеспечении I-IV класса устойчивости к взлому и пулестойкости до 3 класса.
Указанный технический результат достигается тем, что в железобетонной панели для банковских защитных кабин и хранилищ банковских ценностей, включающей заполненный бетоном арматурный каркас, выполненный из продольных и поперечных стержней, жестко связанных между собой, и имеющей прямоугольный выступ, размещенный, по меньшей мере, на одной боковой стороне, одна из боковых плоскостей выступа является продолжением плоскости панели, а толщина выступа равна половине ее толщины, при этом концы поперечных стержней проходят в теле выступа, согласно изобретению арматурный каркас содержит, по меньшей мере, три продольных стержня и установлен таким образом, что один из крайних продольных стержней размещен в основании выступа напротив образуемого им угла, при этом панель снабжена закладными элементами, которые выполнены в виде полос и установлены на концах панели с наружной и внутренней сторон параллельно торцам.
Железобетонная панель при использовании в качестве панели, обрамляющей дверной или оконный проемы, снабжена металлическим обрамлением в виде полосы, швеллера или уголка, установленным на боковой стороне панели, не имеющей выступа, и связанным, по меньшей мере, в четырех точках с поперечными стержнями арматурного каркаса.
Железобетонная панель может быть снабжена двумя прямоугольными выступами, расположенными на ее боковых сторонах с образованием Т-образного сечения, при этом арматурный каркас установлен таким образом, что крайние продольные стержни размещены в основаниях выступов напротив образуемых ими углов, а концы поперечных стержней проходят в теле выступов.
Каждая пара закладных элементов, выполненных в виде полос, связана между собой, по меньшей мере, двумя короткими стержнями, перпендикулярными плоскости панели и приваренными встык к полосам.
Железобетонная панель в первом варианте реализации (с одним прямоугольным выступом) при ее длине свыше 1,5 м содержит два закладных элемента, выполненных в виде уголков, которые установлены вдоль ребер в центральной зоне панели, причем каждый из них связан с металлическим обрамлением посредством, по меньшей мере, трех стержней, параллельных плоскости панели, которые приварены встык как к металлическому обрамлению, так и к уголкам.
При втором варианте реализации (два прямоугольных выступа, образующие Т-образное сечение панели) железобетонная панель при ее длине свыше 1,5 м содержит четыре закладных элемента, выполненных в виде уголков, которые установлены вдоль ребер в центральной зоне панели, причем каждая пара закладных элементов связана между собой, по меньшей мере, тремя короткими стержнями, параллельными плоскости панели.
Концы поперечных стержней арматурного каркаса отстоят от боковых сторон панели (торцов выступов) на 5-10 мм.
В железобетонных панелях III класса устойчивости к взлому смежные поперечные стержни арматурного каркаса установлены в плоскостях, перпендикулярных плоскости панели под противоположными углами, связаны посредством сварки со смежными продольными стержнями, а их концы размещены во внешних углах панели.
В панелях IV класса устойчивости к взлому поперечные стержни арматурного каркаса установлены попарно под углом друг другу в смежных плоскостях, перпендикулярных плоскости панели, причем стержни каждой пары посредством сварки связаны между собой в точке пересечения и со смежными продольными стержнями, все точки пересечения поперечных стержней расположены вдоль продольной оси панели, а концы поперечных стержней размещены в ее внешних углах.
Панели, выполненные по первому и второму вариантам, обеспечивают 1-11 класс устойчивости к взлому за счет изменения шага между поперечными стержнями.
Арматурный каркас, выполненный в соответствии с настоящим изобретением, предназначен для армирования панели только от воздействия на нее динамического удара, то есть от взлома, поэтому он является практически плоским, а не объемным. Пулестойкость панели обеспечивается размещением крайних продольных стержней арматурного каркаса в основаниях выступов напротив углов, образованных ими, что позволяет защитить стык панелей от разрушения при воздействии пуль. Стык также защищен от взлома проходящими в теле выступа поперечными стержнями. В результате данная конструкция позволяет снизить металлоемкость панели по сравнению с ближайшим аналогом примерно в полтора раза. Наличие прямоугольных выступов, высота которых кратна толщине панели, позволяет собирать из них как стены, так и перекрытия указанных сооружений. Соединение панелей посредством выступов в принципе известно (SU 263105 А1, 04.01.1968, SU 1131990 A1, 30.12.1984), однако такие выступы или очень сложны, как в первом указанном патенте, или не обеспечивают требуемого класса устойчивости к взлому и пулустойкости стыка панелей, поэтому подобные конструкции не пригодны для панелей, из которых сооружаются защитные кабины или хранилища банковских ценностей.
Сущность изобретения раскрывается в примерах его конкретной реализации со ссылкой на прилагаемые чертежи, на которых показано следующее.
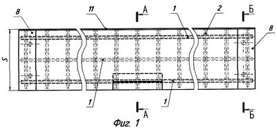
Фиг.1 – железобетонная панель, выполненная согласно настоящему изобретению, первый вариант, вид в плане.
Фиг.2 – то же с металлическим обрамлением в виде полосы, сечение А-А.
Фиг.3 – то же с металлическим обрамлением в виде швеллера, сечение А-А.
Фиг.4 – то же с металлическим обрамлением в виде уголка, сечение А-А.
Фиг.5 – железобетонная панель, выполненная согласно настоящему изобретению, первый вариант, сечение Б-Б.
Фиг.6 – железобетонная панель, второй вариант, вид в плане.
Фиг.7 – то же, сечение В-В.
Фиг.8 – то же, сечение Г-Г.
Фиг.9 – железобетонная панель, третий вариант, вид в плане.
Фиг.10 – то же, сечение Д-Д.
Фиг.11 – то же, сечение Е-Е.
Фиг.12 – железобетонная панель, четвертый вариант, вид в плане.
Фиг.13 – то же, сечение Ж-Ж.
Фиг.14 – стык панелей, вид сверху.
Железобетонная панель включает арматурный каркас, выполненный из продольных и поперечных стержней 1, 2, жестко связанных между собой, и заполненный бетоном 3. В первом варианте реализации панель (фиг.1-3) снабжена прямоугольным выступом 4, размещенным на ее одной боковой стороне. Одна из боковых плоскостей 5 выступа 4 является продолжением плоскости 6 панели, а толщина выступа 4 равна половине толщины h панели. Арматурный каркас содержит, по меньшей мере, три продольных стержня 1, проходящих на всю длину панели, и установлен таким образом, что один из крайних продольных стержней 1 размещен в основании выступа 4 напротив образуемого им угла 7. Панель снабжена закладными элементами 8, выполненными в виде полос и установленными на концах панели с наружной и внутренней сторон параллельно торцам. Каждая пара закладных элементов 8 связана между собой, по меньшей мере, двумя короткими стержнями 9, перпендикулярными плоскости 6 панели. При длине свыше 1,5 м панель дополнительно содержит закладные элементы 10, выполненные в виде уголков и установленные вдоль ребер в центральной зоне панели. Панель снабжена металлическим обрамлением в виде полосы 11, швеллера 12 или уголка 13, установленным на боковой стороне, не имеющей выступа, для образования дверного или оконного проема. Металлическое обрамление (полоса 11, швеллер 12, уголок 13) связано, по меньшей мере, в четырех точках с поперечными стержнями 2 арматурного каркаса посредством сварки встык. Закладные элементы 10, выполненные в виде уголков, связаны каждый с металлическим обрамлением 11, 12, 13 посредством, по меньшей мере, трех стержней 14, параллельных плоскости 6 панели, приваренных к ней встык.
Во втором варианте реализации панель (фиг.4-6) снабжена двумя прямоугольными выступами 4, расположенными симметрично на ее боковых сторонах с образованием Т-образного сечения. В этом случае арматурный каркас установлен таким образом, что крайние продольные стержни 1 размещены в основаниях выступов напротив образуемых ими углов 7.
Концы поперечных стержней 2 в обоих вариантах реализации проходят в теле выступов 4 и отстоят от боковых сторон панели (вершин выступов) на расстояние 1, равное 5-10 мм.
Во втором варианте каждая пара закладных элементов 10, выполненных в виде уголков, связана между собой, по меньшей мере, тремя короткими стержнями 14, параллельными плоскости 6 панели и приваренными встык к полкам уголков.
На фиг.7-9 показана железобетонная панель III класса устойчивости к взлому. В данном варианте реализации смежные поперечные стержни 2 арматурного каркаса установлены в плоскостях, перпендикулярных плоскости панели, под равными противоположными углами а, связаны посредством сварки со смежными продольными стержнями 1, а их концы размещены во внешних углах панели.
В панели IV класса устойчивости к взлому (фиг.10, 11) поперечные стержни 2 арматурного каркаса установлены попарно под углом (3 друг другу в смежных плоскостях перпендикулярно плоскости 6 панели. Стержни 2 каждой пары посредством сварки связаны между собой в точке пересечения 15 и со смежными продольными стержнями 1. Все точки пересечения 15 поперечных стержней 2 расположены вдоль продольной оси панели, а концы поперечных стержней 2 размещены в ее внешних углах.
Железобетонные панели изготавливают следующим образом.
При изготовлении арматурного каркаса используются в качестве продольных 1 и поперечных стержней арматурные стержни диаметром 12 мм. Арматурный каркас заливается высокопрочным бетоном В60-В90. Готовая панель имеет следующие размеры: толщина h=65-80 мм, длина l=300-2500 мм, ширина s=200-350 мм. Закладные элементы и обрамление в виде полосы имеют толщину 3-6 мм, ширину 30-60 мм. Закладные элементы и обрамление из уголка выполнены из уголка 36×36×5 мм. Расстояние между поперечными стержнями зависит от класса устойчивости к взлому: 1 класс – 125 мм, II класс – 85 мм, III класс – 85 мм и стержни расположены под углом к плоскости панели, IV класс – 85 мм, стержни установлены попарно под углом друг к другу и сварены между собой.
При сборке панели стыкуются, как показано на фиг.14, при этом закладные элементы 8, 10 свариваются между собой как сплошным, так и периодическим швом 16. Конструкция панелей высоко технологична, поэтому позволяет легко сооружать помещения любой конфигурации из панелей двух типов, у которых изменяется только длина.
Формула изобретения
1. Железобетонная панель для банковских защитных кабин и хранилищ банковских ценностей, включающая заполненный бетоном арматурный каркас, выполненный из продольных и поперечных стержней, жестко связанных между собой, и имеющая прямоугольный выступ, размещенный, по меньшей мере, на одной боковой стороне, одна из боковых плоскостей выступа является продолжением плоскости панели, а толщина выступа равна половине ее толщины, при этом концы поперечных стержней проходят в теле выступа, отличающаяся тем, что арматурный каркас содержит, по меньшей мере, три продольных стержня и установлен таким образом, что один из крайних продольных стержней размещен в основании выступа напротив образуемого им угла, при этом панель снабжена закладными элементами, которые выполнены в виде полос и установлены на концах панели с наружной и внутренней сторон параллельно торцам.
2. Железобетонная панель по п.1, отличающаяся тем, что она снабжена обрамлением в виде металлической полосы, швеллера или уголка, установленным на боковой стороне панели, не имеющей выступа, и связанным, по меньшей мере, в четырех точках с поперечными стержнями арматурного каркаса.
3. Железобетонная панель по п.1, отличающаяся тем, что она снабжена двумя прямоугольными выступами, расположенными на ее боковых сторонах с образованием Т-образного сечения, при этом арматурный каркас установлен таким образом, что крайние продольные стержни размещены в основаниях выступов напротив образуемых ими углов, а концы поперечных стержней проходят в теле выступов.
4. Железобетонная панель по любому из пп.1-3, отличающаяся тем, что каждая пара закладных элементов, выполненных в виде полос, связана между собой, по меньшей мере, двумя короткими стержнями, перпендикулярными плоскости панели.
5. Железобетонная панель по п.2, отличающаяся тем, что она при длине свыше 1,5 м содержит два закладных элемента, выполненных в виде уголков, которые установлены вдоль ребер в центральной зоне панели, причем каждый из них связан с металлическим обрамлением посредством, по меньшей мере, трех стержней, параллельных плоскости панели.
6. Железобетонная панель по п.3, отличающаяся тем, что она при длине свыше 1,5 м содержит четыре закладных элемента, выполненных в виде уголков, которые установлены вдоль ребер в центральной зоне панели, причем каждая пара закладных элементов связана между собой, по меньшей мере, тремя короткими стержнями, параллельными плоскости панели.
7. Железобетонная панель по любому из пп.1-3, отличающаяся тем, что концы поперечных стержней отстоят от боковых сторон панели на 5-10 мм.
8. Железобетонная панель по п.1 или 3, отличающаяся тем, что смежные поперечные стержни арматурного каркаса установлены в плоскостях, перпендикулярных плоскости панели, под противоположными углами и связаны посредством сварки со смежными продольными стержнями, а их концы размещены во внешних углах панели.
9. Железобетонная панель по п.1 или 3, отличающаяся тем, что поперечные стержни арматурного каркаса установлены попарно под углом друг другу в смежных плоскостях, перпендикулярных плоскости панели, причем стержни каждой пары посредством сварки связаны между собой в точке пересечения и со смежными продольными стержнями, все точки пересечения поперечных стержней расположены вдоль продольной оси панели, а концы поперечных стержней размещены в ее внешних углах.
РИСУНКИ
|
|