|
|
(21), (22) Заявка: 2005103143/12, 09.02.2005
(24) Дата начала отсчета срока действия патента:
09.02.2005
(46) Опубликовано: 10.07.2006
(56) Список документов, цитированных в отчете о поиске:
RU 2124615 C1, 10.01.1999. DE 3731877 A1, 30.03.1989. FR 2836504 A1, 29.08.2003. GB 2089420 A, 23.06.1982.
Адрес для переписки:
117279, Москва, ул. Миклухо-Маклая, 55а, ЗАО “Фирма “Центр патентных услуг”
|
(72) Автор(ы):
Голубев Виталий Николаевич (RU), Иванов Юрий Анатольевич (RU), Кожухов Владимир Николаевич (RU)
(73) Патентообладатель(и):
Голубев Виталий Николаевич (RU)
|
(54) УСТРОЙСТВО ЗАЩИТЫ ЗАМОЧНЫХ СКВАЖИН
(57) Реферат:
Устройство предназначено для блокировки замочных скважин цилиндровых замков, устанавливаемых на дверях, сейфах, контейнерах и т.д. Устройство содержит корпус, внутри которого установлена матрица, имеющая неподвижную и подвижную части. В корпусе выполнены направляющий паз для магнитного ключа и паз для задвижки, которая имеет выступ и/или впадину. В подвижной части матрицы выполнены также соответственно впадина и/или выступ, которые взаимодействуют с выступом или впадиной задвижки. Устройство конструктивно не связано с механизмом замка и в равной степени может использоваться для предотвращения несанкционированного доступа к любым отдельным элементам или частям поверхности, в том числе к выключателям, глазкам, пазам, кнопкам и тому подобным устройствам. Данная конструкция повышает потребительские свойства и стойкость к взлому. 1 з.п. ф-лы, 9 ил.
Изобретение относится к вспомогательным приспособлениям к замкам и может быть использовано для защиты замочных скважин цилиндровых замков, устанавливаемых на дверях, сейфах, контейнерах и т.д.
Известно устройство для защиты замочной скважины, содержащее соединенную с замком заглушку-пластину и запор для фиксации ее положения (ЕР 0367000 А2, 09.05.90). Заглушка-пластина соединена с замком через запор, образованный внешними запорными штифтами, размещенными в пластине, и внутренними подпружиненными штифтами, расположенными в передней части замка. При использовании штифтового ключа плоскости контакта внешних и внутренних штифтов совмещаются с плоскостью контакта заглушки и панели замка, а заглушку перемещают по направляющим, открывая или закрывая замочную скважину.
Недостатки данного устройства обусловлены тем, что оно содержит штифтованный ключ и соответственно отверстие для его ввода, что позволяет вскрыть его традиционными методами без разрушения, а также вывести из строя путем засорения. Кроме того, данное устройство является частью конструкции замка и поэтому имеется возможность предварительного подбора ключа и его несанкционированного вскрытия.
Наиболее близким по технической сущности относительно заявляемого объекта является съемное магнитомеханическое устройство защиты замочных скважин, описанное в патенте RU 2124615 по кл. Е 05 В 17/18. Это устройство содержит съемную заглушку с подпружиненной обоймой и установленной в ней матрицей, имеющей неподвижную и подвижную подпружиненную части, запор для фиксации положения заглушки, торцевой ключ с магнитами и магниточувствительные шарики, при этом корпус имеет кольцевую проточку и направляющие и глухие пазы, матрица снабжена глухими пазами, магниточувствительные шарики размещены в цилиндрических полостях, образованных основаниями глухих отверстий обоймы и торцами вкладышей с углублениями, по меньшей мере, одно из которых эксцентрично, а обойма торцевого ключа с магнитами имеет возможность автономного поворота.
Это устройство крайне неудобно в эксплуатации, так как требует больших навыков при вставлении ключа в пазы, особенно при плохом освещении, кроме того, из-за симметричности ключа необходимо постоянно определять положение “верх” “низ” ключа. Большим недостатком данного запорного устройства является неудобство и затруднения, возникающие при удержании заглушки после ее снятия, т.к. в быту руки человека обычно заняты другими предметами. Эти же проблемы возникают при отделении ключа от заглушки для открытия основного замка, т.к. обычно дверные ключи носят в связке. Предложенный в известном устройстве ключ из-за своих геометрии и габаритов крайне неудобен в эксплуатации и повседневной жизни, особенно при ношении в связке ключей. Неоправданная для бытового применения сложность конструкции как самого магнитомеханического устройства, так и магнитного ключа также является существенным недостатком известного устройства.
Кроме того, полностью открытая поверхность заглушки с очень тонкой наружной стенкой обоймы недостаточно надежна против вскрытия с применением режущего инструмента.
В основу изобретения положена задача (технический результат) разработать защитное устройство для замочных скважин, конструктивно не связанное с механизмом замка, обеспечивающее получение технического результата, состоящего в повышении потребительских свойств и стойкости к взлому, а также в облегчении использования и эксплуатации.
Технический результат достигается тем, что в устройстве защиты замочных скважин, содержащем корпус, внутри которого установлена матрица, состоящая из неподвижной и подпружиненной подвижной частей, между которыми имеется полость, магниточувствительные блокирующие элементы, расположенные в указанной полости, и ключ с магнитами, согласно изобретению, устройство снабжено задвижкой, которая имеет по меньшей мере одну выступающую из корпуса часть и впадину и/или выступ, корпус устройства имеет направляющий паз для ключа и по меньшей мере один паз для задвижки, а подвижная часть матрицы выполнена с выступом и/или впадиной, соответствующими впадине и/или выступу на задвижке, и имеет гнезда под магниточувствительные блокирующие элементы, при этом ключ представляет собой пластину, в которой выполнены гнезда для магнитов, соответствующие гнездам в подвижной части матрицы.
Выполнение защитного устройства несъемным в быту упрощает его использование; упрощение конструкции ключа превращает его в брелок и облегчает его ношение, особенно в связке с несколькими ключами. Наличие в корпусе устройства направляющего паза для ключа позволяет без труда вставлять его даже в темноте, в том числе детям и престарелым. Расположение матрицы в корпусе устройства значительно повышает стойкость против взлома устройства и вскрытие основного замка.
Также согласно изобретению по меньшей мере одна из выступающих частей задвижки выполнена съемной.
В дальнейшем изобретение будет подробно раскрыто в описании со ссылкой на прилагаемые чертежи, на которых:
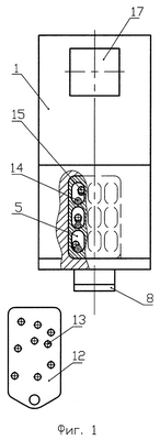
фиг.1 изображает общий вид предлагаемого устройства в закрытом положении и ключ;
фиг.2 – то же, что на фиг.1, в разрезе;
фиг.3 – то же, что на фиг.2, при введенном ключе;
фиг.4 – то же, что на фиг.3, в открытом положении;
фиг.5 – вариант выполнения устройства, в разрезе при введенном ключе и в закрытом положении;
фиг.6 – то же, что на фиг.5, в открытом положении;
фиг.7 – еще один вариант выполнения предлагаемого устройства, общий вид, и ключ;
фиг.8 – то же, что на фиг.7, при введенном ключе в разрезе;
фиг.9 – то же, что на фиг.8, в открытом положении.
Предлагаемое устройство защиты замочных скважин содержит корпус 1 (фиг.1, 2), внутри которого установлена матрица, состоящая из неподвижной части 2 и подпружиненной пружиной 3 подвижной части 4, между которыми имеется полость 5, а также задвижку 6, установленную в пазу 7, выполненном в корпусе 1, и имеющую выступающую из корпуса 1 часть 8. Задвижка 6 имеет выступ 9, входящий во впадину 10, выполненную в подвижной части 4 матрицы. В корпусе 1 выполнен направляющий паз 11 под ключ 12, снабженный магнитами 13, которые служат для управления магниточувствительными блокирующими элементами 14, например, в виде шариков, которые размещены в полости 5. Часть 4 матрицы имеет гнезда 15, в которые попадают блокирующие элементы 14 при открывании замочной скважины 16. Магниты 13 ключа 12 размещены в гнездах 15а, соответствующих гнездам 15 подвижной части 4 матрицы. Замочная скважина располагается на поверхности, которая защищается от внешнего воздействия, и эта поверхность может находиться или под окном 17 корпуса 1, как это показано на фиг.1 и 2, или под всем корпусом 1, как это видно на фиг.9.
На фиг.5 и 6 показан вариант выполнения предлагаемого устройства, при котором задвижка 6 имеет одновременно и выступ 9, и впадину 18, при этом подвижная часть 4 матрицы также имеет одновременно соответственно впадину 10 и выступ 19.
На фиг.7 и 8 показан еще один вариант выполнения предлагаемого устройства, при котором в корпусе 1 выполнено два паза 7 и 20 под задвижку 6, при этом задвижка имеет две выступающие из корпуса 1 части 8 и 21. Выступающая часть 21 снабжена стопором 22.
Работает устройство следующим образом.
В рабочем состоянии окно 17 перекрывается задвижкой 6 (см. фиг.1, 2), закрывая замочную скважину 16. При введении ключа 12 по направляющему пазу 11 корпуса 1 в направлении, указанном стрелкой А (см. фиг.3), до упора магниточувствительные блокирующие элементы 14 увлекаются магнитами 13 из нижнего положения, принятого ими под действием силы тяжести в полости 5, до положения против гнезд 15 на частях матицы. При приложении усилия к выступающей части 8 задвижки 6 в направлении, указанном стрелкой Б (см. фиг.4), выступ 9 задвижки 6 выходит из впадины 10 подвижной части 4 матрицы, передает усилие на эту подвижную часть матрицы, заставляя ее сжимать пружину 3 и двигаться относительно неподвижной части 2 матрицы, позволяя задвижке 6 перемещаться в направлении стрелки Б и открывать окно 17. После открытия замочной скважины 16 производят необходимые манипуляции с ней, при этом после выхода выступа 9 из впадины 10 ключ 12 можно вынимать из паза 11 без воздействия на механизм защитного устройства.
Для закрытия защищаемой замочной скважины 16 необходимо приложить усилие к выступающей части 8 задвижки 6 в обратном указанному стрелкой Б направлении до перекрытия задвижкой 6 окна 17, при этом выступ 9 задвижки 6 войдет во впадину 10 подвижной части 4 матрицы, которая примет первоначальное положение под действием пружины 3. В это время магниточувствительные блокирующие элементы 14 под действием силы тяжести выпадут из гнезд 15 и займут первоначальное нижнее положение в полости 5. В таком положении блокирующие элементы 14 препятствуют движению подвижной части 4 матрицы, которая в свою очередь из-за этого блокирует впадины 10 и движение выступа 9 задвижки 6 в направлении по стрелке Б и тем самым открытие окна 17 и замочной скважины 16.
В случае использования ключа с кодом, отличным от ключа, который заложен в матрицу и соответствует расположению гнезд 15 и 15а, по меньшей мере один из блокирующих элементов 14 не займет положение против соответствующего гнезда 15, и подвижная часть 4 матрицы, упираясь в него, застопорится, запретив тем самым движение задвижки 6, т.е. открытие будет невозможно.
При выполнении устройства в соответствии с вариантом, изображенным на фиг.7 и 8, оно работает следующим образом.
При введении ключа 12 по направляющему пазу 11 в направлении, указанном стрелкой А (см. фиг.8), до упора блокирующие элементы 14 устанавливаются против гнезд 15 части 4 матрицы, позволяя этой подвижной части 4 двигаться относительно неподвижной 2 части. Благодаря этому, при движении выступающей части 8 задвижки 6 в направлении, указанном стрелкой “В”, выводится из зацепления со стопором 22 вторая выступающая часть 21 задвижки 6. При движении задвижки 6 ее выступ 9 приводит в движение подвижную часть 4 матрицы, которая сжимает пружину 3. После выхода из зацепления выступающей части 21 задвижки 6 при движении выступающей части 8 задвижки 6 в направлении, указанном стрелкой “Г” (см. фиг.9), происходит открытие замочной скважины 16.
Для закрытия замочной скважины 16 необходимо двигать выступающую часть 8 задвижки 6 вначале в направлении, обратном направлению по стрелке “Г”, до упора, затем в направлении, обратном направлению по стрелке “В”, до упора. При этом пружина 3 вернет в первоначальное положение подвижную часть 4 матрицы, что позволит блокирующим элементам 14 под действием силы тяжести вернуться в первоначальное нижнее положение в полости 5 и заблокировать движение подвижной части 4 матрицы, что ведет к запрету движения задвижки 6, т.е. запиранию защитного механизма.
Выступающая часть 8 или 21 задвижки 6 может быть выполнена съемной.
Данное изобретение в равной степени используется для предотвращения несанкционированного доступа к любым отдельным элементам или частям поверхности, в том числе к выключателям, глазкам, пазам, кнопкам и тому подобным устройствам.
Формула изобретения
1. Устройство защиты замочных скважин, содержащее корпус, внутри которого установлена матрица, состоящая из неподвижной и подпружиненной подвижной частей, между которыми имеется полость, магниточувствительные блокирующие элементы, расположенные в указанной полости, и ключ с магнитами, отличающееся тем, что устройство снабжено задвижкой, которая имеет по меньшей мере одну выступающую из корпуса часть и впадину и/или выступ, корпус устройства имеет направляющий паз для ключа и по меньшей мере один паз для задвижки, а подвижная часть матрицы выполнена с выступом и/или впадиной, соответствующими впадине и/или выступу на задвижке и имеет гнезда под магниточувствительные блокирующие элементы, при этом ключ представляет собой пластину, в которой выполнены гнезда для магнитов, соответствующие гнездам в подвижной части матрицы.
2. Устройство по п.1, отличающееся тем, что по меньшей мере одна выступающая часть задвижки выполнена съемной.
РИСУНКИ
|
|