|
|
(21), (22) Заявка: 2002135912/03, 01.06.2001
(24) Дата начала отсчета срока действия патента:
01.06.2001
(30) Конвенционный приоритет:
06.06.2000 AT A 992/2000
(43) Дата публикации заявки: 27.07.2004
(46) Опубликовано: 10.07.2006
(56) Список документов, цитированных в отчете о поиске:
WO 98/58142 A1, 23.12.1998. DE 29703962 U, 24.04.1997. US 5944938 A, 31.08.1999. SU 1434144 A1, 30.10.1988. WO 9404773 A, 03.03.1994. RU 2123094 C1, 10.12.1998.
(85) Дата перевода заявки PCT на национальную фазу:
08.01.2003
(86) Заявка PCT:
AT 01/00184 (01.06.2001)
(87) Публикация PCT:
WO 01/94720 (13.12.2001)
Адрес для переписки:
103064, Москва, ул. Казакова,16, НИИР Канцелярия “Патентные поверенные Квашнин, Сапельников и партнеры”, В.П.Квашнину
|
(72) Автор(ы):
КНАУЗЕДЕР Франц (AT)
(73) Патентообладатель(и):
ФИРМА М.КАЙНДЛ (AT)
|
(54) КОНСТРУКЦИЯ ДЛЯ СОЕДИНЕНИЯ ПЛОСКИХ СТРОИТЕЛЬНЫХ ЭЛЕМЕНТОВ
(57) Реферат:
Изобретение относится к области строительства, в частности к конструкции соединения плоских строительных элементов – панелей относительно небольшой толщины вдоль их узких сторон. Технический результат изобретения заключается в снижении количества операций при укладке панелей, что исключает преждевременное отверждение клея. На соединяемых поверхностях строительных элементов предусмотрены шпунтовые соединительные элементы, на которых имеются фиксирующие органы для взаимной упругой фиксации прилегающих строительных элементов. При этом на шпунт и/или гребень, как минимум, на участке его поверхности, обращенной к противоположному строительному элементу, нанесен клей или клей с активирующей субстанцией или на одну из поверхности нанесен активируемый клей, а на другую – соответствующий активатор. 19 з.п. ф-лы, 5 ил.
Изобретение касается простого способа долговременного соединения плоских строительных элементов относительно небольшой толщины вдоль их узких сторон, причем клей для соединения элементов изобретения должен быть нанесен еще на заводе-изготовителе, в результате чего отпадает длительный процесс нанесения клея на соединительные элементы на месте монтажа. Этим же обеспечивается точное соблюдение необходимого количества клея.
Уровень техники
Из немецкого патента DE-29703962 при изготовлении обычных шпунтовых соединений уже известен способ нанесения клея на заводе на примыкающие к поверхностям и вертикальные по отношению к ним плоскости, предназначенные для состыковки с соседним облицовочным элементом, причем в этом известном варианте за счет соединения шпунта и гребня склеивание элементов осуществляется вдоль примыкающих к поверхности плоскостей для получения герметичной поверхности. Подобный способ имеет тот недостаток, что вследствие характера применяемого клея, а именно контактного клея обе состыковываемые плоскости должны прижиматься друг к другу со значительным давлением, причем уже невозможно последующее выравнивание склеенного шва в продольном направлении для того, чтобы закрыть поперечный шов.
Далее, известен способ, при котором шпунтовое соединение имеет фиксаторы для взаимной предварительной фиксации прилегающих друг к другу строительных элементов без нанесения клея. Для этого наряду с дополнительными выступами на кромках гребня, входящими в предусмотренные в стенках шпунта углубления, на обратной стороне панелей также предусмотрены зажимы или т.п.
В частности, например, из патента AT 405560 известны соединения, с помощью которых два примыкающих друг к другу панеле или планкообразных строительных элемента фиксируются, при этом применяется шпунтовое соединение, при котором кромки шпунта или одна из двух кромок расходятся от дна шпунта и сходятся на участке удаленного от шпунта конца под углом, превышающим угол расхождения, при этом ширина устья шпунта больше ширины переднего по направлению соединения участка гребня, который, начиная с этого переднего участка, имеет клиновидные поверхности, расходящиеся под тем же углом, что и стенки шпунта, или соответствующую форме шпунта одну клиновидную поверхность, которая в соответствии с поперечным сечением шпунта на заднем по направлению соединения гребня участке имеет пазы, ограничительные, примыкающие к клиновидным плоскостям, плоскости которых сходятся к примыкающей к строительному элементу соединительной перемычке под тем же углом, что и стенки шпунта. При этом, после того как гребень вставляется в шпунт, выступ стенок шпунтов, имеющий сходящуюся поверхность, попадает в задний паз гребня, причем сходящийся участок стенки шпунта скользит вдоль ведущей к соединительной перемычке клиновидной поверхности и тем самым втягивает гребень в шпунт.
Сущность изобретения
В основе изобретения лежит предварительное нанесение клея на те плоскости шпунта или гребня фиксируемых шпунтовых соединений, которые прижимаются друг к другу в процессе самовтягивания гребня в шпунт и закрепляются в этом положении фиксирующим соединением. В результате можно отказаться от дополнительных вспомогательных фиксирующих средств для удержания строительных элементов в состыкованном состоянии в процессе схватывания клея; это автоматически обеспечивает надежное соединение.
Настоящее изобретение обеспечивает конструкцию для соединения плоских строительных элементов относительно небольшой толщины вдоль их узких сторон, причем на соединяемых поверхностях предусмотрены шпунтовые соединительные элементы, при которых кромки шпунта или одна из двух кромок расходятся от дна шпунта и сходятся на участке удаленного от шпунта конца под углом, превышающим угол расхождения, при этом ширина устья шпунта больше ширины переднего по направлению соединения участка гребня, который, начиная с этого переднего участка, имеет расходящиеся под тем же углом, что и стенки шпунта, клиновидные поверхности, которые в соответствии с поперечным сечением шпунта имеют на заднем по направлению соединения участке гребня пазы, ограничительные, примыкающие к клиновидным плоскостям плоскости которых сходятся к примыкающей к строительному элементу соединительной перемычке под тем же углом, что и стенки шпунта, при этом на шпунт, как минимум, на участке его расходящихся кромок, или на гребень, как минимум, на участке его расходящейся клиновой поверхности, или на обе поверхности наносится клей или клей с активирующей субстанцией.
Краткое описание чертежей
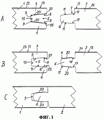
На фиг.1 схематически изображен первый вариант исполнения способа согласно изобретению, а именно: фиг.1А – исполнение с нанесением клея в шпунт перед состыковкой, фиг.1В – исполнение с нанесением клея на кромки гребня и фиг.1C – со состыкованными строительными элементами, причем в этом положении не имеется отличий от исполнения согласно фиг.1А и фиг.1В.
Фиг.2 представляет собой аналогичное фиг.1 изображение варианта исполнения с несколько измененным сечением шпунта и гребня.
На фиг.3 также представлен вариант с иной формой сечения шпунта и гребня в состыкованном состоянии строительных элементов.
На фиг.4 представлен вариант исполнения согласно фиг.2 в увеличенном масштабе.
На фиг.5 дано перспективное изображение строительного элемента со шпунтом и предварительно нанесенной полоской клея.
Детальное описание чертежа
На фиг.3 и фиг.4 изображены два соединенных друг с другом строительных элемента 1, 2, при этом в строительном элементе 1 имеется шпунт 5, в который входит гребень 6 строительного элемента 2. Строительные элементы 1, 2 тесно прилегают своими торцами в области полезной поверхности друг к другу или могут образовывать щель 16 в области, направленной в сторону дна шпунта. Эта изображенная на рисунке щель не обязательна, а применяется по мере необходимости. Строительные элементы 1, 2 из дерева, древесных материалов или пластмассы могут получать покрытия 23, 24 для придания им необходимого вида и создания поверхности требуемого качества.
На гребне 6, поверхностях клина гребня 11 и в шпунте 5, а также на поверхностях шпунта и боковых поверхностях 9 шпунта 5 предусмотрены подогнанные друг к другу фиксаторы 7, 8. Эти фиксаторы могут иметь выступы и/или углубления, которые вступают во взаимодействие или зацепление друг с другом. Сечения углублений и соответствующих выступов 7, 8 подогнаны друг к другу так, что они тесно прилегают друг к другу и сцепляются.
В состыкованном состоянии строительных элементов 1, 2 фиксаторы 7, 8 сцеплены друг с другом. Фиксаторы 7, 8 имеются, в частности, по всей длине продольных и/или узких сторон устроительных элементов 1, 2.
В соответствии с фиг.3 как минимум на одной поверхности клина гребня 11 имеется выступ 7, который входит в углубление 8 на прилегающей боковой поверхности шпунта 9. При вхождении гребня 6 в шпунт 5 обе боковых поверхности 3, 4 шпунта 5 эластично раздвигаются.
Сечение выступа 7 и углубления 8 является треугольным, при этом лежащая ближе к отверстию шпунта сторона треугольника 17 выполнена более короткой и сильнее наклонена, чем сторона треугольника 18, лежащая ближе к дну шпунта 10. При вводе гребня 6 в шпунт 5 более длинная сторона 18 выступа 7 скользит по внутренней кромке или образовавшемуся на этом участке скосу передней кромки боковой поверхности шпунта 3 до тех пор, пока не будет пройден выступ 7 этой внутренней кромки 25 и выступ не окажется в углублении 8.
Для соединения является выгодным, чтобы ближняя к дну шпунта сторона треугольника 18 была в 4-8 раз, предпочтительно 5-7 раз, длиннее дальней от дна шпунта стороны треугольника 17 и чтобы угол между обеими сторонами треугольника 17, 18 составлял от 100 до 140 градусов, предпочтительно от 110 до 130 градусов.
Для облегчения процесса соединения является предпочтительным, чтобы внутренние концевые кромки гребня 6 и/или внутренние концевые кромки не имеющей фиксаторов стороны шпунта 4 имели скосы.
Для получения определенного взаимного расположения строительных элементов 1, 2 может оказаться целесообразным, чтобы угол более длинной стороны треугольника 18 выступа 7 на гребне 6 к полезной или внешней поверхности соответствовал углу или наклону передней части клиновой поверхности шпунта 11, которая в своей передней части проходит на расстоянии от боковой поверхности шпунта 9. При этом не имеющая фиксаторов поверхность гребня (см. фиг.3) может на большей части своей длины прилегать к поверхности боковой стороны шпунта 9 и, если смотреть со стороны дна шпунта 10, обе поверхности приближаются к внешней поверхности или полезной поверхности обоих строительных элементов 1, 2. Таким образом, обе эти поверхности 9, 11 служат для скольжения и направления и поддерживают раздвигание полезных боковин 3, 4 при скольжении выступа 7 по внешней кромке и поверхности скольжения боковины 3.
В предпочтительной форме исполнения согласно фиг.1, 2 и 4 предусмотрено, чтобы на обеих противоположных поверхностях гребня 11, в частности симметрично лежащих выступах 7 или углублениях 8, и на обоих прилегающих полезных поверхностях 9 были созданы углубления и выступы, подогнанные к выступам 7 и углублениям 8, а также, чтобы шпунт 5 и гребень 6 были выполнены в форме ласточкина хвоста и подходили друг к другу. Такая форма исполнения обеспечивает двойную фиксацию строительных элементов 1, 2.
При этой форме исполнения длинная сторона треугольника 18 или образованная ею поверхность выступа 7 с образованием изгиба 19 переходит в переднюю часть клиновой поверхности шпунта 11; длинная сторона треугольника 18 и эта передняя часть клиновой поверхности шпунта 11 тесно прилегают друг к другу; в результате может быть обеспечено очень точное соединение строительных элементов 1, 2 и одновременно создано давление прижима элементов 1, 2, в результате чего вследствие взаимодействия поверхностей треугольника 17 с соответствующими встречными поверхностями предотвращается образование щели на полезной поверхности 13 и отодвигание друг от друга строительных элементов 1, 2 в ходе их эксплуатации.
Цифрой 20 на фиг.1 и 2 обозначен нанесенный клей, при этом, как далее будет подробно описано, клей может наноситься или на стенки полезных кромок 9 (фиг.1А или фиг.2А), или на клиновые поверхности шпунта 11 (фиг.1В или фиг.2В), причем на соответствующие противоположные поверхности может наноситься активатор клея или аналогичное вещество. При использовании двухкомпонентного клея один компонент может наноситься на одну сторону, а другой – на противоположную сторону.
На фиг.5 нанесенный клей изображен в виде полоски 21.
Панели с нанесенным таким образом клеем – активным сразу же после нанесения или становящимся активным только при соединении панелей на месте монтажа – имеют то явное преимущество, что значительно снижается число операций и манипуляций при укладке панелей на месте и что полностью исчезает операция равномерного нанесения и внесения субстанции клея в достаточном, но не избыточном количестве по всей часто достигающей 2 м длине шпунтов и/или гребней панелей непосредственно на месте монтажа, которая считается как профессиональными строителями, так и любителями процедурой, неприятной и требующей много времени. Также исчезает проблематика как преждевременного отверждения клея при задержках в процессе монтажа, которое делает невозможным укладку панелей без зазоров, так и устранения подтеков избыточного клея немедленно после укладки панели для предотвращения образования пятен на декоративном покрытии.
При использовании имеющих фиксаторы панелей дополнительно исчезает необходимость фиксации состыкованных панелей, так как фиксаторы автоматически обеспечивают их прижим друг к другу в течение времени застывания клея. При этом форма и исполнение фиксаторов большого значения не имеют.
Клей, в каком бы исходном состоянии он ни находился в шпунтах или/или на гребнях панелей, поставленных на место монтажа панелей, досок и т.п., наносится на них заблаговременно машинным способом и поэтому в правильной дозировке. В результате предотвращается выход избыточного клея через швы на декоративную поверхность при состыковке панелей. Далее, нет опасности – как об этом уже говорилось – “преждевременного” отверждения клея. По поводу самых разных клеевых составов в целом можно сказать следующее.
В первую очередь следует упомянуть наиболее часто применяемые в данном случае клеи. Клеи являются клеящими веществами, состоящими из водорастворимых полимеров животного (глутин, казеин), растительного (крахмал, декстрин, эфир целлюлозы) или синтетического происхождения (производные полиакриловой кислоты, поливиниловый спирт, поливинилпирролидон) и воды в качестве растворителя. Они относятся к классу однокомпонентных, не требующих нагревания для схватывания клеев, содержащийся в которых растворитель (вода) в процессе склеивания всасывается, испаряется и т.п. Нанесенные клеи при охлаждении превращаются в желеобразную массу и при высыхании в большинстве случаев становятся прозрачными. При контакте с водой эта масса превращается в гель с высокой силой сцепления.
Ниже перечислены клеи, применяемые специально в рамках настоящего изобретения. Подходят как полностью синтетические клеи, например клеи из искусственной смолы, например поливинилацетатный клей для дерева, так и клеи растительного происхождения, например клеи из декстрина, крахмала, саго или тапиоки, или животного происхождения, например мездровый клей, клей из обрезков кожи, костей или казеиновый клей. Наряду с названными клеями, обеспечивающими физическое сцепление, можно использовать клеи с химическим сцеплением, например клеи на базе смол из мочевины, меламина, фенола или крезола.
Могут применяться также так называемые универсальные клеи, которые в большинстве случаев представляют собой растворы или дисперсии полимеров, например нитрат целлюлозы, поливинилацетат, полиакрилат и т.п. с (спиртосодержащими) эфирами и/или кетонами или водой в качестве растворителя или водой в качестве диспергатора. Универсальные клеи обеспечивают сцепление, отдавая растворитель/диспергатор в атмосферу (испарение) или склеиваемым (пористым) субстратам. В панелях согласно изобретению они наносятся в шпунты и/или на гребни в “мокром” или желеобразном состоянии, после чего из их состава удаляется растворитель/диспергатор и они переводятся, таким образом, в предназначенную для длительного хранения устойчивую форму.
В качестве клея могут использоваться далее контактные клеи, наносимые на склеиваемые субстраты в виде растворов или дисперсий, которые после испарения большей части растворителя, т.е., когда пленка клея кажется сухой, под давлением при состыковке панелей проявляют свои клеящие качества. Основными полимерами, применяемыми в составе контактных клеев, являются в основном полиакрилаты, полихлоропрены, нитрил- или стиролбутадиеновые каучуки и полиуретаны. Дополнительно они могут содержать клейкие смолы типа колофониевой, углеводородной или фенольной смолы.
В качестве клея в некоторых обстоятельствах могут применяться далее так называемые анаэробные клеи, которые, например, застывают при отсутствии воздуха, но остаются жидкими и клейкими в присутствии кислорода. В основе их лежат, например, мономерные эфиры диметакриловой кислоты диолена, например полиэтиленгликолен.
В первой предпочтительной форме исполнения изобретения предусмотрено нанесение на соединительные элементы, то есть шпунт и/или гребень панели латентного клеевого покрытия, которое при соответствующих действиях в процессе монтажа панели переходит в активное склеивающее состояние, причем это может происходить как в результате перевода уже ранее бывшего готового к применению клея из сухого или стабильного состояния в активное путем увлажнения растворителем, в частности водой, так и активирования латентного клеящего вещества в результате контакта с активатором, способствующим схватыванию и отверждению клея.
Предпочтительным вариантом описанной формы исполнения являются панели для покрытий (полов), на соединительные элементы которых нанесен вышеописанный активируемый клей, при этом, согласно настоящему изобретению, первоначально приготовленный с водой и представляющий растворенный с водой или в ней желеобразный или диспергированный клеящий состав, аналогичный клей и т.п. наносится в свежем “мокром” состоянии как слой и “подсыхает”. При нанесении воды, которая может наноситься непосредственно на подсохший слой клея или попадать на клей вследствие интенсивного контакта со смоченным водой стыковочным (встречным) элементом подсоединяемой соседней панели при состыковке панелей, “сухой” клей активируется и возвращается в активное, готовое к склеиванию состояние. Нанесение преимущественно водного активатора на соответствующую (-ие) поверхность (-ти) элементов с геометрическим замыканием может, например, осуществляться простым дозированным опрыскиванием или с помощью смоченной губки или аналогичного материала.
Вторым преимущественным способом активирования латентных клеевых покрытий в шпунтах и/или на гребнях панелей, предназначенных для покрытий, в частности, настилов полов, с помощью полимерно-химических процессов является то, что отдельные компоненты двухкомпонентного клея наносятся на элементы с геометрическим замыканием в форме, которая не позволяет им проявить их сцепляющие и отверждающие качества до момента стыкования панелей при монтаже соответствующих изобретению покрытий. Только непосредственно в момент состыковки происходит активирование названных компонентов и создание собственно клея с последующим его схватыванием, затвердеванием и созданием механически стабильного клеевого соединения.
Тем самым, существует предпочтительный вариант изобретения, заключающийся в том, что оба образующих в конечном счете активный клей отдельных компонента нанесены в/на стыковочные и/или встречные элементы с геометрическим замыканием, то есть в шпунты или на гребни панелей, в своей инертной форме.
Другой вариант может заключаться в том, что на панель уже при ее изготовлении нанесен только один из двух компонентов, а другой компонент наносится на панель на месте непосредственно перед ее монтажом в процессе сборки покрытия. Такой вариант предварительного нанесения клея хотя бы на один стыковочный элемент является особенно предпочтительным при использовании так называемого лака-отвердителя, то есть предварительно наносится только слой, содержащий или состоящий из отвердителя двухкомпонентного клея, в то время как смола наносится, например, непосредственно перед монтажом на лак-отвердитель или на стыковочный элемент, входящий в контакт с покрытым лаком соединительным элементом.
К тому, что было здесь сказано о клеях, можно добавить следующее:
акрилатные клеи представляют собой клеи на основе мономеров акрила, в частности эфиров акриловой и метакриловой кислот. Акрилатные клеи в узком смысле слова состоят из мономеров (мет) акрила, полимера, считающегося сгустителем и эластикатором, и инициатора полимеризации, преимущественно редоксиинициатора; они используются в качестве двухкомпонентного клея в комбинации с активатором. Сегодня вместо метилметакрилата преимущественно используются менее летучие и имеющие не такой интенсивный запах (мет)акрилаты, например олигомерные полиуретанметакрилаты, что, в частности, удобно при нанесении этих компонентов смолы по соображениям техники безопасности непосредственно перед монтажом.
Клеевыми компонентами акрилатных клеев могут далее быть основанные на этиловом или бутиловом акрилате полимеры, качество которых, например твердость и эластичность, может направленно регулироваться в процессе полимеризации с помощью соответствующих сополимеров, например метакрилатов, и которые для улучшения сцепляющих способностей получают дополнительные функциональные группы, например карбоксильные или гидроксильные группы; они широко применяются, например, в виде растворов, дисперсий и контактных клеев. Созданные с помощью акрилатных клеев соединения отличаются высокой прочностью.
В соответствии с самим по себе дорогостоящим и поэтому применяемым для ценных покрытий вариантом покрытие соединительных элементов с геометрическим замыканием панелей для новых (напольных) настилов обеспечивается за счет полых микрошариков или капсул, в которых заключено постоянно готовое к склеиванию клеящее вещество, аналогичный клей и т.п. При состыковке панелей, то есть при вставке гребня в шпунт, в результате возникающих при этом сил трения и давления микрокапсулы разрушаются или разрываются и находящийся в них клей высвобождается.
При следующем предпочтительном способе использования микрокапсул для нанесения клеевого покрытия в шпунт и/или на гребень на один из соединительных элементов с геометрическим замыканием наносится покрытие, содержащее в виде микрокапсул один из обоих компонентов упомянутого двухкомпонентного клея. Противолежащий (встречный) соединительный элемент подсоединяемой панели покрыт другим также заключенным в микрокапсулы компонентом вышеназванного двухкомпонентного клея.
При состыковке панелей оболочки микрокапсул разрываются и смола и отвердитель смешиваются, при этом клей переходит в готовую форму, схватывается и затвердевает.
Далее, предусмотрен способ нанесения слоя двухкомпонентного клея в микрокапсулах, при котором в микрокапсулах находится только один, например, наиболее восприимчивый компонент, в то время как другой, как правило, менее восприимчивый компонент образует соответствующую матрицу для микрокапсул первого компонента.
Следующим способом склеивания панелей новых напольных покрытий, выгодность которого подтверждена хорошими результатами испытаний и собранным в ходе практического применения опытом, является нанесение в шпунт и/или на гребень панели контактного клея, в частности контактного клея-расплава. Контактные клеи являются вязкоэластичными клеями, постоянно сохраняющими без применения растворителя при комнатной температуре свои клеящие свойства и при незначительной специфичности субстрата немедленно схватывающими при легком давлении на почти всех субстратах. Основными полимерами для современных контактных клеев являются натуральные и синтетические каучуки, полиакрилаты, полиэфиры, полихлоропрены, полиизобутены, поливиниэфиры и полиуретаны, которые применяются в комбинации с присадками в виде других смол, мягчителей и/или антиоксидантов. Контактные клеи наносятся на соединительные элементы, как правило, в виде растворов или дисперсий.
Контактные клеи-расплавы, напротив, наносятся в виде расплавленного геля как мазки, слой или жилки, также может применяться метод набрызгивания горячего расплава клея. Контактные клеи отличаются от так называемых конструкционных клеев, например от химически реагирующих клеев, тем, что они постоянно остаются клейкими и готовыми к склеиванию. Эти клеи смачивают поверхность склеиваемых деталей при нажатии на эти поверхности, в результате чего возникает достаточное усилие сцепления. Решающими параметрами при склеивании шпунтовых соединений является, с одной стороны, давление прижима, а с другой – наносимое количество клея. При этом особое внимание следует уделять наносимому количеству клея – что при производстве панелей проблем не создает – так как при недостатке клея смачивание поверхности не происходит. При слишком большом количестве клея после состыковки панелей остается слишком большой зазор, так как клей не может быть вытеснен, что является недостатком, который, однако, не возникает при нанесении клея в процессе изготовления панелей. Наносимые в виде расплава контактные клеи, так называемые контактные клеи-расплавы, имеют то преимущество, что они могут наноситься достаточно толстым слоем, что позволяет избежать проблемы, связанной с недостатком клея, а с другой стороны, они могут точно дозироваться.
В принципе, в отношении контактных клеев и контактных клеев-расплавов можно еще сказать, что их возникающие при создании давления прочностные характеристики и усилие сцепления несколько ниже, чем, например, у химически реагирующих клеев, но вполне достаточны для скрепления напольных панелей.
Большое преимущество контактных клеев-расплавов при склеивании шпунтовых соединений панелей заключается в том, что они не теряют свою клеящую способность после длительного хранения, то есть не затвердевают. Другим преимуществом является то, что они не загрязняют окружающую среду, так как не содержат воды и растворителей, требуют немного места и низких расходов на соответствующие установки для обработки, а также потребляют мало энергии при обработке.
В заключение можно назвать два имеющихся в продаже контактных клея-расплава, особенно подходящих для склеивания подвергаемых сильным нагрузкам напольных покрытий. Контактный клей-расплав “Dorus PS 534/5” представляет собой контактный клей-расплав низкой вязкости с относительно высокой температурой размягчения и хорошей для этого вида клея прочностью на сдвиг. Для нанесения с помощью клеевых пистолетов и малых устройств этот клей может быть дополнительно стабилизирован для предотвращения термического распада при незначительных наносимых количествах и высоких температурах обработки. Рекомендуемая температура обработки и нанесения составляет от 140 до 170°С. Для правильного склеивания панелей на базе ламинированных древесных материалов хорошо зарекомендовала себя температура 150°С. Срок хранения созданных таким образом клеевых покрытий шпунтов и/или гребней составляет в нормальных сухих условиях не менее года.
Вязкость следующего контактного клея-расплава “Dorus PS 576/6” лежит ниже вязкости вышеназванного клея Dorus PS 534/5. Он отличается высокой склеивающей способностью. Температура размягчения соответствует температуре размягчения клея Dorus PS 534/5. Температура обработки и срок хранения в основном аналогичны контактному клею-расплаву Dorus PS 534/5. Срок хранения созданного с помощью клея Dorus PS 576/6 латентного клеевого покрытия также составляет не менее года. Как уже вкратце упоминалось выше, возникающая уже в процессе изготовления разнообразных панелей с клеевым покрытием проблема заключается в том, что клей должен быть уложен, нанесен и т.д. в такой форме, в которой он после приготовления будет сохраняться в течение длительного срока без внутренних изменений или изменений, вызванных внешними воздействиями. При этом клей при состыковке панелей в процессе сборки покрытий должен немедленно переходить в клеящее состояние.
Масштабные серии испытаний показали, что готовые к склеиванию клеи и аналогичные материалы для склеивания панелей должны присутствовать не в виде описанных выше микрокапсул, а в виде своего рода “макрокапсул”, то есть в виде нанесенного на соединительные элементы в форме шланга интегрального жгута. При этой особо предпочтительной, основанной на предварительном нанесении клея, форме исполнения соответствующих изобретению готовых к монтажу и склеиванию панелей для покрытий наносимый клей укладывается в готовом к склеиванию состоянии в виде жгута, заключенного в бесконечную шлангообразную оболочку, при этом эта оболочка при нанесении приклеивается одной стороной к поверхностям и кромкам шпунта или гребня.
Вышеописанный клеевой шланг защищает содержащуюся в нем клеевую субстанцию от внешних воздействий и предотвращает, таким образом, ее изменения. Но одновременно этот шланг-оболочка восприимчив к механическому воздействию до такой степени, что при монтаже панелей он разрывается и освобождает содержащийся в нем готовый к использованию клей, который может затем схватываться и затвердевать. Фрагменты разорванной оболочки до такой степени тонки, что не могут воспрепятствовать точному “бесшовному” соединению панелей с образованием тонких, практически невидимых стыков или швов. С помощью вышеописанного бесконечного оболочечного жгута с клеевым содержимым и точного выбора его размера клей может быть адаптирован к геометрии и допускам соответствующего шпунтового соединения и точно дозирован по всей длине соответствующего соединительного элемента с геометрическим замыканием. Тем самым, обеспечивается высокая равномерность нанесения клея и надежно предотвращается описанное выше нежелательное выдавливание излишков клея со всеми его последствиями.
Соответствующие полимеры и клеи для оболочки этих клеевых жгутов нового вида после экструзии быстро схватываются, что предотвращает выход основной клеевой субстанции в процессе внесения или нанесения интефального клеевого жгута. Пригодные для этого полимеры должны сочетаться с основным клеем, то есть, например, не извлекать или почти не извлекать из основной клеевой субстанции воду и после нанесения не допускать диффузии воды из клеевого материала наружу.
“Бутиловые клеи”, особенно хорошо подходящие для подверженных сильным нагрузкам напольных покрытий, способны защищать основной клей от “высыхания” в течение нескольких недель или месяцев. Но для оболочек жгутов могут также использоваться и клеи на основе полиуретанового каучука.
Одна из предпочтительных форм сечения состоящего из оболочки и ядра клеевого жгута в шпунте или на гребне новых готовых к монтажу и склеиванию напольных панелей представлена на фиг.5. Здесь нет толстой клеевой пленки, присущей различным другим, описанным до сих пор формам исполнения изобретения.
К полимерам и клеям для создания описанного получаемого методом соэкструзии жгута, разумеется, предъявляется требование, чтобы создаваемая ими оболочка была герметичной для предотвращения диффузии. Если защитная оболочка будет повреждена пузырьками, грязью или в результате механического воздействия, то возникнет опасность локального затвердевания основного клея. В результате не будет возможности обеспечения полноценной, т.е. практически “бесшовной” геометрии шпунтового соединения. Что касается регулирования толщины оболочки жгута, то можно констатировать, что материал оболочки сам по себе не препятствует “бесшовному” стыкованию и монтажу панелей. Он должен при состыковке панелей давать основному клею возможность свободно входить в контакт с деревом или древесным материалом и не должен занимать большие поверхности между клеем и деревом. В случае необходимости можно способствовать этому путем изменения геометрии шпунта.
В отношении вязкости материалов оболочки и ядра жгута можно сказать, что в случае необходимости следует обеспечить одновременную, равномерную экструзию материала оболочки и ядра жгута при постоянном количественном соотношении с минимальными техническими затратами. Слишком высокая вязкость приводит к относительно высокому давлению в экструдере, а слишком низкая вязкость отрицательно влияет на стабильность транспортировки материала и на процесс образования оболочки и ядра жгута, а также на весь процесс жгутообразования при соэкструзии. Фактическое выравнивание вязкостей обоих субстратов в процессе нанесения не требуется.
Что касается давления подачи, то можно отметить, что имеющиеся в продаже бутиловые каучуки или сшивающие влагу полиуретаны имеют, как правило, высокую вязкость, поэтому для соэкструзии клеев требуется давление в экструдере до 20 бар. Что касается разности температур полимерных материалов ядра и оболочки при нанесении интегрального клеевого жгута, то лучше всего обеспечить попутный нагрев обоих компонентов оболочки и ядра в дозирующей системе вплоть до соэкструзионной фильеры. Также выгодно обеспечить приблизительно одинаковую температуру экструзии обоих клеевых полимеров. При большом градиенте температур ядра и оболочки в процессе внесения или нанесения интегрального жгута потребовались бы особые мероприятия по термоизоляции и раздельному нагреву.
В отношении размеров и габаритов клеевого жгута можно, например, сказать, что при покрытых ламинатом панелях с шириной шпунта ок. 3 мм размеры клеевого жгута должны вписываться в указанную ширину. Изготовление клеевых жгутов с минимальным диаметром 1,5 мм и минимальной толщиной оболочки 0,15 мм оказалось достаточно дешевым и технологически решаемым вариантом. Особенно простыми являются фиксируемые шпунтовые соединения третьего вида, в которых предусмотрен только сдвинутый назад паз, раздвигаемый при вхождении утолщенного по краям гребня соседней панели, который после того, как утолщения гребня войдут в предусмотренную для них зону, снова смыкается, создавая механическое зацепление или фиксацию. В рамках масштабных испытаний было установлено, что особенно выгодно дополнительно укреплять такое механическое зацепление панелей нанесенным клеем. Совершенно ясно – см. текст выше, – что нанесение клея на такие оснащенные фиксирующими элементами панели непосредственно на месте монтажа неудобно. Поэтому применение настоящего изобретения для этих претенциозных и соответственно дорогих панельных систем уже в рамках изготовления панелей путем автоматического нанесения клея или клеящего средства представляется особенно ценным.
Из ранее описанных клеевых систем для предварительного нанесения на панели предпочтительно должны применяться клеи, для которых не требуется дополнительное нанесение непосредственно на месте активатора или второго компонента для нанесенного ранее первого компонента двухкомпонентного клея.
Что касается нанесения клея в или на фиксирующие стыковочные элементы, то могут применяться все известные методы нанесения клея, т.е. намазывание, нанесение валиком, набрызгивание тонким слоем т.п., при этом следует иметь в виду, что нанесенный слоя клея выдерживает, с одной стороны, сдвигающую нагрузку при вставлении фиксирующих элементов и что его сцепляющее воздействие на субстрат панели не теряется, а с другой стороны, этот клей нанесен равномерно тонким слоем толщиной 0,3, а лучше 0,2 мм и менее, так как в противном случае клей местами может иметь слишком большой собственный объем и занимать дополнительное место, в результате чего геометрическое замыкание формы и, в частности, нормальное зацепление шпунта и гребня более не будут возможными.
Поэтому, как для только что описанной системы шпунтового соединения с фиксаторами, так и для панелей с соединительными элементами любой иной формы особенно предпочтительным вариантом нанесения контактного клея-расплава в или на шпунт и гребень является набрызгивание. Хорошо зарекомендовало себя набрызгивание слоя клея толщиной макс. 0,25 мм только на одну сторону, то есть на поверхность шпунта или гребня. При двухстороннем нанесении на поверхность как шпунта, так и гребня толщина пленки должна быть соответственно уменьшена, так как иначе трудно будет без применения усилия обеспечить соединение панелей с геометрическим замыканием.
При использовании панелей с фиксирующими соединительными элементами дополнительное нанесение клея сделало возможным увеличить прочность соединения панелей вдвое. Стандартное значение составляло около +70%.
Как уже упоминалось вначале, следующим значительным предметом настоящего изобретения являются укладываемые с геометрическим замыканием и готовые к склеиванию панели, плиты, доски, планки, половицы и подобные строительные элементы для создания ранее описанных покрытий, облицовок и т.п. Эти элементы обеспечиваются клеем (клеящими веществами) точно таким образом, как это было уже подробно описано для образуемых из этих элементов покрытий ранее и подробно для различных предпочтительных вариантов.
Формула изобретения
1. Конструкция для соединения плоских строительных элементов относительно небольшой толщины вдоль их узких сторон, причем на соединяемых поверхностях предусмотрены шпунтовые соединительные элементы, при которых кромки шпунта или одна из двух кромок расходятся от дна шпунта и сходятся на участке удаленного от шпунта конца под углом, превышающим угол расхождения, при этом ширина устья шпунта больше ширины переднего по направлению соединения участка гребня, который, начиная с этого переднего участка, имеет расходящиеся под тем же углом, что и стенки шпунта, клиновидные поверхности, которые в соответствии с поперечным сечением шпунта имеют на заднем по направлению соединения участке гребня пазы, ограничительные, примыкающие к клиновидным плоскостям, плоскости которых сходятся к примыкающей к строительному элементу соединительной перемычке под тем же углом, что и стенки шпунта, при этом на шпунт, как минимум, на участке его расходящихся кромок, или на гребень, как минимум, на участке его расходящейся клиновой поверхности, или на обе поверхности наносится клей или клей с активирующей субстанцией.
2. Конструкция по п.1, причем, как минимум, на одной стороне шпунта и, как минимум, одной стороне гребня предусмотрены преимущественно проходящие по всей длине шпунта и гребня подогнанные друг к другу фиксирующие элементы в форме углубления, или выемки, или форме выступа для того, чтобы удерживать соединенные строительные элементы в состыкованном состоянии, причем для прочного соединения строительных элементов шпунт создан непосредственно в самом строительном элементе или сформирован из его корпуса, массивный гребень создан как часть строительной детали или сформирован из ее корпуса, ширина шпунта увеличивается изнутри наружу, толщина гребня уменьшается в направлении его свободного конца, выступ на гребне имеет более короткую заднюю поверхность, смыкающуюся с поверхностью строительной детали под превышающим углом, углубление в шпунте имеет короткую, расположенную на удаленном от дна шпунта конце опорную поверхность, примыкающую в зафиксированном состоянии к короткой задней поверхности выступа, как минимум, одна из обоих боковых стенок шпунта, а предпочтительно обе боковые стенки, могут эластично отклоняться наружу так, что гребень будет удерживаться этими стенками в зафиксированном состоянии и может входить в шпунт, раздвигая стенки шпунта, и угол, образованный обеими треугольными сторонами или длинной передней поверхностью и короткой задней поверхностью гребня, составляет от 100 до 140°, предпочтительно от 110 до 130°, причем ближняя ко дну шпунта сторона треугольника или входящий в углубление участок поверхности гребня в 4-8 раз, предпочтительно 5-7 раз длиннее дальней от дна шпунта стороны треугольника или короткой задней поверхности, причем, как минимум, на ближней ко дну шпунта поверхности прилегания стенок шпунта и/или на длинной передней поверхности гребня нанесен клей или клей с активирующей субстанцией.
3. Конструкция по п.1 или 2, отличающаяся тем, что на шпунты отдельных панелей, в частности, как минимум на одну из боковых поверхностей шпунта, нанесены масса, слой, покрытие, жгут и т.п. латентного и после соответствующего активирования готового к склеиванию клея, а на гребни, в частности, как минимум на одну из боковых поверхностей гребня, нанесен, в случае необходимости, незадолго до состыковки панелей или должен быть нанесен инициирующий процесс склеивания активатор в виде преимущественно смачивающего эти поверхности покрытия или пропиточного состава, слоя, жгута.
4. Конструкция по п.1, отличающаяся тем, что на шпунты панелей, в частности, как минимум на одну из их боковых поверхностей, нанесена масса, в частности слой, состоящий из стабилизированного путем удаления растворителя или диспергатора, преимущественно воды, но при контакте с растворителем, в частности, водой или влагой, (ре-)активируемого клея или клеящего вещества, а на гребни панелей, в частности, по меньшей мере на одну из их боковых поверхностей, незадолго до состыковки панелей наносится или набрызгивается покрывающая упомянутые панели или, как минимум, смачивающая их пленка или покрытие, или аналогичная пропитка из растворителя или диспергатора для клея или клеящего вещества, в частности воды, выполняющая роль активатора клея.
5. Конструкция по п.1, отличающаяся тем, что на шпунты панелей, в частности, как минимум на одну из их боковых поверхностей нанесена масса, в частности слой, состоящий из стабилизированного путем удаления воды, но при контакте с водой или влагой (ре-)активируемого дисперсионного клея, в частности быстросхватывающего и монтажного клея на основе поливинилацетата, как, например, Dorus MDO 55 (фирма Henkel) или иного предлагаемого торговыми организациями клея для дерева, например, на основе крахмала и/или протеина.
6. Конструкция по п.1, отличающаяся тем, что на шпунты панели, в частности, как минимум на одну из их боковых поверхностей, нанесен первый компонент, в частности, не затвердевший или не полностью затвердевший компонент (смола) двухкомпонентного полимеризуемого клея, а на гребни, как минимум на одну из их боковых поверхностей, нанесен второй компонент, в частности отвердитель вышеназванного двухкомпонентного клея, или наоборот.
7. Конструкция по п.1, отличающаяся тем, что на шпунты или гребни панелей, в частности, как минимум на одну из их боковых поверхностей, уже при изготовлении панелей нанесен второй компонент, в частности, отвердитель двухкомпонентного полимеризуемого клея, в частности лака-отвердителя, а первый компонент, в частности смола, наносится на отвердитель, в частности, на лак-отвердитель, незадолго до или непосредственно перед монтажом панели в процессе сборки покрытия.
8. Конструкция по п.6 или 7, отличающаяся тем, что один компонент двухкомпонентного клея, в частности отвердитель, является отвердителем на базе органического пероксида, а отвердевающая при контакте с ним смола является смолой на основе метакрилата.
9. Конструкция по п.6 или 7, отличающаяся тем, что один компонент двухкомпонентного клея, в частности лак-отвердитель, является отвердителем на основе алифатического или циклоалифатического полиамина и смолы на основе эпоксида и/или бифенола А и/или F.
10. Конструкция по п.1, отличающаяся тем, что как минимум на одну боковую поверхность шпунта панели и/или одну боковую поверхность гребня нанесен слой или жгут заключенного в микрокапсулы, но готового к непосредственному применению клея.
11. Конструкция по п.10, отличающаяся тем, что заключенный в микрокапсулы клей в качестве двухкомпонентного клея состоит из заключенной в микрокапсулы смолы, например смолы на основе метакрилата, и также заключенного в микрокапсулы компонента, например, на основе пероксида.
12. Конструкция по п.1, отличающаяся тем, что как минимум на одну из боковых поверхностей шпунта панели нанесен слой или жгут из заключенной в микрокапсулы смолы как компонента двухкомпонентного клея, а на как минимум одну боковую поверхность гребня, стыкуемую с вышеупомянутой имеющей слой смолы боковой поверхностью шпунта, нанесен слой, пленка или жгут из также заключенного в микрокапсулы отвердителя вышеназванного двухкомпонентного клея или наоборот.
13. Конструкция по п.1, отличающаяся тем, что как минимум на одну из боковых поверхностей шпунта и/или, как минимум, одну из боковых поверхностей гребня нанесен слой или пленка микрокапсул, содержащих смолу двухкомпонентного клея и диспергированных в матрице отвердителя этого же двухкомпонентного клея, или микрокапсул, содержащих отвердитель двухкомпонентного клея и диспергированных в матрице смолы этого же двухкомпонентного клея.
14. Конструкция по п.1, отличающаяся тем, что на шпунты панели, в частности, как минимум на одну из их боковых поверхностей, и/или на гребни, в частности, как минимум на одну из их боковых поверхностей, нанесен постоянно клейкий и готовый к приклеиванию контактный клей, в частности контактный клей-расплав.
15. Конструкция по п.14, отличающаяся тем, что на шпунты панели, в частности, как минимум на одну из их боковых поверхностей, и/или на гребни, в частности, как минимум на одну из их боковых поверхностей, нанесен постоянно клейкий и готовый к приклеиванию контактный клей, в частности контактный клей-расплав, который при температурах от 140 до 170°С имеет вязкость в диапазоне от 15000 до 1500 сантипуазов и наносится при температурах вышеуказанного диапазона, преимущественно в диапазоне от 145 до 155°С.
16. Конструкция по п.14 или 15, отличающаяся тем, что на шпунты панели, в частности, как минимум на одну из их боковых поверхностей, и/или на гребни, в частности, как минимум на одну из их боковых поверхностей, нанесен постоянно клейкий и готовый к приклеиванию контактный клей, в частности контактный клей-расплав торговой марки Dorus PS 534/5 и/или Dorus PS 576/6 (фирма Henkel).
17. Конструкция по п.1, отличающаяся тем, что на шпунты панели, в частности, как минимум на одну из их ограничительных поверхностей и/или гребни, в частности, как минимум на одну из их ограничительных поверхностей, нанесен интегральный клеевой жгут, состоящий из ядра, представляющего собой постоянно клейкий и готовый к применению клей, и окружающей это ядро полимерной оболочки, предотвращающей диффузию воды, растворителя или диспергатора и разрушающейся при воздействии давления или смещающей нагрузки в процессе состыковки панелей, причем ядро жгута заполнено клеем или клеящим веществом, готовым к склеиванию или поддерживаемым в состоянии готовности, подготавливаемым и схватывающим с водой, дисперсией или растворителем, в частности клеем для дерева, на основе синтетического полимера, преимущественно поливинилацетата, и/или на основе биополимера, преимущественно крахмала и/или протеина.
18. Конструкция по п.17, отличающаяся тем, что оболочка жгута, заключающая в себе клей или клеящее вещество, состоит из сцепляющегося с материалом панели хотя бы при нанесении и преимущественно быстротвердеющего гибкого полимера, предпочтительно синтетического каучука, в частности бутилового каучука, или двухкомпонентной и сшивающей жидкость массы из полиуретанового каучука.
19. Конструкция по п.17 или 18, отличающаяся тем, что при нанесении на шпунты, в частности, как минимум на одну из их боковых поверхностей и/или на гребни, в частности, как минимум на одну из их боковых поверхностей, интегрального клеевого жгута последний имеет сечение в форме плоского купола.
20. Конструкция по п.1, отличающаяся тем, что на шпунты панели, в частности, как минимум на одну из их боковых поверхностей, нанесен стабилизированный путем удаления воды, но (ре)-активируемый при контакте с водой или водяной влагой слой клея, в основном равномерной толщины в диапазоне от 0,1 до 0,4, в частности, от 0,15 до 0,25 мм, при допусках ± 0,05 мм.
РИСУНКИ
|
|