|
|
(21), (22) Заявка: 2004106556/03, 07.09.2001
(24) Дата начала отсчета срока действия патента:
07.09.2001
(43) Дата публикации заявки: 10.07.2005
(46) Опубликовано: 10.07.2006
(56) Список документов, цитированных в отчете о поиске:
AU 672286 A, 26.09.1996. GB 2160559 A, 24.12.1985. DE 800784 A, 08.07.1949. RU 2100541 C1, 27.12.1997.
(85) Дата перевода заявки PCT на национальную фазу:
07.04.2004
(86) Заявка PCT:
AU 01/01122 (07.09.2001)
(87) Публикация PCT:
WO 03/023164 (20.03.2003)
Адрес для переписки:
193036, Санкт-Петербург, а/я 24, НЕВИНПАТ, пат.пов. А.В.Поликарпову, рег.№ 0009
|
(72) Автор(ы):
ХИК Роберт Мэйнлэнд (AU)
(73) Патентообладатель(и):
НЬЮ-ЛОК РУФИНГ СИСТЕМЗ ПТИ ЛТД (AU)
|
(54) НАЩЕЛЬНЫЕ РЕЙКИ
(57) Реферат:
Изобретение относится к области строительства, в частности к креплению и уплотнению кровельной черепицы. Нащельная рейка для установки черепицы на кровельной обрешетке имеет боковые полки и удерживающее средство, содержащее по существу U-образный проволочный зажим, имеющий ножки с выполненными на них ушками для сцепления с пазами на боковых полках, при этом каждая ножка оканчивается крюком для сцепления с нижним концом черепицы. Технический результат изобретения заключается в повышении стойкости черепицы к атмосферным влияниям. 3 н. и 4 з.п. ф-лы, 6 ил.
Область техники
Настоящее изобретение относится к креплению и уплотнению черепицы, предпочтительно плоской черепицы, на кровельной конструкции. Изобретение будет частично описано на примере плоской черепицы, но не ограничивается этим. Используемый в описании и формуле термин “черепица” следует понимать как кровельную черепицу, кровельную плитку, шифер, плоскую черепицу из пиломатериала или другого материала или любой подобный кровельный материал.
Уровень техники
Известны различные кровельные системы для крепления к крыше плоской черепицы.
В патенте Австралии N672286 описана кровельная система с черепицей, в которой расположенные на расстоянии друг от друга параллельные соединительные рейки находятся между двумя соседними обрешетинами, а каждая черепица опирается своими противоположными краями на соседние рейки. В этом патенте средство крепления, фиксирующее нижний конец соответствующей черепицы от подъема, выполнен за одно целое с рейкой. Такие рейки, известные как “нащельные рейки”, служат для предотвращения прохождения между черепицами и попадания на чердак влаги, пыли и т.п. Описаны два вида средства крепления. В одном варианте выполнения на нижнем конце каждой нащельной рейки имеются лапки, выполненные с ней за одной целое и загнутые вокруг нижнего края соответствующей черепицы. Во втором варианте выполнения каждая нащельная рейка имеет расположенный по ее центру и выступающий вверх крюк для сцепления с нижним концом черепицы, расположенной в следующей, верхнем относительно нащельной рейки ряду, с целью предотвращения подъема черепицы.
В патентной заявке GB 2160559 описана нащельная рейка, имеющая элемент, подобный выступающему крюку, который сцепляется с нижним концом черепицы, расположенной в следующем, верхнем относительно нащельной рейки ряду. Эта конструкция фактически идентична конструкции, описанной в патенте Австралии N672286.
В DE 800784 описана нащельная рейка, проходящая между верхней и нижней обрешетинами, причем нижний конец нащельной рейки снабжен лапками, которые сцепляются с нижней концевой частью соответствующей черепицы.
В указанных документах для удерживания нижнего конца соответствующей черепицы и предупреждения его подъема, например при сильном ветре и т.д., используются устройства в виде различных лапок или крюков.
Однако на практике оказалось, что в конструкциях, где используется система, описанная, например, в патенте Австралии N672286, не достигается хорошей стойкости к атмосферным влияниям и возникают проблемы, связанные с коррозией части нащельной рейки, которая загнута или заходит за нижний конец черепицы.
Было бы желательно иметь альтернативную удерживающую систему для крепления черепицы, в особенности плоской черепицы, где нет проблем, связанных с коррозией.
Сущность изобретения
Поэтому в одном из вариантов выполнения изобретения, который не является единственным или всеохватывающим, предложена нащельная рейка, предназначенная для поддерживания кровельных черепиц и установки между соседними обрешетинами с опорой на них, причем каждая нащельная рейка имеет такую длину, что при установке на крыше ее нижняя концевая часть выступает за нижнюю из соседних обрешетин, в результате чего каждая черепица опирается своими противоположными краями на соседние нательные рейки; верхняя поверхность каждой указанной рейки находится в контакте с соседними краями соседних черепиц, прилегающих краями друг к другу, и служит опорой для них; при этом нащельная рейка включает средство удерживания черепицы, предназначенное для предотвращения ее подъема и содержащее проволочный зажим, сцепленный с нащельной рейкой и имеющий по меньшей мере одну ножку с загнутой в виде крюка частью для сцепления с нижним концом черепицы при установке на крыше.
Предпочтительно, чтобы проволока проволочного зажима была выполнена из упругого материала. Предпочтительно, чтобы проволока была выполнена из нержавеющей стали.
В одном из вариантов удерживающее средство может содержать по существу U-образное проволочное тело, имеющее ножки, которые при установке на крыше по существу параллельны друг другу, и ушко, выступающее вбок от каждой ножки, для размещения в отверстии в боковой полке нащельной рейки, причем ножка оканчивается загнутой в виде крюка частью. Когда удерживающее средство изготовлено, ножки могут быть расходящимися, но они должны быть упругими, чтобы при установке нащельной рейки на крыше каждое ушко фиксировалось в соответствующем отверстии.
Нащельная рейка может иметь по меньшей мере две продольных полосы из уплотнительного материала, предназначенные для создания уплотнения под соответствующими сторонами соседних черепиц. Нащельная рейка может также иметь более широкую центральную продольную уплотнительную полосу. Боковые края соседних черепиц могут опираться на эту широкую центральную продольную уплотнительную полосу.
Нащельная рейка может также иметь проходящие в продольном направлении канавки, выполненные на ее верхней поверхности, которые способствуют стоку воды. Эти канавки могут находиться между двумя продольными полосами и более широкой центральной продольной уплотнительной полосой.
В случае, когда нащельная рейка должна использоваться с обрешетинами из пиломатериала, она может иметь боковые лапки, которые при установке на крыше прилегают к нижней обрешетине, для крепления нащельной рейки к деревянной обрешетине гвоздями или шурупами, и верхнюю лапку для крепления нащельной рейки гвоздями к верхней из соседних обрешетин.
Если нащельная планка должна использоваться с металлическими обрешетинами, она может включать средство сцепления с нижней из соседних обрешетин, содержащее установочный паз, расположенный вблизи нижней поверхности нащельной рейки и ее нижнего конца и открытый в сторону этого нижнего конца, благодаря чему верхняя полка нижней из соседних обрешетин при установке нащельной рейки на крыше входит в этот установочный паз. Верхний конец нащельной рейки может опираться на нижнюю полку верхней из соседних обрешетин.
Нащельная рейка может иметь на своем верхнем конце отходящую вниз лапку, которая при установке на крыше сцепляется с рифлением нижней полки опорной обрешетины.
Кроме того, нащельная рейка может иметь отходящие вниз боковые полки, которые отогнуты наружу под небольшим углом, что делает возможным штабелирование нательных реек.
Загнутая в виде крюка часть может быть приспособлена для размещения и удерживания черепиц различной толщины за счет по существу U-образной зажимной части на втором конце, выполненной так, что нижний край черепицы входит в эту U-образную часть, а часть U-образного зажима упруго опирается на верхнюю поверхность черепицы.
Далее изобретение описано более подробно со ссылками на сопровождающие чертежи, где иллюстрируется предпочтительный вариант его выполнения.
Краткое описание чертежей:
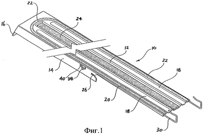
На фиг.1 показан в перспективе вариант выполнения нащельной рейки согласно изобретению,
на фиг.2 – вид сверху на вариант, изображенный на фиг.1,
на фиг.3 – вид сбоку на вариант, изображенный на фиг.1,
на фиг.4 – разрез части нащельной рейки согласно изобретению, когда она установлена на обрешетине, выполненной согласно одному из вариантов, а на нащельной рейке установлена черепица,
на фиг.5 – вид сверху на один из вариантов выполнения удерживающего зажима, используемого с нащельной рейкой согласно изобретению, и
на фиг.6 показан удерживающий зажим в перспективе.
Термины “верхний” и “нижний” в описании и формуле изобретения используются по отношению к такому положению нащельной рейки и зажима, которое они имеют при установке на наклонной крыше.
Нащельная рейка, обозначенная в целом позицией 10, имеет верхнюю поверхность 12, отходящие вниз боковые полки 14 и верхнюю концевую лапку 16, расположенную на том конце нащельной рейки, который при ее использовании, т.е. при установке на крыше, занимает верхнее положение. На верхней поверхности 12 имеются две канавки 18 и периферийная уплотнительная полоса 20, которая проходит вдоль каждой боковой стороны нащельной рейки и искривляется наверху с образованием дугообразной части 22. Имеется также центральная уплотнительная полоса 24, более широкая, чем боковые уплотнительные полосы 20. Две продольные полосы уплотнительного материала предназначены для создания уплотнения под соответствующими сторонами соседних черепиц. Боковые края соседних черепиц могут опираться на более широкую центральную продольную уплотнительную полосу.
Боковые полки 14, расположенные с каждой боковой стороны нащельной рейки, кончаются, не доходя до ее нижнего конца, и там где кончаются эти полки, имеется паз 26, открытый в сторону нижнего конца нащельной рейки и при использовании сцепленный с полкой обрешетины 50, как будет описано более подробно при рассмотрении фиг.4.
На нащельной рейке 10 установлен расположенный под ней зажим 30 для удерживания черепицы, более подробно показанный на фиг.5 и 6. Этот зажим имеет в общем U-образную форму и включает верхний конец 32 и ножки 34 и 36, на которых выполнены ушки 38. При установке зажима 30 в нащельную рейку эти ушки 38 входят в выполненные в ее боковых полках 14 отверстия 40 для удерживания его на месте. Как видно на фиг.5 и 6, ножки 34 и 36 расходятся, но поскольку зажим выполнен из упругой проволоки, их можно сдвинуть так, чтобы ушки попали в отверстия 40, при этом ножки становятся по существу параллельны друг другу, а за счет упругости проволоки ушки 38 удерживаются в отверстиях 40.
Каждая ножка 34 и 36 оканчивается загнутой в виде крюка частью 42, расположенной под прямым углом к общей плоскости удерживающего зажима.
На фиг.4, изображающей сборку, видно, что обрешетина 50 имеет Z-образную форму и состоит из вертикальной стенки 51 с верхней полкой 52 и нижней полкой 53, отходящими в противоположных направлениях. Нижняя полка 53 предпочтительно выполнена рифленой в продольном направлении. Конец верхней полки 52 входит в паз 26 на конце боковой полки 14 нащельной рейки. Черепица 54 лежит на нащельной рейке 10, находясь в контакте с уплотнительной полосой 20, обеспечивающей уплотнение по боковому краю черепицы. Загнутая в виде крюка часть 42 удерживающего зажима 30 заходит за черепицу 54 и контактирует с ее верхней поверхностью, предупреждая сползание черепицы. Указанная часть 42 достаточно упруга и поэтому в нее может входить черепица различной толщины, хотя, если предполагается использовать значительно более толстую черепицу, удерживающие зажимы 30 могут иметь загнутые в виде крюка части различных размеров. Толщина черепицы может находиться в пределах от 3 до 12 мм, так что можно предусмотреть один удерживающий зажим, у которого загнутая в виде крюка часть имеет зев, соответствующий черепице толщиной 3-7 мм, и другой удерживающий зажим, у которого эта часть имеет зев, соответствующий черепице толщиной 8-12 мм.
Следует отметить, что для облегчения замены удерживающего зажима целесообразно иметь направляющий паз, как показано стрелкой 56, между верхней полкой 52 Z-образной обрешетины 50 и нижней стороной нащельной рейки 10, чтобы можно было сравнительно просто затолкнуть новый удерживающий зажим с попаданием ушек 38 в отверстия 40. Если обрешетины выполнены из пиломатериала, то еще будет оставаться щель, через которую можно ввести удерживающий зажим, чтобы ушки вошли в отверстия 40 на боковых сторонах нащельной рейки.
Изобретение имеет много преимуществ по сравнению с известными техническими решениями. Как указано выше, в известных технических решениях лапки для удерживания черепицы выполнены на нащельной рейке и являются ее составной частью. Нащельная рейка и лапки выполнены из мягкой стали, и поэтому чтобы лапки были достаточно прочными, они должны иметь соответствующую ширину.
Особое преимущество упругого удерживающего зажима согласно изобретению состоит в том, что его можно снять без снятия всей нащельной рейки, сдвинув друг к другу загнутые в виде крюка части 42 ножек так, чтобы ушки 38 вышли из отверстий 40 на боковых сторонах нащельной рейки, после чего можно полностью снять удерживающий зажим, что позволит снять черепицу.
Проволочный зажим прикреплен к нащельной рейке в месте, удаленном от коррозийной атмосферы и, таким образом, от области конденсации, и доходит до конца черепицы.
Форму проволоки можно легко изменять, чтобы удерживать черепицу различной формы без необходимости изготавливать другую нащельную рейку, что экономически выгодно.
Если нужно снять только одну черепицу, то нужно сдвинуть только одну из двух загнутых в виде крюка частей 42 на каждой из двух соседних нащельных рейках и освободить черепицу.
Проволочный зажим не очень виден на крыше, тогда как лапки, прикрепленные к нащельным рейкам, видны сравнительно хорошо, даже если их покрасить или нанести на них покрытие, похожее на поверхность черепицы. Поэтому при использовании черепицы разного цвета приходится заменять и нательные рейки, в то время как при использовании проволочного зажима необходимости в замене нащельных реек нет. Кроме того, в случае замены черепицы отгибание лапок для освобождения черепицы и последующий их загиб для закрепления новой черепицы может привести к растрескиванию краски или покрытия на лапках.
Далее, в климатических зонах, где выпадает снег, при сходе снега с крыши лапки могут отогнуться и перестать держать черепицу. При использовании проволочного зажима сползающему по крыше снегу противостоит малая площадь, а жесткость проволочного зажима из нержавеющей стали не даст ему отогнуться.
Следует отметить, что для облегчения замены удерживающего зажима целесообразно иметь направляющий паз, как показано стрелкой 56, между верхней полкой 52 Z-образной обрешетины 50 и нижней стороной нащельной рейки 10, чтобы можно было сравнительно просто затолкнуть новый удерживающий зажим с попаданием ушек 38 в отверстия 40. Если обрешетины выполнены из пиломатериала, то еще будет оставаться щель, через которую можно ввести удерживающий зажим, чтобы ушки вошли в отверстия 40 на боковых сторонах нащельной рейки.
Поскольку зажим предпочтительно выполнен из нержавеющей стали, он не будет подвергаться коррозии в атмосфере и, значит, на черепице не появятся ржавые полосы. Благодаря тому что проволока имеет относительно малый диаметр, ее не будет видно на крыше и поверхность крыши будет казаться более ровной. Проволочный зажим также не будет служить препятствием, задерживающим на крыше влагу и мусор, в отличие от более широких лапок.
В описании были представлены различные примеры, однако изобретение не ограничено ни одним из них и может включать два примера или больше, объединенные вместе. Примеры служат только для иллюстрации изобретения и не ограничивают его.
В описании и формуле изобретения слова “включает” и содержит”, а также “включающий” и “содержащий” подразумевают, если из контекста не следует иное, наличие указанного после этих слов элемента или группы элементов, не исключая возможности наличия какого-либо другого элемента или другой группы элементов.
Формула изобретения
1. Нащельная рейка, предназначенная для поддерживания кровельных черепиц и для установки между соседними обрешетинами с опорой на них, причем каждая нащельная рейка имеет такую длину, что при установке на крыше нижняя концевая часть нащельной рейки выступает за нижнюю из соседних обрешетин; каждая черепица опирается своими краями на соседние нащельные рейки; предусмотрено средство удерживания черепицы, содержащее проволочный зажим из нержавеющей стали, сцепленный с нащельной рейкой, указанный проволочный зажим выполнен по существу U-образным и имеет две ножки, конец каждой из которых загнут в виде крюка для захвата нижнего конца черепицы, и ушко, выступающее вбок от каждой ножки; нащельная рейка имеет боковые полки с отверстием в каждой из них для размещения соответствующего ушка и крепления зажима к нащельной рейке.
2. Нащельная рейка по п.1, в которой в указанных боковых полках выполнен обращенный вниз паз для сцепления с обращенной вверх полкой нижней обрешетины.
3. Нащельная рейка по любому из предыдущих пунктов, которая имеет по меньшей мере две проходящие в продольном направлении полосы из уплотнительного материала для создания уплотнения под соответствующими сторонами соседних черепиц.
4. Нащельная рейка по п.1, которая имеет проходящие в продольном направлении канавки, способствующие стоку воды.
5. Нащельная рейка по п.1, в которой обрешетины являются деревянными, а нащельная рейка имеет боковые лапки для прикрепления гвоздями или шурупами к нижней обрешетине и верхнюю лапку для прикрепления гвоздями или шурупами к соседней верхней обрешетине.
6. Средство удержания черепицы, установленной на обрешетинах на крыше, содержащее по существу U-образный проволочный зажим из упругой нержавеющей стали с двумя удлиненными ножками, на каждой из которых имеется выступающее вбок ушко для размещения в отверстии в полке нащельной рейки, на которую опираются черепицы, причем конец каждой ножки имеет загнутый в виде крюка элемент для сцепления с нижним концом черепицы.
7. Нащельная рейка для поддерживания черепиц на обрешетинах на крыше, содержащая боковые полки, в каждой из которых выполнено отверстие, и средство удерживания черепицы, содержащее по существу U-образный проволочный зажим с удлиненными ножками, на которых имеются ушки для сцепления с указанными отверстиями, причем каждая ножка на конце загнута в виде крюка для сцепления с концом черепицы.
РИСУНКИ
MM4A – Досрочное прекращение действия патента СССР или патента Российской Федерации на изобретение из-за неуплаты в установленный срок пошлины за поддержание патента в силе
Дата прекращения действия патента: 08.09.2009
Извещение опубликовано: 27.11.2010 БИ: 33/2010
|
|