|
(21), (22) Заявка: 2003132660/15, 11.11.2003
(24) Дата начала отсчета срока действия патента:
11.11.2003
(43) Дата публикации заявки: 20.04.2005
(46) Опубликовано: 10.07.2006
(56) Список документов, цитированных в отчете о поиске:
RU 2059350 C1, 27.04.1996. RU 2021212 C1, 15.10.1994. RU 2182562 C2, 20.05.2002. RU 2123155 C1, 10.12.1998.
Адрес для переписки:
123557, Москва, Большой Тишинский пер., 8, стр.1, “Ресурспроминвест”, Б.А. Адамовичу
|
(72) Автор(ы):
Адамович Борис Андреевич (RU), Дудов Владимир Ильич (RU), Дербичев Ахмет Гири Бамат Гиреевич (RU), Трубицын Александр Павлович (RU)
(73) Патентообладатель(и):
Адамович Борис Андреевич (RU), Дудов Владимир Ильич (RU), Дербичев Ахмет Гири Бамат Гиреевич (RU), Трубицын Александр Павлович (RU)
|
(54) СПОСОБ КОНДИЦИОНИРОВАНИЯ АРТЕЗИАНСКОЙ ВОДЫ И УСТРОЙСТВО ДЛЯ ЕГО РЕАЛИЗАЦИИ
(57) Реферат:
Изобретение относится к водоснабжению из артезианской воды с использованием дистилляции, коагуляции и обеззараживания. Перед дистилляцией часть артезианской воды для мытья тела нагревают в теплообменнике и направляют в душевую, дистилляцию осуществляют с помощью электрических дистилляторов, исходную артезианскую воду смешивают с дистиллированной водой в соотношении 1:Cimax/ПДКi, где Cimax – максимальная концентрация вредной примеси, а ПДКi – ее предельно допустимая концентрация, и отводят часть воды для мытья головы и посуды, а остальную часть разбавленной воды, используемую для питья и приготовления пищи, перед коагуляцией и обеззараживанием подвергают аэрации с помощью водоструйного насоса с центробежной форсункой. Технический результат: создание системы кондиционирования с раздельным получением необходимой воды, снижение расходов воды на обезжелезивание и упрощение аэрации. 2 н.п. ф-лы, 1 ил.
Изобретение относится к водоснабжению из артезианской воды с использованием дистилляции, коагуляции и обеззараживания.
В последнее время в связи с загрязненностью открытых водоемов и грунтовых вод приобретает большое значение питьевое водоснабжение из артезианской воды. Особое значение эта проблема имеет для артезианских скважин глубокого залегания, где практически повсеместно наблюдается существенное отклонение от стандартов питьевой воды по содержанию железа, кальция, магния, фтора и хлоридов.
Известны различные способы повышения качества питьевой воды с использованием процесса ее дистилляции. Наиболее близким прототипом настоящего изобретения является способ и устройство по патенту России №2059350 (приоритет 19.05.1993, опубл. 27.04.96., БИ №12), предусматривающий дистилляцию с последующей минерализацией дистиллята на гранулированной насадке из доломита, флюорита и посеребренного активированного угля.
Основным недостатком этого и других способов и устройств является сложность эксплуатации и минерализации получаемой дистиллированной воды и большие расходы на регенерацию шахты.
Задачей изобретения является существенное снижение расходов на обезжелезивание воды в связи с использованием недефицитного доломита в сочетании с упрощением способа аэрации воды для последующего обезжелезивания и создание полифункциональной системы кондиционирования с раздельным получением необходимой воды для мытья тела, головы, мытья посуды и питьевых (пищевых) целей.
В этом заключается технический эффект от реализации изобретения. Поставленная задача решается тем, что перед дистилляцией часть артезианской воды для мытья тела нагревают в теплообменнике и направляют в душевую. Дистилляцию осуществляют с помощью электрических дистилляторов. Исходную артезианскую воду смешивают с дистиллированной водой в соотношении 1:Cimax/ПДКi, где Cimax – максимальная концентрация вредной примеси, а ПДКi – ее предельно допустимая концентрация, и отводят часть воды для мытья головы и посуды, а остальную часть разбавленной воды, используемую для питья и приготовления пищи, перед коагуляцией и обеззараживанием подвергают аэрации с помощью водоструйного насоса с центробежной форсункой.
Устройство имеет в своем составе два узла: узел разбавления исходной воды дистиллятом и узел обезжелезивания и обеззараживания воды, причем первый узел состоит из входного запорного вентиля, связанного с трубопроводом водонапорной башни, определенного количества электрических дистилляторов, определяемого по формуле:

где n – количество человек – потребителей воды;
w – производительность одного дистиллятора в л/час, каждый из которых состоит из запорного вентиля; вентиля-регулятора, имеющего возможность фиксировать заданное соотношение при разбавлении, центробежного смесителя, запорного вентиля охлаждающей воды с отдельным теплообменником с запорными вентилями.
Второй узел состоит из входного запорного вентиля, емкости аэратора с водоструйным насосом, объединенным с центробежной форсункой блока предварительной коагуляции, поплавкового указателя предельного уровня с шаровым поплавком и иллюминатором, т-образного трубопровода и вентиля слива осадка, емкости блока коагуляции с доломитом и емкости блока обеззараживания с посеребренным активированным углем, имеющим возможность приготовить воду для питья и приготовления пищи.
При этом количество потребляемой воды определяется по следующим формулам:
– для мытья тела G1=(20…30)n кг/сут;
– для мытья головы G2=(4…8)n кг/сут;
– для мытья посуды G3=(1…3)n кг/сут;
– для питьевых целей G4=(2.5…5)n кг/сут.,
а объем емкостей определяется по формулам:
– емкость для аэрирования V1=(2.5…5)n литров;
– емкость для коагуляции V2=(2…3)n литров;
– емкость для обеззараживания V3=(0,1…0,5)n литров.
Исходную артезианскую воду разбавляют дистиллированной водой, получаемой с помощью электрических дистилляторов из этой же исходной воды, в соотношении: один к коэффициенту Cimax/ПДК, где Cimax – максимальная концентрация вредной примеси, а ПДКi – ее предельно допустимая концентрация. При этом часть разбавленной исходной воды используют для мытья головы и посуды, а мытье тела осуществляют в душевой исходной артезианской водой после ее нагревания в теплообменнике. Другую часть разбавленной воды аэрируют с помощью водоструйного насоса с центробежной форсункой, коагулируя и обеззараживая ее известными способами, и получают холодную кондиционную воду для питья и приготовления пищи.
В качестве примера следует отметить, что обычно аэрация осуществляется с помощью барботажа воздухом, что требует применения компрессоров.
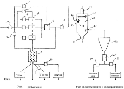
В данном случае аэрация осуществляется под давлением исходной артезианской воды в водоструйном насосе, подсасывающем воздух из атмосферы. Схема устройства приведена на чертеже. Оно состоит из двух узлов:
– узел разбавления исходной воды дистиллятом,
– узел обезжелезивания и обеззараживания воды.
Первый узел состоит из входного запорного вентиля 1, связанного с трубопроводом водонапорной башни (на схеме не показана), необходимого количества электрических дистилляторов 2 с запорными вентилем 3 и вентилем-регулятором 4, имеющим возможность фиксировать заданное соотношение при разбавлении, центробежным смесителем 5; запорного вентиля охлаждающей воды 6, теплообменника 7 с запорными вентилями 8, 9, 10.
Второй узел состоит из входного запорного вентиля 11, емкости №1 аэратора с водоструйным насосом 12, объединенным с центробежной форсункой блока предварительной коагуляции 13, поплавкового указателя предельного уровня 14 с шаровым поплавком 15 и иллюминатором 16, т-образным трубопроводом 17 и вентилем слива осадка 18. Трубопровод 17 непосредственно связан с емкостью №2 блока коагуляции с доломитом и емкостью №3 блока обеззараживания с посеребренным активированным углем и вентилями 19 и 20 воды для питья и приготовления пищи.
Количество дистилляторов определяется по формуле:

где n – количество человек – потребителей воды;
w – производительность одного дистиллятора в л/час.
Количество потребляемой воды определяется по следующим формулам:
– для мытья тела G1=(20…30)n кг/сут;
– для мытья головы G2=(4…8)n кг/сут;
– для мытья посуды G3(1…3)n кг/сут;
– для питьевых целей G4=(2.5.5)n кг/сут.,
а объем емкостей №1, 2, 3 определяется по формулам:
– емкость для аэрирования V1=(2.5…5)n литров;
– емкость для коагуляции V2=(2…3)n литров;
– емкость для обеззараживания V3=(0,1…0,5)n литров.
Устройство работает следующим образом.
Артезианскую воду из водонапорной башни подают к электрическим дистилляторам 2, открывая вентили 1 и 3 и одновременно открывая вентиль-регулятор 4 для разбавления в смесителе 5 исходной воды и вентиль 6 для охлаждения конденсаторов электрических дистилляторов.
Для пользования общей душевой (мытье тела) открывают вентиль 9, и исходная вода, нагреваясь в теплообменнике 7, поступает в душевую.
Для мытья головы вода поступает в отдельные душевые кабинки после открытия вентиля. При закрытом вентиле 8 и открытом вентиле 10 разбавленная вода, нагреваясь в теплообменнике 7, поступает на мытье посуды.
Так работает узел разбавления исходной воды дистиллятом.
Узел обезжелезивания и обеззараживания начинает работать при открытии вентиля 11. Разбавленная вода поступает в водоструйный насос 12, объединенный с центробежной форсункой, где она аэрируется и поступает в блок 13 предварительной обработки и удаления избыточных количеств углекислоты, сероводорода, фтора и растворенного в воде хлора, расположенный в емкости №1.
В этой емкости вода отстаивается, а осадок через вентиль 18 при промывке системы собирают для захоронения. Затем частично осветленная вода через заборную Т-образную трубку 17 поступает в емкость №2, где осуществляют коагуляцию трехвалентного железа на гранулированном доломите. После чего вода обеззараживается в емкости №3 на активированном угле, импрегнированном серебром (4%), и используется для питьевых целей и приготовления пищи после открытия вентилей 19 и 20 соответственно.
Во избежание переполнения емкости №1 используют водомерный указатель предельного уровня 14 с шаровым окрашенным в красный цвет поплавком 15 и иллюминатором 16, в котором при полном заполнении емкости №1 появляется красный поплавок.
Формула изобретения
1. Способ кондиционирования артезианской воды, включающий ее дистилляцию, коагуляцию на доломите и обеззараживание на посеребренном активированном угле, отличающийся тем, что перед дистилляцией часть артезианской воды для мытья тела нагревают в теплообменнике и направляют в душевую, дистилляцию осуществляют с помощью электрических дистилляторов, исходную артезианскую воду смешивают с дистиллированной водой в соотношении 1:Cimax/ПДКi, где Cimax – максимальная концентрация вредной примеси, а ПДКi – ее предельно допустимая концентрация, и отводят часть воды для мытья головы и посуды, а остальную часть разбавленной воды, используемую для питья и приготовления пищи, перед коагуляцией и обеззараживанием подвергают аэрации с помощью водоструйного насоса с центробежной форсункой.
2. Устройство для кондиционирования артезианской воды, включающее электрические дистилляторы, коагулятор и узел обеззараживания и удаления запахов, отличающееся тем, что оно имеет в своем составе два узла: узел разбавления исходной воды дистиллятом и узел обезжелезивания и обеззараживания воды, причем первый узел состоит из входного запорного вентиля, связанного с трубопроводом водонапорной башни, определенного количества электрических дистилляторов, определяемого по формуле: i=0,3n·Cimax/(w·ПДКi), где n – количество человек-потребителей воды; Cimax – максимальная концентрация вредной примеси; ПДКi – ее предельно допустимая концентрация; w – производительность одного дистиллятора, л/ч, каждый из которых состоит из запорного вентиля, вентиля-регулятора, имеющего возможность фиксировать заданное соотношение при разбавлении, центробежного смесителя, запорного вентиля охлаждающей воды с отдельным теплообменником с запорными вентилями; второй узел состоит из входного запорного вентиля, емкости аэратора с водоструйным насосом, объединенным с центробежной форсункой блока предварительной коагуляции, поплавкового указателя предельного уровня с шаровым поплавком и иллюминатором, т-образного трубопровода и вентиля слива осадка, емкости блока коагуляции с доломитом и емкости блока обеззараживания с посеребренным активированным углем, имеющим возможность приготовить воду для питья и приготовления пищи, при этом количество потребляемой воды определяется по следующим формулам: для мытья тела G1=(20÷30)n, кг/сут; для мытья головы G2=(4÷8)n, кг/сут; для мытья посуды G3=(1÷3)n, кг/сут; для питьевых целей G4=(2,5÷5)n, кг/сут., а объем емкостей определяется по формулам: емкость для аэрирования V1=(2,5÷5)n, л; емкость для коагуляции V2=(2÷3)n, л; емкость для обеззараживания V3=(0,1÷0,5)n, л.
РИСУНКИ
MM4A – Досрочное прекращение действия патента СССР или патента Российской Федерации на изобретение из-за неуплаты в установленный срок пошлины за поддержание патента в силе
Дата прекращения действия патента: 12.11.2005
Извещение опубликовано: 20.02.2007 БИ: 05/2007
|