|
|
(21), (22) Заявка: 2005106657/11, 09.03.2005
(24) Дата начала отсчета срока действия патента:
09.03.2005
(46) Опубликовано: 10.07.2006
(56) Список документов, цитированных в отчете о поиске:
RU 2241651 C1, 10.12.2004. SU 829507 A1, 15.05.1981. RU 2230696 С2, 20.06.2004. WO 2004016531 A1, 26.02.2004.
Адрес для переписки:
199106, Санкт-Петербург, В.О., 21-я линия, 2, СПГГИ (ТУ), патентный отдел
|
(72) Автор(ы):
Тарасов Юрий Дмитриевич (RU)
(73) Патентообладатель(и):
Государственное образовательное учреждение высшего профессионального образования “Санкт-Петербургский государственный горный институт им. Г.В. Плеханова (технический университет)” (RU)
|
(54) НАКЛОННЫЙ ЛЕНТОЧНЫЙ КОНВЕЙЕР
(57) Реферат:
Изобретение относится к конвейеростроению, а именно к наклонным ленточным конвейерам, оснащенным улавливающим устройством. Наклонный ленточный конвейер состоит из улавливающего устройства, ленты, образующей грузонесущую и холостую ветви, которая бесконечно замкнута на установленных на рамах верхнем приводном барабане и нижнем натяжном барабане, установленном на тележке, кинематически связанной канатами с противовесом и с возможностью перемещения тележки по направляющей раме. Улавливающее устройство состоит из двух ветвей стального проволочного каната. Ветви каната замкнуты на блоке, закрепленном с возможностью вращения на стойке, шарнирно установленной на основании конвейера, кинематически связанной сдвоенным гибким элементом с тележкой натяжного барабана и с возможностью взаимодействия с упором. Свободные концы обеих ветвей каната огибают отклоняющие блоки и закреплены на размещенном между грузонесущей и холостой ветвями ленты рычаге, снабженном балкой с закрепленной на ней П-образной рамой с двумя поперечинами. Над холостой ветвью ленты с зазором на раме конвейера закреплена плита. Техническим результатом является обеспечение возможности улавливания оборвавшейся ленты конвейера одновременно на грузонесущей и холостой ветвях ленты. 8 ил.
Изобретение относится к конвейеростроению, а именно к наклонным ленточным конвейерам, оснащенным улавливающим устройством, и может быть использовано на дробильно-сортировочных заводах, обогатительных и агломерационных фабриках.
Известны наклонные ленточные конвейеры, включающие бесконечно замкнутую на приводном и концевом барабанах ленту, грузонесущая ветвь которой опирается на закрепленные на раме желобчатые роликоопоры, натяжное тележечное устройство, улавливающее устройство, содержащее расположенные с зазорами над боковыми кромками ленты два стальных проволочных каната, закрепленных своими концами на раме конвейера (Шахмейстер Л.Г. и др. Ловители для наклонных ленточных конвейеров. ЦНИЭУголь, М., 1972, с.17-18, рис.2а).
Недостатками известных конвейеров, оснащенных улавливающими устройствами, является малая надежность улавливающего устройства и увеличенный тормозной путь ленты при ее улавливании.
Известен наклонный ленточный конвейер (прототип), состоящий из бесконечно замкнутой на приводном и натяжном барабанах ленты, грузонесущая ветвь которой опирается на закрепленные на раме желобчатые роликоопоры, тележки натяжного устройства грузового типа, улавливающего устройства, включающего два закрепленных на раме стальных проволочных каната, которые свободно размещены между центральным и двумя боковыми роликами желобчатых роликоопор, при этом каждый канат закреплен одним концом на раме приводного барабана, а другим на барабане, установленном с возможностью вращения на тележке натяжного устройства, а длины навитых на барабан канатов приняты не меньше максимального хода тележки натяжного устройства при работе конвейера, причем канаты фиксированы в парных зажимах рычагов, шарнирно закрепленных на раме конвейера со стороны приводного барабана и установленных с возможностью поворота в сторону ленты и взаимодействия с упорами при повороте в обратном направлении, причем парные зажимы между собой и рычагами соединены стяжными болтами (Пат. РФ №2241651, Кл. В 65 G 15/08; 43/06, 2004).
Однако недостатком известного технического решения является невозможность его использования для одновременного улавливания грузонесущей и холостой ветвей.
Техническим результатом изобретения является обеспечение возможности одновременного улавливания грузонесущей и холостой ветвей оборвавшейся ленты наклонного ленточного конвейера.
Технический результат достигается тем, что в наклонном ленточном конвейере, состоящем из ленты, образующей грузонесущую и холостую ветви, которая бесконечно замкнута на установленных на рамах верхнем приводном барабане и нижнем натяжном барабане, установленном на тележке, кинематически связанной канатами с противовесом и с возможностью перемещения тележки по направляющей раме, улавливающего устройства, включающего две ветви закрепленного на раме конвейера стального проволочного каната, которые свободно размещены в просветах между центральным и боковыми роликами желобчатых роликоопор грузонесущей ветви ленты, при этом ветви каната защемлены на опорных элементах рычагов, шарнирно закрепленных на раме конвейера, согласно изобретению, ветви каната замкнуты на блоке, закрепленном с возможностью вращения на стойке, шарнирно установленной на основании конвейера в зоне натяжного барабана, кинематически связанной сдвоенным гибким элементом с тележкой натяжного барабана и с возможности) взаимодействия с упором, закрепленном на раме конвейера со стороны приводного барабана, а свободные концы обеих ветвей каната огибают отклоняющие блоки, установленные в верхней части конвейера, и закреплены на размещенном между грузонесущей и холостой ветвями ленты рычаге, шарнирно установленном на раме конвейера, при этом обращенный в сторону приводного барабана конец рычага снабжен балкой с закрепленной на ней П-образной рамой с двумя поперечинами, причем одна поперечина размещена с зазором под холостой ветвью ленты, а вторая – с возможностью взаимодействия с пружинами упора, закрепленного на основании конвейера, а над холостой ветвью ленты с зазором на раме конвейера закреплена плита, при этом длина сдвоенного гибкого элемента принята равной максимальному ходу тележки натяжного барабана,
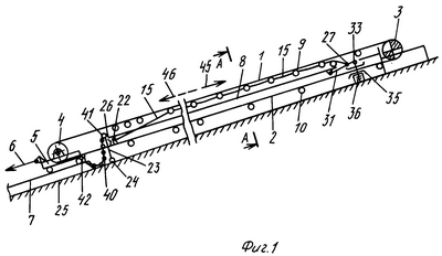
Наклонный ленточный конвейер показан на чертеже, где на фиг.1 – продольный разрез по оси конвейера, на фиг.2 – разрез А-А по фиг.1, на фиг.3 – план по фиг.1 – схема запасовки каната, на фиг.4 – узел установки тележки натяжного барабана, на фиг.5 – узел установки рычага с опорными элементами для каната, на фиг.6 – вид Б по фиг.5, на фиг.7 – приспособление для улавливания холостой ветви ленты, на фиг.8 – разрез В-В по фиг.7.
Наклонный ленточный конвейер состоит из ленты, образующей грузонесущую 1 и холостую 2 ветви, и бесконечно замкнутую на приводном барабане 3 и натяжном барабане 4. Натяжной барабан 4 установлен на тележке 5, которая канатной системой 6 связана с противовесом (не показан) и установлена с возможностью перемещения по направляющей раме 7. Грузонесущая ветвь 1 ленты опирается на закрепленные на раме 8 конвейера желобчатые роликоопоры 9, а холостая ветвь 2 – на роликопоры 10. Каждая желобчатая роликоопора 9 состоит из основания 11, центрального 12 и двух боковых 13 и 14 роликов. Улавливающее устройство выполнено в виде двух ветвей 15 и 16 стального проводочного каната, при этом ветви 15 и 16 свободно размещены в просветах между центральным 12 и боковыми 13 и 14 роликами желобчатых роликоопор 9. Ветви 15 и 16 каната защемлены (фиксированы) в опорных элементах 17 и 18 рычагов 19. Опорные элементы 17 и 18 связаны между собой поперечной связью 20, а каждый рычаг 19 с помощью шарнира 21 установлен на раме 8 конвейера. При этом обе ветви 15 и 16 каната замкнуты на блоке 22, с возможностью вращения закрепленном с возможностью вращения на стойке 23, шарнирно (24) установленной на основании 25 конвейера в зоне натяжного барабана 4. кинематически связанной сдвоенным гибким элементом с тележкой натяжного барабана 4. Стойка 23 установлена с возможностью взаимодействия с упором 26, закрепленном на раме 8 конвейера со стороны приводного барабана 3. Свободные концы 27 и 28 обеих ветвей 15 и 16 каната огибают отклоняющие блоки 29 и 30, установленные в верхней части конвейера, и закреплены на размещенном между грузонесущей 1 и холостой 2 ветвями ленты рычаге 31. Рычаг 31 шарнирно (32) установлен на раме 8 конвейера. При этом обращенный в сторону приводного барабана 3 конец рычага 31 снабжен балкой 33 с закрепленной на ней П-образной рамой 34 с двумя поперечинами 35 и 36. Причем одна поперечина 35 размещена с зазором под холостой ветвью 2 ленты, а вторая поперечина 36 – с возможностью взаимодействия с пружинами 37 упора 38, закрепленного на основании 25 конвейера. Над холостой ветвью 2 ленты с зазором на раме 8 конвейера закреплена плита 39.
Стойка 23 кинематически связана сдвоенным гибким элементом 40 с тележкой 5 натяжного барабана 4, при этом один конец 41 сдвоенного гибкого элемента 40 закреплен на стойке 23, а второй конец 42 – на тележке 5. Длина сдвоенного гибкого элемента 40 принята равной максимальному ходу тележки 5 натяжного барабана 4 при нормальной работе конвейера.
43 – продольная ось конвейера, 44 – транспортируемый груз, 45 – направление движения грузонесущей ветви 1 ленты при нормальной работе конвейера, 46 – направление движения грузонесущей 1 и холостой 2 ветвей после обрыва ленты.
Наклонный ленточный конвейер действует следующим образом. При работе конвейера на подъем груза 44 грузонесущая ветвь 1 ленты перемещается по желобчатым роликоопорам 9 вверх. При этом вращающиеся при взаимодействии с лентой 1 центральный 12 и боковые 13 и 14 ролики не взаимодействуют с ветвями 15 и 16 каната, т.к. эти ветви зафиксированы от их смещения в горизонтальной плоскости опорными элементами 17 и 18 рычагов 19, закрепленных на раме 8 конвейера. Фиксация ветвей 15 и 16 каната в вертикальной плоскости обеспечивается за счет защемления каната в опорных элементах 17 и 18, опирания на основания 11 роликоопор 9, а также предварительного натяжения ветвей 15 и 16 кантата при его монтаже, который в этом положении удерживается за счет рабочего усилия пружин сжатия 37 при их взаимодействии с поперечиной 36 П-образной рамы 34. Поэтому при нормальной работе конвейера грузонесущая ветвь 1 ленты не взаимодействует с ветвями 15 и 16 каната.
При обрыве ленты она под действием синусоидальной составляющей собственного веса и веса находящегося на ней груза 44 начнет скатываться вниз по вращающимся роликам 12, 13 и 14 желобчатых роликоопор 9 в направлении 46.
Сразу после обрыва ленты за счет ослабления ее натяжения тележка 5 натяжного барабана 4 под действием натяжения канатной системы 6, обеспечиваемого противовесом, начнет двигаться вниз, в направлении 46, по направляющей раме 7. После выбора слабины сдвоенного гибкого элемента 40 под действием его натяжения стойка 23 повернется относительно шарнира 24 против часовой стрелки и натянет обе ветви 15 и 16 каната. При этом свободные концы 29 и 30 каната воздействуют на рычаг 31, который относительно шарнира 32 повернется против часовой стрелки и потянет за собой П-образную раму 34. При смещении П-образной рамы 34 вверх она, преодолевая усилие пружин 37, своей поперечиной 35 воздействует на холостую ветвь 2 ленты, прижимая ее к плите 39. Поэтому холостая ветвь 2 ленты, зажатая между поперечиной 35 и плитой 39, затормаживается возникающими по плоскостям контакта силами трения и улавливается.
Одновременно, за счет натяжения ветвей 15 и 16 каната при повороте стойки 23 и защемления ветвей 15 и 16 каната в опорных элементах 17 и 18 рычаги 19 начнут поворачиваться относительно шарниров 21 против часовой стрелки в сторону грузонесущей ветви 1 ленты. При взаимодействии с грузонесущей ветвью 1 ленты опорных элементов 17 и 18 с защемленными в них ветвями 15 и 16 каната грузонесущая ветвь 1 ленты в пролетах между желобчатыми роликоопорами 9 приподнимается по крайней мере до верхнего уровня желобчатых роликоопор 9. Поэтому грузонесущая ветвь 1 ленты практически на всей длине конвейера окажется размещенной на ветвях 15 и 16 каната, поддерживаемых снизу рычагами 19 с опорными элементами 17 и 18.
С этого момента грузонесущая ветвь 1 ленты начнет двигаться по ветвям 15 и 16 каната практически при коэффициенте трения скольжения. За счет превышения силы трения грузонесущей ветви 1 ленты с грузом 44, возникающей при трении ленты о ветви 15 и 16 каната, над синусоидальной составляющей их весов грузонесущая ветвь 1 ленты быстро затормаживается.
При этом надежное улавливание обеих ветвей 1 и 2 ленты обеспечивается при минимальном тормозном пути до их полной остановки, т.к. затормаживающие грузонесущую ветвь 1 ленты силы приложены практически по всей длине грузонесущей ветви 1 ленты, а холостая ветвь 2 улавливается практически сразу же после обрыва ленты, поэтому не успевает приобрести достаточно большой скорости. Минимальное смещение обеих ветвей ленты вниз после ее обрыва обеспечивает также упрощение ремонтных работ по восстановлению целостности ленты.
Отличительные признаки изобретения позволяют улавливать оборвавшуюся ленту наклонного ленточного конвейера с приводом и вертикальным грузовым натяжным устройством, размещенными в верхней части конвейера, одновременно как на грузонесущей, так и на холостой ветвях ленты, при этом при транспортировании груза вниз нижний концевой барабан может быть использован для разгрузки через него транспортируемого груза.
Формула изобретения
Наклонный ленточный конвейер, состоящий из ленты, образующей грузонесущую и холостую ветви, которая бесконечно замкнута на установленных на рамах верхнем приводном барабане и нижнем натяжном барабане, установленном на тележке, кинематически связанной канатами с противовесом и с возможностью перемещения тележки по направляющей раме, улавливающего устройства, включающего две ветви закрепленного на раме конвейера стального проволочного каната, которые свободно размещены в просветах между центральным и боковыми роликами желобчатых роликоопор грузонесущей ветви ленты, при этом ветви каната защемлены на опорных элементах рычагов, шарнирно закрепленных на раме конвейера, отличающийся тем, что ветви каната замкнуты на блоке, закрепленном с возможностью вращения на стойке, шарнирно установленной на основании конвейера в зоне натяжного барабана, кинематически связанной сдвоенным гибким элементом с тележкой натяжного барабана и с возможностью взаимодействия с упором, закрепленным на раме конвейера со стороны приводного барабана, а свободные концы обеих ветвей каната огибают отклоняющие блоки, установленные в верхней части конвейера, и закреплены на размещенном между грузонесущей и холостой ветвями ленты рычаге, шарнирно установленном на раме конвейера, при этом обращенный в сторону приводного барабана конец рычага снабжен балкой с закрепленной на ней П-образной рамой с двумя поперечинами, причем одна поперечина размещена с зазором под холостой ветвью ленты, а вторая – с возможностью взаимодействия с пружинами упора, закрепленного на основании конвейера, а над холостой ветвью ленты с зазором на раме конвейера закреплена плита, при этом длина сдвоенного гибкого элемента принята равной максимальному ходу тележки натяжного барабана.
РИСУНКИ
MM4A – Досрочное прекращение действия патента СССР или патента Российской Федерации на изобретение из-за неуплаты в установленный срок пошлины за поддержание патента в силе
Дата прекращения действия патента: 10.03.2007
Извещение опубликовано: 10.11.2008 БИ: 31/2008
|
|