|
|
(21), (22) Заявка: 2005103417/11, 10.02.2005
(24) Дата начала отсчета срока действия патента:
10.02.2005
(46) Опубликовано: 10.07.2006
(56) Список документов, цитированных в отчете о поиске:
RU 2241651 C1, 10.12.2004. SU 829507 A1, 15.05.1981. RU 2230696 С2, 20.06.2004. WO 2004016531 A1, 26.02.2004.
Адрес для переписки:
199106, Санкт-Петербург, В.О., 21 линия, 2, СПГГИ (ТУ), патентный отдел
|
(72) Автор(ы):
Тарасов Юрий Дмитриевич (RU)
(73) Патентообладатель(и):
Государственное образовательное учреждение высшего профессионального образования Санкт-Петербургский государственный горный институт им. Г.В. Плеханова (технический университет) (RU)
|
(54) НАКЛОННЫЙ ЛЕНТОЧНЫЙ КОНВЕЙЕР
(57) Реферат:
Изобретение относится к конвейеростроению, а именно к наклонным ленточным конвейерам, оснащенным улавливающим устройством. Наклонный ленточный конвейер состоит из бесконечно замкнутой на приводном и натяжном барабанах ленты, тележки натяжного устройства грузового типа с возможностью ее перемещения по направляющей раме и улавливающего устройства. Грузонесущая ветвь ленты опирается на закрепленные на раме желобчатые роликоопоры. Улавливающее устройство включает два закрепленных на раме конвейера стальных проволочных каната, которые свободно размещены в просветах между центральным и боковыми роликами желобчатых роликоопор. Каждый канат закреплен одним концом на раме приводного барабана, а другим соединен с механизмом включения улавливающего устройства. Механизм включения улавливающего устройства выполнен в виде шарнирно установленной на основании конвейера перед направляющей рамой натяжного устройства поворотной стойки с возможностью ее взаимодействия с упором рамы конвейера, размещенным со стороны приводного барабана, и поворота в сторону натяжного устройства. Со стороны приводного барабана на поворотной стойке закреплены оба каната, а с противоположной стороны поворотная стойка соединена кинематической связью с тележкой натяжного устройства. Техническим результатом является повышение надежности работы улавливающего устройства. 3 з.п. ф-лы, 6 ил.
Изобретение относится к конвейеростроению, а именно к наклонным ленточным конвейерам, оснащенным улавливающим устройством, и может быть использовано на конвейерах, транспортирующих груз как вверх, так и вниз на шахтах, рудниках и обогатительных фабриках и может быть использовано на мощных наклонных ленточных конвейерах значительной длины.
Известны наклонные ленточные конвейеры, включающие бесконечно замкнутую на приводном и концевом барабанах ленту, грузонесущая ветвь которой опирается на закрепленные на раме желобчатые роликоопоры, натяжное тележечное устройство грузового типа, улавливающее устройство, включающее расположенные с зазорами над боковыми кромками ленты два стальных проволочных каната, закрепленных своими концами на раме конвейера (Шахмейстер Л.Г. и др. Ловители для наклонных ленточных конвейеров. ЦНИЭУголь, М., 1972, с.17-18, рис.2а).
Недостатками известных конвейеров, оснащенных улавливающим устройством, является малая надежность работы улавливающего устройства и увеличенный обратный ход ленты при ее улавливании.
Известен наклонный ленточный конвейер (прототип), состоящий из бесконечно замкнутой на приводном и натяжном барабанах ленты, грузонесущая ветвь которой опирается на закрепленные на раме желобчатые роликоопоры, тележки натяжного устройства грузового типа с возможностью ее перемещения по направляющей раме, улавливающего устройства, включающего два закрепленных на раме конвейера стальных проволочных каната, которые свободно размещены в просветах между центральным и боковыми роликами желобчатых роликоопор, при этом каждый канат закреплен одним концом на раме приводного барабана, а другим соединен с механизмом включения улавливающего устройства, которое выполнено в виде барабана, установленного с возможностью вращения на тележке натяжного устройства, а длины навитых на барабан канатов приняты не меньше максимального хода тележки натяжного устройства при работе конвейера, при этом канаты фиксированы в парных зажимах рычагов, шарнирно закрепленных на основаниях роликоопор или раме конвейера со стороны приводного барабана и установленных с возможностью поворота в сторону ленты и взаимодействия с упорами при повороте в обратном направлении, причем парные зажимы между собой и с рычагами соединены стяжными болтами (Пат. РФ №2241651, кл. В 65 С 15/08, 43/06, 2004).
Однако недостатком известного наклонного конвейера является возможность вырыва канатов из мест их закрепления на барабане после скатывания тележки натяжного барабана при обрыве ленты из-за значительных статических и динамических усилий, что снижает надежность работы улавливающего устройства, особенно на мощных наклонных конвейерах.
Техническим результатом изобретения является повышение надежности работы улавливающего устройства.
Технический результат достигается тем, что в наклонном ленточном конвейере, состоящем из бесконечно замкнутой на приводном и натяжном барабанах ленты, грузонесущая ветвь которой опирается на закрепленные на раме желобчатые роликоопоры, тележки натяжного устройства грузового типа с возможностью ее перемещения по направляющей раме, улавливающего устройства, включающего два закрепленных на раме конвейера стальных проволочных каната, которые свободно размещены в просветах между центральным и боковыми роликами желобчатых роликоопор, при этом каждый канат закреплен одним концом на раме приводного барабана, а другим соединен с механизмом включения улавливающего устройства, устройство согласно изобретению, выполнено в виде шарнирно установленной на основании конвейера перед направляющей рамой натяжного устройства поворотной стойки с возможностью ее взаимодействия с упором рамы конвейера, размещенным со стороны приводного барабана, и поворота в сторону натяжного устройства, при этом со стороны приводного барабана на поворотной стойке закреплены оба каната, а с противоположной стороны поворотная стойка соединена кинематической связью с тележкой натяжного устройства. Кинематическая связь может быть выполнена в виде сдвоенного гибкого элемента, один конец которого соединен с поворотной стойкой, а второй конец – рычагом, который шарнирно установлен на стойке, закрепленной на направляющей раме натяжного устройства, с возможностью взаимодействия рычага с тележкой натяжного устройства после обрыва ленты. Кинематическая связь может быть выполнена в виде двух круглозвенных цепей, концы которых соединены с поворотной стойкой и тележкой натяжного устройства, а длина круглозвенных цепей принята из условия обеспечения максимального хода тележки натяжного устройства при работе конвейера и их натяжения после обрыва ленты. Между стойкой и рычагом могут быть установлены сменные закладные элементы с возможностью ограничения ими угла поворота рычага.
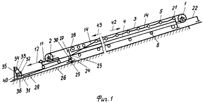
Наклонный ленточный конвейер показан на чертежах, где на фиг.1 – вид сбоку, при кинематической связи поворотной стойки с тележкой натяжного барабана при ее взаимодействии с рычагом, на фиг.2 – то же, при непосредственной кинематической связи поворотной стойки с тележкой натяжного барабана, на фиг.3 – поперечный разрез по грузонесущей ветви ленты, на фиг.4 – план по фиг.3, на фиг.5 – разрез А-А по фиг.4, на фиг.6 – взаимное положение грузонесущей ветви ленты и канатов при улавливании оборвавшейся ленты.
Наклонный ленточный конвейер состоит из бесконечно замкнутой на приводном 1 и натяжном 2 барабанах ленты 3, грузонесущая ветвь которой опирается на закрепленные на раме 4 желобчатые роликоопоры 5, а холостая ветвь – на роликоопоры 6. Каждая желобчатая роликоопора 5 состоит из основания 7, центрального 8 и двух боковых роликов 9 и 10. Натяжной барабан 2 размещен на тележке 11 натяжного устройства грузового типа, которая с противовесом (не показан) связана канатом 12.
Улавливающее устройство выполнено в виде двух стальных проволочных канатов 13 и 14, свободно размещенных в просветах между центральным 8 и боковыми 9 и 10 роликами желобчатых роликоопор 5. Канаты 13 и 14 фиксированы в сухарях 15 и 16 рычагов 17, причем сухари 15 и 16 связаны между собой поперечиной 18, а каждый рычаг 17 с помощью шарнира 19 закреплен на основании 7 желобчатых роликоопор 5 со стороны приводного барабана 1. Рычаги 17 с сухарями 15 и 16 могут быть шарнирно (19) закреплены на раме 4 конвейера. Рычаги 17 установлены с возможностью поворота в сторону грузонесущей ветви ленты 3 и взаимодействия с упорами 20 при повороте рычагов 17 в обратном направлении. Каждый канат 13, 14 закреплен одним концом 21 на раме 22 приводного барабана 1, а другим концом 23 – на поворотной стойке 24, установленной шарнирно (25) на основании 26 конвейера перед натяжным устройством.
Поворотная стойка 24 выполнена с поперечиной 27, установлена с возможностью взаимодействия с размещенным со стороны приводного барабана 1 упором 28 рамы 4 конвейера и с возможностью поворота в сторону натяжного устройства. Поворотная стойка 24 выполнена с кинематической связью, связывающей поворотную стойку 24 с тележкой 11 натяжного устройства.
Кинематическая связь может быть выполнена (фиг.1) в виде сдвоенного гибкого элемента 29, один конец 30 которого соединен с поворотной стойкой 24, а второй конец 31 – со снабженным поперечиной 32 рычагом 33 с возможностью его взаимодействия с тележкой 11 натяжного устройства после обрыва ленты 3. Рычаг 33 посредством шарнира 34 установлен на стойке 35, закрепленной на направляющей раме 36 натяжного устройства.
Кинематическая связь может быть выполнена (фиг.2) в виде двух круглозвенных цепей 37, концы 38 и 39 которых соединены соответственно с поворотной стойкой 24 и тележкой 11 натяжного устройства. При этом длина круглозвенных цепей 37 принята из условия обеспечения максимального хода тележки 11 натяжного устройства при нормальной работе конвейера и натяжения круглозвенных цепей 37 после обрыва ленты 3. 41 – транспортируемый груз, 42, 43 – направления движения ленты 3 при нормальной работе конвейера и после обрыва ленты 3.
Наклонный ленточный конвейер действует следующим образом.
При работе конвейера на подъем груза 41 грузонесущая ветвь ленты 3 перемещается по желобчатым роликопорам 5 в направлении 42. При этом вращающиеся центральный 8 и боковые 9 и 10 ролики не взаимодействуют с канатами 13 и 14, т.к. канаты зафиксированы от их смещения в горизонтальной плоскости сухарями 15 и 16 рычагов 17, закрепленных на основаниях 7 роликоопор 5. При этом благодаря наличию упоров 20 рычаги 17 обеспечивают фиксацию канатов 13 и 14 также и в вертикальной плоскости.
За счет упругого и остаточного удлинений ленты 3 тележка 11 с натяжным барабаном 2 перемещается по направляющей раме 36, а канаты 13 и 14 за счет взаимодействия с поворотной стойки 24 с упором 28 рамы 4 конвейера не изменяют своих натяжений и провесов между желобчатыми роликоопорами 5. Поэтому при нормальной работе конвейера лента 3 не взаимодействует с канатами 13 и 14.
При обрыве ленты 3 она под действием синусоидальной составляющей собственного веса и веса находящегося на ней груза 41 начнет скатываться вниз в направлении 43. При резком уменьшении натяжения ленты 3 после ее обрыва она начнет провисать в пролетах между роликоопорами 5. Одновременно при обрыве ленты 3 тележка 11 за счет натяжения каната 12 (под действием веса противовеса) начнет смещаться по направляющей раме 36 в направлении 43 до упора (по первому варианту) в рычаг 33 (фиг.1) При повороте рычага 33 против часовой стрелки гибкие элементы 29 смещаются справа-налево, благодаря чему поворотная стойка 24 поворачивается по часовой стрелке относительно шарнира 25, натягивая прикрепленные (23) к ней канаты 13 и 14. При этом угол поворота рычага 33, а следовательно и угол поворота поворотной стойки 24, а также смещения канатов 13, 14 могут регулироваться за счет сменных закладных элементов 40. Благодаря натяжению канатов 13 и 14 уменьшается их провес между роликоопорами 5 и они поднимаются до соприкосновения с лентой 3. При смещении канатов 13, 14 в направлении 43 рычаги 17 поворачиваются против часовой стрелки, дополнительно поднимая канаты 13 и 14, которые входят во взаимодействия с лентой 3 практически по всей длине конвейера. При этом грузонесущая ветвь ленты 3 поднимается над желобчатыми роликоопорами 5 и начинает скользить по канатам 13 и 14 при коэффициенте трения скольжения. За счет превышения силы трения ленты 3 с грузом 41 над синусоидальной составляющей их весов грузонесущая ветвь ленты 3 быстро затормаживается при минимальном ее обратном ходе после обрыва.
По второму варианту (фиг.2) при смещении ленты 3 после ее обрыва в направлении 43 тележка 11 с натяжным барабаном 2 также начнет смещаться в этом направлении по направляющей раме 36 под действием натяжения каната 12. Благодаря этому свободно размещенные на опоре 26 конвейера круглозвенные цепи 37 натягиваются и поворачивают поворотную стойку 24, как и в предыдущем случае, что в итоге обеспечивает улавливание оборвавшейся ленты 3. Грузонесущая ветвь ленты быстро затормаживается. Минимальное смещение ленты вниз после ее обрыва облегчает также последующие операции, связанные с восстановлении целостности ленты 3.
Отличительные признаки изобретения позволяют повысить надежность работы улавливающего устройства при любой величине натяжного усилия на тележке натяжного устройства, поэтому техническое решение может быть использовано на мощных наклонных ленточных конвейерах при минимизации обратного хода оборвавшейся ленты.
Формула изобретения
1. Наклонный ленточный конвейер, состоящий из бесконечно замкнутой на приводном и натяжном барабанах ленты, грузонесущая ветвь которой опирается на закрепленные на раме желобчатые роликоопоры, тележки натяжного устройства грузового типа с возможностью ее перемещения по направляющей раме, улавливающего устройства, включающего два закрепленных на раме конвейера стальных проволочных каната, которые свободно размещены в просветах между центральным и боковыми роликами желобчатых роликоопор, при этом каждый канат закреплен одним концом на раме приводного барабана, а другим соединен с механизмом включения улавливающего устройства, отличающийся тем, что механизм включения улавливающего устройства выполнен в виде шарнирно установленной на основании конвейера перед направляющей рамой натяжного устройства поворотной стойки с возможностью ее взаимодействия с упором рамы конвейера, размещенным со стороны приводного барабана, и поворота в сторону натяжного устройства, при этом со стороны приводного барабана на поворотной стойке закреплены оба каната, а с противоположной стороны поворотная стойка соединена кинематической связью с тележкой натяжного устройства.
2. Конвейер по п.1, отличающийся тем, что кинематическая связь выполнена в виде сдвоенного гибкого элемента, один конец которого соединен с поворотной стойкой, а второй конец – рычагом, который шарнирно установлен на стойке, закрепленной на направляющей раме натяжного устройства, с возможностью взаимодействия рычага с тележкой натяжного устройства после обрыва ленты.
3. Конвейер по п.1, отличающийся тем, что кинематическая связь выполнена в виде двух круглозвенных цепей, концы которых соединены с поворотной стойкой и тележкой натяжного устройства, а длина круглозвенных цепей принята из условия обеспечения максимального хода тележки натяжного устройства при работе конвейера и их натяжения после обрыва ленты.
4. Конвейер по п.2, отличающийся тем, что между стойкой и рычагом установлены сменные закладные элементы с возможностью ограничения ими угла поворота рычага.
РИСУНКИ
MM4A – Досрочное прекращение действия патента СССР или патента Российской Федерации на изобретение из-за неуплаты в установленный срок пошлины за поддержание патента в силе
Дата прекращения действия патента: 11.02.2007
Извещение опубликовано: 27.09.2008 БИ: 27/2008
|
|