|
|
(21), (22) Заявка: 2002121650/13, 13.01.2001
(24) Дата начала отсчета срока действия патента:
13.01.2001
(30) Конвенционный приоритет:
28.01.2000 DE 10003674.0
(43) Дата публикации заявки: 10.03.2004
(46) Опубликовано: 10.07.2006
(56) Список документов, цитированных в отчете о поиске:
DE 19645630 А, 07.05.1998. ЕР 0905027 А, 31.03.1999.
(85) Дата перевода заявки PCT на национальную фазу:
28.08.2002
(86) Заявка PCT:
EP 01/00377 (13.01.2001)
(87) Публикация PCT:
WO 01/54986 (02.08.2001)
Адрес для переписки:
101000, Москва, М.Златоустинский пер., 10, кв.15, “ЕВРОМАРКПАТ”, И.А.Веселицкой
|
(72) Автор(ы):
ФОН-БИСМАРК Готтфрид (DE), ПРОЙСС Хорст-Дитер (DE), ГРАССМЕЛЬ Ральф (DE), ГЕОРГИТЗИС Николаос (DE)
(73) Патентообладатель(и):
ХАУНИ МАШИНЕНБАУ АГ (DE)
|
(54) СПОСОБ И УСТАНОВКА ДЛЯ НАНЕСЕНИЯ МАРКИРОВКИ НА ЭЛЕМЕНТЫ УПАКОВКИ
(57) Реферат:
Изобретение относится к способу маркировки состоящей из нескольких элементов упаковки, а также к установке для осуществления этого способа. Способ заключается в том, что отдельные элементы упаковки снабжают характерными маркировочными признаками, а по меньшей мере один элемент упаковки снабжают маркировочным признаком, криптографически скомпонованным на основе индивидуальных характерных маркировочных признаков отдельных элементов упаковки. Характерные маркировочные признаки могут быть случайными или соответствуют определенным свойствам элементов упаковки. Проверить соответствие всех элементов упаковки друг другу можно сравнением отдельных маркировочных кодов и общего кода с помощью считывающего устройства. Цель подобной маркировки состоит в возможности установления факта заводского изготовления каждой отдельной упаковки и защиты продукции от подделки. 2 н. и 10 з.п. ф-лы, 5 ил.
Настоящее изобретение относится к способу маркировки состоящей из нескольких элементов упаковки для затариваемой в нее продукции, а также к установке для осуществления этого способа. В контексте настоящего изобретения понятие “затариваемая продукция” относится к штучным изделиям, к сгруппированным или укомплектованным по нескольку штук изделиям, а также к сыпучим или дисперсным материалам. Настоящее изобретение относится прежде всего к такой затариваемой продукции как изделия табачной промышленности и в данном случае предпочтительно сигареты, а также сигареты с фильтром, которые обычно в сгруппированном или укомплектованном определенным образом по нескольку штук виде снабжают в ходе проведения последовательных технологических стадий отдельными элементами упаковки в виде вкладышей, вставок или накладок, соответственно заключают в упаковочный материал, подаваемый в виде заготовок и образующий внутреннюю и наружную обертку. В зависимости от применяемых в этих целях упаковочных материалов в результате получают упаковки в виде так называемых мягких пачек или жестких пачек (с откидной крышкой).
В основу настоящего изобретения была положена задача разработать меры, которые позволяли бы устанавливать факт заводского изготовления каждой отдельной упаковки с целью защиты продукции от подделки.
Указанная задача решается в предлагаемом в изобретении способе маркировки состоящей из нескольких элементов упаковки для затариваемой в нее продукции за счет того, что отдельные элементы упаковки снабжают характерными маркировочными признаками, а по меньшей мере один элемент упаковки снабжают маркировочным признаком, криптографически скомпонованным на основе индивидуальных характерных маркировочных признаков отдельных элементов упаковки.
Снабжение маркировкой только элементов упаковки без ее нанесения на затариваемую в такую упаковку продукцию обеспечивает при приемлемых затратах эффективную защиту продукции от подделки. При этом маркировочные признаки можно наносить в виде визуально видимых или невидимых случайных чисел, в виде текстовой информации или штрихового кода. Собственно процесс нанесения маркировки можно осуществлять, например, печатным, оптическим (лазерным), магнитным, электрическим (на основе изменения электропроводности) или иным методом.
В частном случае осуществления способа отдельные элементы упаковки могут снабжаться случайными характерными маркировочными признаками.
Согласно одному из вариантов, необходимое, регистрируемое считывающим устройством соответствие маркировок на материале отдельных элементов упаковки криптографически скомпонованному коду упаковки, соответственно контрольному коду можно обеспечить, если элементы упаковки направлять в процесс упаковывания с уже нанесенными на них перед этим процессом упаковывания характерными маркировочными признаками, а готовую упаковку снабжать криптографически скомпонованным маркировочным признаком.
В другом варианте случайные характерные маркировочные признаки предлагается наносить на подаваемые элементы упаковки в процессе упаковывания, а криптографически скомпонованный маркировочный признак наносить на наружный, соответственно на считываемый снаружи элемент готовой упаковки.
В обоих вариантах с целью использовать для маркировки максимально возможное количество элементов упаковки можно предусматривать не только считываемые снаружи маркировочные признаки, но и располагаемые внутри упаковки маркировочные признаки, которые можно считывать только после вскрытия упаковки.
Согласно еще одному из вариантов, предусмотренному прежде всего для процесса изготовления сигаретных пачек, маркировочные признаки, которыми снабжают элементы упаковки, предлагается наносить в процессе упаковывания предпочтительно на внутреннюю обертку, на накладываемую вставку, на наружную обертку, на отрывную полоску, а также на прозрачную внешнюю обертку упаковки.
В рассмотренном выше способе нанесения маркировки отдельные элементы упаковки целесообразно подавать в процессе упаковывания последовательно на упаковывание затариваемой продукции.
Помимо этого для дальнейшего повышения степени защиты продукции от подделки за счет маркировки только элементов упаковки предпочтительно, чтобы криптографически скомпонованный маркировочный признак дополнительно содержал относящиеся к производственному процессу маркировочные признаки. Подобные маркировочные признаки могут нести, например, информацию о дате изготовления, о месте изготовления и об изготовителе отдельной упаковки, что позволяет с помощью считывающего устройства помимо проверки контрольного кода, относящегося к отдельным элементам упаковки, анализировать достоверность иных данных. При этом считывающее устройство должно допускать только однократное обнаружение или идентификацию индивидуального кода упаковки, т.е. при повторном обнаружении того же самого кода на другой упаковке такая упаковка классифицируется как контрафактная, соответственно как содержащая контрафактную продукцию. С целью исключить возможность незаконного изготовления большого количества упаковок с одинаковыми маркировочными признаками считывающие устройства целесообразно централизованно согласовывать между собой с определенной периодичностью. При осуществлении предлагаемого в изобретении способа нанесения маркировки согласно еще одному предпочтительному варианту необходимо, чтобы по меньшей мере один маркировочный признак предпочтительно криптографически скомпонованный маркировочный признак, был выполнен считываемым снаружи.
Объектом изобретения является также установка для маркировки состоящей из нескольких элементов упаковки для затариваемой в нее продукции. В предлагаемой в изобретении установке последовательно задействуемые в процессе упаковывания транспортировочно-подающие устройства, предназначенные для подачи элементов упаковки, снабжены маркировочными устройствами, предназначенными для нанесения характерных маркировочных признаков на отдельные элементы упаковки, а перемещающее готовую упаковку транспортировочно-подающее устройство снабжено маркировочным устройством, предназначенным для нанесения маркировочного признака, криптографически скомпонованного на основе маркировочных признаков элементов упаковки. Тем самым создаются самые разнообразные возможности по размещению отдельных маркировочных признаков в произвольно выбираемых местах с таким расчетом, чтобы в готовой упаковке они были видимыми или невидимыми, т.е. чтобы в последнем случае их можно было считать только после вскрытия упаковки.
Что касается выбора тех или иных маркировочных устройств с учетом свойств материала конкретного элемента упаковки, то согласно еще одному варианту для нанесения характерных маркировочных признаков, соответственно для нанесения криптографически скомпонованного маркировочного признака транспортировочно-подающее устройство, предназначенное для подачи внутренней обертки, предлагается снабдить лазерным устройством, транспортировочно-подающее устройство, предназначенное для наложения вставки, предлагается снабдить печатающим устройством, транспортировочно-подающее устройство, предназначенное для подачи внешней обертки, предлагается снабдить лазерным устройством, транспортировочно-подающее устройство, предназначенное для подачи целлофановой пленки и отрывных полосок, предлагается снабдить печатающим устройством, а транспортировочно-подающее устройство, предназначенное для подачи готовой и обернутой целлофановой пленкой упаковки, предлагается снабдить лазерным устройством.
Достигаемое с помощью предлагаемого в изобретении решения преимущество состоит в возможности выявлять отклонения от исходного соответствия отдельных элементов упаковки одной единственной изготовленной из них отдельной упаковке путем идентификации и сравнения отдельных характерных для элементов упаковки маркировочных признаков и криптографически скомпонованного маркировочного признака упаковки, что позволяет выявлять незаконно изготовленную (контрафактную) продукцию, соответственно выявлять факт незаконного манипулирования с упаковкой и ее содержимым.
Ниже изобретение более подробно рассмотрено на примере одного из вариантов его осуществления со ссылкой на прилагаемые чертежи, на которых показано:
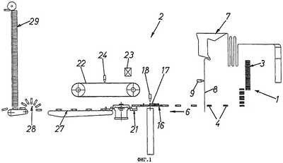
на фиг.1 – первый участок транспортировочно-упаковочной линии для упаковки сигарет с маркировочными устройствами для нанесения маркировки на подаваемые элементы упаковки;
на фиг.2 – второй участок линии для упаковывания сигарет;
на фиг.3 – схема размещения маркировочных устройств и взаимодействующих с ними устройств управления при комбинированном применении в процессе упаковывания двух машин, одной из которых является упаковочная машина, а другой является машина для обертывания пленкой;
на фиг.4 – готовая сигаретная пачка с маркировочными признаками, нанесенными в различных местах на элементы упаковки, и
на фиг.5 – схематичное изображение, поясняющее использование считывающего устройства для считывания и контроля маркировочных признаков на элементах упаковки и сформированного на их основе общего кода упаковки.
На фиг.1 схематично изображена упаковочная машина 2, в которой в секции 1 комплектации сигареты известным образом извлекаются из магазинов или накопителей 3 шахтного типа и в определенном количестве группируются в имеющие форму параллелепипедов и готовые для упаковки комплекты 4, которые последовательно перемещаются один за другим в обозначенном стрелкой 6 направлении и при этом за счет последовательной подачи отдельных элементов упаковки упаковываются в пачки с применением различных упаковочных инструментов и транспортировочно-подающих устройств.
Первое 7 из таких транспортировочно-подающих устройств предназначено для подачи используемой для формирования внутренней обертки 8 комплекта 4 сигарет фольги и снабжено маркировочным устройством 9 в виде лазерного устройства, с помощью которого на эту внутреннюю обертку 8 по сигналу, выдаваемому в соответствии с тактом работы упаковочной машины 2 и положением комплекта упаковываемых сигарет и отслеживаемому показанным на фиг.3 блоком 11 управления, наносится показанный на фиг.4 первый маркировочный признак 12. После обертывания комплекта 4 сигарет внутренней оберткой 8 и загибания ее краев вокруг этого комплекта 4 сигарет в ходе последующего процесса упаковывания сигарет по мере их перемещения в направлении 6 такой маркировочный признак 12 располагается в готовой упаковке, в данном случае в готовой сигаретной пачке 14, под передней стороной ее откидной крышки 13, как это показано на фиг.4.
Затем обернутые во внутреннюю обертку комплекты 4 сигарет поступают в выполненный в виде дискового или тарельчатого питателя транспортировочно-подающее устройство 16, которое может иметь, например, описанную в заявке ЕР 0856467 конструкцию и которое предназначено для подачи также в соответствии с описанным в указанной заявке образом так называемых вставок 17. Это транспортировочно-подающее устройство 16 снабжено еще одним выполненным в виде печатающего устройства маркировочным устройством 18, с помощью которого на вставки 17 также согласно фиг.3 по сигналу, выдаваемому в соответствии с тактом работы упаковочной машины и положением комплекта упаковываемых сигарет, наносится показанный на фиг.4 маркировочный признак 19.
Со следующим в направлении перемещения сигарет и также описанным в указанной выше заявке дисковым или тарельчатым питателем 21 функционально связано выполненное в виде ленточного транспортера транспортировочно-подающее устройство 22, предназначенное для подачи заготовок наружной обертки 23. Это транспортировочно-подающее устройство 22 в свою очередь снабжено еще одним выполненным в виде лазерного устройства маркировочным устройством 24, с помощью которого на наружную обертку 23 наносится показанный на фиг.4 маркировочный признак 26, который у готовой сигаретной пачки 14 располагается на ее узкой боковой стороне.
После придания наружной обертке 23 соответствующей формы с получением жестких сигаретных пачек такие сигаретные пачки перемещаются далее расположенным на участке сушки прямолинейным транспортером 27 и передаточным барабаном 28 в штабельный накопитель или магазин 29, который представляет собой связующее звено между упаковочной машиной и последующей машиной 31 для упаковки в целлофан, показанной на фиг.2. В этой машине 31 для упаковки в целлофан к главной линии упаковывания (перемещение в направлении 6) подаются лента целлофановой пленки 32 и лента для отрывных полосок 33, при этом соответствующие транспортировочно-подающие устройства 34 снабжены выполненными в виде печатающих устройств маркировочными устройствами 36, предназначенными для нанесения показанных на фиг.4 маркировочных признаков 35 и 37 на ленту целлофановой пленки 32 и на ленту для отрывных полосок 33 соответственно. Такие маркировочные признаки и в этом случае наносятся по сигналу, выдаваемому в соответствии с тактом работы машины 31 для упаковки в целлофан и положением сигаретных пачек и отслеживаемому показанным на фиг.3 блоком 11 управления.
После обертывания жестких сигаретных пачек целлофановой пленкой 32, снабженной отрывной полоской 33, с помощью соответствующего запечатывающего поворотного барабана 38 готовые сигаретные пачки 14 поступают на ленточное транспортировочно-подающее устройство 39, которое оснащено выполненным в виде лазерного устройства маркировочным устройством 41, предназначенным для нанесения показанного на фиг.5 и образующего индивидуальный код упаковки маркировочного признака 42, сформированного соответственно крипторгафически скомпонованного согласно фиг.3 на основе проставленных на предшествующих стадиях технологического процесса маркировочных признаков 12, 19, 26, 35, 37.
Для сравнения и контроля соответствия маркировочных признаков 12, 19, 26, 35, 37, проставленных на отдельных элементах 8, 23, 32, 33 упаковки, образующему код упаковки маркировочному признаку 42, используется показанное на фиг.5 и снабженное дисплеем 43 сканирующее или считывающее устройство 44, позволяющее считывать снаружи маркировочные признаки 26, 35, 37 и 42 на наружной обертке 23, целлофановой пленке 32 и отрывной полоске 33, т.е. считывать эти маркировочные признаки на запечатанной, соответственно неповрежденной сигаретной пачке, а также позволяющее после вскрытия пачки и открытия откидной крышки 13 считывать маркировочные признаки 12 и 19 на соответствующем участке внутренней обертки 8 и на вставке 17.
В качестве маркировочного устройства для нанесения маркировочных признаков 12, 26 и 42 можно использовать лазерное устройство для впечатывания надписей обычного типа, например устройство фирмы IWK Verpackungstechnik GmbH, Германия. Для нанесения маркировочного признака 42, образующего код упаковки, пригодно, например, лазерное устройство производства фирмы Domino Laser Inc., позволяющее наносить на заготовку упаковки соответствующий материал, который в последующем переносится на внутреннюю сторону целлофановой обертки, образуя читаемую снаружи маркировку.
Считывающее устройство, применяемое для считывания маркировочных признаков, должно допускать только однократное обнаружение индивидуального кода 42 упаковки, т.е. при повторном обнаружении того же самого кода на другой упаковке такая упаковка классифицируется как контрафактная, соответственно как содержащая контрафактную продукцию.
Помимо этого следует предусмотреть возможность централизованного согласования считывающих устройств между собой с определенной периодичностью. Подобная мера необходима для того, чтобы исключить возможность незаконного изготовления большого числа упаковок с одинаковой маркировкой, соответственно маркировочными признаками.
Формула изобретения
1. Способ маркировки, состоящей из нескольких элементов упаковки для затариваемой в нее продукции, отличающийся тем, что отдельные элементы упаковки снабжают характерными маркировочными признаками, а по меньшей мере один элемент упаковки снабжают маркировочным признаком, криптографически скомпонованным на основе индивидуальных характерных маркировочных признаков отдельных элементов упаковки.
2. Способ по п.1, отличающийся тем, что отдельные элементы упаковки снабжают случайными характерными маркировочными признаками.
3. Способ по п.1 или 2, отличающийся тем, что характерные маркировочные признаки элементов наносят на элементы упаковки перед процессом упаковывания, а криптографически скомпонованный маркировочный признак наносят на уже готовую упаковку.
4. Способ по п.2, отличающийся тем, что случайные характерные маркировочные признаки наносят на подаваемые элементы упаковки в процессе изготовления упаковки или упаковывания продукции, а криптографически скомпонованный маркировочный признак наносят на наружный, соответственно на считываемый снаружи элемент готовой упаковки.
5. Способ по п.4, отличающийся тем, что маркировочные признаки, которыми снабжают элементы упаковки, наносят в процессе на внутреннюю обертку, на накладываемую вставку, на наружную обертку, на отрывную полоску, а также на прозрачную внешнюю обертку упаковки.
6. Способ по п.4 или 5, отличающийся тем, что в процессе упаковывания отдельные элементы упаковки последовательно подают на упаковывание затариваемой продукции.
7. Способ по п.1, отличающийся тем, что криптографически скомпонованный маркировочный признак дополнительно содержит относящиеся к производственному процессу маркировочные признаки.
8. Способ по п.1, отличающийся тем, что по меньшей мере один маркировочный признак выполняют считываемым снаружи.
9. Способ по п.8, отличающийся тем, что считываемым снаружи выполняют криптографически скомпонованный маркировочный признак.
10. Установка для маркировки, состоящей из нескольких элементов упаковки для затариваемой в нее продукции, отличающаяся тем, что последовательно задействуемые в процессе упаковывания транспортировочно-подающие устройства (7; 16; 22; 34), предназначенные для подачи элементов (8, 17, 23, 32, 33) упаковки, снабжены маркировочными устройствами (9; 18; 24; 36), предназначенными для нанесения характерных маркировочных признаков (12; 19; 26; 35; 37) на отдельные элементы упаковки, а перемещающее готовую упаковку (14) транспортировочно-подающее устройство (39) снабжено маркировочным устройством (41), предназначенным для нанесения маркировочного признака (42), криптографически скомпонованного на основе маркировочных признаков элементов упаковки.
11. Установка по п.10, отличающаяся тем, что характерные маркировочные признаки (12; 19; 26; 35; 37) являются случайными или соответствуют определенным свойствам элементов упаковки.
12. Установка по п.10 или 11, отличающаяся тем, что для нанесения характерных маркировочных признаков (12; 19; 26; 35; 37), соответственно для нанесения криптографически скомпонованного маркировочного признака (42), транспортировочно-подающее устройство (7), предназначенное для подачи внутренней обертки (8), снабжено лазерным устройством (9), транспортировочно-подающее устройство (16), предназначенное для наложения вставки (17), снабжено печатающим устройством (18), транспортировочно-подающее устройство, предназначенное для подачи внешней обертки (23), снабжено лазерным устройством (24), транспортировочно-подающее устройство (34), предназначенное для подачи целлофановой пленки (32) и отрывных полосок (33), снабжено печатающим устройством (36), а транспортировочно-подающее устройство, предназначенное для подачи готовой и обернутой целлофановой пленкой упаковки (14), снабжено лазерным устройством (41).
Приоритет по пунктам:
28.01.2000 – все пункты формулы.
РИСУНКИ
MM4A – Досрочное прекращение действия патента СССР или патента Российской Федерации на изобретение из-за неуплаты в установленный срок пошлины за поддержание патента в силе
Дата прекращения действия патента: 14.01.2007
Извещение опубликовано: 20.09.2010 БИ: 26/2010
|
|