|
(21), (22) Заявка: 2002114831/13, 06.06.2002
(24) Дата начала отсчета срока действия патента:
06.06.2002
(43) Дата публикации заявки: 20.01.2005
(46) Опубликовано: 10.07.2006
(56) Список документов, цитированных в отчете о поиске:
US 5196339, 23.03.1993. RU 2130067 C1, 10.05.1999. SU 912661 A1, 15.03.1982. SU 1712399 A1, 15.02.1992.
Адрес для переписки:
191186, Санкт-Петербург, а/я 142, пат.пов. Т.В.Петровой
|
(72) Автор(ы):
Афанасьев Вячеслав Николаевич (RU), Гамова Маргарита Владимировна (RU), Гаранькина Надежда Григорьевна (RU), Круглов Юрий Владимирович (RU), Максимов Дмитрий Анатольевич (RU), Пароменская Людмила Николаевна (RU)
(73) Патентообладатель(и):
Государственное научное учреждение Всероссийский научно-исследовательский институт сельскохозяйственной микробиологии (ГНУ ВНИИСХМ Россельхозакадемии) (RU)
|
(54) СПОСОБ ПОЛУЧЕНИЯ МИКРОБНОГО ПРЕПАРАТА ДЛЯ УТИЛИЗАЦИИ ПЕСТИЦИДОВ, СПОСОБ УТИЛИЗАЦИИ ПЕСТИЦИДОВ (ВАРИАНТЫ) И УСТРОЙСТВО ДЛЯ УТИЛИЗАЦИИ ПЕСТИЦИДОВ
(57) Реферат:
Изобретение относится к биотехнологии, а именно к области утилизации пестицидов сим-триазиновой группы. Предложенный способ получения микробного препарата для разложения пестицидов заключается в смешении биологичеки активного грунта, в состав которого входят целлюлозоразлагающие микроорганизмы, с соломой, при этом в качестве индикатора добавляют пестицид сим-триазиновой группы. Также предложен способ утилизации пестицидов (варианты) и биореактор для реализации способа утилизации пестицидов. Изобретение позволяет утилизировать запрещенные, невостребованные и вышедшие из употребления пестициды. 4 н. и 14 з.п. ф-лы, 2 ил., 4 табл.
Изобретение относится к области сельского хозяйства и защиты окружающей среды и может быть использовано для утилизации различных запрещенных, невостребованных и вышедших из употребления ядохимикатов.
Одной из крупных экологических проблем является проблема загрязнения окружающей среды продуктами органического синтеза, среди которых одно из первых мест по значению занимают химические средства защиты растений (пестициды).
Пестициды являются эффективным средством защиты растений от вредителей, болезней и сорняков. Мировой ассортимент пестицидных препаратов к настоящему времени насчитывает несколько десятков тысяч наименований, созданных на основе более 1000 химических соединений (например, Н.Н.Мельников «Пестициды. Химии, технология, применение». М., «Химия» 1987 г., Н.Н.Мельников, П.К.Новожилов, С.Р.Белан, Т.Н.Пылова «Справочник по пестицидам» М., «Химия», 1985 г.)
В настоящее время для переработки пестицидов предлагаются главным образом физические и химические методы. Однако использование их требует значительных затрат энергии и экономически невыгодно, а самое главное они не решают проблем экологической безопасности. Так, в процессе сжигания происходит частичный выброс продуктов термогидролиза, образование диоксинов, бензопирена и т.д., которые не менее опасны, чем исходные вещества. При химической дезактивации непременно встает вопрос об утилизации продуктов химической реакции.
Вместе с тем установлено, что практически все химические соединения, используемые в качестве пестицидов, утилизируются микроорганизмами. В настоящее время выделено значительное количество штаммов грибов, бактерий, актиномицетов и водорослей, разрушающих эти вещества до нетоксичных соединений. Преимущество использования биологических методов дезактивации пестицидов над физико-химическими объясняется тем, что микроорганизмы минерализуют пестициды и другие продукты органического синтеза в естественном цикле круговорота веществ, не оказывая отрицательного влияния на экосистему.
Способность одного отдельно взятого микроорганизма разлагать то или иное органическое соединение лимитируется индивидуальным генетическим комплексом. Отсутствие или наличие нужных генов является детерминирующим фактором желательных метаболических путей. Естественная популяция одного и того же вида бактерий является генетически гетерогенной, и отношение их к ксенобиотикам проявляется на уровне штамма. Поэтому генный пул естественной популяции и, соответственно, ее метаболические возможности неизмеримо выше, чем отдельно взятого организма.
В ассоциации или консорциуме почвенных микроорганизмов генный пул, отвечающий за метаболизм, на несколько порядков разнообразнее, чем у отдельных видов. Совокупная деятельность микроорганизмов консорциума позволяет довести до полной минерализации любые органические соединения, что далеко не всегда может сделать популяция одного вида микроорганизма.
Существуют различные подходы к биологической очистке почв от ксенобиотиков (пестицидов) в открытых и закрытых системах.
В открытых системах используется комплекс агротехнических мероприятий, повышающих биологическую активность почв, а также предлагается инокуляция их почвенными микроорганизмами. Эффективность этих мероприятий невелика.
В закрытых системах загрязненная пестицидами почва собирается в гряды и компостируется в условиях оптимальной температуры и влажности. В ряде случаев в компостируемую массу предлагается вводить навоз, активный ил из очистных сооружений и т.д., а также инокулировать ее культурой микроорганизмов, разлагающих соответствующие ксенобиотики.
Такой подход рекомендуется для очистки почв от ксенобиотиков в случаях аварийных ситуаций. Процесс дезактивации почвы составляет от нескольких недель до нескольких месяцев, ограничен относительно невысоким порогом концентрации в ней ксенобиотиков.
Применение мобильных установок и биореакторов повышает эффективность очистки почв в несколько раз, но существенно повышает стоимость работы.
До настоящего времени не существует эффективных микробиологических способов переработки больших объемов запрещенных и вышедших из употребления химических средств защиты растений.
Известен «Способ получения препарата для разложения хлорфенолов» авторов Головлевой Л.А. и Забориной О.Е. по авторскому свидетельству СССР №1775471. Изобретение относится к области биотехнологий и защиты окружающей среды и может быть использовано для очистки промышленных стоков, природных водоемов, почвы и других объектов окружающей среды. Применение изобретения: получение бактериального препарата для разложения хлорфенолов. Сущность изобретения: штамм бактерий Streptomyces roches: BKM AC 1284 D выращивают на среде с 2,4,6-трихлорфенолом и сукцинатом натрия, после чего осуществляют иммобилизацию бактерий на волокнистом носителе.
Известен патент США №5429949 А «Бактерии, деградирующие s-триазин» авторов Radosevich Mark, Tuovinen Olli H., Traina Samuel J. Описана биологически чистая культура бактериального штамма, способного деградировать атразин до диоксида углерода, биурета, мочевины и аммиака, имеющая все идентифицирующие характеристики штамма М91-3, АТСС55551.
Известно изобретение «Способ быстрой деструкции галогенированных углеводородов с помощью метанотрофных бактерий» авторов Richard S.Hanson и John D.Lipscomb по патенту США №5196339, которое выбрано в качестве прототипа для способа утилизация пестицидов.
Для микробиологической деструкции галогенированных углеводородов последние приводят в контакт с достаточным количеством метаноокисляющих бактерий, чтобы полностью разрушить галогеноводороды. Бактерии получают непрерывным культивированием в подходящих условиях.
Известна также группа изобретениий «Культуры микроорганизмов, применяемые для расщепления гексахлорциклогексана и других полихлорированных циклических углеводородов, способ получения и применения» авторов Heirich Steffen, Brugemann Holger, Rollin Johanna, Mensel Wolfram по патенту Германии №4212479, которые выбраны в качестве прототипа для способа получения микробного препарата.
Культуры микроорганизмов расщепляют циклические хлорорганические вещества, например и -изомеры гексахлорциклогексана. Для этого их культивируют аэробно или анаэробно на минеральной среде с указанными веществами в качестве единого источника углерода. В качестве исходных материалов для получения таких микроорганизмов используют пробы естественных мест, в которых имеются такие труднорасщепляемые вещества. Предусмотрено применение культур микроорганизмов для биологической очистки загрязненной воды и почвы.
Известен «Способ регенерации загрязненных грунтовых вод» авторов Hazen Т., Fliermans С. по патенту США №94/05604 А1.
Предложен способ регенерации на месте подповерхностной почвы и грунтовой воды, загрязненных хлорированными углеводородами (например, трихлорэтиленом). Стимулируют рост и воспроизведение поверхностных микроорганизмов, способных аэробно разрушать загрязнения. Питательной средой может быть метан, а оксигенированной средой – воздух, чтобы стимулировать рост метанфоров для разрушения углеводородов.
Известен «Способ восстановления почв, загрязненных углеводородами и иными биоразлагающимися субстанциями» авторов Сеса S.A., Schultz Ch. по патенту Франции №9506715 А1.
Загрязненную почву обрабатывают распылением питательных компонентов для аэробной бактериальной флоры типа N/P в олеофильной форме, затем дополнительно вводят сено и гидрофильные компоненты питания типа N(P)K, которые механически перемешивают с почвой. Это приводит к снижению содержания углеводородов не более 500 мг/кг в течение нескольких месяцев. Олеофильное питание представлено микроэмульсией раствора солей N/P в органическом растворителе, смешивающимся с липидами.
Известен также «Аппарат для культивирования микроорганизмов» авторов Зыкова Д.К., Барбота B.C., Зыковой Н.С., Кушнарева НА., Казокина Ю.И. по авторскому свидетельству СССР №1437390, МКИ С 12 М 1/00, 1988 г.
Сущность изобретения: аппарат содержит наклонно установленный барабан с люком и цапфами, вращающийся вокруг горизонтальной оси. Используется для улучшения культивирования путем интенсивной аэрации загружаемой питательной среды.
Известен «Биореактор для разложения растительного сырья» автора Лебедева Г.В. по авторскому свидетельству СССР №1763478 МКИ С 12 М 1/00, 1989 г., который выбран в качестве прототипа устройства для утилизации пестицидов.
Сущность изобретения: биореактор содержит цилиндрическую вращающуюся емкость с внутренними патрубками для подвода аэрирующего газа. Используется для переработки растительных отходов путем их микробиологического разложения, для получения компостируемых масс, удобрений и жидких физиологически активных веществ путем анаэробного процесса.
Анализ состояния дел в области восстановления загрязненных пестицидами почв приводит к заключению, что наиболее приемлемым и эффективным является использование адаптированной культуры консорциума микроорганизмов, выращиваемой на твердофазных средах, где в качестве субстрата-носителя используются естественные материалы почва, торф, солома, древесная стружка, опилки и т.д.
В настоящее время производство подобного типа биологически активных субстратов осуществляется циклически на открытых площадках средствами механизации торфодобывающей промышленности или кустарным способом только в теплый период года при продолжительности цикла 30 и более суток. Все это ограничивает период и объемы производства, снижает качество субстрата и приводит к высокой его стоимости.
Задачей изобретения является повышение эффективности утилизации пестицидов
Указанная задача решается за счет создания микробного препарата консорциума микроорганизмов, разлагающих пестициды сим-триазиновой группы, получаемого следующим способом.
Сначала получают исходную культуру консорциума микроорганизмов. При этом в качестве источника исходной культуры консорциума микроорганизмов, разлагающих пестициды сим-триазиновой группы, используют БАГ – биологически активный торфяной грунт, который представляет собой торфо-известково-минеральный компост, включающий ассоциацию микроорганизмов, разлагающих растительные остатки и гумус (авторское свидетельство №1250559 от 15.04.86 г. «Способ получения биологически активного грунта в полевых условиях», авт. Герш Н.Б., Круглов Ю.В., Алексеев Ю.В., Родина Н.И., Шувалова Н.К.).
Ключевым элементом консорциума микроорганизмов, разлагающего пестициды производные сим-триазина, являются целлюлозоразлагающие микроорганизмы (бактерии и грибы), так как именно они осуществляют гидролиз целлюлозы до глюкозы, которая используется другими микроорганизмами в качестве источника углерода и энергии (косубстрата) при разложении пестицидов. При этом экспериментально путем микробиологического анализа препарата консорциума было установлено, что основными видами целлюлозоразлагающих микроорганизмов (бактерий и грибов) являются Sporocytophaga mixococcoides, Sorangium cellulosum, Cellvibrio mixtus, Trichoderma viridae, а также сопутствующие им гетеротрофные бактерии Pseudomonas fluorescens, Вас. megaterium, использующие продукты гидролиза полисахаридов глюкозу, маннозу, галактозу в качестве источника углерода и энергии.
Ферментативный комплекс консорциума характеризуется высокой активностью гидролаз и оксидаз.
Биологически активный грунт (БАГ) смешивают с 20-30% измельченной соломы, после чего в полученный субстрат добавляют в качестве индуктора пестицид сим-триазиновой группы в концентрации 10-100 мг/кг и инкубируют в течение одного – двух месяцев при температуре 26-28°С.
Затем исходную культуру консорциума микроорганизмов культивируют на твердофазной органо-минеральной среде. В качестве такой среды используют торфо-соломенный субстрат с минеральными добавками.
Для получения торфо-соломенного субстрата торф предварительно нейтрализуют до рН 6,0-7,0 и увлажняют водой до 60±5% от полной влагоемкости, после чего к нему добавляют измельченную солому в количестве 5-20% от массы торфа. Затем к торфо-соломенному субстрату добавляют минеральные добавки со следующим содержанием элементов:
| азот |
1,5-2,5 г/кг субстрата, |
| фосфор |
1,0-1,5 г/кг субстрата, |
| калий |
1,0-3,0 г/кг субстрата. |
Полученный субстрат с минеральными добавками перемешивают.
Далее торфо-соломенный субстрат с минеральными добавками инокулируют исходной культурой консорциума микроорганизмов, полученной способом, указанным выше, в концентрации 10-20% от общей массы субстрата, перемешивают и помещают в термостатируемое помещение при температуре 26-28°С, где инкубируют при периодическом перемешивании в течение примерно 2-х месяцев до достижения микробным препаратом следующих показателей:
| биомасса микроорганизмов |
8-12 г С/кг |
| титр целлюлозоразлагающих микроорганизмов |
106 кл/г |
При этом титр микроорганизмов, мобилизующих глюкозу и маннозу, как правило, составляет 106 кл/г.
Культура формируется в процессе утилизации растительных полисахаридов целлюлозы и гемицеллюлоз, в качестве источника которых используются древесные опилки, сено, солома, а также торфы верхового и переходного типа.
Отдельные представители микробного консорциума обладают различной способностью к разложению пестицидов сим-триазиновой группы на разных источниках углерода, и степень их участия в разложении пестицида различна на разных стадиях созревания культуры, что обеспечивает стабильную эффективность препарата на протяжении длительного времени.
Известно, что пестициды и другие продукты оргсинтеза разлагаются гетеротрофными микроорганизмами в процессе их жизнедеятельности.
Для этого им необходим энергетический материал и основные источники питания в виде органических и минеральных соединений, а также соответствующие физико-химические условия среды.
В структуре углеродного питания гетеротрофных микроорганизмов, входящих в состав консорциума, основное место занимают сахара – продукты гидролиза соломы.
Резкое возрастание активности целлюлазы и оксидаз, с которыми связаны мацерация соломы и гидролиз ее полисахаридов, приводит к накоплению в почве продуктов гидролиза – сахаров, что способствует увеличению численности микроорганизмов, использующих эти сахара в качестве косубстратов для деструкции пестицида. Наряду с изменениями видового разнообразия микроорганизмов, отмеченными при внесении соломы и биологически активного грунта (БАГ), наблюдается увеличение на 3 порядка титра микроорганизмов, обладающих способностью к деструкции пестицида.
Среди важнейших факторов, определяющих судьбу пестицидов и эффективность процессов самоочищения почв от ксенобиотиков, является органическое вещество, которое является энергетическим материалом и основным источником питания гетеротрофных микроорганизмов.
Экспериментально установлено, что опилки труднее усваиваются микроорганизмами по сравнению с сеном или соломой. При этом солома содержит гораздо больше чем сено целлюлоз и гемицеллюлоз (до 70%), в связи с чем в качестве добавки к торфу в составе субстрата используют солому.
При этом установлено, что использование соломы зерновых культур приводит к ускоренной деградации пестицидов, а наилучший результат достигается при использовании соломы овса.
Количество и качественный состав органического вещества определяют уровень микробной биомассы, биоразнообразие, структуру микробного комплекса и соответственно его метаболические возможности. Экспериментально установлено, что оптимальным является соотношение 5-20% соломы от веса торфа.
Наблюдается определенная корреляция между содержанием органического вещества, биомассой микроорганизмов и скоростью деградации пестицидов.
Установлено также экспериментально, что для получения микробного препарата с указанными свойствами оптимальным является добавление 10-20% исходной культуры консорциума микроорганизмов, разлагающих пестициды сим-триазиновой группы, к массе торфо-соломенного субстрата.
Определенное влияние на формирование микробного комплекса препарата оказывает индуктор – пестицид сим-триазиновой группы. В присутствии индуктора повышается активность разложения клетчатки и увеличивается титр микроорганизмов, мобилизующих такие продукты гидролиза соломы, как ксилоза, глюкоза и манноза, а также повышается содержание микроорганизмов – деструкторов.
Одним из пестицидов сим-триазиновой группы является прометрин.
Препарат прометрин (2-метилтио-4,6-бис(изопропиламино)-сим-триазин) используется для борьбы с сорняками на посевах ряда сельскохозяйственных культур (картофель, соя, люпин, кариандр, морковь и т.д.). Персистентность в почве средняя, составляет от 3 до 18 месяцев.
Сведения о прометрине содержатся в книгах: Н.Н.Мельников «Пестициды. Химии, технология, применение». М., «Химия» 1987 г., а также Н.Н.Мельников, П.К.Новожилов, С.Р.Белан, Т.Н.Пылова «Справочник по пестицидам» М., «Химия», 1985 г.
Пример влияния прометрина в качестве индуктора на численность различных функциональных групп микроорганизмов консорциума приведен в табл.1.
| Таблица 1 |
| Влияние индуктора-прометрина на численность различных функциональных групп микроорганизмов консорциума |
| Вариант |
Титр микроорганизмов на средах, кл/г |
Разложение клетчатки, мг/3 нед |
| Без С |
Глюкоза |
Манноза |
Целлюлоза |
Деструкторы прометрина |
| Без индуктора |
4·103 |
3·104 |
9·103 |
1,2·104 |
6·102 |
195,5 |
| С индуктором |
4,5·105 |
1,2·105 |
2,5·106 |
2,5·105 |
2.8·105 |
280 |
Из данных, приведенных в табл.1, видно, что в присутствии индуктора – прометрина – титр микроорганизмов консорциума на различных средах значительно выше, чем без индуктора, а также то, что в присутствии индуктора активность разложения клетчатки выше.
Особенность взаимодействия микроорганизмов и пестицидов заключается в том, что многие пестициды в высоких концентрациях токсичны и вследствие этого недоступны для микроорганизмов.
При высоком содержании пестицидов, так же как и в случае увеличения биомассы микроорганизмов, возрастает частота их контактов в микрозонах и повышается эффективность деградации. Однако при этом увеличивается вероятность отравления клеток этими веществами или продуктами их метаболизма.
Низкие концентрации, составляющие несколько мкг или нг на кг почвы, могут оказаться ниже порога концентраций, при которых индуцируется синтез соответствующих ферментов, что исключает прямое участие микроорганизмов в деградации этих веществ. Поэтому при очень малых концентрациях эти вещества не способны индуцировать соответствующие ферменты и разложение имеет случайный характер.
Экспериментально установлено, что количество индуктора – пестицида – должно составлять от 10 до 100 мг/кг исходной смеси.
Кислотность почв варьирует от рН 3,5 (торфы, подзолы) до 8,5 (солонцы). В соответствии с кислотностью формируется микрофлора. На кислых почвах доминируют грибы, на нейтральных и щелочных – бактерии. По имеющимся в настоящее время данным именно гетеротрофные бактерии являются основным фактором деградации органических ксенобиотиков. Поэтому наиболее благоприятные условия для деградации пестицидов складываются на почвах, в т.ч. торфяных, слабо кислых и нейтральных (рН 6-7).
Несмотря на то что микроорганизмы могут развиваться в широком диапазоне влагообеспеченности почв, оптимальная влажность для них составляет 50-70% от полной влагоемкости. При большей влажности происходит вытеснение кислорода из порового пространства почвы и создаются анаэробные условия, при которых микробиологические процессы трансформации пестицидов имеют ограниченный характер. При этом образуются восстановленные продукты метаболизма, которые в отсутствие кислорода длительное время сохраняются в окружающей среде. При влажности ниже 20% от полной влагоемкости микроорганизмы прекращают активную жизнедеятельность, переходят в состояние анабиоза и частично отмирают, их способность разлагать ксенобиотики сводится к нулю.
Количество воды, необходимое для увлажнения, рассчитывают, исходя из размеров влагоемкости торфа и его исходной влажности.
Почвенные микроорганизмы, входящие в состав консорциума, активно функционируют в диапазоне 10-40°С. С повышением температуры скорость энзиматических реакций деградации пестицидов микроорганизмами возрастает. Однако их оптимум лежит в пределах 20-30°С.
Как правило, в большинстве случаев микробиологический процесс деградации пестицидов наиболее эффективно идет в аэробных условиях, при достаточном притоке воздуха и содержании его в газовой фазе почвы или препарата не менее 10%, в водной фракции твердофазных сред – не менее 0,2 мг/л.
При этом периодическое перемешивание торфо-соломенного субстрата с минеральными добавками, инокулированного исходной культурой консорциума микроорганизмов, обеспечивает необходимый режим аэрации массы препарата.
В качестве источников минерального питания микроорганизмов консорциума (минеральных добавок) могут быть использованы как чистые соли, так и минеральные удобрения на их основе, в указанных ниже пропорциях:
| Вариант 1: азотнокислый аммоний (NH4NO3) |
6 г/кг |
| калий сернокислый (К2SO4) |
2 г/кг |
| суперфосфат простой (СаН2PO4) |
7 г/кг |
| Вариант 2: азотнокислый аммоний (NH4NO3) |
6 г/кг |
| фосфорнокислый калий двузамещенный (K2HPO4) |
7 г/кг |
Увеличение срока компостирования до трех месяцев, а также хранение полученного препарата в течение 9 месяцев не снижает его эффективности.
Хранение готового микробного препарата консорциума микроорганизмов возможно при температуре 16-20°С в течение 6-9 месяцев без потери его эффективности. Препарат может быть использован для биоремедиации загрязненных почв, а также для утилизации пестицидов.
Указанная задача решается также за счет реализации следующего способа утилизации пестицидов сим-триазиновой группы с помощью микробного препарата консорциума микроорганизмов, полученного описанным выше способом.
На первом этапе подготавливают твердофазный субстрат на основе торфа переходного или верхового типа, нейтрализованного известковым материалом до рН 6,0-7,0. В торф добавляют 5-20% измельченной соломы, увлажняют до 50-60% от полной влагоемкости смеси и вводят минеральные добавки со следующим содержанием элементов:
| азот |
1,5-2,5 г/кг субстрата |
| фосфор |
1,0-1,5 г/кг субстрата |
| калий |
1,0-3,0 г/кг субстрата |
Полученный субстрат с минеральными добавками тщательно перемешивают.
Затем осуществляют адаптацию микроорганизмов микробного препарата, полученного описанным выше способом, к подлежащим утилизации пестицидам. Для этого в подготовленный твердофазный субстрат добавляют 10-20% микробного препарата и вводят небольшую (от 0,001 до 0,1% от массы субстрата) дозу утилизируемого пестицида сим-триазиновой группы, смесь перемешивают.
После этого полученный субстрат загружают в горизонтальный биореактор на 50-70% его объема. В режиме запуска (адаптации) в течение 10-20 дней при температуре воздуха 20-30°С загруженный субстрат с помощью периодического вращения барабана биореактора перемешивают и проводят его аэрацию воздухом температурой до 30°С до достижения титра целлюлозоразлагающих микрорганизмов в субстрате 105÷106 кл/г и заданного уровня утилизации пестицидов.
Далее, в рабочем режиме при тех же условиях работы, ежедневно с выхода биореактора отбирают порцию субстрата в количестве 5-10% загруженной массы, добавляют в нее не более 5% утилизируемого пестицида и загружают обратно на вход биореактора, который расположен на другом его конце относительно выхода.
Указанные операции рабочего режима повторяют до тех пор, пока сохраняется заданный уровень утилизации пестицида.
Другим вариантом способа утилизации пестицидов сим-триазиновой группы является способ, отличающийся от описанного выше тем, что в рабочем режиме отбираемая с выхода биореактора часть порции отработанного субстрата в количестве 5-10% заменяется на свежий торфо-соломенный субстрат с минеральными добавками, полученный описанным ранее способом. После этого, как и было описано выше, к регенерированной порции субстрата добавляют не более 5% утилизируемого пестицида и загружают ее снова на вход биореактора. Эту операцию повторяют до тех пор, пока имеется необходимость в переработке пестицида, к которому адаптирован микробный препарат, и пока сохраняется заданный уровень утилизации пестицида.
При осуществлении данного варианта способа утилизации пестицидов отработанный субстрат, изымаемый с выхода биореактора, может использоваться для восстановления загрязненных почв или в качестве биоорганического удобрения.
Экспериментально установлено, что для режима адаптации является оптимальным, когда к подготовленному субстрату добавляют 10-20% микробного препарата консорциума микроорганизмов и пестицида, подлежащего утилизации, в пропорции от 0,001 до 0,1%, т.е. не более 0,1% от массы субстрата.
Добавление пестицида в количестве меньше указанного экономически неоправданно, так как сильно увеличивает период адаптации, а в количестве больше указанного – токсично по отношению к микроорганизмам смеси.
Продолжительность режима адаптации определяют по достижении необходимой численности отселекционированного комплекса микроорганизмов (титра целлюлозоразлагающих микроорганизмов в субстрате до 105-106 кл/г) и заданного процента распада внесенной дозы пестицида (уровень утилизации пестицида).
Уровень утилизации пестицида может быть изменен путем изменения пропорции этого пестицида, добавляемого к смеси из торфо-соломенного субстрата и микробного препарата, в пределах от 0,001 до 0,1%.
При этом установлено, что использование соломы зерновых культур приводит к ускоренной деградации пестицидов, а наилучший результат достигается при использовании соломы овса.
В качестве источников минерального питания могут быть использованы минеральные добавки как в виде чистых солей, так и в виде минеральные удобрений на их основе, например:
| Вариант 1: азотнокислый аммоний (NH4NO3) |
6 г/кг |
| калий сернокислый (K2SO4) |
2 г/кг |
| суперфосфат простой (CaH2PO4) |
7 г/кг |
| Вариант 2: азотнокислый аммоний (NH4NO3) |
6 г/кг |
| фосфорнокислый калий двузамещенный (K2HPO4) |
7 г/кг |
В рабочем режиме с выхода биореактора ежедневно отбирают порцию субстрата в количестве 5-10% общей массы, которую затем вместе с добавленным в нее утилизируемым пестицидом загружают на вход биореактора. Экспериментально установлено, что указанное количество выгружаемого субстрата является оптимальным: порции менее 5% являются экономически невыгодными, а при порциях более 10% не успевает пройти процесс адаптации микроорганизмов.
В рабочем режиме к выдержанной (адаптированной смеси) добавляют подлежащий утилизации пестицид в количестве, не превышающем 5% общей массы. При этом добавление очень малых доз пестицида (меньше 0,1%) является экономически неоправданным, а в количестве больше указанного (более 5%) токсичным по отношению к микроорганизмам в смеси субстрата.
Во втором варианте способа утилизации в рабочем режиме сначала с выхода биореактора отбирают порцию субстрата (5-10% общей массы), а затем часть этой порции заменяют на свежий торфо-соломенный субстрат с минеральными добавками. При этом экспериментально установлено, что оптимальным является часть выгруженной порции в количестве 5-10% ее массы: если заменять менее 5% выгруженной порции, то второй вариант способа практически переходит в первый вариант, а если заменять более 10% выгруженной порции, то эта свежая часть порции, добавленная в субстрат, не успевает пройти адаптацию и потенциал микроорганизмов для разложения пестицидов используется не полностью.
Второй вариант способа утилизации пестицидов за счет периодического добавления порций определенного количества свежего торфо-соломенного субстрата с минеральными добавками, т.е. за счет постоянного восполнения энергетического материала и источников питания гетеротрофных микроорганизмов, может использоваться намного дольше по времени по сравнению с первым вариантом способа, в котором такого восполнения источников питания микроорганизмов не производится; но при этом второй вариант способа является более затратным.
В табл.2 приведены опытные результаты эффективности утилизации пестицида – прометрина – микробным препаратом заявленным способом.

Из приведенных в табл.2 результатов экспериментальных данных следует, что в режиме адаптации за первые 10 суток разложилось около 50% пестицида – прометрина, начальная концентрация которого составляла 500 мг на кг субстрата, а через 20 суток разложилось более 93% прометрина. Анализ динамики разложения пестицида в течение 20 суток позволяет сделать заключение, что за это время произошла адаптация микроорганизмов микробного препарата к утилизируемому пестициду – прометрину, так как уровень его разложения в твердофазном субстрате (уровень утилизации) превысил заданный в данном случае 90%.
Проведенные эксперименты показали также, что скорость утилизации пестицида – прометрина с помощью микробного препарата, осуществляемая описанным способом, более чем на 3 порядка превосходит скорость естественного разложения этого пестицида в почве.
В табл.3 приведены результаты опытных испытаний эффективности утилизации другого пестицида – атразина – с помощью микробного препарата консорциума микроорганизмов заявленным способом.
Препарат атразин (6-изопропиламино-2-хлор-4-этиламино-сим-триазин) используется для борьбы с сорняками на посевах кукурузы, сорго, а также в питомниках на посадках ели, на плантациях крыжовника, смородины, малины. Персистентность в почве высокая и составляет в среднем 18-24 месяца.
Сведения о пестициде атразин содержатся в книгах: Н.Н. Мельников «Пестициды. Химии, технология, применение». М., «Химия» 1987 г., а также Н.Н.Мельников, П.К.Новожилов, С.Р.Белан, Т.Н.Пылова «Справочник по пестицидам» М., «Химия», 1985 г.

Из опытных данных, приведенных в табл.3, видно, что при заданном в данном случае уровне утилизации пестицида не менее 70% он был достигнут за 20 суток – время адаптации микробного препарата к утилизируемому пестициду – атразину, после чего в рабочем режиме этот уровень стабильно выдерживался. В дальнейшем наблюдалось увеличение эффективности деструкции пестицида.
Указанная задача решается также за счет использования в способе утилизации химических средств защиты растений биореактора следующей конструкции.
Биореактор представляет из себя замкнутый цилиндр с соотношением его длины к диаметру (L:D) в диапазоне 3,0-4,0. Барабан установлен горизонтально на опорные звездочки, закрепленные на раме с возможностью его вращения. Барабан биореактора снабжен системой вентиляции, с помощью которой происходит аэрация загруженной в него смеси и вывод из барабана отработанного воздуха. Биореактор имеет загрузочный и разгрузочный люки, через которые ведется загрузка смеси и выгрузка отработанного субстрата. При этом загрузочный люк расположен на цилиндрической поверхности барабана вблизи торцевой стенки, а разгрузочный люк – в торцевой стенке на противоположном конце барабана.
В процессе работы смесь периодически загружается с одной стороны барабана и выгружается с другой. В это же время барабан совершает вращательное движение, за счет чего смесь также вращается вместе с барабаном. Так как барабан заполнен не на весь объем, смесь, находящаяся на поверхности, пересыпается, распределяясь из зоны загрузки на весь барабан. По мере дальнейшей загрузки и вращения барабана эта порция смеси постепенно вытесняется более свежими порциями в направлении к выгрузному люку.
Отношение длины барабана к его диаметру является одним из важнейших параметров биореактора барабанного типа, так как слишком малое соотношение L:D может привести к проскоку пестицидов за меньший период, чем необходимо для их разложения. Слишком большое отношение L:D неоправданно увеличивает потери энергии на вращение барабана и от утечки тепла через его поверхность.
Экспериментально установлено, что для утилизации пестицидов сим-триазиновой группы в горизонтальном биореакторе оптимальным является соотношение длины барабана к его диаметру:
L:D=3,0÷4,0.
Таким образом, конструкция биореактора обеспечивает возможность его непрерывной работы, позволяя периодически отбирать из разгрузочного люка часть субстрата, прошедшую детоксикацию, вносить в нее очередную порцию подлежащего утилизации пестицида и вновь загружать этот субстрат в биореактор через загрузочный люк.
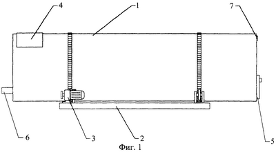
На фиг.1 представлен общий вид биореактора.
На фиг.2 приведен внешний вид конкретного примера выполнения биореатора.
Биореактор представляет собой цилиндрический барабан 1 с соотношением длины барабана к его диаметру (L:D) 3,0÷4,0, расположенный горизонтально на опорных звездочках, закрепленных на раме 2, с возможностью его вращения при помощи привода 3. В корпусе барабана имеются загрузочный люк 4 и на противоположной стороне – разгрузочный люк 5. Биореактор оборудован системой вентиляции, имеющей вход 6 для подачи воздуха и отверстие 7 для выхода отработанного воздуха.
Заявляемый биореактор работает следующим образом.
Вращение барабана 1 осуществляется приводом 3 от мотор-редуктора с помощью цепной передачи на ведущую звездочку, передающую крутящий момент на цепные беговые дорожки барабана.
Загрузка свежих порций смеси производится через загрузочный люк 4 барабана, расположенный около торцевой стенки. Аэрация загруженной смеси осуществляется посредством подачи воздуха через вход 6 воздуховода внутрь барабана, где он проходит сквозь ее слой. Отработанный воздух удаляется через отверстие 7. Выгрузка переработанной смеси из биореактора производится через разгрузочный люк 5.
Осуществимость и эффективность микробного препарата для разложения пестицидов сим-триазиновой группы подтверждается следующими лабораторными опытами.
Исследовали варианты использования микробного консорциума для утилизации двух пестицидов – прометрина и атразина, при которых их вносили в виде водной суспензии непосредственно в готовый микробный препарат.
В этих целях микробный консорциум на торфяной основе (БАГ) в концентрации 20% вносили в хорошо измельченную торфяную массу, предварительно нейтрализованную до рН 6,5, куда добавлялись измельченная солома овса (20%), минеральные удобрения: азотнокислый аммоний (NH4NO3) 6 г/кг субстрата, фосфорнокислый калий двузамещенный (K2HPO4) 7 г/кг субстрата, а затем добавляли пестицид: прометрин в концентрации 0,5% от общей массы смеси или атразин в концентрации 0,1%.
После увлажнения до 70% проводили компостирование при температуре 26-28°С. Содержание прометрина проверяли через 2, 4 и 6 недель после его внесения, а атразина – после 4 недель.
Полученные данные представлены ниже в табл.4.
| Таблица 4 |
| Эффективность разложения пестицидов при использовании консорциума микроорганизмов |
| Вариант внесения пестицида в готовый микробный препарат |
Содержание пестицида, мг/кг |
| Исходное |
Через 2 недели |
Через 4 недели |
Через 6 недель |
| Прометрин |
4500 |
162,3 |
40,6 |
5,8 |
| Атразин |
30,8 |
– |
0 |
– |
Из данных, приведенных в табл.4, видно, что количество пестицида – прометрина – за 4 недели снизилось на 99,1%, а атразина – на 100%.
Эти данные свидетельствуют о значительной эффективности процесса деструкции пестицидов различных видов микробным препаратом на основе консорциума микроорганизмов.
Примеры осуществления способа утилизации пестицидов.
Пример 1. Способ утилизации (вар.1) пестицида – прометрина.
Сначала приготовили субстрат из смеси торфа влажностью 55-60%, дробленой соломы влажностью 15-25% и минеральных добавок с влажностью по соответствующим нормативам следующего состава:
Торф 80% (на физическую массу)
Солома 20% (на физическую массу)
Доломитовая мука 70 кг/т
Селитра аммиачная 4 кг/т
Калий сернокислый 2 кг/т
Суперфосфат простой 7 кг/т
Влажность полученного субстрата довели до 65%.
На первом этапе утилизации – в режиме адаптации – в субстрат добавили 20% препарата консорциума и 0,1% прометрина. Для более равномерного распределения прометрина его предварительно растворили в воде. Масса субстрата 235 кг. Субстрат загрузили на вход биореактора, где производилась инкубация при периодическом перемешивании путем периодического вращения барабана биореактора (2 раза в сутки по 1 минуте при скорости вращения барабана 3 оборота в минуту) и периодической аэрации воздухом (2 раз в сутки по 15 минут со скоростью движения воздуха 4-6 м/час) с автоматическим поддержанием температуры воздуха +(28-30)°С.
При инкубировании смеси в режиме адаптации наблюдалось интенсивное развитие микроорганизмов, совокупная биомасса которых составляла более 10 г/кг в пересчете на углерод. В указанном режиме субстрат выдерживался в биореакторе до достижения необходимой численности отселекционированного комплекса микроорганизмов (титр целлюлозоразлагающих бактерий 106 кл/г, количество микроорганизмов, использующих продукты гидролиза растительных полисахаридов целлюлозы и гемицеллюлозы – 105-106 кл/г) и распада внесенной дозы прометрина (заданного уровня утилизации 90%), что составило 20 дней.
По окончании режима адаптации перешли на рабочий режим работы, при котором при тех же условиях ежедневно с выхода биореактора отбирали порцию субстрата в количестве 23 кг, добавляли в нее 200 г утилизируемого прометрина и загружали обратно с другого конца на вход биореактора. Указанные операции рабочего режима повторяли в течение 2-х месясев, при этом уровень утилизации прометрина не стал ниже заданного – 90%.
Пример 2. Способ утилизации (вар.2) пестицида – атразина.
Сначала приготовили торфо-соломенный субстрат, как в примере 1.
Затем проводили утилизации пестицида – атразина – в два этапа.
На первом этапе – режиме адаптации – в субстрат добавили 20% препарата консорциума и 0,02% атразина, предварительно растворенного в воде для более равномерного его распределения. Масса субстрата составила 235 кг.
Субстрат загрузили на вход биореактора, где производилась его инкубация при условиях, описанных в примере 1. При инкубировании смеси в режиме адаптации субстрат выдерживался в биореакторе до достижения титра целлюлозоразлагающих бактерий – 105 кл/г и заданного уровня утилизации атразина – 70%, что составило 20 дней.
По окончании режима адаптации перешли на рабочий режим работы, при котором при тех же условиях ежедневно с выхода биореактора отбирали порцию субстрата в количестве 20 кг, заменяли 1/10 этой порции (2 кг) на свежий торфо-соломенный субстрат с минеральными добавками, добавляли в регенерированную порцию 50 г утилизируемого атразина и загружали обратно с другого конца на вход биореактора, повторяя указанные операции рабочего режима в течение месяца; при этом уровень утилизации атразина был стабильно выше заданного – 70%.
В процессе работы (примеры 1, 2) осуществляли ежедневный контроль температуры. Для замера температуры использовали термометры ТЛ-2 ГОСТ 215-73.
Отбор проб на анализ осуществляли по ГОСТ 5396-77, ГОСТ 17644-83. В отобранных образцах определяли содержание пестицида газохроматографическим методом («Методы определения микроколичеств пестицидов в продуктах питания, кормах и внешней среде». Под ред. М.А.Клисенко, М., Колос, 1983, с.215-223).
Пример конкретного выполнения биореактора приведен на фиг.2.
Биореактор представляет из себя замкнутый цилиндр 1 диаметром 0,7 м и длиной 2,6 м, установленный горизонтально на опорные звездочки, закрепленные на раме 2. Приводная звездочка приводится во вращение от звездочки на валу мотор-редуктора при помощи цепной передачи и передает вращающий момент барабану биореактора через цепные беговые дорожки, что соответственно вызывает его вращение и перемешивание субстрата с культурой консорциума микроорганизмов.
Биореактор имеет загрузочный 4 и разгрузочный 5 люки, через которые ведется загрузка микробного препарата, смешанного с утилизируемым пестицидом, и выгрузка отработанного субстрата. При этом загрузочный люк расположен на цилиндрической поверхности барабана вблизи торцевой стенки, а разгрузочный люк – в торцевой стенке на противоположном конце барабана.
Подвод воздуха для обеспечения равномерного аэрационного режима загруженной смеси осуществляется через вход 6 следующим образом.
Внутри рабочей емкости барабана 1, вдоль внутренней его поверхности, пропущена трубка с отверстиями, расположенными с шагом 100 мм друг от друга по длине барабана, через которую подается подогретый воздух для аэрации субстрата и поддержания в нем оптимальной температуры. Один конец трубки выведен наружу через торцевую стенку у загрузочного люка 4 и имеет посадочное место для соединения входа 6 с гибкой вставкой системы вентиляции. Второй конец трубки выведен через торцевую стенку с выгрузным люком 5 и заглушен съемной крышкой, обеспечивающей возможность прочистки системы аэрации.
В торцевой стенке с выгрузным люком 5 имеется отверстие 7 для выхода отработанного воздуха, расположенное с диаметрально противоположной стороны от воздуховода 6.
Биореактор комплектуется вентиляционной установкой и шкафом управления и применяется для переработки химических средств защиты растений.
Вентиляционная установка 8 состоит из центробежного вентилятора с электрокалорифером и электродвигателем.
Управление работой всех узлов биореактора осуществляется с помощью электрического шкафа управления 9, который позволяет управлять вращением барабана и обеспечивает автоматическую работу системы аэрации.
Описанный горизонтальный биореактор изготавливается из известных материалов с использованием покупных элементов, выпускаемых отечественной промышленностью.
Формула изобретения
1. Способ получения микробного препарата для разложения пестицидов сим-триазиновой группы, заключающийся в получении исходной культуры микроорганизмов (консорциума) и ее культивировании на минеральной среде, отличающийся тем, что исходную культуру консорциума микроорганизмов получают из биологически активного грунта (БАГ), смешанного с 20-30% измельченной соломы, в который добавляют индуктор – пестицид сим-триазиновой группы в концентрации 10-100 мг/кг и инкубируют в течение 1-2 месяцев при температуре 26-28°С, а в качестве минеральной среды используют увлажненный до 50-70% от полной влагоемкости торфо-соломенный субстрат, состоящий на 80-90% из нейтрализованного до рН 6-7 торфа, остальное – солома, в который вводят минеральные добавки со следующим содержанием элементов:
| Азот |
1,5-2,5 г/кг субстрата |
| Фосфор |
1,0-1,5 г/кг субстрата |
| Калий |
1,0-3,0 г/кг субстрата |
и все перемешивают, причем культивирование осуществляют путем инокулирования торфо-соломенного субстрата с минеральными добавками исходной культурой консорциума микроорганизмов в концентрации 10-20% от общей массы субстрата, перемешивания и последующего инкубирования при температуре 20-30°С при периодическом его перемешивании до достижения препаратом следующих показателей:
| Биомасса микроорганизмов |
8-12 г С/кг |
| Титр целлюлозоразлагающих микроорганизмов |
106 кл/г |
2. Способ получения микробного препарата для разложения пестицидов сим-триазиновой группы по п.1, отличающийся тем, что в качестве соломы при получении исходной культуры консорциума микроорганизмов используют солому зерновых культур.
3. Способ получения микробного препарата для разложения пестицидов сим-триазиновой группы по п.2, отличающийся тем, что в качестве соломы зерновых культур при получении исходной культуры консорциума микроорганизмов используют солому овса.
4. Способ получения микробного препарата для разложения пестицидов сим-триазиновой группы по п.1, отличающийся тем, что в качестве соломы для приготовления торфо-соломенного субстрата используют солому зерновых культур.
5. Способ получения микробного препарата для разложения пестицидов сим-триазиновой группы по п.4, отличающийся тем, что в качестве соломы зерновых культур для приготовления торфо-соломенного субстрата используют солому овса.
6. Способ получения микробного препарата для разложения пестицидов сим-триазиновой группы по п.1, отличающийся тем, что, к торфо-соломенному субстрату вводят минеральные добавки в виде минеральных удобрений в следующих пропорциях:
| Азотнокислый аммоний (NH4NO3) |
6 г/кг субстрата |
| Калий сернокислый (К2SO4) |
2 г/кг субстрата |
| Суперфосфат простой (CaH2PO4) |
7 г/кг субстрата |
7. Способ получения микробного препарата для разложения пестицидов сим-триазиновой группы по п.1, отличающийся тем, что к торфо-соломенному субстрату вводят минеральные добавки в виде минеральных удобрений в следующих пропорциях:
| Азотнокислый аммоний (NH4NO3) |
6 г/кг субстрата |
| Фосфорнокислый калий двузамещенный (К2HPO4) |
7 г/кг субстрата |
8. Способ утилизации пестицидов, заключающийся в смешивании продуктов органического синтеза и микроорганизмов, разлагающих эти вещества, отличающийся тем, что в качестве продуктов органического синтеза используют пестициды сим-триазиновой группы, а в качестве разлагающих их микроорганизмов – полученный способом по п.1 микробный препарат консорциума микроорганизмов, причем сначала приготавливают торфо-соломенный субстрат, добавляя к нейтрализованному до рН 6-7 торфу, 5-20% измельченной соломы, увлажняют субстрат до 50-70% влажности от полной влагоемкости и вводят минеральные добавки со следующим содержанием элементов:
| Азот |
1,5-2,5 г/кг субстрата |
| Фосфор |
1,0-1,5 г/кг субстрата |
| Калий |
1,0-3,0 г/кг субстрата |
затем полученный субстрат с минеральными добавками перемешивают и добавляют в него 10-20% полученного способом по п.1 микробного препарата консорциума микроорганизмов, разлагающих пестициды сим-триазиновой группы, и дозу пестицида указанной группы в количестве не более 0,1% от массы субстрата, после чего субстрат снова перемешивают и загружают в горизонтальный биореактор на 50-70% его объема, где в режиме адаптации при температуре воздуха 20-30°С загруженный субстрат периодически перемешивают и проводят его аэрацию воздухом температурой до 30°С, пока титр целлюлозоразлагающих микроорганизмов в субстрате не составит 105-106 кл/г, а уровень утилизации пестицидов – заданного, после чего в рабочем режиме при тех же условиях работы ежедневно с выхода биореактора отбирают порцию субстрата в количестве 5-10%, добавляют в нее не более 5% утилизируемого пестицида и загружают обратно с другого конца на вход биореактора, повторяя указанные операции рабочего режима до тех пор, пока сохраняется заданный уровень утилизации пестицида.
9. Способ утилизации пестицидов по п.8, отличающийся тем, что в качестве соломы для приготовления торфо-соломенного субстрата используют солому зерновых культур.
10. Способ утилизации пестицидов по п.9, отличающийся тем, что в качестве соломы зерновых культур для приготовления торфо-соломенного субстрата используют солому овса.
11. Способ утилизации пестицидов по п.8, отличающийся тем, что в качестве минеральных добавок используют минеральные удобрения в следующих пропорциях:
| Азотнокислый аммоний (NH4NO3) |
6 г/кг субстрата |
| Калий сернокислый (К2SO4) |
2 г/кг субстрата |
| Суперфосфат простой (CaH2PO4) |
7 г/кг субстрата |
12. Способ утилизации пестицидов по п.8, отличающийся тем, что в качестве минеральных добавок используют минеральные удобрения в следующих пропорциях:
| Азотнокислый аммоний (NH4NO3) |
6 г/кг субстрата |
| Фосфорнокислый калий двузамещенный (К2HPO4) |
7 г/кг субстрата |
13. Способ утилизации пестицидов, заключающийся в смешивании продуктов органического синтеза и микроорганизмов, разлагающих эти вещества, отличающийся тем, что в качестве продуктов органического синтеза используют пестициды сим-триазиновой группы, а в качестве разлагающих их микроорганизмов – полученный способом по п.1 микробный препарат консорциума микроорганизмов, причем сначала приготавливают торфо-соломенный субстрат, добавляя к нейтрализованному до рН 6-7 торфу, 5-20% измельченной соломы, увлажняют субстрат до 50-70% влажности от полной влагоемкости и вводят минеральные добавки со следующим содержанием элементов:
| Азот |
1,5-2,5 г/кг субстрата |
| Фосфор |
1,0-1,5 г/кг субстрата |
| Калий |
1,0-3,0 г/кг субстрата |
затем полученный субстрат с минеральными добавками перемешивают и добавляют в него 10-20% полученного способом по п.1 микробного препарата консорциума микроорганизмов, разлагающих пестициды сим-триазиновой группы, и дозу пестицида указанной группы в количестве не более 0,1% от массы субстрата, после чего субстрат снова перемешивают и загружают в горизонтальный биореактор на 50-70% его объема, где в режиме адаптации при температуре воздуха 20-30°С загруженный субстрат периодически перемешивают и проводят его аэрацию воздухом температурой до 30°С, пока титр целлюлозоразлагающих микроорганизмов в субстрате не составит 105÷106 кл/г, а уровень утилизации пестицидов – заданного, после чего в рабочем режиме при тех же условиях работы ежедневно с выхода биореактора отбирают порцию субстрата в количестве 5-10%, заменяют в ней часть массы не более 10% на свежий торфо-соломенный субстрат с минеральными добавками, добавляют в эту порцию не более 5% утилизируемого пестицида и загружают обратно с другого конца на вход биореактора, повторяя указанные операции рабочего режима до тех пор, пока сохраняется заданный уровень утилизации пестицида.
14. Способ утилизации пестицидов по п.13, отличающийся тем, что в качестве соломы для приготовления торфо-соломенного субстрата используют солому зерновых культур.
15. Способ утилизации пестицидов по п.14, отличающийся тем, что в качестве соломы зерновых культур для приготовления торфо-соломенного субстрата используют солому овса.
16. Способ утилизации пестицидов по п.13, отличающийся тем, что в качестве минеральных добавок используют минеральные удобрения в следующих пропорциях:
| Азотнокислый аммоний (NH4NO3) |
6 г/кг субстрата |
| Калий сернокислый (К2SO4) |
2 г/кг субстрата |
| Суперфосфат простой (СаН2РО4) |
7 г/кг субстрата |
17. Способ утилизации пестицидов по п.13, отличающийся тем, что в качестве минеральных добавок используют минеральные удобрения в следующих пропорциях:
| Азотнокислый аммоний (NH4NO3) |
6 г/кг субстрата |
| Фосфорнокислый калий двузамещенный (К2HPO4) |
7 г/кг субстрата |
18. Биореактор для реализации способа утилизации пестицидов по пп.8, 13, представляющий собой цилиндрический барабан, установленный горизонтально с возможностью осевого вращения за счет привода, снабженный люком и системой аэрации с воздуховодом и отверстием для выхода отработанного воздуха, отличающийся тем, что соотношение длины барабана к его диаметру находится в диапазоне 3,0-4,0, барабан снабжен вторым люком, причем первый (загрузочный) люк расположен на цилиндрической поверхности около торцевой стенки, а второй (разгрузочный) люк расположен в торцевой стенке на противоположном конце барабана.
РИСУНКИ
MM4A – Досрочное прекращение действия патента СССР или патента Российской Федерации на изобретение из-за неуплаты в установленный срок пошлины за поддержание патента в силе
Дата прекращения действия патента: 07.06.2008
Извещение опубликовано: 10.07.2010 БИ: 19/2010
NF4A – Восстановление действия патента СССР или патента Российской Федерации на изобретение
Дата, с которой действие патента восстановлено: 10.11.2010
Извещение опубликовано: 10.11.2010 БИ: 31/2010
|