|
|
(21), (22) Заявка: 2004134363/12, 25.11.2004
(24) Дата начала отсчета срока действия патента:
25.11.2004
(46) Опубликовано: 10.07.2006
(56) Список документов, цитированных в отчете о поиске:
ЕР 0421073 А1, 10.04.1991. СН 500657 А, 31.12.1970. US 6036603 A, 14.03.2000. RU 2183490 C2, 20.06.2002.
Адрес для переписки:
115569, Москва, ул. Шипиловская, 5, кв.182, О.И. Брик
|
(72) Автор(ы):
Основин Евгений Владимирович (RU)
(73) Патентообладатель(и):
Основин Евгений Владимирович (RU)
|
(54) РАЗВЛЕКАТЕЛЬНЫЙ УЧЕБНО-ПОЗНАВАТЕЛЬНЫЙ КОМПЛЕКС
(57) Реферат:
Развлекательный учебно-познавательный комплекс включает систему емкостей, снабженных прозрачными проходами, расположенными внутри емкостей и оснащенными приборами и устройствами для обеспечения комфортности нахождения людей внутри проходов. Сами емкости разделены на секции и расположены на разных уровнях, часть из них расположена горизонтально, другая часть – наклонно, а третья часть расположена вертикально. При этом вертикальные, наклонные и часть горизонтальных проходов оснащены направляющими для лифтовых приводных кабин. Часть секций емкостей выполнена в виде океанариумов и снабжена водовыпусками, а часть – в виде дендрариума. Механизм привода лифтовых кабин выполнен в виде тягового механизма со шкивом и тросом, при этом кабина в вертикальном проходе снабжена внутренними поручнями и выполнена с возможностью вращения вокруг своей оси в охватывающей ее рамке, выполненной в виде нижней и верхней траверс соединенных вертикальными спицами. Дно кабины снабжено зубчатым колесом, взаимодействующим с шестерней привода, закрепленного на нижней траверсе рамки, а траверсы снабжены роликами, взаимодействующими с направляющими прохода, а наружная поверхность дна и боковых стен кабины наклонного и горизонтального проходов снабжены контактирующими с направляющими проходов роликами, а внутри эта кабина снабжена посадочными местами. Предложенное изобретение обеспечивает расширение функциональных возможностей аттракциона, повышение его эффективности, удобства и комфортности людей при его эксплуатации. 2 ил.
Изобретение относится к области развлекательно-познавательных комплексов: аквариумов, океанариумов познавательного типа и предназначено для использования их как в качестве отдельно расположенного комплекса-аттракциона, так и в парках отдыха в составе других аттракционов, а также в комплексе с планетариями для изучения флоры и фауны подводного и наземного мира.
Известен лифт, предназначенный для транспортировки пассажиров внутри здания, часть кабины которого выполнена полукруглой и прозрачной, а стенки лифтовой камеры выполнены прозрачными и эквидистантными периметру кабины, см. патент РСТ WO №91/18820, кл. В 66 В 9/00, 1990. Такое выполнение лифта дает возможность пассажирам обозревать окрестности вокруг здания при пользовании лифтом. Однако это техническое решение не предназначено для использования его в аквариумах и океанариумах и других аттракционах.
Известен аквариум развлекательного типа, состоящий из основной и дополнительной емкостей для воды, оснащенных приспособлениями для создания перепада уровня высоты водной поверхности (патент РФ №2218760, кл. А 01 К 63/00, 2002 г.). Такой аквариум используется только для наружных наблюдений и не содержит проходов для продвижения человека внутри емкостей.
Ближайшим аналогом к заявленному техническому решению является учебно-развлекательный аттракцион, включающий систему связанных емкостей, имеющих прозрачный проход, расположенный внутри емкости, оснащенный приборами для регулирования давления внутри него, патент ЕР 0421073, кл. А 01 К 63/00, 1990 г. Данный комплекс представляет собой систему прозрачных емкостей, наполненных водой и оснащенных прозрачными арочными проходами для человека, в которых создаются необходимые для наглядности перепады высоты жидкости в связанных между собой помещениях.
Недостатком известного комплекса является ограниченность развлекательно-учебных функций устройства, т.к. человеку, попадающему внутрь прохода, в любом случае приходится контактировать с водой, что не только уменьшает познавательные и развлекательные возможности комплекса, но и представляет определенные неудобства при их эксплуатации.
Задачей настоящего технического решения является создание такого развлекательного учебно-познавательного комплекса, который сочетал бы в себе как развлекательные, так и познавательные программы, имитирующего погружение в водные глубины, при одновременном исключении контакта людей с водой, расширение функциональных возможностей комплекса и повышение эффективности, удобства и комфортности людей при его эксплуатации.
Поставленная задача достигается тем, что в развлекательном учебно-познавательном комплексе, включающем систему емкостей, снабженных прозрачными проходами, расположенными внутри емкостей и оснащенными приборами и устройствами для обеспечения комфортности нахождения людей внутри проходов, емкости разделены на секции и расположены на разных уровнях, часть из них расположена горизонтально, другая часть – наклонно, а третья часть расположена вертикально, а проходы, соединяющие разноуровневые секции емкостей, выполнены либо вертикальными, либо горизонтальными, либо наклонными с входами – выходами по краям и прозрачными потолками и стенами, при этом вертикальные, наклонные и часть горизонтальных проходов оснащены направляющими для лифтовых приводных кабин с прозрачными стенками, а другая часть горизонтальных проходов выполнена с прозрачным полом-настилом для прохода людей, часть секций емкостей выполнена в виде океанариумов и снабжена водовыпусками, а часть – в виде дендрариума, а механизм привода лифтовых кабин выполнен в виде тягового механизма со шкивом и тросом, при этом кабина в вертикальном проходе снабжена внутренними поручнями и выполнена с возможностью вращения вокруг своей оси в охватывающей ее рамке, выполненной в виде нижней и верхней траверс, соединенных вертикальными спицами, причем дно кабины снабжено зубчатым колесом, взаимодействующим с шестерней привода, закрепленного на нижней траверсе рамки, а траверсы снабжены роликами, взаимодействующими с направляющими прохода, а наружная поверхность дна и боковых стен кабины наклонного и горизонтального проходов снабжены контактирующими с направляющими проходов роликами, а внутри эта кабина снабжена посадочными местами.
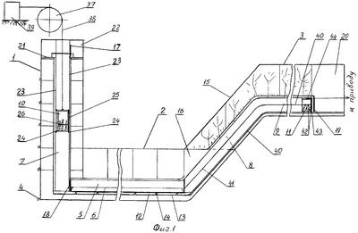
Изобретение поясняется чертежами, на фиг.1 изображен развлекательный учебно-познавательный комплекс; на фиг.2 – кабина вертикальной емкости.
Развлекательный учебно-познавательный комплекс включает несколько емкостей, часть из них выполнена в виде емкостей 1, 2, представляющих собой океанариумы, а емкость 3 выполнена в виде дендрариума. Каждая емкость разделена на секции, причем каждая секция океанариумных емкостей снабжена водовыпусками 4, а все секции соединены прозрачными проходами. Проход 5 емкости 2 предназначен для движения людей пешком и снабжен поручнями 6, а проходы 7, 8, 9 предназначены для движения прозрачных лифтовых кабин 10, 11. Проходы выполнены из прозрачного материала и соединены между собой. Проход 5 для пешего передвижения людей оснащены настилами 12, закрепленными на прозрачном полу 13 посредством стоек 14. Все проходы оснащены приборами и устройствами (не показано) для регулирования давления внутри них, жизнеобеспечения и комфортности нахождения людей. Наружные стены емкостей, их потолки и стенки перегородок секций выполнены либо из прозрачного, либо из непрозрачного, но отражающего материала для создания эффекта объемности. Емкость 3, выполненная в виде дендрариума, расположена выше емкостей 2 и соединена с ней наклонной емкостью 15 с проходом 8, прозрачные стены которого обеспечивают обзор внутри емкости 13. Емкость 13 выполнена с имитацией постепенного погружения при опускании кабины 11 с поверхности земли в водные глубины, поэтому верхние секции выполнены в виде дендрариума, затем прибрежная 16 секция и следующая уже подводная секция емкости 2. Емкости 1, 2 оснащены дополнительной искусственной подсветкой (не показано), обеспечивающей эффект подводного мира.
Емкость 1 выполнена в виде вертикально установленного цилиндра, внутри которого соосно и эквидистантно ему расположен цилиндрический проход 7 с прозрачными стенами. Емкость 1 снабжена верхним 17 входом (выходом) и 4 нижним 18 входом (выходом) (в зависимости от направления движения потока людей), соединенным с проходом 5, который последовательно соединен с проходами 8 и 9, по которым передвигается кабина 11 к выходу 19 павильона 20. Сверху емкость 1 закрыта прозрачной крышкой 21 находящейся на уровне пола для посадо-высадочного павильона 22. Внутренняя полость емкости 1, представляющая собой тор, по высоте разделена на секции, полости которых заполнены речной или морской водой с соответствующей флорой и фауной в зависимости от глубины обитания. Внутренняя полость прохода 7 оснащена направляющими 23, взаимодействующими с роликами 24 охватывающей рамки 25, внутри которой установлена лифтовая кабина 10, стены которой также выполнены прозрачными, а внутри кабина оснащена поручнями 26. Охватывающая рамка 25 выполнена в виде рамной конструкции, включающей верхнюю 27 и нижнюю 28 траверсы, соединенных вертикальными спицами 29. На торцевых плоскостях по периметру траверс 27, 28 установлены ролики 24 взаимодействующие с направляющими 23. Дно кабины 10 снабжено зубчатым колесом 30, взаимодействующие с приводной шестерней 31 привода 32 закрепленного на нижней 28 траверсе, тем самым обеспечивается вращение кабины 10 вокруг своей оси. На верхней поверхности крышки 33 кабины 10 выполнена беговая дорожка 34, с которой взаимодействуют ролики 35 установленные на нижней плоскости 36 верхней 27 траверсы. Подъемный механизм кабины 10 выполнен в виде тягового механизма со шкивом 37 и тросом 38 и приводом 39, при этом трос 38 соединен с охватывающей рамкой 25.
Наклонный проход 8 емкости 15 соединяет проход 5 емкости 2 и проход 9 емкости 3, причем наклонный проход 8 и проход 9 оснащены напольными 40 направляющими, и боковыми 41 по которым перемещаются посредством роликов 42 прозрачная лифтовая кабина 11. Кабина 10, 11 оснащена прозрачными герметичными выходными дверями 43.
Подъемное устройство кабины 11 выполнено в виде тягового механизма со шкивом и тросом, соединенным посредством специальных колец 44 с крышей кабины 11.
Развлекательный учебно-познавательный комплекс работает следующим образом. Группа экскурсантов группируется в зале ожидания 20, откуда вместе с руководителем входит в кабину 11 и рассаживается на сиденьях. Кабина 11 перемещается по проходу 9 емкости 3, и люди обозревают емкость 3, выполненную в виде дендрариума, наблюдая жизнь флоры и фауны через прозрачные стенки кабины 11 и прохода 9. Затем кабина 11 перемещается в наклонный проход 8 емкости 15 и начинает постепенно опускаться к водным секциям емкости 2, где через прозрачные стены наблюдают изменения по мере опускания флоры и фауны. Пройдя наклонный проход 8, люди выходят из кабины 11 и пешком перемещаются по полу-настилу 12 прохода 5. Пройдя проход 5, посетители входят в лифтовую кабину 10, которая начинает подъем людей по проходу 7 и при ее подъеме они получают ощущения, похожие на движение в батискафе или похожем устройстве для погружения в воду на определенную глубину. Прозрачные стены кабины 10 и прохода 7 дают возможность обозревать океанариум во всех направлениях. После завершения подъема кабина 10 достигает выходного павильона 22, двери 43 кабины 10 открываются и группа людей выходит из кабины 10 в павильон 22. Дополнительно экскурсанты могут наблюдать за фауной океанариума емкости 1 из выходного павильона 22, находясь за оградой, через прозрачную крышку 21. Просмотр экспозиции может проходить и в обратном порядке, сначала опускаются в кабине 10 по проходу 7, затем перемещаются по проходу 5, а подъем осуществляют в кабине 11.
Выполнение тягового механизма кабин со шкивом и тросом дает возможность плавного ее опускания или подъема, выполнение днища прохода 5 прозрачным также увеличивает обзорную поверхность, а следовательно, увеличивает познавательную функциональность комплекса.
Таким образом, данное изобретение представляет собой учебно-развлекательный аттракцион, сочетающий в себе развлекательные, познавательные различные программы по изучению флоры и фауны наземной и подводной сред, обеспечивает возможности, имитирующие погружение в водные глубины, одновременно с обеспечением безопасности человека.
Формула изобретения
Развлекательный учебно-познавательный комплекс, включающий систему емкостей, снабженных прозрачными проходами, расположенными внутри емкостей и оснащенными приборами и устройствами для обеспечения комфортности нахождения людей внутри проходов, отличающийся тем, что емкости разделены на секции и расположены на разных уровнях, часть из них расположена горизонтально, другая часть – наклонно, третья часть расположена вертикально, а проходы, соединяющие разноуровневые секции емкостей, выполнены либо вертикальными, либо горизонтальными, либо наклонными с входами-выходами по краям и прозрачными потолками и стенами, при этом вертикальные, наклонные и часть горизонтальных проходов оснащены направляющими для лифтовых приводных кабин с прозрачными стенами, а другая часть горизонтальных проходов выполнена с прозрачным полом-настилом для прохода людей, часть секций емкостей выполнена в виде океанариумов и снабжена водовыпусками, а часть – в виде дендрариума, а механизм привода лифтовых кабин выполнен в виде тягового механизма со шкивом и тросом, при этом кабина в вертикальном проходе снабжена внутренними поручнями и выполнена с возможностью вращения вокруг своей оси в охватывающей ее рамке, выполненной в виде нижней и верхней траверс, соединенных вертикальными спицами, причем дно кабины снабжено зубчатым колесом, взаимодействующим с шестерней привода, закрепленного на нижней траверсе рамки, а траверсы снабжены роликами, взаимодействующими с направляющими прохода, а наружная поверхность дна и боковых стен кабины наклонного и горизонтального проходов снабжены контактирующими с направляющими проходов роликами, а внутри эта кабина снабжена посадочными местами.
РИСУНКИ
|
|