|
|
(21), (22) Заявка: 2005101040/12, 19.01.2005
(24) Дата начала отсчета срока действия патента:
19.01.2005
(46) Опубликовано: 10.07.2006
(56) Список документов, цитированных в отчете о поиске:
RU 2165779 C1, 27.04.2001. DE 19934078 A1, 08.02.2001. EP 0415784 A2,06.03.1991. CH 530210 A, 29.12.1972. DE 3004594 A1, 13.08.1981.
Адрес для переписки:
105037, Москва, ул. Первомайская, 26, кв.11, пат.пов. Б.С.Ляховичу
|
(72) Автор(ы):
Барбулев Сергей Яковлевич (RU), Лушников Сергей Алексеевич (RU), Фурман Евгений Эммануилович (RU)
(73) Патентообладатель(и):
Барбулев Сергей Яковлевич (RU)
|
(54) АВТОМАТИЧЕСКОЕ ПЕРЕКЛЮЧАЮЩЕЕ УСТРОЙСТВО ДЛЯ ПОДАЧИ ДЫХАТЕЛЬНОЙ СМЕСИ В ПНЕВМОСИСТЕМЫ СРЕДСТВА ИНДИВИДУАЛЬНОЙ ЗАЩИТЫ
(57) Реферат:
Изобретение относится к устройствам для спасения жизни, в частности к пневмооборудованию средств индивидуальной защиты (СИЗ). Устройство включает корпус с основной полостью, разделенной подвижным золотником на участки, соединенные каналами с пневмосистемами СИЗ и с внешним и резервным источниками дыхательной смеси. Золотник установлен с возможностью перемещения между двумя крайними положениями с соединением при этом участков основной полости с легочным автоматом СИЗ и с внешним и резервным источниками дыхательной смеси. Один участок основной полости корпуса, ограниченный торцом золотника, связан с атмосферой, причем золотник выполнен подпружиненным, поджат к участку, ограниченному противоположным торцом золотника, и имеет по меньшей мере три радиальных уплотнительных кольца, предназначенных для изолирования участков основной полости корпуса, связанных с атмосферой, с каналами подачи дыхательной смеси от резервного и внешнего источников. В корпусе выполнена дополнительная полость, соединенная каналами с участками основной полости корпуса, связанными с внешним и резервным источниками дыхательной смеси. Устройство снабжено двумя установленными в упомянутых каналах корпуса обратными клапанами, один из которых установлен с возможностью перекрытия канала подачи дыхательной смеси к легочному автомату от внешнего источника, а другой установлен с возможностью перекрытия канала подачи дыхательной смеси к легочному автомату от резервного источника. Обеспечивается повышение удобства эксплуатации за счет полностью автоматической работы устройства. 2 з.п. ф-лы, 3 ил.
Изобретение относится к пневмооборудованию средств индивидуальной защиты (СИЗ) человека от вредного воздействия непригодной для дыхания, токсичной и/или задымленной среды, в частности закрытого изолирующего костюма, например скафандра, костюма скафандрового типа, акваланга или водолазного костюма, используемых для обеспечения возможности нахождения человека в этих условиях – при проведении работ в различных отраслях промышленности или при спасательных и аварийных работах – имеющих в своем составе дыхательный аппарат с легочным автоматом и переключатель (автоматическое коммутирующее устройство) для подключения легочного автомата попеременно к резервному или к внешнему источникам дыхательной смеси, в частности баллону сжатого воздуха. Конструктивно устройство представляет собой переключатель (автоматическое коммутирующее устройство) для подключения легочного автомата СИЗ попеременно к резервному или к внешнему источникам дыхательной смеси, в частности баллону сжатого воздуха.
Известны устройства для подключения легочного автомата СИЗ к резервному или к внешнему источникам сжатого воздуха, которые обеспечивают полуавтоматическое переключение на потребление воздуха от резервного источника при падении давления воздуха во внешнем источнике или при отсутствии последнего.
Одним из таких устройств является система вентиляции «SU 120» для химических защитных костюмов фирмы Draeger (Германия), созданная на основе полуавтоматического клапана. Если подача сжатого воздуха от внешнего источника прерывается, система «SU 120» автоматически переключается на резервный источник сжатого воздуха. Вентиляция при этом отключается, встроенный свисток сигнализирует о включении резервного источника сжатого воздуха. При возобновлении подачи сжатого воздуха от внешнего источника необходимо нажать специальную кнопку для перевода переключателя в режим работы на потребление воздуха от внешнего источника для дыхания и для вентиляции.
Недостатком таких переключающих устройств является отсутствие возможности повторного подключения внешнего источника без перекрытия вентиля подключенного резервного источника или без нажатия специально предназначенной для этого кнопки. При этом, поскольку упомянутая кнопка находится на корпусе устройства переключения (т.е. внутри СИЗ, выполненного, например, в виде скафандра), то такое действие связано с определенными (весьма значительными) неудобствами для пользователя (связанными с необходимостью проникновения пользователя руки внутрь костюма) и, кроме того, требует для выполнения известного времени. Таким образом, недостатком известного устройства является его работа исключительно в полуавтоматическом режиме, а также затрудненный доступ к упомянутой кнопке.
Наиболее близким к предложенному изобретению по технической сущности и достигаемому результату является принятое за прототип автоматическое переключающее устройство системы защиты органов дыхания человека (RU 2165779 C1, A 62 В 7/02, 27.04.2001), содержащее корпус, в цилиндрической полости которого установлен золотник, при этом корпус имеет закрепленные в нем штуцер для подключения внешнего источника сжатого воздуха, штуцер для подключения баллона СИЗ дыхательного аппарата и штуцер для подключения легочного автомата, причем золотник выполнен с возможностью перемещения между двумя крайними положениями для переключения каналов подачи воздуха к легочному автомату от внешнего источника сжатого воздуха или от баллона СИЗ.
Однако, поскольку в данном устройстве при переходе работы от резервного источника (баллона в составе автономного устройства) на внешний источник, необходимо закрывать вентиль на баллоне, оно также обладает рядом указанных выше недостатков и, следовательно, неудобно в эксплуатации.
Технической задачей предложенного решения является создание переключающего устройства, повышающего удобство эксплуатации за счет полностью автоматической работы при смене источников дыхательной смеси и обладающего при этом высокими показателями надежности и безопасности.
Поставленная задача решается в предложенном изобретении, сущность которого заключается в том, что автоматическое переключающее устройство для подачи дыхательной смеси в пневмосистемы средства индивидуальной защиты (СИЗ) включает корпус с основной полостью, разделенной подвижным золотником на участки, соединенные каналами с пневмосистемами СИЗ и с внешним и резервным источниками дыхательной смеси, при этом золотник установлен с возможностью перемещения между двумя крайними положениями с соединением при этом участков основной полости с легочным автоматом СИЗ и с внешним и резервным источниками дыхательной смеси. Один участок основной полости корпуса, ограниченный торцом золотника, связан с атмосферой, причем золотник выполнен подпружиненным, поджат к участку, ограниченному противоположным торцом золотника, и имеет по меньшей мере три радиальных уплотнительных кольца, предназначенных для изолирования участков основной полости корпуса, связанных с атмосферой, с каналами подачи дыхательной смеси от резервного и внешнего источников, а в корпусе выполнена дополнительная полость, соединенная каналами с участками основной полости корпуса, связанными с внешним и резервным источниками дыхательной смеси, при этом устройство снабжено двумя установленными в упомянутых каналах корпуса обратными клапанами, один из которых установлен с возможностью перекрытия канала подачи дыхательной смеси к легочному автомату от внешнего источника, а другой установлен с возможностью перекрытия канала подачи дыхательной смеси к легочному автомату от резервного источника.
Устройство может дополнительно содержать закрепленный в корпусе дозирующий штуцер для системы вентиляции СИЗ, соединенный с участком основной полости, связанным с каналом подачи дыхательной смеси в легочный автомат от внешнего источника.
Также устройство может содержать закрепленное в корпусе звуковое устройство системы сигнализации, соединенное с участком основной полости, связанным каналом для подачи дыхательной смеси в легочный автомат СИЗ от резервного источника.
Таким образом, совокупность существенных признаков обеспечивает достижение технического результата, который заключается в повышении удобства работы переключающего устройства, что в целом повышает удобства работы систем жизнеобеспечения при нахождении пользователя в опасных условиях.
Предложенное изобретение иллюстрируется чертежами, на которых:
на фиг.1, 2 и 3 показаны три проекции предложенного переключающего устройства.
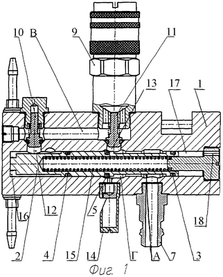
Автоматическое переключающее устройство (фиг.1-3), выполненное согласно изобретению, содержит корпус 1, в основной цилиндрической полости которого установлен с возможностью перемещения подпружиненный золотник 2, имеющий смонтированные на нем уплотнительные кольца 3, 4 и 5. Упомянутая основная полость разделена золотником на полости А, Б и Г. На корпусе 1 закреплены штуцер 6 (разъем) для подключения внешнего источника сжатого воздуха (дыхательной смеси), штуцер 7 (разъем) для подключения резервного баллона (не показан) и штуцер (разъем) 9 для подключения легочного автомата, через который осуществляется дыхание потребителя. Устройство снабжено двумя обратными клапанами 10 и 11, установленными в корпусе 1, расположенными преимущественно перпендикулярно золотнику 2 и соединенными с основной цилиндрической полостью, а в корпусе выполнена дополнительная полость В, соединенная посредством обоих обратных клапанов 10 и 11 с указанными полостями А и/или Б, и/или Г основной (цилиндрической) полости. При этом клапан 10 расположен в зоне закрепления штуцера 6 для подключения внешнего источника сжатого воздуха с возможностью перекрытия канала 12 подачи воздуха к легочному автомату от внешнего источника сжатого воздуха, а клапан 11 – в зоне закрепления штуцера 7 для подключения легочного автомата с возможностью перекрытия канала 13 подачи воздуха к легочному автомату от резервного источника. На корпусе 1 закреплен свисток 14, предупреждающий пользователя о расходовании дыхательной смеси из резервного источника. Золотник 2 поджат пружиной 15 к упору в глухом участке 16 основной цилиндрической полости корпуса 1, при этом оппозитно расположенный участок 17 этой полости (ограниченный вторым противоположным торцом золотника) постоянно соединен с атмосферой каналом 18. Устройство снабжено штуцерами 19 системы вентиляции СИЗ. Если подача дыхательной смеси осуществляется от резервного источника, то штуцер 6 должен быть закрыт уплотнительным колпачком 20.
Устройство работает следующим образом.
При подаче в полость А сжатого воздуха от резервного баллона (при открытом вентиле баллона) золотник 2 находится в крайнем левом положении (фиг.1). Воздух протекает в полость Г и, открыв обратный клапан 10, поступает в дополнительную полость В. Из полости В через разъем 9 воздух поступает к легочному автомату. Свисток 14 сигнализирует о расходе воздуха из резервного баллона. Уплотнительное кольцо 4 и закрытый обратный клапан 10 препятствуют протеканию сжатого воздуха в полость В. Уплотнительное кольцо 3 препятствует утечке сжатого воздуха в атмосферу.
При подаче в полость Б сжатого воздуха от внешнего источника золотник 12, сжимая пружину 15, перемещается в крайнее правое положение и уплотнительным кольцом 5 автоматически отключает резервный источник (баллон) сжатого воздуха. Воздух из резервного источника не поступает в полость Г (участок основной цилиндрической полости), и свисток 14 отключается. Из полости Б, открыв обратный клапан 10, сжатый воздух поступает в полость В и через разъем 9 – к легочному автомату. Закрытый обратный клапан 11 препятствует протеканию сжатого воздуха от внешнего источника в полость Г, связанную со свистком 14. Часть воздуха из полости Б, проходя через дозирующие штуцеры 19 (при наличии системы вентиляции), поступает внутрь СИЗ (например, костюма скафандрового типа) для вентиляции. Штуцер 6 закрыт уплотнительным колпачком 20 (при отсутствии внешнего источника дыхательной смеси).
При падении давления воздуха во внешнем источнике и, соответственно, в полости Б ниже редуцированного пружина 15 начинает разжиматься и передвигать поршень (влево на чертеже). Уплотнительное кольцо 5 выходит в полость Г и автоматически отключает резервный источник. Сжатый воздух из полости А протекает в полость Г и, открыв обратный клапан 11, поступает в полость В. Из полости В через разъем 9 воздух поступает к легочному автомату. Свисток 14 сигнализирует о расходе воздуха из резервного источника. Обратный клапан 10 закрывается и препятствует протеканию сжатого воздуха из полости В в полость Б. Воздух из внешнего источника продолжает поступать через дозирующие штуцера 19 внутрь костюма. Вентиляция прекращается при окончании воздуха во внешнем источнике или при его отключении от полости Б.
При мгновенном прекращении подачи сжатого воздуха от внешнего источника вентиляционный клапан автоматически переключается и обеспечивает подачу воздуха от резервного баллона, после чего прекращает работать свисток 14.
При отсутствии внешнего источника уплотнительный колпачок 20 предотвращает нарушение герметичности и не допускает поступления внутрь костюма загрязненного атмосферного воздуха.
Автоматическое переключающее устройство может быть использовано для одновременного подключения легочного автомата к резервному баллону и внешнему источнику сжатого воздуха (например, к магистрали или переносному модулю). Оно обеспечивает автоматическое переключение на использование внешнего источника, а при его отсутствии – на использование резервного баллона. Во время работы от внешнего источника устройство обеспечивает также возможность подвода воздуха под защитную одежду пользователя (вентиляцию скафандра). Встроенный свисток сигнализирует о расходе воздуха из резервного источника.
Формула изобретения
1. Автоматическое переключающее устройство для подачи дыхательной смеси в пневмосистемы средства индивидуальной защиты (СИЗ), включающее корпус с основной полостью, разделенной подвижным золотником на участки, соединенные каналами с пневмосистемами СИЗ и с внешним и резервным источниками дыхательной смеси, при этом золотник установлен с возможностью перемещения между двумя крайними положениями с соединением при этом участков основной полости с легочным автоматом СИЗ и с внешним и резервным источниками дыхательной смеси, при этом один участок основной полости корпуса, ограниченный торцом золотника, связан с атмосферой, причем золотник выполнен подпружиненным, поджат к участку, ограниченному противоположным торцом золотника, и имеет по меньшей мере три радиальных уплотнительных кольца, предназначенных для изолирования участков основной полости корпуса, связанных с атмосферой, с каналами подачи дыхательной смеси от резервного и внешнего источников, а в корпусе выполнена дополнительная полость, соединенная каналами с участками основной полости корпуса, связанными с внешним и резервным источниками дыхательной смеси, при этом устройство снабжено двумя установленными в упомянутых каналах корпуса обратными клапанами, один из которых установлен с возможностью перекрытия канала подачи дыхательной смеси к легочному автомату от внешнего источника, а другой установлен с возможностью перекрытия канала подачи дыхательной смеси к легочному автомату от резервного источника.
2. Устройство по п.1, отличающееся тем, что оно дополнительно содержит штуцер для системы вентиляции СИЗ, который соединен с участком основной полости, связанным с каналом подачи дыхательной смеси от внешнего источника.
3. Устройство по п.1, отличающееся тем, что оно дополнительно содержит звуковое устройство системы сигнализации, которое соединено с участком основной полости, связанным каналом для подачи дыхательной смеси в легочный автомат СИЗ от резервного источника.
РИСУНКИ
PC4A – Регистрация договора об уступке патента СССР или патента Российской Федерации на изобретение
Прежний патентообладатель:
Барбулев Сергей Яковлевич
(73) Патентообладатель:
Открытое акционерное общество “ПТС”
Договор № РД0041451 зарегистрирован 29.09.2008
Извещение опубликовано: 10.11.2008 БИ: 31/2008
|
|