|
| На основании пункта 3 статьи 13 Патентного закона Российской Федерации от 23 сентября 1992 г. № 3517-I патентообладатель обязуется передать исключительное право на изобретение (уступить патент) на условиях, соответствующих установившейся практике, лицу, первому изъявившему такое желание и уведомившему об этом патентообладателя и федеральный орган исполнительной власти по интеллектуальной собственности, – гражданину РФ или российскому юридическому лицу. |
|
(21), (22) Заявка: 2005107138/09, 14.03.2005
(24) Дата начала отсчета срока действия патента:
14.03.2005
(46) Опубликовано: 27.06.2006
(56) Список документов, цитированных в отчете о поиске:
RU 2108687 С1, 10.04.1998. RU 26871 U1, 20.12.2002. ЕР 0608295 А1, 03.08.1994. EP 0744872 A1, 27.11.1996.
Адрес для переписки:
215100, Смоленская обл., г. Вязьма, ул. Пушкина, 22, кв.38, Б.И. Волкову
|
(72) Автор(ы):
Волков Борис Иванович (RU)
(73) Патентообладатель(и):
Волков Борис Иванович (RU)
|
(54) СТЕРЕОМОНИТОР
(57) Реферат:
Изобретение относится к аппаратным средствам персонального компьютера, может использоваться для воспроизведения стереокадров. Техническим результатом является снижение массы, энергопотребления монитором и воспроизведение стереокадров, достигаемые тем, что в стереомонитор, содержащий блоки строчной и кадровой разверток, введены элемент N, делитель частоты, ключи, распределитель импульсов, строчные накопители кодов R, G, В, три буферных накопителя кодов, три блока импульсных усилителей, блок модуляции излучений, два усилителя и два пьезодефлектора с отражателями на торцах, 1-4 источники опорных напряжений, проекционная оптическая система, экран, ИК-передатчик, ЗД-очки с ИК-приемником. Выполняется видеорежим 800×600×160 Гц для восприятия объемного изображения. 10 ил., 2 табл.
Изобретение относится к аппаратным средствам персонального компьютера, может использоваться для воспроизведения стереокадров.
Прототипом является ЭЛТ-монитор, содержащий [1, c.516] последовательно соединенные TMДS приемник, блок маштобирования, ЦАП и предварительный усилитель, три видеоусилителя аналоговых видеосигналов R, G, B, блок строчной развертки, включающий задающий генератор и выходной каскад, блок кадровой развертки, включающий задающий генератор, блок высокого напряжения и ЭЛТ. Недостатки прототипа: большая масса и габариты, значительное энергопотребление [1, c.471], оптическая инерционность люминофора не позволяет использовать ЭЛТ при частоте 160 Гц, необходимой при воспроизведении стереокадров [1, c.560].
Цель изобретения – уменьшение массы и энергопотребления монитором и воспроизведение им стереокадров.
Техническим результатом является снижение массы и энергопотребления монитором и воспроизведение стереокадров с частотой 160 Гц. Результат достигается исключением из состава монитора ЭЛТ и отображением стереокадров электронно-оптической разверткой стереопар на экране. В заявляемом стереомониторе применяется последовательная развертка стереопар /затворный метод/ [1, с.543] экране с удвоенной частотой 80×2 /160 Гц/. Используется построчная развертка без обратных ходов. Стереокадр формируется видеоадаптером персонального компьютера /РС/ из левой и правой стереопар за два периода кадровой развертки. В кадровом буфере видеоадаптера РС размещается одна половина стереопары /левая или правая/. Вслед за кадровым синхроимпульсом с цифрового выхода видеоадаптера следует левая стереопара, за ней правая. В этой же последовательности они воспроизводятся на экране стереомонитора. Между глазом и экраном располагается устройство [1, с.542], которое синхронно со сменой стереопар в кадре теряет прозрачность, перекрывая поле зрения тому из глаз, стереопара которого отсутствует. В качестве такого устройства применяется электронно-управляемые ЗД-очки [1, с.558, 565], управляющими сигналами для них служат соответствующие сигналы с видеоадаптера РС. Используется видеорежим 800×600×160 Гц с цифрового выхода РС ДVI. На 1-3 информационное входы заявляемого стереомонитора поступают в последовательном виде коды видеосигнала R, G, B. Коды цветовых сигналов 1-4 строк последовательно заполняют 1-4 строчные накопители кодов и принимают параллельный вид. В процессе заполнения строчных накопителей коды цветовых сигналов в параллельном виде выделяются с них в свой буферный накопитель кодов для четырех строк. Строчные накопители кодов принимают коды следующих /5-8/ строк, а коды 1-4 строк синхронно выдаются с регистров буферных накопителей в блоки импульсных усилителей, с которых усиленные сигналы разрядов кодов одних и тех же отсчетов строки запитывают светодиоды 1-4 излучателей в блоке модуляции излучений. Первый пьезодефлектор производит строчную развертку одновременно 4-х строк на отражателе второго пьезодефлектора, выполняющего через проекционную оптическую систему развертку кадра на экране. Развертка кадра одновременно четырьмя строками позволяет уменьшить частоту строчной развертки /колебания первого пьезодефлектора/ в 4 раза /с 48 кГц в 12 Гц/. Объемное восприятие изображения на экране стереомонитора воспринимается зрителем через ЗД-очки, работающие по затворному принципу разделения элементов стереопар [1, с.558].
Сущность заявляемого изобретения состоит в том, что в стереомонитор, содержащий блоки строчной и кадровой разверток, введены элемент N, делитель частоты, шесть ключей, распределить импульсов, двенадцать строчных накопителей кодов R, G, B, три буферных накопителя кодов, три блока импульсных усилителей, блок модуляции излучений, первый и второй пьезодефлекторы с отражателями на торцах, 1-4 источники опорных напряжений, первый и второй усилители, проекционная система, матовый экран, ИК-передатчик и ЗД-очки с ИК-приемником.
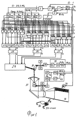
Функциональная схема стереомонитора на фиг.1, построчная развертка растра и формы управляющих напряжений на фиг.2, блок-схема строчного накопителя кодов на фиг.3, функциональная схема блока регистра на фиг.4, блок-схема буферного накопителя кодов на фиг.5, блоки регистров на фиг.6, 7, конструкция пьезодефлектора на фиг.8, блок модуляции излучений на фиг.9, суммирующий усилитель на фиг.10.
Стереомонитор включает /фиг.1/ последовательно соединенные элемент N 1, первый ключ 2 и делитель 3 частоты, второй ключ 4, распределитель 5 импульсов, третий 6, четвертый 7, пятый 8, шестой 9 ключи, 10-13 строчные накопители кодов R, 14-17 строчные накопители кодов G, 18-21 строчные накопители кодов В, первый 22, второй 23, третий 24 буферные накопители кодов /четырех строк/, первый 25, второй 26, третий 27 блоки импульсных усилителей, блок 18 модуляции излучений, последовательно соединенные первый усилитель 29 и первый пьезодефлектор 30 с отражателем на торце, первый источник 31 положительного опорного напряжения, второй источник 32 отрицательного опорного напряжения, последовательно соединенные второй усилитель 33 и второй пьезодефлектор 34 с отражателем на торце, третий источник 35 положительного опорного напряжения, четвертый источник 36 отрицательного опорного напряжения, проекционную оптическую систему 37, во внешней фокальной плоскости которой расположен матовый экран 38, блок 39 строчной развертки из последовательно соединенных делителя 40 частоты /8:1/, 96 кГц: 8, задающего генератора 41 и выходного каскада 42, блок 43 кадровой развертки из элемента N 44, задающего генератора 45, суммирующего усилителя 46 и делителя 47 частоты /4:1/, 96 кГц: 4. Строчные накопители кодов 10-21 идентичны, каждый включает /фиг.3/ последовательно соединенные ключ 48 и блок 49 регистра /фиг.4/, содержащий первый 50 и второй 51 распределители импульсов и регистр 52 на 800 кодов /800 байт/. Буферные накопители кодов 22, 23, 24 идентичны, каждый включает /фиг.5/ по четыре блока 221-224, 231-234, 241-244 регистров, которые также идентичны и каждый включает /фиг.6 и 7/ первый 53, второй 54, третий 55, четвертый 56 ключи, первый 57, второй 58, третий 59, четвертый 60 распределители импульсов, первых восемь 611-8 регистров, вторых восемь 621-8 регистров.
Блок 28 яркостной модуляции /фиг.9/ выполнен четырехканальным, каждый канал включает излучатель 70 трех основных цветов, объектив 71 и фокусирующий конус 72 световода /фокон/ [2, с.77]. Входами блока 28 являются входы излучателей 701-4, подключенные к соответствующим выходам блоков 25, 26, 27 импульсных усилителей. Выходами являются излучения четырех выходных окон фоконов 721-4, оптически соединенные с отражателем первого пьезодефлектора 30. Объективны 711-4 собирают излучения светодиодов своего излучателя и вводят их во входные окна фокусирующих конусов 721-4. Выходное окно каждого фокусирующего конуса соответствует получению на отражателе пьезодефлектора 30 цветового пятна диаметром до 0,04 мм. Излучающие плоскости излучателей 701-4 находятся в задней фокальной плоскости объективов 711-4, в передней фокальной плоскости которых расположены входные окна фокусирующих конусов 721-4. Пьезодефлекторы 30 и 34 являются /фиг.8/ торцевыми биморфными пьезоэлементами со световым отражателем на свободном торце. Конструктивно выполнены [3, с.118] из первой 63 и второй 64 пьезопластин, внутреннего электрода 65, первого 66 и второго 67 внешних электродов. Один конец пьезопластин жестко закреплен в держателе 68, на свободном торце расположен световой отражатель 69. Излучающие стороны излучателей 70 через объективы 71, фоконы 72, отражатели первого и второго пьезодефлекторов 30, 34 и проекционную оптическую систему 37 оптически соеденены с экраном 38. Каждый излучатель 70 включает по 24 светодиода, из них 8 красного цвета излучения, 8 зеленого и 8 синего цвета излучения. Проекционная оптическая система 37 /фиг.1/ является зеркально-линзовой системой [4, с.370] и включает последовательно расположенные сферическое зеркало, плоское зеркало с наклоном 45° относительно оптической оси сферического зеркала и корректирующую линзу. Плоское зеркало позволяет сократить расстояние по прямой до экрана и направить ход лучей в нужном направлении. Отражатель второго пьезодефлектора 34 расположен в фокальной плоскости сферического зеркала, во внешней фокальной плоскости проекционной оптической системы расположен экран 38. Суммирующий усилитель 46 включает /фиг. 10/ последовательно соединенные счетчик 73 импульсов, дешифратор 74, ключ 75, формирователь 76 импульсов и выходной усилитель 77. Первым входом является первый вход выходного усилителя 77, вторым – счетный вход счетчика 73 импульсов, управляющим входом являются объединенные входы управляющего входа счетчика 73 и первый управляющий вход ключа 75. Для объемного восприятия изображения на экране стереомонитор включает /фиг.1/ ИК-приемопередатчик, содержащий ИК-передатчик 78 и ИК-приемник 79 и ЗД-очки 80. Воспроизведение каждой стереопары на экране выполняется разверткой четырех строк одновременно. Тактовая частота для заполнения последовательными кодами строчных накопителей 10-21 кодов составляет:
600строк×160 Гц×800отсчетов×8разр=614,4 МГц,
где: 160 Гц – частота кадров,
800отсч – число отсчетов в строке,
8разр – число разрядов в коде.
Частота строчных синхросигналов /ССИ/ с видеоадаптера РС на третий управляющий вход стереомонитора 96 кГц. Частота выдачи кодов из строчных накопителей 10-21 кодов в параллельном виде: 600строк×160 Гц×800отсч=76,8 МГц.
При развертке растра 4-я строками частота развертки строк: 96 кГц:4=24 кГц. Отражатель пьезодефлектора 30 выполняет развертку строк, колеблясь с частотой 12 кГц, без обратного хода строки, за один период колебания выполняет развертку 8 строк: 4×2. Длительность строки С приходом на первый вход элемента N 1 строчного ССИ /96 кГц/ и на второй вход кадрового КСИ /160 Гц/ сигнал с выхода элемента N 1 открывает ключ 2 и ключ 4. Ключ 2 пропускает тактовую частоту с РС на вход делителя 3 частоты, который выдает: с первого выхода частоту 614,4 МГц, поступающую на первые управляющие входы строчных накопителей 10-21 кодов, со второго выхода – частоту 19,2 МГц для выдачи кодов из буферных накопителей 22-24 кодов, с третьего – частоту дискретизации 76,8 МГц для выдачи кодов из строчных накопителей 10-21 кодов в буферные накопители 22-24 кодов. Коды R, G, B с цифрового выхода компьютера поступают на 1-3 информационные входы стереомонитора. Открытый ключ 4 пропускает ССИ /96 кГц/ на вход распределителя 5 импульсов. С приходом 1-го ССИ с первого выхода распределителя 5 импульсов сигнал Uот открывает ключ 48 /фиг.3/ в строчном накопителе 10 кодов R, в блоке 14 кодов G, в блоке 18 кодов В. Коды R, G, B первой строки поступают в блоки регистра 49. За время первой строки 800 кодов R, G, B заполняют регистры 52 /фиг.4/. С приходом 2-го ССИ сигнал с второго выхода блока 5 закрывает U3 ключи 48 в блоках 10, 14, 18 и открывает ключи 48 в блоках 11, 15, 19. Коды R, G, B второй строки заполняют регистры 52 /фиг.4/ в строчных накопителях кодов 11, 15, 19, а из блоков 10, 14, 18 коды R, G, B в параллельном виде выдаются в блоки 221, 231, 241 /фиг.6, 7/. С приходом 3-го ССИ импульс с третьего выхода блока 5 закрывает ключи 48 в блоках 11, 15, 19 и открывает ключи 48 в накопителях 12, 16, 20 кодов. Коды R, G, B третьей строки заполняют регистры 52 в блоках 12, 16, 20, а из блоков 11, 15, 19 коды выдаются в блоки 222, 232, 242 регистров. С приходом 4-го ССИ сигнал с четвертого выхода блока 5 закрывает ключи 48 в блоках 12, 16, 20 и открывает ключи 48 в блоках 13, 17, 21. Коды 4-й строки заполняют регистры 52 в строчных накопителях 13, 17, 21, а из блоков 12, 16, 20 коды выдаются в блоки 223, 233, 243 регистров. С приходом пятого ССИ импульс с 1-го выхода блока 5 закрывает ключи 48 в блоках 13, 17, 21 и открывает ключи 48 в блоках 10, 14, 18, которые заполняются кодами пятой строки. А из блоков 13, 17, 21 коды выдаются в блоки 224, 234, 244 регистров. Далее процессы поступления кодов следующих строк в строчные накопители 10-21 повторяются. Тактовые сигналы 614,4 МГц поступают на первые управляющие входы строчных накопителей кодов 10-21. Сигнал выдачи 19,2 МГц поступают на сигнальные входы ключей 6, 7, 8, 9, которые осуществляют временное распределение их на вторые входы строчных накопителей 10-21 кодов. Своевременное открытие и закрытие ключей выполняется импульсами с распределителя 5 импульсов. Блок 49 регистра /фиг.4/ предназначен для приема 800 кодов строки одного из цветовых сигналов. Принимая коды в последовательном виде, с регистра коды выдаются в параллельном виде. Коды в последовательном виде поступают на третьи /информационные/ входы разрядов регистра 52, распределение сигналов по разрядам выполняют тактовые импульсы с распределителя 50 импульсов, которые поступают последовательно с 1-го по 6400-й выходы на первые управляющие входы разрядов регистра 52. Выдачу кодов в параллельном виде выполняют сигналы выдачи с распределителя 51 импульсов, имеющих 800 выходов /по числу кодов в регистре 52/. Сигналы Uвыд поступают на вторые управляющие входы разрядов, на 8 разрядов кода одновременно. При выдаче разряды регистра 52 обнуляются для приема кодов следующей строки. С приходом 5-го ССИ регистры 611-8 /фиг.6/ в буферных накопителях 22, 23, 24 кодов заполнены кодами 1-4 строк. Сигнал с 1-го выхода блока 224, 234, 244 /фиг.7/ поступает на первые управляющие входы ключей 54 в блоках 221-4, 231-4, 241-4 и на первый управляющий вход ключа 55 в блоках 231, 231, 241 /фиг.6/. Открытые ключи 54 пропускают на входы распределителя 58 импульсов /в блоках 221-4, 231-4, 241-4/ сигналы Uвыд 19.2 МГц, которые выдают из 4-х регистров 611-8 блоков 221-4, 231-4, 241-4 коды 1-4 строк в блоки 25, 26, 27 импульсных усилителей. По окончании выдачи кодов 1-4 строк сигнал с 800-го выхода блока 58 закрывает ключ 54 в каждом блоке 221-4, 231-4, 241-4 и обнуляет разряды регистров 611-8 для приема кодов 9-12 строк.
Усиленные в импульсных усилителях сигналы разрядов кодов запитывают светодиоды в 4-х излучателях 70 /фиг.9/, следует одновременная развертка четырех строк отражателем первого пьезодефлектора 30. Длительность развертки строк 41, 67 мкс, что в 4 раза дольше длительности строк, проступающих на вход стереомонитора /10, 416 мкс/. После открытия ключей 55 в блоках 221, 231, 241 регистры 621-8 заполняются кодами R, G, B пятой строки, затем в блоках 222, 232, 242 кодами 6-й строки, в блоках 223, 233, 243 кодами 7-й строки, в блоках 224, 234, 244 кодами 8-й строки. Во время заполнения кодами 5-8 строк регистров 621-8 в блоках 22, 23, 24 идет и развертка 1-4 строк, коды которых выдаются с первых регистров 611-8. По заполнении регистров 621-8 в блоках 22, 23, 24 сигнал со второго выхода блоков 224, 234, 244 /фиг.7/ открывает ключи 56 в 221-4, 231-4, 241-4. Следует выдача кодов 5-8 строк в блоки 25, 26, 27 импульсных усилителей, и пьезодефлектор 30 выполняет развертку 5-8 строк /фиг.2/. В связи с тем, что развертка 5-8 строк идет встречно строкам 1-4 /фиг.2/, выдача кодов из вторых регистров 621-8 идет в обратном порядке, начинается с последнего 800-го кода строки, заканчивается выдачей 1-го кода строки. Этот процесс осуществляется подключением первого выхода распределителя 60 импульсов к разрядам регистров последнего кода /800-го/ строки и последнего 800-го выхода распределителя 60 импульсов к вторым управляющим входам разрядов регистров первого кода строки. После выдачи кодов 5-8 строк сигнал с 800-го выхода распределителя 60 импульсов закрывает ключ 56 /в каждом блоке 221-4, 231-4, 241-4/ и обнуляет разряды вторых регистров 621-8 для приема кодов 13-16 строк. Блоки 22, 23, 24 работают идентично.
С поступлением 1-4 строк блоки 221-4 принимают в первые регистры 611-8 коды R, блоки 231-4 – коды G, блоки 241-4 – коды В. На первые /тактовые/ входы регистров 611-8 поступают тактовые импульсы с распределителя 57 импульсов, на первые /информационные/ входы разрядов параллельно поступают сигналы кодов R со строчного накопителя 10 кодов R /11, 12, 13/.
С окончанием поступления кодов 1-4 строк первые регистры 611-8 заполнены: кодами R в блоках 221, 222, 223, 224, кодами G в блоках 231, 232, 233, 234, кодами B в блоках 241, 242, 243, 244. Затем следует их выдача с первых регистров 611-8 /блоков 221-4, 231-4, 241-4/. Сигналы выдачи 19,2 МГц поступают с распределителя 58 импульсов на вторые управляющие входы разрядов регистров 611-8.
Выдача кодов идет в течение поступления 5-8 строк, т.е. 41,67 мкс. По окончании выдачи сигнал с 800-го выхода распределителя 58 импульсов обнуляет разряды регистров и закрывает ключ 54.
В это же время коды 5-8 строк поступают во вторые регистры 621-8 блоков 221-224. А первые регистры заполняются кодами 9-12 строк. Выдаются они сигналами с распределителя 60 импульсов, сигнал с 800-го выхода которого обнуляет разряды вторых регистров 621-8, и в них поступают коды следующих 13-16 строк. Дальше процессы все время повторяются.
Каждый из блоков 25, 26, 27 содержит по 32 импульсных усилителя, в качестве которых используются микросхемы 1533АП5 с временем срабатывания 13 нс [5, с.128, табл.2, 3]. На вход блока 39 строчной развертки с третьего управляющего входа стереомонитора поступают строчные синхроимпульсы 96 кГц.
Делитель 40 частоты производит деление 8:1 /96 кГц:8/, и на вход задающего генератора 41 поступают импульсы 12 кГц. Задающий генератор 41 формирует управляющие прямоугольные импульсы с периодом следования длительности двух строк /83,3 мкс/, которые поступают в выходной каскад 42, формирующий управляющее напряжение треугольной формы /фиг.2/ с периодом 83,3 мкс, поступающее на вход первого усилителя 29, который усиливает управляющее напряжение и подает его на внутренний электрод 65 пьезодефлектора 30. На внешние электроды 66, 67 поступают соответствующие напряжения с первого 31 и второго 32 источников опорных напряжений. С приходом управляющего напряжения происходит деформация пьезопластин [3, с.122], торец со световым отражателем приходит в колебательное движение с частотой 12 кГц и производит развертку четырех строк в первые полпериода и 4-х строк во вторые полпериода на отражателе второго пьезодефлектора 34.
За период колебания выполняется развертка восьми строк. Развертка строк без обратных ходов. Ширина отражателя пьезодефлектора 30 принята 0,16 мм /0,04 мм × 4/, длина 3 мм /для облегчения юстировки/. Блок 43 кадровой развертки формирует управляющее напряжение формой, как на фиг.2. Период кадровой развертки 6,25 мс /160 Гц/, длительность обратного хода 83,3 мкс /8 строк/ с 593 по 600 строки, 1,33% длительности кадра. Задающий генератор 45 формирует пилообразное линейно изменяющееся напряжение, поступающее на первый вход суммирующего усилителя 46. На вход задающего генератора 45 поступают импульсы 160 Гц с элемента N44 в момент прихода на его входы строчного и кадрового синхроимпульсов. Физический процесс второго пьезодефлектора 34 тот же, что и первого 30. Ширина отражателя на торце пьезодефлектора 34 принята 0,3 мм /для облегчения юстировки/, а длина не менее 32 мм /0,04 мм × 800 отсчетов/. Пьезодефлектор 34 колеблется с частотой 160 Гц. Кадровая развертка с обратным ходом.
С выхода суммирующего усилителя 46 на вход второго усилителя 33 поступает линейно изменяющееся ступенчатое управляющее напряжение. Отражатель пьезодефлектора 34 отклоняет строки вниз, затем обратный ход торца с отражателем вверх. Суммирующий усилитель 46 /фиг.10/ производит суммирование напряжения с задающего генератора 45 с импульсами частоты 24 кГц, которые поступают с делителя 47 частоты, выполняющего деление 4:1, 96 кГц:4. Каждый импульс 24 кГц перемещает горизонтальную развертку 4-х строк в конце хода развертки вниз на шаг в ширину 4-х строк. Назначение блоков 73-76 подавать на второй вход выходного усилителя 77 в нужное время импульсы соответствующей полярности и амплитуды и длительности, равной длительности развертки строки. Перед началом развертки сигнал U0 обнуляет счетчик 73. Счетчик 73 восьмиразрядный производит счет импульсов 24 кГц, цикл счета 150 импульсов, 600_4=150. Сигнал U0 открывает ключ 75, пропускающий импульсы 24 кГц в формирователь 76 импульсов, выдающий на второй вход выходного усилителя 77 импульсы 24 кГц длительностью 41,67 мкс соответствующей амплитуды и полярности.
При поступлении 150-го импульса в счетчик 73, дешифратор 74 выдает сигнал U3, закрывающий ключ 75. Прямой ход развертки заканчивается, следует обратный ход.
Блок 28 модуляции излучений выполняет яркостную модуляцию излучений трех цветов четырьмя излучателями. В излучателях применяются светодиоды типа HLMP компании “Хьюлетт-паккард” [6, с.71]. Для излучения красного цвета применяются светодиоды HLMP-AL 0 с силой света 0,4 кД, длиной волны 0,56 мкм при токе 0,02 А [6, с.71], для зеленого излучения – светодиоды HLMP-AM00 с силой света 0,8 кД, длиной волны 0,526 мкм при токе 0,02 А, для синего излучения – светодиоды HLMP-AB00 с силой света 0,3 кд, длиной волны 0,475 мкм при токе 0,02 А.
Яркостная модуляция излучений выполняется включением на излучение числа светодиодов соответственно весу разрядов в коде по таблице 1.
| Таблица 1 |
| № разряда в коде |
1 старший разряд |
2 |
3 |
4 |
5 |
6 |
7 |
8 младший разряд |
| Светодиодов в разряде |
1 |
1 |
1 |
1 |
1 |
1 |
1 |
1 |
| Кратность светофильтра |
– |
2x |
4x |
8x |
16x |
32x |
64x |
128x |
Суммарное излучение светодиодов трех цветов R, G, B от излучателя 70 смешивается при фокусировке объективом 71 /фиг.9/, вводится в фокон 72, который проецирует на отражатель пьезодефлектора 30 цветовое излучение диаметром 0,04 мм. Четыре излучателя 701-4 дают на отражатель четыре цветовых излучения.
Яркость, насыщенность и цветовой тон результирующего цвета на экране 38 определяется суммарной энергией и взаимным соотношением составляющих трех цветов. Суммарная сила света одного излучателя с учетом, что светодиоды всех цветов имеют силу света синего светодиода 0,3 кД, составляет:
3×0,3 кД/1+0,5+0,25+0,125+0,0625+0,03125+0,015625+0,0078/=0,9 кД×1,992=1,793 кД,
где: 3 – число цветов в излучателе,
1 – 0,0078 – двоичные коэффициенты кода 1-8 разрядов соответственно.
С учетом потерь силы излучения при проекции от одного излучателя на экран в 20 раз и с учетом размера развертывающего элемента на экране 0,25 мм2 /0,5×0,5 мм/ максимальная яркость разрешающего элемента на экране составляет:
,
где: 20 – кратность ослабления силы света при проекции, 0,25·10-6 м2 – площадь разрешающего элемента на экране 38 /0,5×0,5 мм/.
Кратность увеличения изображения проекционной оптической системой 37 принимается в 12 раз, размеры изображения на экране 38 составят:
| по горизонтали |
12×/0,04 мм×800/=384 мм, |
| по вертикали |
12×/0,04 мм×600/=288 мм, |
по диагонали 44,7 см или 17 дюймов, 0,04 мм диаметр разрешающего элемента на отражателе второго пьезодефлектора 34.
Объемное восприятие изображения с экрана воспринимается зрителем через ЗД-очки 80 /фиг.1/. При воспроизведении на экране последовательно левой и правой частей стереопары стекла ЗД-очков поочередно теряют прозрачность, каждый глаз видит только свою часть стереопары, что и дает стереоэффект. Стекла очков представляют ЖК-ячейки просветного типа, являются электронно-управляемыми фильтрами. Управляются сигналами с видеоадаптера РС, по которым прозрачность ЖК-ячеек изменяется синхронно со сменой изображения кадров стереопары. Подключаются очки к видеоадаптеру РС через внешний контроллер, выполненный в виде блока-переходника, на противоположных концах которого закреплены два 15-контактных VGA разъема для включения его между видеоадаптером и стереомонитором [1, с.560], может быть и встроенный в плату видеоадаптера.
Управление ЗД-очками контроллером выполняется при помощи инфракрасного приемопередатчика [1, с.561]. ИК-передатчик 78 /фиг.1/ подключается к контроллеру через 4-й информационный вход монитора. Контроллер формирует сигнал для ЗД-очков 80 и управляет через ИК-приемник 79 поочередно затемнением стекол. Большинство моделей ЗД-очков включают малогабаритный ИК-приемник, например, очки ЗД Revelator фирмы Elsa [1, с.565], принимающий команды от ИК-передатчика [1, с.563].
Технические характеристики заявляемого стереомонитора даны в таблице 2.
Работа стереомонитора.
Коды видеосигналов R, G, B поступают /фиг.1/ с цифрового выхода РС на 1-3 информационные входы стереомонитора, на 4-й информационный вход поступают управляющие сигналы с контроллера видеоадаптера для ИК-передатчика. На 1-3 управляющие входы поступают: тактовая частота, кадровые и строчные синхроимпульсы, последовательные коды цветовых сигналов 1-й строки поступают в строчные накопители 10 кодов R, 14 кодов G, 18 кодов B и заполняют регистры 52 /фиг.4/ в блоках 49 /фиг.3/. Затем коды второй строки поступают в строчные накопители кодов 11 /R/, 15 /G/, 19 /B/, а коды с блоков 10, 14, 18 выдаются в буферные накопители кодов 221, 231, 241, где заполняют первые рагистры 611-8 /фиг.6, 7/. Коды 3-й строки поступают в строчные накопители 12, 16, 20 кодов, а коды 2-й строки выдаются с блоков 11, 15, 19 в буферные накопители кодов 222, 232, 242, заполняя первые регистры 611-8. И коды 4-й строки поступают в строчные накопители 13, 17, 21 кодов, а коды 3-й строки с блоков 12, 16, 20 выдаются в буферные накопители 223, 233, 243 кодов и заполняют регистры 611-8. В момент начала поступления кодов 5-й строки с блоков 13, 17, 21 поступают в буферные накопители 224, 234, 244 и заполняют первые регистры 611-8.
Все первые 12 регистров 611-8 в буферных накопителях кодов заполнены кодами 1-4 строк, и их коды одновременно выдаются из первых регистров 611-8 в блоки 25, 26, 27 импульсных усилителей, где сигналы разрядов кодов усиливаются и поступают на запитывание светодиодов в четырех излучателях 701-4 блока 28 модуляции излучений. Излучатели 701-4 /фиг.9/ соответственно значениям кодов осуществляют яркостную модуляцию излучений трех цветов в каждом, которые смешиваются при фокусировке излучений объективами 711-4 и направляются фоконами на отражатель пьезодефлектора 30. Пьезодефлектор 30 выполняет строчную развертку одновременно 4-х строк с длительностью, равной длительности четырем строкам, поступающим с видеоадаптера РС. Следующие четыре строки 5-8 поступают в 10-21 строчные накопители кодов, затем выдаются в буферные накопители 22, 23, 24 кодов, заполняя в них вторые регистры 621-8. По выдаче из регистров 621-8 кодов 5-8 строк в блоки 25, 26, 27 импульсных усилителей такой же процесс проходят коды 9-12, 13-16 строк и т.д. Пьезодефлектор 30 колеблется с частотой 12 кГц, производит развертку по четыре строки параллельно на отражателе пьезодефлектора 34, который по управляющим сигналам с суммирующего усилителя 46 производит кадровую развертку с частотой 160 Гц. Проекционная оптическая система 37 выполняет 12-кратное увеличение изображения на экране 38. Стереокадр формируется видеоадаптером РС из левой и правой стереопар за два периода кадровой развертки. Зритель воспринимает объемное изображение через ЗД-очки 80 с ИК-приемником 79, принимающим управляющие сигналы с ИК-передатчика 78, расположенным на стереомониторе. Вход ИК-передатчика является четвертым информационным входом стереомонитора.
Заявляемый стереомонитор при отсутствии контроллера, ЗД-очков и ИК-приемопередатчика может работать в режиме обычного монитора, выполняя видеорежим 800×600×160 Гц. При соответствующей доработке регистров 52 и буферных накопителей 22, 23, 24 кодов может выполнять видеорежимы с большим разрешением кадра.
| Таблица 2. |
| Технические характеристики |
Значения |
| Данные с РС |
|
| Видеорежим |
800×600 |
| Развертка строк |
построчная с обратным ходом |
| Строчная развертка |
96 кГц |
| Частота дискретизации видеосигналов |
76,8 |
| Кодирование видеосигналов |
8 разрядов |
| Воспроизведение стереомонитором |
|
| Тактовая частота |
614,4 МГц |
| Число строк/число активных |
600/592 |
| Развертка строк |
построчная без обратного хода |
| Развертка кадра |
4-я строками одновременно |
| Частота кадров |
160 Гц |
| Число стереопар в кадре |
две: левая и правая |
| Длительность строки |
41,67 мкс |
| Строчная развертка |
24 кГц |
| Длительность кадра |
6,25 мс |
| Длительность обратного хода кадра |
83,3 мкс |
| Формирование изображения кадра |
без ЭЛТ, оптико-электронная развертка с 12x увеличением при проецировании |
| Размер экрана |
384×288 мм, диагональ 44,7 см |
| Максимальная яркость развертывающего элемента на экране |
358,6·106 кД/м2 |
| Формирование стереокадра |
последовательная развертка стереопар |
| Восприятие объемного изображения |
через ЗД-очки и ИК-приемопередатчик |
Использованные источники.
1. Колесниченко О.В., Шишигин И.В. Аппаратные средства РС, 5-е издание, СПб, 2004, с.471, 542, 543, 558, 560, 561, 563, 565 – прототип.
2. Кучекян Л.М. Световоды, М., 1973, с.77.
3. Фриндлянд И.В., Сошников В.Г. Системы автоматического регулирования в устройствах видеозаписи, М., 1988, с.118, рис.5.5, с.122, рис.5, 10.
4. Самойлов В.Ф., Хромой Б.И., Телевидение, М., 1975, с.370.
5. Цифровые интегральные микросхемы, Минск, 1991, с.128, табл.2, 3.
6. “Радио”, №7, 1998, с.71.
Формула изобретения
Стереомонитор, содержащий блок строчной развертки, включающий последовательно соединенные задающий генератор и выходной каскад, блок кадровой развертки, включающий задающий генератор, отличающийся тем, что в него введены последовательно соединенные элементы N, первый ключ и делитель частоты, сигнальный вход первого ключа, первый и второй входы элемента N являются соответственно первым, вторым и третьим управляющими входами стереомонитора, последовательно соединенные второй ключ и распределитель импульсов, сигнальный вход второго ключа подключен к второму входу элемента N, управляющий его вход подключен к выходу элемента N, третий, четвертый, пятый и шестой ключи, сигнальные входы которых объединены и подключены к третьему выходу делителя частоты, первый управляющий вход третьего ключа и второй управляющий вход четвертого ключа подключены к второму выходу распределителя импульсов, второй управляющий вход третьего ключа и первый управляющий вход шестого ключа подключены к первому выходу распределителя импульсов, первый управляющий вход четвертого ключа и второй управляющий вход пятого ключа подключены к третьему выходу распределителя импульсов, первый управляющий вход пятого ключа и второй управляющий вход шестого ключа подключены к четвертому выходу распределителя импульсов, введены 1-4 строчные накопители кодов R, 1-4 строчные накопители кодов G, 1-4 строчные накопители кодов В, информационные входы 1-4 строчных накопителей кодов R объединены и являются первым информационным входом стереомонитора, информационные входы 1-4 накопителей кодов G объединены и являются вторым информационным входом стереомонитора, информационные входы 1-4 строчных накопителей кодов В объединены и являются третьим информационным входом стереомонитора, первые /тактовые/ управляющие входы всех /12/ строчных накопителей кодов R, G, В параллельно подключены к первому выходу делителя частоты, вторые управляющие входы первых строчных накопителей кодов R, G, В объединены и подключены к выходу третьего ключа, вторые управляющие входы вторых строчных накопителей кодов R, G, В объединены и подключены к выходу четвертого ключа, вторые управляющие входы третьих накопителей кодов R, G, В объединены и подключены к выходу пятого ключа, вторые управляющие входы четвертых накопителей кодов R, G, В объединены и подключены к выходу шестого ключа, третьи управляющие входы первых строчных накопителей кодов R, G, В объединены и подключены к первому выходу распределителя импульсов, третьи управляющие входы вторых строчных накопителей кодов R, G, В объединены и подключены к второму выходу распределителя импульсов, третьи управляющие входы третьих строчных накопителей кодов R, G, В объединены и подключены к третьему выходу распределителя импульсов, третьи управляющие входы четвертых строчных накопителей кодов R, G, В объединены и подключены к четвертому выходу распределителя импульсов, четвертые управляющие входы первых строчных накопителей кодов R, G, В объединены и подключены к второму выходу распределителя импульсов, четвертые управляющие входы вторых строчных накопителей кодов R, G, В объединены и подключены к третьему выходу распределителя импульсов, четвертые управляющие входы третьих строчных накопителей кодов R, G, В объединены и подключены к четвертому выходу распределителя импульсов, четвертые управляющие входы четвертых строчных накопителей кодов R, G, В объединены и подключены к первому выходу распределителя импульсов, введены последовательно соединенные первый буферный накопитель кодов и первый блок импульсных усилителей, второй буферный накопитель кодов и второй блок импульсных усилителей, третий буферный накопитель кодов и третий блок импульсных усилителей, соответствующие входы первого буферного накопителя кодов подключены к выходам соответственно 1-4 строчных накопителей кодов R, соответствующие входы второго буферного накопителя кодов подключены к выходам соответственно 1-4 строчных накопителей кодов G, соответствующие входы третьего буферного накопителя кодов подключены к выходам соответственно 1-4 строчных накопителей кодов В, первые управляющие входы 1-3 буферных накопителей кодов объединены и подключены к второму выходу распределителя импульсов, вторые управляющие входы 1-3 буферных накопителей кодов объединены и подключены к третьему выходу делителя частоты, третьи управляющие входы 1-3 буферных накопителей кодов объединены и подключены к второму выходу делителя частоты, введены блок модуляции излучений, соответствующие входы которого подключены к соответствующим входам 1-3 блоков импульсных усилителей, последовательно соединенные первый усилитель и первый пьезодефлектор с отражателем на торце, первый источник положительного опорного напряжения, выход которого подключен к вторым входам первого усилителя и первого пьезодефлектора, второй источник отрицательного опорного напряжения, выход которого подключен к третьим входам первого усилителя и первого пьезодефлектора, последовательно соединенные второй усилитель и второй пьезодефлектор с отражателем на торце, третий источник положительного опорного напряжения, выход которого подключен к вторым входам второго усилителя и второго пьезодефлектора, четвертый источник отрицательного опорного напряжения, выход которого подключен к третьим входам второго усилителя и второго пьезодефлектора, введены проекционная оптическая система, содержащая последовательно расположенные сферическое зеркало, плоское зеркало с наклоном 45° относительно оптической оси сферического зеркала и корректирующую линзу, отражатель пьезодефлектора расположен в фокальной плоскости сферического зеркала, во внешней фокальной плоскости проекционной оптической системы расположен экран, инфракрасный /ИК/ приемопередатчик и ЗД-очки, ИК-приемопередатчик включает ИК-передатчик, расположенный сверху на стереомониторе, вход его является четвертым информационным входом стереомонитора, и ИК-приемник, расположенный на ЗД-очках, входное окно ИК-приемника соединено оптически с выходным окном ИК-передатчика, строчные накопители кодов R, G, В идентичны, каждый включает последовательно соединенные ключ и блок регистра, первый и второй управляющие входы блока регистра являются первым и вторым управляющими входами строчного накопителя кодов, первый и второй управляющие входы ключа являются третьим и четвертым управляющими входами строчного накопителя кодов, сигнальный вход ключа является информационным входом строчного накопителя кодов, блок регистра включает первый и второй распределители импульсов и регистр, содержащий соответствующее число разрядов, информационным входом блока регистра являются объединенные третьи входы разрядов регистра, 1-8 выходами являются поразрядно объединенные выходы разрядов регистра, первым /тактовым/ управляющим входом блока регистра является вход первого распределителя импульсов, выходы которого последовательно подключены к первым управляющим входам разрядов регистра, вторым управляющим входом блока регистра является вход второго распределителя импульсов, каждый выход которого параллельно подключен к вторым управляющим входам 1-8 разрядов регистра, буферные накопители кодов идентичны, каждый включает 1-4 блоки регистров, информационными входами первого буферного накопителя кодов являются 1-32 входы, подключенные к выходам 1-4 строчных накопителей кодов R, выходами являются 1-32 выходы, подключенные к входам первого блока импульсных усилителей, информационными входами второго буферного накопителя кодов являются 1-32 входы, подключенные к выходам 1-4 строчных накопителей кодов G, выходами являются 1-32 выходы, подключенные к входам второго блока импульсных усилителей, информационными входами третьего буферного накопителя кодов являются 1-32 входы, подключенные к входам 1-4 строчных накопителей кодов В, выходами являются 1,32 выходы, подключенные к входам третьего блока импульсных усилителей, блоки регистров идентичны, каждый включает 1-4 ключи, 1-4 распределители импульсов, первых восемь регистров и вторых восемь регистров, 1-8 информационными входами блока регистров являются поразрядно объединенные первые /информационные/ входы первых восьми и вторых восьми регистров, выходами являются поразрядно объединенные 1-8 выходы первых восьми и вторых восьми регистров, вторым управляющим входом блока регистров является сигнальный вход первого ключа, выход которого подключен к входу первого распределителя импульсов, выходы которого, начиная с первого, подключены параллельно к первым /тактовым/ управляющим входам одноименных разрядов первых восьми регистров, последний выход первого распределителя импульсов подключен к второму управляющему входу первого ключа и является первым управляющим выходом, третьим управляющим входом блока регистров является сигнальный вход второго ключа, выход которого подключен к входу второго распределителя импульсов, выходы которого, начиная с первого, подключены параллельно к вторым управляющим входам /выдачи/ одноименных разрядов первых восьми регистров, последний выход второго распределителя импульсов подключен к второму управляющему входу второго ключа и параллельно к третьим управляющим входам /обнуления/ одноименных разрядов первых восьми регистров, четвертым управляющим входом являются объединенные первые управляющие входы второго и третьего ключей, сигнальный вход третьего ключа подключен к сигнальному входу первого ключа, выход третьего ключа подключен к входу третьего распределителя импульсов, выходы которого, начиная с первого, подключены параллельно к первым /тактовым/ управляющим входам одноименных разрядов вторых восьми регистров, последний выход третьего распределителя импульсов подключен к второму управляющему входу третьего ключа и является вторым управляющим выходом, сигнальный вход четвертого ключа подключен к сигнальному входу второго ключа, пятый управляющий вход блока регистров подключен к первому управляющему входу четвертого ключа, выход которого подключен к выходу четвертого распределителя импульсов, выходы которого подключены в последовательности: первый выход – к вторым управляющим входам /выдачи/ последних разрядов вторых восьми регистров, последний выход – к вторым управляющим входам /выдачи/ первых разрядов вторых восьми регистров, последний выход подключен к второму управляющему входу четвертого ключа и к третьим управляющим входам /обнуления/ одноименных разрядов вторых восьми регистров, в первом блоке регистров первый управляющий вход первого ключа является первым управляющим входом буферного накопителя кодов, во втором, третьем, четвертом блоках регистров первый управляющий вход первого ключа является первым управляющим входом блока, который подключен к первому управляющему выходу соответственно в первом, втором, третьем блоках регистров, первый управляющий вход третьего ключа во втором, третьем, четвертом блоках регистров подключен к шестому управляющему входу своего блока, который подключен к второму управляющему выходу соответственно в первом, втором, третьем блоках регистров, первый управляющий выход с четвертого блока регистров параллельно подключен к четвертым управляющим входам 1-4 блоков регистров, второй управляющий выход четвертого блока регистров параллельно подключен к пятым управляющим входам 1-4 блоков регистров, блок яркостной модуляции выполнен четырехканальным, каждый канал включает последовательно расположенные излучатель трех основных цветов, объектов и фокусирующий конус световода /фокон/, входами блока яркостной модуляции являются входы 1-4 излучателей трех основных цветов, соответствующие входы которых подключены к выходам соответствующих блоков импульсных усилителей, каждый излучатель содержит соответствующее число светодиодов красного, зеленого и синего излучения, и расположен в задней фокальной плоскости своего объектива, в передней фокальной плоскости которого расположено входное окно фокусирующего конуса световода, выходами блока яркостной модуляции являются излучения с выходных окон фокусирующих конусов световода, которые через отражатели первого и второго пьезодефлекторов и проекционную оптическую систему соединены с экраном стереомонитора, в блок строчной развертки введен делитель частоты /8:1/, вход которого подключен к второму входу элемента N, выход подключен к входу задающего генератора, в блок кадровой развертки введены элемент N, первый и второй вход которого подключен к первому и второму входам элемента N стереомонитора, выход подключен к входу задающего генератора, делитель частоты /4:1/, вход которого подключен к второму входу элемента N в блоке кадровой развертки, суммирующий усилитель, первый вход которого подключен к выходу задающего генератора, второй вход подключен к делителю частоты, управляющий вход подключен к входу задающего генератора, выход суммирующего усилителя является выходом блока кадровой развертки и подключен к входу второго усилителя, суммирующий усилитель включает последовательно соединенные счетчик импульсов, дешифратор, ключ, формирователь импульсов и выходной усилитель, первым входом является первый вход выходного усилителя, вторым – счетный вход счетчика импульсов, управляющим входом являются объединенные входы управляющего входа счетчика импульсов и первый управляющий вход ключа, сигнальный вход ключа подключен к входу счетчика импульсов.
РИСУНКИ
|
|