|
|
(21), (22) Заявка: 2002100086/63, 10.06.1999
(24) Дата начала отсчета срока действия патента:
10.06.1999
(43) Дата публикации заявки: 27.09.2003
(46) Опубликовано: 27.06.2006
(56) Список документов, цитированных в отчете о поиске:
SU 251007 A, 05.02.1970. US 3564558 А, 16.02.1971. US 5824409 А, 20.10.1998. ЛИФШИЦ Е.М., ПИТАЕВСКИЙ Л.П. Статистическая физика. Часть 2. Теория конденсированного состояния (Серия: “Теоретическая физика”, т.IX). M.: Наука, 1978, с.336-342. Тонкие магнитные пленки: Сборник статей / Пер. с англ. и нем. Под общ. ред. В.М.ГЛУШКОВА и Л.В.КИРЕНСКОГО.
(85) Дата перевода заявки PCT на национальную фазу:
10.01.2002
(86) Заявка PCT:
IB 99/01067 (10.06.1999)
(87) Публикация PCT:
WO 00/77776 (21.12.2000)
Адрес для переписки:
101000, Москва, пер. М.Златоустинский, 10, кв.15, бюро “ЕВРОМАРКПАТ”, И.А.Веселицкой
|
(72) Автор(ы):
АЛЛЕНШПАХ Рольф (CH), БАКК Кристиан Х. (CH), ЗИГМАНН Ханс-Кристоф (CH)
(73) Патентообладатель(и):
ИНТЕРНЭШНЛ БИЗНЕС МАШИНЗ КОРПОРЕЙШН (US), АЙДГЕНЁССИШЕ ТЕХНИШЕ ХОХШУЛЕ ЦЮРИХ (ЕТН) (CH)
|
(54) СПОСОБ СВЕРХБЫСТРОГО ПЕРЕМАГНИЧИВАНИЯ
(57) Реферат:
Изобретение относится к перемагничиванию магнитного слоя с плоскостной намагниченностью. Внешнее магнитное поле прикладывают к магнитному слою таким образом, чтобы вектор намагниченности прецессировал вокруг этого внешнего магнитного поля. Воздействие внешнего магнитного поля прекращают до того момента, как ориентация намагниченности совпадет с направлением внешнего магнитного поля. Перемагничивание завершается в результате затухающей прецессии намагниченности вокруг размагничивающего поля и поля магнитной анизотропии перемагничиваемого магнитного слоя. Предложенный способ позволяет ускорить процесс перемагничивания и используется в устройстве для перемагничивания магнитного носителя, системе магнитной записи и в запоминающем устройстве на магнитном носителе. 4 н.п. и 7 з.п. ф-лы, 5 ил.
(56) (продолжение):
CLASS=”b560m”Киев, 1963, с.286. Тонкие ферромагнитные пленки / Пер. с нем. А.С.ПАХОМОВА и Р.В.ТЕЛЕСНИНА. Под общ. ред. Р.В.ТЕЛЕСНИНА. М.: Мир, 1964, с.243. Физический энциклопедический словарь. В 5 Т. / Гл. ред. Б.А.ВВЕДЕНСКИЙ, Б.М.ВУЛ. M.: Сов. энциклопедия, 1962, т.2, с.584-585. Физический энциклопедический словарь / Гл. ред. А.М.ПРОХОРОВ. M.: Сов. энциклопедия, 1983, с.613.
Настоящее изобретение относится к способу сверхбыстрого перемагничивания с помощью внешних магнитных полей малой интенсивности. Изобретение относится, в частности, к способу перемагничивания используемого магнитного слоя с плоскостной намагниченностью, устройству для перемагничивания магнитного носителя, самому магнитному носителю, к системе магнитной записи, имеющей такой магнитный носитель, а также к запоминающему устройству на магнитном носителе, имеющему указанную систему.
Перемагничивание является элементарным процессом, лежащим в основе ключевых современных технологий, таких как преобразование электрической энергии или магнитная запись. В используемом в настоящее время известном способе перемагничивания создается внешнее перемагничивающее магнитное поле, антипараллельное направлению намагниченности. По этой причине на скорость перемагничивания накладываются определенные временные ограничения, и она лежит в пределах наносекунд.
Магнитная запись является пограничной областью, находящейся на стыке физики, материаловедения, средств связи и машиностроения. Физическая сущность магнитной записи требует исследования магнитных головок, носителей записи и процессов переноса информации между головками и носителем информации.
В настоящее время известно множество систем магнитной записи, предназначенных для записи и хранения информации. В обычных системах запись информации осуществляется за счет определенного распределения намагниченности на поверхности магнитного носителя информации. Обычно магнитный носитель информации характеризуется определенным направлением намагничивания или предварительного намагничивания, за счет чего по длине одной или нескольких параллельных дорожек создается определенное распределение намагниченности. Носитель информации представляет собой магнитный слой, нанесенный на немагнитную подложку или основу. Запись или регистрация информации осуществляется за счет приведения носителя информации в движение относительно преобразователя, называемого также записывающей головкой. Обычно такая записывающая головка представляет собой кольцевой (подковообразный) электромагнит, обращенная к носителю информации поверхность которого расположена с некоторым зазором относительно поверхности носителя информации. При подаче на головку рабочего тока (тока записи), изменяющегося в соответствии с характеристикой записываемого сигнала, краевое поле зазора соответствующим образом намагничивает носитель информации. В результате такой записи происходит указанное выше распределение намагниченности, которое в простейшем случае можно представить в виде последовательности смежных стержневых электромагнитов. При этом “единичному разряду” (логической единице) соответствует изменение полярности тока, а “нулевому разряду” (логическому нулю) соответствует отсутствие изменения полярности тока записи. Таким образом, диск при его движении намагничивается в положительном направлении “+” при положительной полярности электрического тока и в отрицательном направлении “-” при отрицательной полярности. Иными словами, сохраненные на диске “единицы ” указывают, где направление намагниченности диска изменяется на противоположное, а “нули” располагаются между указанными “единицами”.
Для магнитной записи в течение длительного времени использовалось множество магнитных носителей информации. Однако в наиболее современных магнитных носителях используется тонкий слой ферромагнитного материала, нанесенного на немагнитную подложку. Такой магнитный слой может состоять из магнитных частиц, находящихся в полимерной матрице. В другом варианте подобный слой может представлять собой металлизированный слой, полученный методом металлизации в вакууме, или оксидную пленку. Применение тонкого магнитного слоя позволяет использовать для него подложки различных структуры и конфигурации. При этом магнитные носители информации подразделяются на “жесткие” и “мягкие” носители. Для постоянного намагничивания жестких носителей требуется создавать магнитные поля высокой напряженности. Для перемагничивания таких намагниченных дисков и удаления с них информации также необходимы магнитные поля высокой напряженности. Подобные носители с высоким магнитным насыщением и высокой коэрцитивностью пригодны, например, для использования в компьютерных запоминающих устройствах. В то же время для намагничивания мягких носителей информации требуются магнитные поля относительно малой напряженности. Такие носители более пригодны для записи аудиоинформации. Выбор определенного носителя влияет на способ его намагничивания при записи на него информации. Связано это с тем, что направление намагниченности напрямую связано с магнитной анизотропией применяемого носителя информации. По этой причине существуют различные способы записи, например продольная запись, при которой направление намагниченности совпадает с продольным направлением дорожки, или перпендикулярная запись, при которой носитель записи имеет перпендикулярную анизотропию. Носители информации, состоящие из продольно ориентированных игольчатых частиц, обычно отличаются более высокой остаточной намагниченностью в продольном направлении, и поэтому их предпочтительно использовать для продольной записи. Такая продольная ориентация дополнительно может быть усилена за счет применения записывающей головки соответствующей конструкции, например кольцевой головки, усиливающей продольные магнитные поля. В настоящее время продольная запись является наиболее широко распространенным способом записи. Тем не менее носитель информации может быть расположен и перпендикулярно плоскости пленки. Подобные носители обладают более высокой остаточной намагниченностью в перпендикулярном направлении, и поэтому их предпочтительно использовать для перпендикулярной записи. Такая перпендикулярная ориентация может быть усилена за счет применения головки соответствующей конструкции, например однополюсной головки, усиливающей перпендикулярные магнитные поля. Носители информации с перпендикулярной записью также нашли широкое распространение, поскольку они обеспечивают более стабильное распределение намагниченности и запись с более высокой плотностью по сравнению с носителями информации, в которых используется продольная запись.
В патенте US 5268799 описан способ магнитной записи и воспроизводящая головка, которая позволяет записывать сигнал на магнитный носитель информации, представляющий собой намагничиваемую в перпендикулярном направлении пленку, и воспроизводить с такого носителя записанную на него сигналограмму. Эта магнитная записывающая и воспроизводящая головка имеет магниточувствительный участок с тонким игольчатым кристаллом из магнитомягкого материала и катушку электромагнита, намотанную на указанный игольчатый кристалл и намагничивающую его с целью записи сигнала на магнитный носитель информации. Для воспроизведения записанной на носитель сигналограммы на магниточувствительный участок воздействуют высокочастотной электроэнергией, в результате чего формируется отраженная волна, и по изменению отраженной волны, обусловленному магнитным полем рассеяния, создаваемым записанной на магнитный носитель информации сигналограммой, детектируют эту записанную на носитель сигналограмму.
У С.Н.Back и др. в статье “Magnetization Reversal in Ultrashort Magnetic Fields Pulses”, Physical Review Letters, том 81, стр.3251 (1998), описаны опыты по исследованию перемагничивания пленок с покрытием из кобальта/платины с перпендикулярным намагничиванием, в ходе которых использовали импульс магнитного поля высокой напряженности, но малой длительности. Поскольку такое импульсное магнитное поле имеет высокую напряженность, оно не пригодно для магнитной записи. Кроме того, магнитная записывающая головка не способна генерировать импульсные магнитные поля столь высокой напряженности.
В авторском свидетельстве SU 251007 описан способ перемагничивания магнитного слоя с плоскостной намагниченностью, используемого в магнитном носителе. При осуществлении этого способа, наиболее близкого к настоящему изобретению по технической сущности, внешнее магнитное поле прикладывают в направлении оси трудного намагничивания таким образом, чтобы намагниченность в результате установилась в этом направлении. Затем приложение магнитного поля прекращают, и намагниченность ориентируется в направлении оси легкого намагничивания, противоположном исходному.
В современных компьютерах данные хранятся на магнитных дисках в виде двоичных разрядов или битов. В процессе переноса данных на диск и их обработке в течение соответствующей временной последовательности двоичных “единиц” и “нулей”, или битов, такой диск приводится во вращение. Обычная скорость передачи данных составляет при этом около 30 Мбайт/с, что при записи соответствует импульсам магнитного поля длительностью 4 нс. Для изменения направления намагниченности на противоположное в современных технологиях применяются антипараллельные магнитные поля или импульсы магнитного поля.
С учетом резкого роста объема информации, требующей сохранения, возникает необходимость в более быстрых способах ее записи. Одновременно с этим возрастает и скорость работы запоминающих устройств. При этом современные запоминающие устройства обладают некоторыми недостатками, например скорость их работы ограничена физическими пределами, из-за чего они не пригодны для использования в системах новейшего поколения. Поскольку скорость перемагничивания на основе известных технологий измеряется наносекундами, необходима технология, которая обеспечивала бы более высокую скорость перемагничивания.
Задачей настоящего изобретения является устранение вышеописанных недостатков, присущих известным решениям.
Еще одна задача настоящего изобретения состоит в разработке концепции высокоскоростной записи информации.
Помимо этого, задачей настоящего изобретения является разработка способа сверхбыстрого перемагничивания.
Следующей задачей настоящего изобретения является разработка способа сверхбыстрой магнитной записи.
Кроме того, задача настоящего изобретения состоит также в разработке устройства, носителя и системы для сверхбыстрой магнитной записи.
Поставленные в изобретении задачи решаются в предлагаемом способе перемагничивания магнитного слоя с плоскостной намагниченностью. При этом отличия предлагаемого в изобретении способа от известного из SU 251007 заключаются в том, что приложение внешнего магнитного поля прекращают до того момента, как ориентация намагниченности совпадет с направлением внешнего магнитного поля. В этом случае перемагничивание завершается в результате затухающей прецессии намагниченности вокруг имеющегося у магнитного слоя размагничивающего поля и поля магнитной анизотропии. Здесь и далее под ориентацией намагниченности понимается ориентация проекции вектора намагниченности на плоскость магнитного слоя, а под направлением внешнего магнитного поля – ориентация его проекции на плоскость магнитного слоя, если магнитное поле прикладывают под углом к магнитному слою.
Таким образом, в основе настоящего изобретения лежит концепция сверхбыстрого перемагничивания магнитного слоя с плоскостной намагниченностью. Для осуществления сверхбыстрого перемагничивания на магнитный слой предпочтительно примерно перпендикулярно его намагниченности воздействуют внешним магнитным полем или импульсом поля небольшой напряженности и продолжительности, в результате чего намагниченность начинает прецессировать вокруг внешнего магнитного поля. Приложение внешнего магнитного поля продолжают лишь до того момента, когда указанной прецессии окажется достаточно для перемагничивания, прекращая приложение поля до того, как ориентация намагниченности совпадет с направлением внешнего магнитного поля, что в простейшем случае означает, что внешнее магнитное поле прикладывают до тех пор, пока намагниченность не отклонится от плоскости магнитного слоя примерно на 20°. После этого процесс перемагничивания завершается в результате совместного воздействия размагничивающего поля магнитного слоя и поля магнитной анизотропии, а направление намагниченности изменяется на противоположное. При этом направление намагниченности изменяется на противоположное без участия внешнего магнитного поля. В принципе внешнее магнитное поле можно создавать и далее, в результате чего намагниченность будет в течение определенного промежутка времени вращаться относительно плоскости магнитного слоя, и отключать таким образом, чтобы вращение намагниченности прекращалось после ее поворота на угол, который в нечетное число раз кратен числу , предпочтительно в антипараллельном или противоположном направлении. В то же время в соответствии с изобретением длительность приложения внешнего магнитного поля должна быть достаточно короткой для того, чтобы исключить релаксацию намагниченности в ее направлении. У магнитного слоя с одноосной плоскостной намагниченностью наблюдаются два стабильных состояния плоскостной намагниченности – параллельное или антипараллельное.
Внешнее магнитное поле сравнимо с полем плоскостной анизотропии магнитного слоя и способно вызывать перемагничивание при условии, что такое поле приложено примерно под прямым углом к намагниченности с целью создания максимального вращающего момента, действующего на намагниченность или спины. Связанное с этим преимущество состоит в том, что магнитного поля небольшой напряженности, для создания которого требуется меньшее количество энергии, вполне достаточно для инициирования перемагничивания.
Преимущество настоящего изобретения состоит в возможности значительно повысить скорость перемагничивания, поскольку, как полагают, не существует каких-либо фундаментальных факторов, которые ограничивали бы скорость перемагничивания определенными временными рамками. Так, например, подобное сверхбыстрое перемагничивание может использоваться при магнитной записи. При этом создается возможность записывать информацию со скоростью, значительно превышающей 30 Мбайт/с, что позволяет сохранять более значительные объемы данных. Предлагаемое в изобретении решение позволяет существенно усовершенствовать технологию сохранения данных и может применяться для продольной или перпендикулярной записи.
Оптимальный физический эффект сверхбыстрого перемагничивания проявляется преимущественно в том случае, когда внешнее магнитное поле приложено под углом, при котором на намагниченность действует максимальный вращающий момент. Подобного эффекта можно достичь при приложении внешнего магнитного поля практически перпендикулярно намагниченности.
Предпочтительно далее ограничить угол, под которым прикладывается внешнее магнитное поле к направлению намагниченности, пределами от 45 до 135°, поскольку в этом случае нет необходимости в точной ориентации внешнего магнитного поля.
Если напряженность приложенного внешнего магнитного поля превышает напряженность поля магнитной анизотропии магнитного слоя с плоскостной намагниченностью, т.е. это, в частности, означает, что для инициирования процесса сверхбыстрого перемагничивания напряженность внешнего магнитного поля должна лишь незначительно превышать напряженность поля магнитной анизотропии, то связанное с этим преимущество состоит в возможности инициировать процесс сверхбыстрого перемагничивания внешним магнитным полем малой напряженности. Такое поле может быть создано устройством или записывающей головкой, не требующей значительной энергии, т.е. создается возможность поддерживать расход энергии запоминающим устройством на низком уровне, что особенно предпочтительно для портативных компьютеров, работающих на аккумуляторных батареях.
Если создание внешнего магнитного поля прекращают до того момента, как направление намагниченности совпадет с направлением внешнего магнитного поля, то связанное с этим преимущество состоит в том, что намагниченность повернется согласно изобретению в противоположном направлении относительно направления внешнего магнитного поля, а не по направлению этого внешнего магнитного поля.
Предпочтительно, чтобы приложенное внешнее магнитное поле имело небольшую амплитуду. Поскольку внешнее магнитное поле используется только с той целью, чтобы вывести направление намагниченности от плоскости магнитного слоя, а перпендикулярная составляющая этой намагниченности увеличивает размагничивающее поле, процесс перемагничивания завершается в результате последующей затухающей прецессии вокруг размагничивающего поля магнитного слоя и поля магнитной анизотропии. Фактически именно благодаря размагничивающему полю для перемагничивания требуется внешнее магнитное поле столь малой напряженности. Таким образом, для создания такого внешнего магнитного поля уже вполне достаточно небольшого количества энергии, при этом участки носителя информации, примыкающие к перемагничиваемому участку, не повреждаются и не подвергаются воздействию этого внешнего магнитного поля. Как показали описанные ниже опыты с кобальтовой пленкой, при длительности импульса 2 пс (полуширина импульса при половине амплитуды) вполне достаточно создавать поле с амплитудой менее 185 кА/м.
Когда длительность приложения внешнего магнитного поля лежит в пикосекундном диапазоне, например составляет от 1 до 1000 пс, то связанное с этим преимущество состоит в возможности осуществлять запись со сверхвысокой скоростью, за счет чего достигаются оптимальные результаты перемагничивания. Благодаря этому создается возможность записывать и сохранять значительно большие объемы данных. Для этой цели следует использовать генератор магнитного поля соответствующей конструкции, например в качестве элемента записывающей головки, который способен генерировать магнитные поля или импульсы столь малой длительности.
Преимущество, связанное с завершением процесса перемагничивания за счет прецессии намагниченности вокруг размагничивающего поля и поля магнитной анизотропии магнитного слоя, состоит в возможности прекратить воздействие внешнего магнитного поля до окончания всего процесса перемагничивания. В результате удается сократить расход энергии и повысить скорость записи, поскольку записывающую головку можно перемещать в следующее положение еще до завершения процесса перемагничивания на предыдущем участке носителя.
Внешнее магнитное поле можно прикладывать параллельно или перпендикулярно плоскости магнитного слоя. Связанное с этим преимущество заключается в том, что внешнее магнитное поле может действовать в различных направлениях. Еще одно преимущество состоит в том, что для записи могут применяться обычные магнитные головки, расположенные под углом 90° к плоскости магнитного слоя, при условии, что конструктивно такие головки для инициирования сверхбыстрого перемагничивания способны создавать магнитное поле в течение короткого промежутка времени или магнитный импульс малой длительности.
Объектом настоящего изобретения является также устройство для перемагничивания магнитного носителя с плоскостной намагниченностью. Такое устройство, как и ближайший аналог изобретения, имеет генератор магнитного поля, предназначенный для приложения внешнего магнитного поля таким образом, чтобы намагниченность прецессировала вокруг этого внешнего магнитного поля, а приложение указанного внешнего магнитного поля прекращалось до завершения перемагничивания. Отличие изобретения заключается в том, что генератор магнитного поля выполнен с возможностью отключения внешнего магнитного поля до того момента, как ориентация намагниченности совпадет с направлением внешнего магнитного поля. При этом перемагничивание завершается в результате затухающей прецессии намагниченности вокруг имеющегося у магнитного слоя размагничивающего поля и поля магнитной анизотропии.
Объектом настоящего изобретения являются также магнитный носитель с плоскостной намагниченностью, который предназначен для хранения данных. Предлагаемый в изобретении магнитный носитель, как и его ближайший аналог, выполнен с возможностью изменения направления намагниченности на противоположное по меньшей мере на одном его участке за счет приложения внешнего магнитного поля таким образом, чтобы намагниченность прецессировала вокруг этого внешнего магнитного поля, а приложение указанного внешнего магнитного поля прекращалось до завершения перемагничивания.
Предпочтительно, чтобы такой носитель состоял из наночастиц, например кристаллических зерен, более предпочтительно из идентичных зерен, или из одиночных частиц-доменов, а его коэффициент размагничивания составлял от 1/3 до 1, предпочтительно был близок к 1, поскольку в этом случае можно уменьшить напряженность магнитного поля, необходимого для изменения направления намагниченности на противоположное. Поскольку любой магнитный материал обладает определенным коэффициентом затухания , для изготовления магнитного слоя следует выбирать материал с низким коэффициентом затухания . Кроме того, с целью достичь оптимальных результатов при сверхбыстром перемагничивании для изготовления магнитного слоя можно соответствующим образом подбирать коэффициент затухания , a тем самым и магнитный материал. В целом эффективность процесса перемагничивания определяется наличием у магнитного материала определенного набора свойств, зависящих от намагниченности, поля магнитной анизотропии, коэффициента затухания и напряженности внешнего магнитного поля с заданной длительностью импульса.
В принципе для сверхбыстрого перемагничивания могут применяться материалы, которые в настоящее время используются для изготовления дисков запоминающих устройств, однако по мере развития материаловедения следует ожидать появления новых материалов, в большей степени пригодных для сверхбыстрого перемагничивания.
Магнитный носитель или слой с плоскостной намагниченностью может представлять собой часть гибкого диска, жесткого диска, ленты или любого иного устройства, которое при записи и сохранении данных способно изменять направление намагниченности на противоположное.
Кроме того, объектом изобретения является система магнитной записи. Предлагаемая в изобретении система, как и ее ближайший аналог, имеет магнитный носитель с плоскостной намагниченностью и магнитную записывающую головку, предназначенную для приложения внешнего магнитного поля таким образом, чтобы намагниченность прецессировала вокруг этого внешнего магнитного поля, а приложение указанного внешнего магнитного поля прекращалось до завершения перемагничивания.
Отличия магнитного носителя и системы магнитной записи заключаются в том, что приложение внешнего магнитного поля прекращается до того момента, как ориентация намагниченности совпадет с направлением внешнего магнитного поля, а перемагничивание завершается в результате затухающей прецессии намагниченности вокруг имеющегося у магнитного носителя размагничивающего поля и поля магнитной анизотропии.
В описании изобретения используются следующие общепринятые обозначения:
намагниченность, отражающая ориентацию спинов,
МS намагниченность насыщения, например для кобальта при комнатной температуре МS=1,7 Тл,
внешнее магнитное поле,
поле магнитной анизотропии,
размагничивающее поле,
коэффициент затухания,
угол между и ,
угол между и плоскостью магнитного слоя,
0 магнитная постоянная.
Ниже изобретение более подробно рассмотрено со ссылкой на прилагаемые чертежи, на которых показано:
на фиг.1 – пространственное схематичное изображение предлагаемого в изобретении устройства,
на фиг.2 – трехмерная диаграмма перемагничивания согласно изобретению,
на фиг.3 – более подробная проекция показанной на фиг.2 кривой на ось z,
на фиг.4 – более подробная проекция показанной на фиг.2 кривой на ось х и
на фиг.5 – более подробная проекция показанной на фиг.2 кривой на ось y.
Все чертежи для наглядности выполнены без соблюдения масштаба и без соблюдения реальных пропорций.
Ниже, прежде всего со ссылкой на фиг.1, более подробно рассмотрена принципиальная конструкция предлагаемой в изобретении системы сверхбыстрой магнитной записи.
Для пояснения сущности настоящего изобретения сначала следует рассмотреть некоторые основные моменты, связанные с процессом перемагничивания. В обычном методе перемагничивания, применяемом в настоящее время, перемагничивающее поле прикладывается антипараллельно направлению намагниченности . При этом соответствующая скорость перемагничивания ограничена наносекундным диапазоном. Если внешнее магнитное поле , индуцирующее перемагничивание, приложено примерно перпендикулярно вектору намагниченности , то согласно изобретению скорость перемагничивания можно значительно повысить. В магнитном слое или пленки размагничивающее поле способствует перемагничиванию, индуцируемому внешним магнитным полем . Таким образом, слабого магнитного поля , также называемого импульсом магнитного поля , достаточно для изменения направления намагниченности магнитного слоя или пленки с плоскостной намагниченностью на противоположное. Короткий импульс магнитного поля вызывает прецессию намагниченности вне плоскости магнитного слоя, в результате чего индуцируется размагничивающее поле , перпендикулярное к поверхности магнитного слоя. После исчезновения импульса внешнего магнитного поля размагничивающее поле и поле магнитной анизотропии продолжают существовать, а прецессия намагниченности вокруг точки наложения размагничивающего поля и поля магнитной анизотропии завершает процесс перемагничивания. При таких условиях перемагничивание индуцируется импульсами магнитного поля длительностью в несколько пикосекунд, но небольшой амплитуды, сравнимой с полем магнитной анизотропии . Такая амплитуда импульсов лежит в пределах действия обычных тонкопленочных записывающих головок.
В опытах по перемагничиванию использовали магнитный слой из кобальта толщиной 20 нм. При этом использовали два типа магнитных слоев на основе кобальта, каждый из которых обладал одноосной анизотропией в плоскости магнитного слоя. Один из кобальтовых слоев, ниже называемый как Со I, получали осаждением методом распыления при температуре 40°С на осажденный при температуре 40°С платиновый буфер толщиной 10 нм, который в свою очередь наращивали на буфере из слоя платины толщиной 5 нм и слоя железа толщиной 0,5 нм, осажденном при температуре 500°С на подложку из MgO (110). Второй кобальтовый слой, называемый далее как Со II, получали электроннолучевым напылением на буфер из хрома толщиной 30 нм при температуре 300°С, который также был нанесен на подложку из MgO (110). Намагниченность насыщения кобальта при комнатной температуре составляет МS=1,7 Тл. Напряженность поля одноосной анизотропии в плоскости магнитного слоя определяли на основании магнитооптического эффекта Керра. При этом для Со I и Со II полученные значения составляли 168 и 160 кА/м соответственно.
Образцы, т.е. слой Со I и слой Со II, подвергали воздействию внешнего магнитного слоя c длительностью импульса 2, 3 и 4,4 пс (полуширина при полумаксимуме колоколообразного импульса) с использованием пучка электронов. После этого было установлено, что первое перемагничивание произошло под воздействием внешнего магнитного поля напряженностью около 184 кА/м. При воздействии более сильными магнитными полями, например напряженностью 224, 264 и 352 кА/м, происходило многократное перемагничивание. Оптимальное перемагничивание наблюдается в том случае, если вектор приблизительно перпендикулярен вектору , т.е. если угол между этими векторами лежит пределах от 80 до 100°, а вращающий момент близок к максимуму. Что касается скорости сверхбыстрого перемагничивания, то для нее предположительно не существуют каких-либо принципиальных ограничений.
В обычных методах перемагничивания момент равен нулю. В данном случае момент импульса, индуцированный процессом перемагничивания, должен быть поглощен фононной решеткой, т.е. такой процесс поглощения зависит от скорости обмена энергией между решеткой и магнитной системой. Таким образом, время спин-решеточной релаксации представляет собой временную шкалу, применимую к обычному процессу перемагничивания.
Расчет сверхбыстрого перемагничивания для каждой отдельной частицы можно осуществлять с помощью уравнения Ландау-Лифшица:

Согласно уравнению Ландау-Лифшица прецессия намагниченности вокруг направления, определяемого суммой внутреннего и внешнего магнитных полей, рассчитывается следующим образом:

при этом является гиромагнитным отношением, составляющим =0,2212·106 м/А·с, а релаксация намагниченности в направлении поля описывается коэффициентом затухания . Коэффициент затухания должен быть небольшим, т.е. для достижения оптимальных результатов процесса перемагничивания для магнитного слоя следует применять специально разработанные материалы.
С физической точки зрения явление сверхбыстрого перемагничивания можно пояснить на примере трехступенчатой модели.
При воздействии импульса магнитного поля вектор намагниченности прецессирует вокруг магнитного поля вне плоскости магнитного слоя или пленки. По мере отклонения вектора намагниченности от плоскости магнитного слоя возрастает эффективное размагничивающее поле , поскольку увеличивается угол между и плоскостью магнитного слоя: . После исчезновения магнитного поля вектор намагниченности продолжает прецессировать, однако в этом случае вокруг . Максимальным углом , зависящим от величины намагниченности , определяется, изменяется ли направление намагниченности на противоположное или нет и возможно ли даже многократное изменение направления намагниченности на противоположное. Затем намагничивание ослабляется в одном из двух направлений легкого намагничивания или переходит в одно из двух состояний легкого намагничивания. Эта завершающая стадия может протекать достаточно медленно.
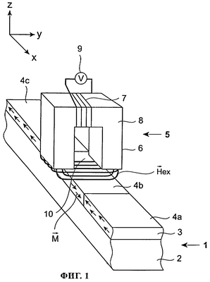
На фиг.1 схематично изображена пространственная конструкция устройства магнитной записи, в котором используется сверхбыстрое перемагничивание. При этом на фиг.1 показана имеющая форму прямоугольного параллелепипеда часть диска 1, который в данном случае представляет собой жесткий диск 1, предназначенный для записи и хранения данных. Такой диск 1 состоит из основы или подложки 2 и нанесенного на нее осаждением магнитного слоя 3 с плоскостной намагниченностью, который далее называется просто рабочим слоем 3. Этот рабочий слой 3 состоит из трех участков, которые для упрощения названы по порядку их удаления от точки наблюдения как передний участок 4а, средний участок 4b и задний участок 4с. Каждый из этих участков 4а, 4b и 4с обладает своей собственной намагниченностью , при этом передний участок 4а и задний участок 4с имеют одинаковое направление намагниченности , а средний участок 4b имеет противоположное им направление намагниченности .
Над поверхностью диска 1 с небольшим зазором от него и, в частности, над средним участком 4b расположена магнитная записывающая головка 5, состоящая из генератора 6 магнитного поля, который в свою очередь состоит из катушки 7, корпуса 8 и источника 9 питания. В данном случае генератор 6 магнитного поля выполнен в виде кольцевой головки, создаваемое которой магнитное поле представляет собой поле рассеяния, возникающее в зазоре 10. В принципе вместо подобной головки можно использовать генератор магнитного поля или головку любого типа, например однополюсную головку, при этом само устройство может иметь и иную компоновку. Генератор 6 магнитного поля создает магнитные поля малой длительности или короткие импульсы магнитного поля в направлении y, индуцируя в магнитном слое 3 перемагничивание, теоретические основы которого рассмотрены выше. Длительность импульсов магнитного поля лежит в пределах пикосекунд, предпочтительно составляет от 1 до 1000 пс, а напряженность такого магнитного поля несколько выше напряженности поля магнитной анизотропии слоя 3.
Как показано на фиг.1, внешнее магнитное поле создается генератором 6 магнитного поля, перемещающимся вдоль среднего участка 4b диска 1. Тем самым внешнее магнитное поле создается в плоскости, перпендикулярной плоскости намагниченности слоя 3. После инициирования или завершения перемагничивания среднего участка 4b магнитная записывающая головка 5 можно переместить относительно поверхности диска 1 в следующее положение записи. Процесс такого перемагничивания более подробно рассмотрен ниже со ссылкой на последующие чертежи.
На фиг.2 представлена трехмерная диаграмма, отражающая изменение направления намагниченности на противоположное, например на среднем участке 4b, показанном на фиг.1. Таким образом, на этой диаграмме отражена переориентация единичного спина в результате его перемещения в различные положения I-IV. Такое перемещение изображено в виде кривой в трехмерной системе координат, образованной осями х, y и z. Для упрощения эта кривая отражает перемещение вектора намагниченности в процессе перемагничивания, при этом начало вектора намагниченности расположено в начале координат, т.е. в точке с координатами х=0, y=0 и z=0. До момента приложения внешнего магнитного поля намагниченность ориентирована в положительном направлении по оси х, представляющем собой одно из двух устойчивых состояний. Такую ориентацию можно описать координатами х=1, y=0 и z=0, при этом в последующем координаты вершины вектора намагниченности обозначены как [1, 0, 0]. На фиг.3, 4 и 5 показаны характеристики, отражающие изменение во времени каждой отдельной координаты х, y, z соответственно. Положения I-IV, обозначенные на показанной на фиг.2 кривой, соответствуют аналогичным положениям I-IV, показанным на фиг.3-5.
Внешнее магнитное поле , создаваемое генератором 6 магнитного поля, показанным на фиг.1, прикладывается согласно изобретению примерно перпендикулярно намагниченности . В данном случае это означает, что внешнее магнитное поле прикладывается в направлении оси y. Внешнее магнитное вызывает прецессию намагниченности вне плоскости х. Показанная на фиг.2 кривая отражает постепенное перемещение из положения I с координатами [1, 0, 0] в положение II, что одновременно сопровождается перемещением в положительном направлении по оси y, более подробно показанном на фиг.5, и в отрицательном направлении по оси z, более подробно показанном на фиг.3. Положение II достигается примерно через 2-4 пс. В этот момент внешнее магнитное поле исчезает или прекращается его воздействие. При этом необходимость в дополнительной энергии или в создании внешнего магнитного поля отпадает по той причине, что размагничивающее поле и поле магнитной анизотропии продолжают существовать, при этом процесс перемагничивания заканчивается благодаря обусловленной воздействием этих размагничивающего поля и поля магнитной анизотропии прецессии намагниченности , как это было описано выше. Далее кривая проходит через положение III, в котором после изменения направления намагниченности на отрицательное направление по оси х кривая делает петлю и в итоге достигает положения IV с координатами [-1, 0, 0], в котором процесс перемагничивания завершен. Между указанной петлей и конечным положением IV кривая имеет спиралевидную форму. Положение IV соответствует второму устойчивому состоянию, в данном случае – положению перемагничивания.
Если же внешнее магнитное поле продолжает существовать, то наблюдается вращение намагниченности вокруг внешнего магнитного поля , что в данном случае соответствует повороту вокруг оси y. Поворот намагниченности на большой угол может обеспечиваться также за счет создания внешнего магнитного поля высокой напряженности. При успешном перемагничивании намагниченность М прекращает вращение после поворота на угол, который в нечетное число раз кратен числу . В целом намагниченность , прежде чем ее ориентация совпадет с направлением внешнего магнитного поля при условии его существования в течение более длительного времени, может совершить несколько оборотов в зависимости от свойств применяемого материала, в частности его коэффициента затухания , а также от напряженности и длительности приложения внешнего магнитного поля . В этом случае процесс сверхбыстрого перемагничивания можно соответствующим образом скорректировать.
На фиг.3 более подробно показана проекция изображенной на фиг.2 кривой на ось z, обозначенная как Mz. Указанные на фиг.3 положения I-III соответствуют аналогичным положениям на фиг.2. Показанная на фиг.3 кривая отражает изменение во времени t затухающих переходных колебаний, которые примерно через 500 нс вновь снижаются до нуля. Как указывалось выше, положение I является исходным положением. В положении II внешнее магнитное поле исчезает, поскольку такого кратковременного воздействия этого поля достаточно для инициирования процесса перемагничивания. Положение III соответствует положению, которое в процессе перемагничивания предшествует закручиванию показанной на фиг.2 кривой в спираль.
На фиг.4 более подробно показана проекция изображенной на фиг.2 кривой на ось х, обозначенная как Мх. Указанные на фиг.4 положения I, III и IV соответствуют аналогичным положениям на фиг.2. Показанная на фиг.4 кривая аналогично изображенной на фиг.3 кривой отражает изменение во времени t процесса перемагничивания, начиная с положения I, которое лежит на положительной полуоси в направлении х, и заканчивая положением IV, которое, однако, лежит на отрицательной полуоси в направлении х, при этом после пересечения линии нулевых значений в положении III эта кривая имеет форму затухающих колебаний и достигает положения IV примерно через 300 пс.
На фиг.5 более подробно показана проекция изображенной на фиг.2 кривой на ось y, обозначенная как My. Указанные на фиг.5 положения I и III соответствуют аналогичным положениям на фиг.2. Показанная на фиг.5 кривая аналогично фиг.3 и 4 отражает изменение во времени t классических затухающих переходных колебаний. Эта кривая начинается в положении I, проходит через положение III, которое соответствует максимальной положительной амплитуде, и далее проходит через максимальную отрицательную амплитуду, после чего постепенно вновь возвращается к нулю.
Как следует из представленных на фиг.3-5 графиков, процесс перемагничивания окончательно завершается примерно через 500 пс, а инициируется примерно в течение 2-4 пс.
Как указывалось выше, намагниченность может совершать несколько оборотов в зависимости от свойств материала, а также напряженности и длительности приложения внешнего магнитного поля . В этом случае кривая по фиг.4 будет выглядеть аналогично кривой на фиг.5, где максимальные положительная и отрицательная амплитуды попеременно чередуются. Предпочтительным является простое перемагничивание, поскольку оно является наиболее быстрым.
В рассмотренный выше вариант осуществления изобретения можно вносить различные изменения, варьируя напряженность внешнего магнитного поля в сочетании с моментами его отключения. Кроме того, для повышения эффективности сверхбыстрого перемагничивания можно соответствующим образом подбирать свойства материала, из которого выполнен магнитный слой с плоскостной намагниченностью.
Формула изобретения
1. Способ перемагничивания магнитного слоя (3) с плоскостной намагниченностью , используемого в магнитном носителе, при осуществлении которого прикладывают внешнее магнитное поле таким образом, чтобы намагниченность прецессировала вокруг этого внешнего магнитного поля , и приложение указанного внешнего магнитного поля прекращают до завершения перемагничивания, отличающийся тем, что приложение внешнего магнитного поля прекращают до того момента, как ориентация намагниченности совпадет с направлением внешнего магнитного поля , причем перемагничивание завершается в результате затухающей прецессии намагниченности вокруг имеющихся у магнитного слоя размагничивающего поля и поля магнитной анизотропии .
2. Способ по п.1, отличающийся тем, что внешнее магнитное поле прикладывают под некоторым углом к магнитному слою (3) с плоскостной намагниченностью таким образом, чтобы на намагниченность действовал максимальный вращающий момент .
3. Способ по п.1, отличающийся тем, что внешнее магнитное поле прикладывают под углом по меньшей мере от 45 до 135°, предпочтительно по меньшей мере примерно перпендикулярно намагниченности .
4. Способ по п.1, отличающийся тем, что длительность приложения внешнего магнитного поля лежит в пикосекундном диапазоне и предпочтительно составляет от 1 до менее 1000 пс.
5. Способ по п.1, отличающийся тем, что внешнее магнитное поле прикладывают в плоскости, совпадающей с плоскостью магнитного слоя (3) с плоскостной намагниченностью.
6. Устройство для перемагничивания магнитного носителя с плоскостной намагниченностью , имеющее генератор (6) магнитного поля, предназначенный для приложения внешнего магнитного поля таким образом, чтобы намагниченность прецессировала вокруг этого внешнего магнитного поля , а приложение указанного внешнего магнитного поля прекращалось до завершения перемагничивания, отличающееся тем, что генератор (6) магнитного поля выполнен с возможностью отключения внешнего магнитного поля до того момента, как ориентация намагниченности совпадет с направлением внешнего магнитного поля , причем перемагничивание завершается в результате затухающей прецессии намагниченности вокруг имеющихся у магнитного слоя размагничивающего поля и поля магнитной анизотропии .
7. Магнитный носитель с плоскостной намагниченностью, который предназначен для хранения данных и который выполнен с возможностью изменения направления намагниченности на противоположное по меньшей мере на одном его участке за счет приложения внешнего магнитного поля таким образом, чтобы намагниченность прецессировала вокруг этого внешнего магнитного поля , а приложение указанного внешнего магнитного поля прекращалось до завершения перемагничивания, отличающийся тем, что приложение внешнего магнитного поля прекращается до того момента, как ориентация намагниченности совпадет с направлением внешнего магнитного поля , а перемагничивание завершается в результате затухающей прецессии намагниченности вокруг имеющегося у магнитного слоя размагничивающего поля и поля магнитной анизотропии .
8. Магнитный носитель по п.7, отличающийся тем, что он состоит из наночастиц, например кристаллических зерен, и имеет коэффициент размагничивания в пределах от 1/3 до 1, предпочтительно около 1, и соответствующим образом согласованный коэффициент затухания .
9. Магнитный носитель по п.7 или 8, отличающийся тем, что он является частью гибкого диска, жесткого диска или магнитной ленты.
10. Система магнитной записи, имеющая магнитный носитель с плоскостной намагниченностью и магнитную записывающую головку (5), предназначенную для приложения внешнего магнитного поля таким образом, чтобы намагниченность прецессировала вокруг этого внешнего магнитного поля , а приложение указанного внешнего магнитного поля прекращалось до завершения перемагничивания, отличающаяся тем, что приложение внешнего магнитного поля прекращается до того момента, как ориентация намагниченности совпадет с направлением внешнего магнитного поля , a перемагничивание завершается в результате затухающей прецессии намагниченности вокруг имеющегося у магнитного носителя размагничивающего поля и поля магнитной анизотропии .
11. Запоминающее устройство на магнитном носителе, имеющее систему магнитной записи по п.10.
РИСУНКИ
MM4A – Досрочное прекращение действия патента СССР или патента Российской Федерации на изобретение из-за неуплаты в установленный срок пошлины за поддержание патента в силе
Дата прекращения действия патента: 11.06.2008
Извещение опубликовано: 20.09.2010 БИ: 26/2010
|
|