|
|
(21), (22) Заявка: 2004104000/09, 13.02.2004
(24) Дата начала отсчета срока действия патента:
13.02.2004
(43) Дата публикации заявки: 27.07.2005
(46) Опубликовано: 27.06.2006
(56) Список документов, цитированных в отчете о поиске:
RU 2218866 С2, 20.12.2003. US 6404904 В1, 11.06.2002. WO 01/88835 А1, 22.11.2001. US 5621516 A, 15.04.1997.
Адрес для переписки:
141090, Московская обл., г. Юбилейный, ул. Ленинская, 4, кв. 38, В. Шведу
|
(72) Автор(ы):
Черномордик Олег Михайлович (RU), Хиценко Николай Алексеевич (RU)
(73) Патентообладатель(и):
Футроник Технолоджис Компани Лтд (HK), Черномордик Олег Михайлович (RU), Хиценко Николай Алексеевич (RU)
|
(54) АНАМОРФОТНАЯ СИСТЕМА СЧИТЫВАНИЯ ПАПИЛЛЯРНЫХ РИСУНКОВ И СПОСОБ ЕЕ ИСПОЛЬЗОВАНИЯ
(57) Реферат:
Предлагаемее устройство и способ относятся к считыванию и передаче изображений папиллярных узоров. Их использование в биометрических информационных системах идентификации личности позволяет получить технический результат в виде уменьшения линейных размеров оптической системы; повышения достоверности распознавания настоящего папиллярного узора и муляжа; повышения контрастности различных изображений папиллярных узоров; снижения стоимости системы. Это достигается благодаря тому, что система содержит источники света, оптическую систему, включающую, в том числе, объектив с апертурной диафрагмой, оптический элемент и многоэлементный фотоприемник. 2 н. и 11 з.п. ф-лы, 6 ил.
Область техники
Предлагаемее устройство и способ относятся к считыванию и передаче изображений папиллярных узоров, предпочтительно пальцев, применяемые в автоматизированных биометрических информационных системах идентификации личности.
Уровень техники
Аналогами к предлагаемому устройству можно считать:
1. Устройство считывания отпечатка пальца для идентификации, патент США №5222152 по МКИ G 06 К 09/00, оп. 22.6.1993 г., включающий источник света, оптическую систему, содержащую, в том числе, оптический элемент для прикладывания пальца, и рекодер изображения отпечатка пальца.
2. Устройство для регистрации папиллярного узора, патент РФ №2185096 по МКИ А 61 В 5/117, оп. 20.7.2002 г., включающий источник света, оптическую систему, содержащую, в том числе, оптический элемент для прикладывания пальца, и систему фотоприемных элементов, соединенную с блоком обработки изображения.
Недостатками аналогов являются: недостаточно малые линейные размеры оптической системы, отсутствие возможности отличия муляжа от настоящего папиллярного узора, недостаточная контрастность различных изображений папиллярных узоров вследствие различных характеристик предъявляемых папиллярных узоров и особенностей освещения оптического элемента, к которому прикладывается папиллярный узор.
Наиболее близким по технической сущности, прототипом для предлагаемого устройства, является устройство отображения отпечатка пальца, патент США №5625448 по МКИ G 06 К 9/00, оп. 29.4.1997 г., включающий источник света, оптическую систему, содержащую, в том числе, оптический элемент для прикладывания пальца и многоэлементный фотоприемник в виде ПЗС-матрицы.
Недостатками прототипа являются: недостаточно малые линейные размеры оптической системы, отсутствие возможности отличия муляжа от настоящего папиллярного узора, недостаточная контрастность различных изображений папиллярных узоров вследствие различных характеристик предъявляемых папиллярных узоров и особенностей освещения оптического элемента, к которой прикладывается папиллярный узор.
Сущность изобретения
Изображения папиллярного узора, полученные с использованием оптических сканеров, носят случайный характер. Факторами, влияющими на случайный характер полученного изображения, могут служить, например, усилие прижатия поверхности с папиллярным узором к поверхности сканера, направление усилия прижатия, временные незначительные повреждения, влажность (сухость) или загрязненность эпидермиса и т.д. Актуальным становится улучшение характеристик сканера, позволяющие уменьшить влияние “вредных” факторов. Вместе с тем, существующие системы распознавания папиллярных узоров не учитывают различные характеристики муляжей и живых пальцев в различных диапазонах длин волн.
Геометрические размеры оптической системы сканера возможно уменьшить “сжав” передаваемое на многоэлементный фотоприемник изображение папиллярного узора подвергнув его анаморфированию и дезанаморфированию для получения требуемого неискаженного изображения.
Учет различных характеристик муляжей и живых пальцев в различных диапазонах длин волн возможно осуществить, использовав в устройстве элементы, позволяющие освещать в различных диапазонах длин волн анализируемый объект с папиллярными линиями.
Задачей изобретения является уменьшение линейных размеров оптической системы, повышение достоверности распознавания настоящего папиллярного узора и муляжа, повышение контрастности различных изображений папиллярных узоров, снижение стоимости системы.
Технические результаты изобретения:
1) уменьшение линейных размеров оптической системы;
2) повышение достоверности распознавания настоящего папиллярного узора и муляжа;
3) повышение контрастности различных изображений папиллярных узоров;
4) снижение стоимости системы.
Технические результаты достигаются тем, что анаморфотная система считывания папиллярных узоров содержит источник излучения, оптическую систему, включающую, в том числе, оптический элемент для прикладывания поверхности с папиллярным узором, и многоэлементный фотоприемник. При этом одна из поверхностей оптического элемента выполнена отражающей – сферической или асферической, вогнутой внутрь для центра масс оптического элемента, корректирующая, по крайней мере, перспективные или трапециевидные искажения поверхности с папиллярным узором, приложенной к рабочей поверхности оптического элемента, оптический элемент изготовлен из вещества с показателем преломления в диапазоне от 1,2 до 1,8 с двугранным углом в диапазоне от 60° до 87° между рабочей поверхностью оптического элемента и плоскостью, проходящей через, по крайней мере, часть контура отражающей поверхности оптического элемента, между рабочей и преломляющей гранями в диапазоне от 81° до 109°, многоэлементный фотоприемник соединен с контроллером и наклонен к оптической оси, образуя оптический двугранный угол между многоэлементным фотоприемником и преломляющей гранью оптического элемента в диапазоне углов от 1° до 29°, источник излучения выполнен в виде, позволяющем получить освещенность рабочей грани, близкую к равномерной в диапазоне длин волн от 0,10 мм до 6,50 мкм, программно-аппаратно-управляемый, оптическая система включает дополнительный, по крайней мере, один программно-аппаратно-управляемый источник излучения или систему, по крайней мере, с одним светофильтром, который выполнен в виде, позволяющим получить освещенность рабочей грани, близкую к равномерной, позволяющим получить электромагнитное излучение из диапазона длин волн от 4,20 мкм до 4,50 мкм, причем направление излучений в оптический элемент позволяет получить проекции, при прохождении через оптическую систему с устраненными искажениями, на многоэлементный фотоприемник мест непосредственного соприкосновения папиллярных линий с рабочей гранью оптического элемента, вызывая большую интенсивность электрического сигнала на соответствующих элементах многоэлементного фотоприемника по сравнению с местами, свободными от непосредственного соприкосновения, а оптическая система включает объектив с апертурной диафрагмой.
Под термином “рабочая грань” оптического элемента следует понимать грань, к которой прикладывается поверхность с папиллярным узором.
Под термином “преломляющая грань” отражательной призмы следует понимать, грань на которую направлен объектив оптической системы.
Анаморфотная система считывания папиллярных рисунков может содержать оптическую ось, изменяющую свое направление, например, зеркалами или призмами. Такое выполнение системы позволяет повысить ее компактность за счет уменьшения расстояния между оптическим элементом и многоэлементным фотоприемником.
Анаморфотная система считывания папиллярных рисунков может содержать иммерсионный объектив. Такое выполнение системы позволяет повысить ее компактность за счет уменьшения расстояния между отражательной призмой и многоэлементным фотоприемником.
Объектив может содержать, по крайней мере, одну, например, асферическую линзу. Такое выполнение объектива позволяет получить требуемое неискаженное изображения папиллярного узора.
Объектив может содержать вынесенную апертурную диафрагму. Такое выполнение объектива позволяет повысить качество изображения папиллярного узора.
Многоэлементный фотоприемник анаморфотной системы считывания папиллярных рисунков может быть выполнен в виде ПЗС-матрицы (прибор с зарядовой связью) или КМОП-структуры (кремний-метал-окисел-полупроводник).
Способ использования анаморфотной системы заключается в том, что используют режимы ожидания контакта поверхности папиллярного узора с рабочей поверхностью оптического элемента и анализа поверхности, приложенной к рабочей поверхности оптического элемента, настройки рациональной контрастности оптической системы, дополнительного анализа поверхности, приложенной к рабочей поверхности оптического элемента, и передачи оцифрованного изображения папиллярного узора в память компьютера или на носитель информации в случае удовлетворения критерия или критериев соответствия приложенной к рабочей поверхности оптического элемента поверхности папиллярного узора папиллярным узорам с особенностями, присущими прикладываемым поверхностям.
Один из возможных вариантов применения многоэлементного фотоприемника для решения задач предлагаемого изобретения состоит в использовании полупроводниковых датчиков, на элементы которых, в процессе работы, подается запирающее напряжение, а при освещении их увеличивается ток в цепи элемента, вызванный снижением сопротивления за счет образования носителей заряда. Измерения изменений электрических параметров позволяют автоматизировать процесс распознавания папиллярных узоров.
Способ использования анаморфотной системы может включать периодическую активизацию источника излучения с периодом, близким к такому, который необходим для последовательного проведения этапов излучения источником до накопления стационарного значения электрических параметров, по крайней мере, на одном элементе многоэлементного фотоприемника, настройки рациональной контрастности, дополнительного анализа поверхности, приложенной к рабочей поверхностью оптического элемента, и передачи оцифрованного изображения папиллярного узора в память компьютера или на носитель информации, во время этапа ожидания контакта поверхности папиллярного узора с рабочей поверхностью оптического элемента и анализа поверхности, приложенной к рабочей поверхности оптического элемента, учитывают генерируемые излучением в оптической системе изменения электрических параметров линейно, с учетом дискретности, расположенных элементов многоэлементного фотоприемника, при этом активизируют источник излучения начальной длительностью, составляющей часть полной длительности, необходимой для получения стационарного значения электрического параметра, по крайней мере, на одном из элементов многоэлементного фотоприемника и суммируют пропорционально увеличенные или уменьшенные, например, по степенному закону, разность значений изменений электрических параметров в соседних линейно расположенных элементах многоэлементного фотоприемника, активизируют источник излучения укороченной длительностью, составляющей часть начальной длительности, и суммируют пропорционально увеличенные или уменьшенные, например, по степенному закону разность значений изменений электрических параметров в соседних линейно расположенных элементах многоэлементного фотоприемника и сравнивают полученные значения со значением критерия пропорционально увеличенного или уменьшенного, например, по степенному закону разности значении изменении электрических параметров в соседних линейно расположенных элементах многоэлементного фотоприемника, определенного эмпирически для поверхностей с папиллярным узором, и, в случае удовлетворения условия сравнения, приступают к этапу настройки рациональной контрастности анаморфотной системы, а в случае неудовлетворения продолжают использовать режим ожидания контакта поверхности папиллярного узора с рабочей поверхностью оптического элемента и анализа поверхности, приложенной к рабочей поверхности оптического элемента; во время этапа настройки рациональной контрастности оптической системы активизируют источник излучения частичной длительностью, составляющей часть полной длительности, необходимой для получения стационарного значения электрического параметра, по крайней мере, на одном из элементов многоэлементного фотоприемника, которую дискретно увеличивают до достижения полной длительности, а во время активизации источника излучения суммируют значения изменений электрических параметров линейно расположенных элементов многоэлементного фотоприемника с величиной этих параметров более 80% от стационарного значения электрического параметра и сохраняют значения суммы и соответствующего значения частичной длительности, по достижению полной длительности выбирают величину частичной длительности, при которой обеспечивается рациональная контрастность оптической системы; во время этапа дополнительного анализа поверхности, приложенной к рабочей поверхности оптического элемента, первично активизируют источник излучения длительностью рациональной контрастности оптической системы в диапазоне от 1,10 мм до 6,50 мкм, суммируют значения изменении электрических параметров линейно расположенных элементов многоэлементного фотоприемника и сохраняют значение суммы, суммируют значения изменений электрических параметров линейно расположенных элементов многоэлементного фотоприемника без включения источников излучения и сохраняют значение суммы, активизируют дополнительный источник излучения длительностью рациональной контрастности оптической системы в диапазоне от 4,50 мкм до 4,20 мкм, суммируют значения изменений электрических параметров линейно расположенных элементов многоэлементного фотоприемника и сохраняют значение суммы, вторично активизируют источник излучения длительностью рациональной контрастности оптической системы в диапазоне от 0,10 мм до 6,50 мкм, суммируют значения изменений электрических параметров линейно расположенных элементов многоэлементного фотоприемника и сохраняют значение суммы, при отличии сумм значений изменений электрических параметров линейно расположенных элементов многоэлементного фотоприемника первичной и вторичной активизации источника излучения в диапазоне от 0,10 мм до 6,50 мкм более чем на 5%, то систему переводят в режим ожидания контакта поверхности папиллярного узора с рабочей поверхностью оптического элемента и анализа поверхности, приложенной к рабочей поверхности оптического элемента, если сумма сумм значений изменений электрических параметров линейно расположенных элементов многоэлементного фотоприемника первичной и вторичной активизации источника излучения в диапазоне от 0,10 мм до 6,50 мкм без суммы значений изменений электрических параметров линейно расположенных элементов многоэлементного фотоприемника без включения источников излучения деленная на разность сумм значений изменений электрических параметров линейно расположенных элементов многоэлементного фотоприемника активизации источника излучения в диапазоне от 4,50 мкм до 4,20 мкм и сумм значений изменений электрических параметров линейно расположенных элементов многоэлементного фотоприемника без включения источников излучения больше 8 или меньше 4, то активизируют режим ожидания контакта поверхности папиллярного узора с рабочей поверхностью оптического элемента и анализа поверхности, приложенной к рабочей поверхности оптического элемента, а при больше или равно 4 или меньше или равно 8 активизируют режим передачи оцифрованного изображения папиллярного узора в память компьютера или на носитель информации, в процессе которого учитывают изменения электрических параметров каждого элемента многоэлементного фотоприемника, генерируемых излучением в оптической системе.
Под термином “стационарное значение электрических параметров” элемента многоэлементного фотоприемника следует понимать максимально возможное изменение этих параметров при изменении условий освещенности элемента от полного отсутствия до максимальной освещенности, воздействующей на элемент длительностью, гарантирующей окончание переходных процессов.
В способе использования анаморфотной системы может осуществляться пропорциональное увеличение или уменьшение разности значений изменений электрических параметров в соседних линейно расположенных элементах многоэлементного фотоприемника по квадратичному закону.
В способе использования анаморфотной системы может осуществляться управление многоэлементным фотоприемником компьютером.
В способе использования анаморфотной системы может осуществляться управление многоэлементным фотоприемником микропроцессором.
Сведения, подтверждающие возможность осуществления изобретения
Возможность практической реализации изобретения поясняется чертежами и примерами действий, составляющих элементы способа распознавания папиллярного узора.
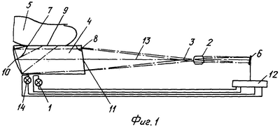
На фиг.1 представлена схема анаморфотной системы.
На фиг.2 представлена пространственная схема анаморфотной системы с преломляющейся зеркалами оптической осью и расположением многоэлементного фотоприемника в плоскости монтажной платы.
На фиг.3 представлены варианты учета генерируемых излучений в оптической системе электрических параметров линейно, с учетом дискретности, расположенных элементов многоэлементного фотоприемника: 3а, 3б – осевые; 3в, 3г – параллельно осям; 3д – наклонное; 3е – по диагонали, 3ж – сплайновое; 3з – по фрагменту окружности.
На фиг.4 представлена диаграмма активизации источника излучения в режиме ожидания контакта поверхности папиллярного узора с рабочей поверхностью оптического элемента и анализа поверхности, приложенной к рабочей поверхности оптического элемента.
На фиг.5 представлены диаграммы активизации источника излучения в режиме настройки рациональной контрастности оптической системы.
На фиг.6 представлены диаграммы активизации источников излучения в режиме дополнительного анализа поверхности, приложенной к рабочей поверхности оптического элемента.
Диаграммы на фиг.4 – фиг.6 представлены без детализации переходных процессов при включении и выключении источника излучения с условным изображением промежутков, во время которых происходит учет генерируемых излучением в оптической системе изменений электрических параметров элементов многоэлементного фотоприемника.
Анаморфотная система считывания папиллярных узоров содержит источник света 1, оптическую систему, включающую объектив 2 с апертурной диафрагмой 3 и оптический элемент 4 для прикладывания поверхности с папиллярным узором 5, и многоэлементный фотоприемник 6. Оптический элемент 4 с двугранными углами 7 и 8 между рабочей 9 поверхностью оптического элемента и плоскостью, проходящей через, по крайней мере, часть контура отражающей поверхности 10 оптического элемента 4, между рабочей 9 и преломляющей 11 поверхностями соответственно, многоэлементный фотоприемник 6 соединен с контроллером 12 и наклонен к оптической оси 13, образуя оптический двугранный угол (не показан) между многоэлементным фотоприемником 6 и преломляющей гранью 11 оптического элемента 4. Дополнительный источник света (или система со светофильтром) 14. Оптическая система может содержать преломляющие оптическую ось 13 зеркала 15.
Изготовление оптического элемента может быть осуществлено известными способами из используемых в оптике материалов, например из стекла, и напылением на отражающую поверхность оптического элемента отражающего слоя, например, из металла.
Изготовление остальных элементов системы может быть осуществлено известными способами.
Способ использования анаморфотной системы заключается в следующем.
Используют режим ожидания контакта поверхности папиллярного узора с рабочей поверхностью оптического элемента и анализа поверхности, приложенной к рабочей поверхности оптического элемента, при этом активизируют источник излучения 1 периодически программно-аппаратно с периодом длительности Т (см. фиг.4), близким к такому, который необходим для последовательного проведения этапов излучения источником до накопления максимального значения зарядов, по крайней мере, на одном элементе многоэлементного фотоприемника, настройки рациональной контрастности, дополнительного анализа поверхности, приложенной к рабочей поверхностью оптического элемента и передачи оцифрованного изображения папиллярного узора в память компьютера или на носитель информации.
Во время активизации источника излучения 1 учитывают генерируемые излучением в оптической системе электрические параметры линейно (линии обозначены позицией 16 на фиг.3), с учетом дискретности, расположенных элементов многоэлементного фотоприемника 6, при этом активизируют источник излучения 1 начальной длительностью Т2, составляющей часть полной длительности Т1, необходимой для получения стационарного значения электрических параметров, по крайней мере, на одном из элементов многоэлементного фотоприемника 6 и суммируют пропорционально увеличенные или уменьшенные, например, по степенному закону разность значений изменений электрических параметров в соседних линейно 16 расположенных элементах многоэлементного фотоприемника, активизируют источник излучения 1 укороченной длительностью Т3, составляющей часть начальной длительности Т2, и суммируют пропорционально увеличенные или уменьшенные, например, по степенному закону разность значений изменений электрических параметров в соседних линейно 16 расположенных элементах многоэлементного фотоприемника 6, и сравнивают полученные значения со значением критерия пропорционально увеличенного или уменьшенного, например, по степенному закону разности значений изменений электрических параметров в соседних линейно 16 расположенных элементах многоэлементного фотоприемника.
При контакте поверхности папиллярного узора с рабочей поверхностью оптического элемента используют режим настройки рациональной контрастности оптической системы. При этом активизируют источник излучения 1 частичной длительностью Т4, составляющей часть полной длительности Т1, которую дискретно увеличивают до достижения полной длительности Т1 (см. фиг.5).
Во время этапа дополнительного анализа поверхности, приложенной к рабочей поверхности оптического элемента, первично активизируют источник излучения 1 длительностью Т5 рациональной контрастности оптической системы в диапазоне от 0,10 мм до 6,50 мкм, суммируют значения изменений электрических параметров линейно 16 расположенных элементов многоэлементного фотоприемника 6 и сохраняют значение суммы, суммируют значения изменений электрических параметров линейно 16 расположенных элементов многоэлементного фотоприемника 6 без включения источников излучения (длительностью Т6) и сохраняют значение суммы, активизируют дополнительный источник излучения 14 длительностью Т7 рациональной контрастности оптической системы в диапазоне от 4,50 мкм до 4,20 мкм, суммируют значения изменений электрических параметров линейно 16 расположенных элементов многоэлементного фотоприемника 6 и сохраняют значение суммы, вторично активизируют источник излучения 1 длительностью рациональной контрастности Т5 оптической системы в диапазоне от 0,10 мм до 6,50 мкм, суммируют значения изменений электрических параметров линейно 16 расположенных элементов многоэлементного фотоприемника 6 и сохраняют значение суммы, при отличии сумм значений изменений электрических параметров линейно 16 расположенных элементов многоэлементного фотоприемника 6 первичной и вторичной активизации источника излучения в диапазоне от 0,10 мм до 6,50 мкм более чем на 5%, то систему переводят в режим ожидания контакта поверхности папиллярного узора с рабочей поверхностью оптического элемента и анализа поверхности, приложенной к рабочей поверхности оптического элемента, если сумма сумм значений изменений электрических параметров линейно 16 расположенных элементов многоэлементного фотоприемника 6 первичной и вторичной активизации источника излучения 1 в диапазоне от 0,10 мм до 6,50 мкм без суммы значений изменений электрических параметров линейно 16 расположенных элементов многоэлементного фотоприемника 6 без включения источников излучения деленная на разность сумм значений изменений электрических параметров линейно 16 расположенных элементов многоэлементного фотоприемника 6 активизации источника излучения 14 в диапазоне от 4,50 мкм до 4,20 мкм и сумм значений изменений электрических параметров линейно 16 расположенных элементов многоэлементного фотоприемника 6 без включения источников излучения больше 8 или меньше 4, то активизируют режим ожидания контакта поверхности папиллярного узора с рабочей поверхностью оптического элемента и анализа поверхности, приложенной к рабочей поверхности оптического элемента, а при больше или равно 4 или меньше или равно 8 активизируют режим передачи оцифрованного изображения папиллярного узора в память компьютера или на носитель информации, в процессе которого учитывают изменения электрических параметров каждого элемента многоэлементного фотоприемника, генерируемые излучением в оптической системе.
В способе использования анаморфотной системы может осуществляться пропорциональное увеличение или уменьшение разности значений изменений электрических параметров в соседних линейно расположенных элементах многоэлементного фотоприемника 6 по квадратичному закону.
В способе использования анаморфотной системы может осуществляться управление многоэлементным фотоприемником 6 компьютером.
В способе использования анаморфотной системы может осуществляться управление многоэлементным фотоприемником 6 микропроцессором.
Таким образом, применение данных системы и способа ее использования позволяет уменьшить линейные размеры оптической системы; повысить контрастность различных изображений папиллярных узоров и достоверность распознавания настоящего папиллярного узора и муляжа; снизить стоимость системы.
Формула изобретения
1. Анаморфотная система считывания папиллярных рисунков, содержащая источник излучения, оптическую систему, включающую в том числе оптический элемент для прикладывания поверхности с папиллярным узором, и многоэлементный фотоприемник, отличающаяся тем, что одна из поверхностей оптического элемента выполнена отражающей сферической или асферической и корректирующей, по крайней мере, перспективные или трапециевидные искажения поверхности с папиллярным узором, приложенной к рабочей поверхности оптического элемента, оптический элемент изготовлен из вещества с показателем преломления в диапазоне от 1,2 до 1,8 с двугранным углом в диапазоне от 60 до 87° между рабочей поверхностью оптического элемента и плоскостью, проходящей через, по крайней мере, часть контура отражающей поверхности оптического элемента, между рабочей и преломляющей гранями в диапазоне от 81 до 109°, многоэлементный фотоприемник соединен с контроллером и наклонен к оптической оси, образуя оптический двугранный угол между многоэлементным фотоприемником и преломляющей гранью оптического элемента в диапазоне углов от 1 до 29°, источник излучения выполнен в виде, позволяющем получить освещенность рабочей грани, близкую к равномерной в диапазоне длин волн от 0,10 до 6,50 мкм, программно-аппаратно-управляемый контроллером, оптическая система включает дополнительный, по крайней мере, один программно-аппаратно-управляемый контроллером источник излучения или систему, по крайней мере, с одним светофильтром, который выполнен в виде, позволяющем получить освещенность рабочей грани, близкую к равномерной, позволяющем получить электромагнитное излучение из диапазона длин волн от 4,20 до 4,50 мкм, причем направление излучений в оптический элемент позволяет получить проекции при прохождении через оптическую систему с устраненными искажениями на многоэлементный фотоприемник мест непосредственного соприкосновения папиллярных линий с рабочей гранью оптического элемента, вызывая большую интенсивность электрического сигнала на соответствующих элементах многоэлементного фотоприемника по сравнению с местами, свободными от непосредственного соприкосновения, а оптическая система включает объектив с апертурной диафрагмой.
2. Анаморфотная система считывания папиллярных рисунков по п.1, отличающаяся тем, что в оптической системе оптическая ось может изменять направление.
3. Анаморфотная система считывания папиллярных рисунков по п.2, отличающаяся тем, что изменение направления пучка света в оптической системе производится, по крайней мере, одним зеркалом.
4. Анаморфотная система считывания папиллярных рисунков по п.2, отличающаяся тем, что изменение направления пучка света в оптической системе производится, по крайней мере, одной отражающей призмой.
5. Анаморфотная система считывания папиллярных рисунков по п.1, или 2, или 3, или 4, отличающаяся тем, что объектив иммерсионный.
6. Анаморфотная система считывания папиллярных рисунков по п.1, или 2, или 3, или 4, отличающаяся тем, что объектив содержит асферическую линзу.
7. Анаморфотная система считывания папиллярных рисунков по п.1, или 2, или 3, или 4, отличающаяся тем, что апертурная диафрагма вынесенная.
8. Анаморфотная система считывания папиллярных рисунков по п.1, или 2, или 3, или 4, отличающаяся тем, что многоэлементный фотоприемник выполнен в виде ПЗС-матрицы.
9. Анаморфотная система считывания папиллярных рисунков по п.1, или 2, или 3, или 4, отличающаяся тем, что многоэлементный фотоприемник выполнен в виде КМОП-структуры.
10. Способ использования анаморфотной системы, заключающийся в том, что используют режимы ожидания контакта поверхности папиллярного узора с рабочей поверхностью оптического элемента и анализа поверхности, приложенной к рабочей поверхности оптического элемента, при котором источник излучения активизируют периодически с периодом, близким к такому, который необходим для последовательного проведения этапов излучения источником до накопления стационарного значения электрических параметров, по крайней мере, на одном элементе многоэлементного фотоприемника, настройки рациональной контрастности, дополнительного анализа поверхности, приложенной к рабочей поверхности оптического элемента и передачи оцифрованного изображения папиллярного узора в память компьютера или на носитель информации, во время этапа ожидания контакта поверхности папиллярного узора с рабочей поверхностью оптического элемента и анализа поверхности, приложенной к рабочей поверхности оптического элемента, учитывают генерируемые излучением в оптической системе изменения электрических параметров линейно, с учетом дискретности, расположенных элементов многоэлементного фотоприемника, при этом активизируют источник излучения начальной длительностью, составляющей часть полной длительности, необходимой для получения стационарного значения электрического параметра, по крайней мере, на одном из элементов многоэлементного фотоприемника и суммируют пропорционально увеличенные или уменьшенные, например, по степенному закону разность значений изменений электрических параметров в соседних линейно расположенных элементах многоэлементного фотоприемника, активизируют источник излучения укороченной длительностью, составляющей часть начальной длительности, и суммируют пропорционально увеличенные или уменьшенные, например, по степенному закону разность значений изменений электрических параметров в соседних линейно расположенных элементах многоэлементного фотоприемника и сравнивают полученные значения со значением критерия пропорционально увеличенного или уменьшенного, например, по степенному закону разности значений изменений электрических параметров в соседних линейно расположенных элементах многоэлементного фотоприемника, определенного эмпирически для поверхностей с папиллярным узором, и в случае удовлетворения условия сравнения приступают к этапу настройки рациональной контрастности анаморфотной системы, а в случае неудовлетворения продолжают использовать режим ожидания контакта поверхности папиллярного узора с рабочей поверхностью оптического элемента и анализа поверхности, приложенной к рабочей поверхности оптического элемента; во время этапа настройки рациональной контрастности оптической системы активизируют источник излучения частичной длительностью, составляющей часть полной длительности, необходимой для получения стационарного значения электрического параметра, по крайней мере, на одном из элементов многоэлементного фотоприемника, которую дискретно увеличивают до достижения полной длительности, а во время активизации или нахождения в активном состоянии источника излучения суммируют значения изменений электрических параметров линейно расположенных элементов многоэлементного фотоприемника с величиной этих параметров более 80% от стационарного значения электрического параметра и сохраняют значения суммы и соответствующего значения частичной длительности, по достижению полной длительности выбирают величину частичной длительности, при которой обеспечивается рациональная контрастность оптической системы; во время этапа дополнительного анализа поверхности, приложенной к рабочей поверхности оптического элемента первично активизируют источник излучения длительностью рациональной контрастности оптической системы в диапазоне от 0,10 до 6,50 мкм, суммируют значения изменений электрических параметров линейно расположенных элементов многоэлементного фотоприемника и сохраняют значение суммы, суммируют значения изменений электрических параметров линейно расположенных элементов многоэлементного фотоприемника без включения источников излучения и сохраняют значение суммы, активизируют дополнительный источник излучения длительностью рациональной контрастности оптической системы в диапазоне от 4,50 до 4,20 мкм, суммируют значения изменений электрических параметров линейно расположенных элементов многоэлементного фотоприемника и сохраняют значение суммы, вторично активизируют источник излучения длительностью рациональной контрастности оптической системы в диапазоне от 0,10 до 6,50 мкм, суммируют значения изменений электрических параметров линейно расположенных элементов многоэлементного фотоприемника и сохраняют значение суммы, при отличии сумм значений изменений электрических параметров линейно расположенных элементов многоэлементного фотоприемника первичной и вторичной активизации источника излучения в диапазоне от 0,10 до 6,50 мкм более чем на 5%, то систему переводят в режим ожидания контакта поверхности папиллярного узора с рабочей поверхностью оптического элемента и анализа поверхности, приложенной к рабочей поверхности элемента, если сумма сумм значений изменений электрических параметров линейно расположенных элементов многоэлементного фотоприемника первичной и вторичной активизации источника излучения в диапазоне от 0,10 до 6,50 мкм без суммы значений изменений электрических параметров линейно расположенных элементов многоэлементного фотоприемника без включения источников излучения деленная на разность сумм значений изменений электрических параметров линейно расположенных элементов многоэлементного фотоприемника активизации источника излучения в диапазоне от 4,50 до 4,20 мкм и сумм значений изменений электрических параметров линейно расположенных элементов многоэлементного фотоприемника без включения источников излучения больше 8 или меньше 4, то активизируют режим ожидания контакта поверхности папиллярного узора с рабочей поверхностью оптического элемента и анализа поверхности, приложенной к рабочей поверхности оптического элемента, а при больше или равно 4 или меньше или равно 8 активизируют режим передачи оцифрованного изображения папиллярного узора в память компьютера или на носитель информации, в процессе которого учитывают изменения электрических параметров каждого элемента многоэлементного фотоприемника, генерируемых излучением в оптической системе.
11. Способ использования анаморфотной системы по п.10, отличающийся тем, что пропорциональное увеличение или уменьшение разности значений изменений электрических параметров в соседних линейно расположенных элементах многоэлементного фотоприемника осуществляется по квадратичному закону.
12. Способ использования анаморфотной системы по п.10, отличающийся тем, что управление многоэлементным фотоприемником осуществляет компьютер.
13. Способ использования анаморфотной системы по п.10, отличающийся тем, что управление многоэлементным фотоприемником осуществляет микропроцессор.
РИСУНКИ
|
|