|
|
(21), (22) Заявка: 2004129645/03, 11.10.2004
(24) Дата начала отсчета срока действия патента:
11.10.2004
(46) Опубликовано: 27.06.2006
(56) Список документов, цитированных в отчете о поиске:
US 6651741 B1, 25.11.2003. RU 2078912 С1, 10.05.1997. RU 2133333 C1, 20.07.1999. RU 2151857 С1, 27.06.2000. SU 685812 A, 15.09.1979. SU 737619 A, 30.05.1980. SU 968352 А, 23.10.1982. SU 1391204 A3, 27.06.1998.
Адрес для переписки:
196620, Санкт-Петербург, Павловск, Медвежий пер.5, кв.14, пат.пов. Б.А. Пейзнеру
|
(72) Автор(ы):
Гребенников Валентин Тимофеевич (RU), Иванов Артем Анатольевич (RU), Иванов Анатолий Николаевич (RU)
(73) Патентообладатель(и):
Закрытое акционерное общество “ЗапСибГаз” (RU)
|
(54) УСТРОЙСТВО ПРОРЕЗКИ ЩЕЛЕОБРАЗНЫХ ВЫРАБОТОК В СКВАЖИНЕ ГИДРОПЕСКОСТРУЙНЫМ СПОСОБОМ
(57) Реферат:
Изобретение относится к горной промышленности и предназначено для прорезки щелеобразных выработок в прискважинной зоне продуктивного пласта. Обеспечивает повышение производительности и надежности устройства. Сущность изобретения: устройство содержит трубчатый корпус, герметично и жестко присоединенный к концу насосно-компрессорной трубы. Внутри корпуса соосно с зазором установлена внутренняя труба, подпружиненная снизу пружиной взвода и выполненная с возможностью движения. На нижнем торце внутренней трубы установлен шаровой клапан, выше которого размещен перфоратор. Согласно изобретению устройство содержит верхний шаровой клапан, установленный на верхнем конце внутренней трубы, установленную над ним муфту для ловли шаров клапанов и гидротормоз. Гидротормоз образован заполненными вязкой жидкостью двумя вертикально расположенными герметичными камерами, ограничивающими их верхней и нижней пробками и разделенными поршнем с каналом для перетока вязкой жидкости между камерами. Верхняя пробка жестко соединена с корпусом и с возможностью движения с внутренней трубой. Поршень жестко соединен с внутренней трубой и с возможностью движения с корпусом. Нижняя пробка выполнена с возможностью движения относительно обеих труб. Канал между камерами гидротормоза выполнен саморегулируемым в виде упругого, с возможностью взаимного сдвига, сжатых между собой матрицы и пуансона с одинаковыми по форме взаимно совпадающими углублениями и выступами, которые меньше углублений. Материалы матрицы и пуансона имеют различные температурные коэффициенты объемного расширения, обеспечивающие постоянный объем перетока вязкой жидкости через канал. 8 з.п. ф-лы, 5 ил.
Область техники
Изобретение относится к горной, конкретно – к нефтегазодобывающей, гидрогеологической, инженерно-геологической и водоснабженческой промышленности, и предназначено для применения при прорезке пескоструйным способом щелеобразных выработок в прискважинной зоне продуктивного пласта.
Уровень техники
Известно, что одним из наиболее эффективных способов повышения продуктивности (производительности) нефтяной, газовой, нагнетательной, гидрогеологической, инженерно-геологической или водоснабженческой скважины является щелевая разгрузка прискважинной зоны продуктивных пластов. Этот способ предусматривает создание щелей в прискважинной зоне, ширина, глубина и ориентация которых заранее определяется известными способами по характеристикам скважины и продуктивного слоя (например, патенты США 3966992, 5337825 и 6651741; международная заявка WO 94/05898, опубл. 17.03.1994; авт. св. СССР 1031263, опубл. 1984; патент РФ №2074957, опубл. 10.03.1997; Справочная книга по добыче нефти. М.: Недра, 1974 г.; Указания по щелевой разгрузке прискважинной зоны. Л.: ВНИМИ, Минуглепром, 1987 г.; статья – О притоке жидкости к скважине при использовании различных методов вскрытия продуктивных пластов, А.Н.Иванов, Г.Н.Крылов и др. Геофизический журнал, 1984 г., №5).
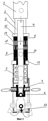
Практическая прорезка щелей с заранее заданными параметрами – весьма трудная техническая задача, поскольку прорезка производится в сложных условиях различных пород, температур, на большой глубине, при наличии в скважине добываемого продукта и/или промывочных жидкостей, исключительно при дистанционном управлении и контроле. Один из наиболее удачных методов прорезки щелей – пескоструйная гидроабразивная перфорация, при котором прорезка производится струей жидкости с песком при очень высоком давлении жидкости. Укрупненно устройства, реализующие этот метод, представлены на фиг.1. Они содержат корпус-трубу 2, герметично жестко присоединяемую к концу насосно-компрессорной трубы 1 (далее – НКТ), внутри корпуса подвижно соосно с зазором 3 установлена внутренняя труба 4, подпружиненная снизу пружиной взвода 5, на торце внутренней трубы 4 установлен шаровой клапан 6, выше которого размещен перфоратор 7, в междутрубном зазоре 3 образован гидротормоз 8, содержащий две вертикально расположенные герметичные камеры 9 и 10, ограниченные пробками 11 и 12, камеры заполнены жидкостью 13 и разделены поршнем 14 с каналом 15 для перетока жидкости между камерами, причем верхняя пробка 11 жестко соединена с корпусом 2 и подвижно с внутренней трубой 4, поршень 14 жестко соединен с внутренней трубой 4 и подвижно – с корпусом 2, а нижняя пробка 12 подвижна относительно обеих труб.
Устройство фиг.1 работает следующим образом. Внешнюю трубу 2 соединяют муфтой с насосно-компрессорной трубой 1, второй конец которой соединен с насосными агрегатами наземного оборудования. Заполняют верхнюю камеру 9 вязкой жидкостью 13, при этом количество жидкости для каждой резки выбирают исходя из заранее рассчитанной длины и глубины щели на основании известности параметров канала 15, соединяющего камеры 9 и 10 (капилляр), температурной зависимости его размеров, текучести жидкости 13 и давлений насосного агрегата.
Затем корпус устройства 2 (с находящимися в нем внутренней трубой 4, гидротормозом 8, устройством взвода 5, гидроабразивным перфоратором 7 и шаровым клапаном 6) опускают на заданную глубину так, чтобы сопла гидроабразивного перфоратора 7 оказались в месте скважины, где должен быть верхний край прорезаемой щели. Во внутреннюю трубу 4 бросают шар (для закрывания шарового клапана 6). Включают насосный агрегат наземного оборудования, который с заданным (расчетным) давлением начинает закачивать во внутреннюю трубу 4 устройства абразивную смесь. Смесь проходит до шарового клапана 6 и плотно закрывает его. Гидроабразивный перфоратор 7 через сопла начинает прорезать щели, вначале – в стенках обсадной колонны скважины, затем – в прискважинной зоне. Глубина прорезания – будущей щели зависит, в частности, от времени, в течение которого производится резка. Давление внутри внутренней трубы 4 (через которую под давлением подается абразивная жидкость) выталкивает ее (внутреннюю трубу 4) вниз из внешней трубы (корпуса) 2, которая жестко укреплена на НКТ 1. Происходит медленное, заданное по времени каналом 15, перетекание жидкости 13 из верхней камеры 9 гидротормоза 8 в нижнюю камеру 10. Таким образом, внутренняя труба 4 с установленными на ней перфоратором 7 медленно опускается вниз, и скорость ее перемещения определяет глубину прорезания щели. В это время на пробку 12 нижней камеры 10 снизу давит только пружина взвода 5, давление которой выбрано существенно меньше, чем давление на верхнюю пробку 11, т.е. давление пружины взвода 5 не мешает перетеканию жидкости из верхней камеры 9 в нижнюю 10. Этот процесс медленного опускания (при наличии давления в НКТ 1) продолжается до тех пор, пока из нижней камеры не выдавится в верхнюю все находящееся в ней масло. Т.е. свойства жидкости 13, изначально влитой в нижнюю камеру 9, определяют высоту прорезки – будущей щели. Длительность перетекания определяет скорость опускания устройства для прорезки щелей, т.е. глубину прорезывания данной щели. Если необходимая высота прорезки достигнута раньше окончания масла в верхней камере 9, то в этот момент снимается давление в НКТ 1 и процесс прорезания щели и соответствующего перетекания жидкости 13 прекращается. При этом, поскольку давление на верхнюю пробку 11 гидротормоза 8 прекращено, пружина взвода 5 выталкивает жидкость 13 из верхней камеры 9 в нижнюю 10, поднимая внутреннюю трубу 4 в исходное положение. Тот же процесс происходит после выдавливания всего масла в нижнюю камеру 10 – если при этом снимают давление в НКТ 1.
Эффективным примером такого устройства для прорезки щелей гидроабразивным перфораторм, применяемым для вскрытия эксплуатационных колонн щелью и создания в прискважинной зоне разгрузочных вертикальных щелевидных полостей, может быть устройство КЩР 4 – разработка СКБ ТМГР ПГО «Севморгеология», которое работает описанным выше образом. Известны и другие аналогичные устройства (например, авт. св. СССР 1031263, патент РФ №2074957; Справочная книга по добыче нефти, М., Недра, 1974 г.; Указания по щелевой разгрузке прискважинной зоны, Л., ВНИМИ, Минуглепром, 1987 г.; патент США №6652741.).
Прототипом изобретения выбрано устройство, в общем виде описанное в патенте США №6651741 от 25.11.2003, как наиболее близкое по технической сущности. Проанализируем процессы, происходящие при прорезке щелей гидроабразивным методом. Практически во всех известных устройствах такого типа перемещение гидроабразивного перфоратора 7 происходит сверху вниз за счет давления в трубном пространстве. Давление в трубном пространстве создают для работы гидроабразивной струи. За счет перепада давления в трубном и затрубном пространствах на твердосплавных насадках гидроабразивного перфоратора 7 абразивная частичка «заряжается» энергией (скорость частичек на выходе из сопла твердосплавной насадки достигает нескольких метров в секунду). Соударяясь со стенкой эксплуатационной колонны, а затем и с породой, частичка «выполняет» работу – разрушает металл и породу. Гидроабразивный перфоратор 7 опускают в скважину на насосно-компрессорных трубах (НКТ 1).
Обратный ход или взвод двигателя гидроабразивного перфоратора 7 происходит за счет распрямления пружины 5, охватывающей внутреннюю трубу 4, вставленной между корпусом гидротормоза 8 и гидроабразивным перфоратором 7. Нижний конец пружины взвода 5 упирают в корпус перфоратора, а верхний в нижнюю пробку 12 гидротормоза 8. Перемещение внутренней трубы 4 относительно корпуса 2 за счет рабочего давления в трубном пространстве сжимает пружину 5. При выравнивании давления в трубном и затрубном пространствах пружина 5 распрямляется и выталкивает внутреннюю трубу 4 с перфоратором 7 в крайнее верхнее положение.
Контроль за скоростью перемещения гидроабразивного перфоратора и информацию об окончании рабочего хода гидроабразивного перфоратора обеспечивает сигнальное устройство 16. Это устройство представляет собой, например, направленный вверх штырь, установленный под шаровым клапаном 6 на держателе, жестко соединенном с корпусом 2. Указанный штырь вскрывает шаровой циркуляционный клапан 6 в конце рабочего хода гидроабразивного перфоратора 7, при этом резко падает давление в трубном пространстве, что является информацией о конце рабочего хода.
С помощью таких устройств возможно вскрывать эксплуатационную колонну и создавать щелевые разгрузочные выработки в прискважинной зоне продуктивного пласта. Во время работы таких устройств в скважине производитель работ получает информацию о скорости перемещения гидроабразивного перфоратора, о конце рабочего хода двигателя гидроабразивного перфоратора, о состоянии твердосплавных насадок (сопел) во время работы. Имеется возможность вызова прямой или обратной промывки скважины на любой стадии работ устройства в скважине, подачи пластообрабатывающего раствора, продавки раствора в пласт под давлением, а при необходимости и проведения гидравлического разрыва пласта.
Описанные устройства имеют несколько общих недостатков:
– Неизбежны непрогнозируемые остановки и изменения скорости (глубины) прорезания щелей, поскольку все известные двигатели гидроабразивного перфоратора работают на принципе гидротормоза – перетекание вязких жидкостей из камеры в камеру через капилляр, то есть скорость перемещения задается длиной и сечением капилляра. Причина остановок и изменений – затухание движения жидкости через капилляр. В случае такой остановки или существенного изменения скорости необходимо поднять забойное оборудование и произвести его перенастройку. Это весьма дорогая и длительная операция.
– Зависимость скорости формирования щелей от температуры. Известно, что вязкость жидкостей зависит от их температуры. Для задания устройству скорости перемещения гидроабразивного перфоратора в скважине в процессе работы (т.е. в реальных условиях) необходимо произвести ряд сложных операций на поверхности, связанных с моделированием рабочих условий в скважине и расчетом изменения забойной температуры при остановках в промывке скважины и при различных темпах закачки по циклу и на выброс. К тому же точность таких расчетов весьма невелика, что отражается на качестве и надежности работ.
– Длительность операции открытия шарового клапана на торце перфоратора, т.е. извлечения указанного шарика. Открывают шаровой клапан обратной промывкой таким темпом, чтобы шарик поднять до устья и извлечь его из трубного пространства. В зависимости от глубины производства работ на операцию по извлечению металлического шарика из трубного пространства затрачивают от одного до трех, а иногда до пяти часов. Для возобновления рабочего хода гидроабразивного перфоратора и поддержания перепада давления на твердосплавных насадках в перфораторе необходимо закрыть шаровой клапан. Эта процедура осуществляется повторным вводом в трубное пространство металлического шарика. Последний, долетев до гидроабразивного перфоратора, перекрывает отверстие в его торце. Подача рабочей жидкости – пульпы после этого будет происходить только через твердосплавные насадки. Для перехода к другим операциям: промывка скважины – прямая или обратная, ввод технологического раствора, замена пульпы на технологический раствор, гидроразрыв пласта и т.п. – необходимо снова получить прямой открытый торец гидроабразивного перфоратора, иначе все операции, связанные с подачей жидкости в НКТ, будут встречать гидравлическое сопротивление твердосплавных насадок.
– Наличие сигнального устройства в нижней части забойного оборудования фактически перекрывает «прямой» поток жидкости из торца гидроабразивного перфоратора. Невозможно очистить зумпф в скважине от накопившегося шлама и песка, невозможно поставить инструмент на забой для распакерования или других целей. Другими словами, известные устройства недостаточно производительны, недостаточно удобны, надежны и стабильны во времени и от изменений температуры.
Задача изобретения – уменьшение перечисленных недостатков, конкретно – повышение производительности устройства прорезки, повышение его удобства, надежности, стабильности во времени и от изменений температуры.
Сущность изобретения
Задача решается тем, что в известное устройство прорезки щелеобразных выработок в скважинах гидропескоструйным способом, содержащее трубчатый корпус, герметично и жестко присоединяемый к концу насосно-компрессорной трубы, внутри которого подвижно и соосно с зазором установлена внутренняя труба, подпружиненная снизу пружиной взвода, на нижнем торце внутренней трубы установлен шаровой клапан, выше которого размещен перфоратор, внесены существенные изменения и дополнения, а именно:
– устройство содержит верхний шаровой клапан, установленный на верхний конец внутренней трубы, установленную над ним муфту для ловли шаров клапанов и гидротормоз, образованный заполненными вязкой жидкостью двумя вертикально расположенными герметичными камерами, огранивающими их верхней и нижней пробками и разделенными поршнем с каналом для перетока вязкой жидкости между камерами, верхняя пробка жестко соединена с корпусом и подвижно с внутренней трубой, поршень жестко соединен с внутренней трубой и подвижно с корпусом, нижняя пробка выполнена с возможностью движения относительно обеих труб, канал между камерами гидротормоза выполнен саморегулируемым в виде упруго, с возможностью взаимного сдвига, сжатых между собой матрицы и пуансона с одинаковыми по форме взаимно совпадающими углублениями и выступами, которые меньше углублений, причем материалы матрицы и пуансона имеют различные температурные коэффициенты расширения, обеспечивающие постоянный объем перетока вязкой жидкости через канал.
Кроме того, для улучшения саморегулируемости канала перетока углубления матрицы и выступы пуансона могут иметь форму концентрических окружностей, причем входное отверстие канала для перетока вязкой жидкости размещено в центре.
Вариантом формы углублений матрицы и выступов пуансона может быть выбрана трапецеидальная форма.
Вариантом формы углублений матрицы и выступов пуансона может быть выбрана треугольнаяа форма.
Кроме того, для дальнейшего улучшения канала перетока матрица может быть выполнена из упругого материала, имеющего меньшую твердость, чем материал пуансона: матрица из капролактана, разновидности каучукотефлоновой или резины, а пуансон из алюминия. Это снижает также влияния изменений температуры на скорость перетока жидкости гидротормоза, поскольку материалы матрицы и пуансона имеют различные температурные коэффициенты объемного расширения. Это различие изменяет (при изменении температуры) сечение канала перетока таким образом, что объем перетока жидкости через него мало изменяется при изменении температуры.
Кроме того, как уже описано выше, после проверки герметичности колонны НКТ перед началом сооружения щелей и в конце работ для исключения операции вымыва шарового клапана на верхнем конце внутренней трубы установлен верхний шаровой клапан, выше верхнего клапана размещена муфта для ловли шаров клапанов.
Диаметр верхнего шарового клапана должен быть больше диаметра нижнего шарового клапана.
Муфта для ловли шаров может быть разделена внутренними вертикальными стенками на три сектора, причем первый сектор соединен внизу проходом только со вторым, соседним сектором, второй сектор соединен внизу проходом с нижним концом муфты, а третий сектор соединен вверху проходом с верхним концом муфты, при этом второй и третий секторы соединены между собой в верхней части отверстием диаметром более диаметра самого большого шара-клапана между верхним концом внутренней трубы и насосно-компрессорной трубой, над вторым и третьим секторами размещена отражательная решетка, размер ячеек которой меньше диаметра наименьшего шара, а отражательная решетка выполнена наклонной, повышаясь к стенке муфты под углом не менее 60°.
Для улучшения работы муфты ее нижний угол, расположенный напротив отверстия, соединяющего второй и третий секторы, может быть выполнен наклонным, повышаясь к стенке муфты.
Кроме того, для прорезки щелей под заданным углом (шагом) к образующей обсадной колонны устройство может быть дополнено направляющим шаблоном, размещенным над корпусом перфоратора и жестко связанным с ним, выполненным в виде трубы с прорезями, в которые вставлены головки штифтов, укрепленных на корпусе взвода в нижней его части, при этом прорези и штифты задают траекторию движения сопел гидроабразивного перфоратора скользящей по корпусу взвода.
Кроме того, для получения сигнала об окончании хода перфоратора над верхней пробкой гидротормоза в корпусе трубы могут быть выполнены сквозные отверстия-сопла, причем отверстия-сопла нормально закрыты дифференциальным поршнем с затвором, открывающимся при смещении дифференциального поршня вниз, при этом на верхнем конце внутренней трубы установлен наружный выступ для зацепления затвора дифференциального поршня
Раскрытие сущности изобретения
Сущность изобретения поясняется пятью чертежами:
фиг.1 – пример структурной схема устройства прорезки щелеобразных выработок в скважине гидропескоструйным способом;
фиг.2 – пример выполнения узла для перетока жидкости между камерами гидротормоза;
фиг.3 – пример выполнения направляющих для задания траектории резки щели;
фиг.4 – пример конструкции муфты для ловли шаров клапанов;
фиг.5 – пример устройства сигнализации об окончании хода трубы
На чертежах приняты следующие обозначения: 1 – насосно-компрессная труба (НКТ), 2 – корпус – внешняя труба, 3 – зазор между трубами устройства, 4 – внутренняя труба, 5 – устройство взвода, 6 – шаровой клапан, 7 – гидроабразивный перфоратор, 8 – гидротормоз, 9 и 10 – верхняя и нижняя камеры, 11 и 12 – верхняя и нижняя пробки, 13 – вязкая жидкость, 14 – подвижный поршень между камерами, 15 – канал в поршне, 16 – сигнальное устройство, 17 – пуансон, 18 – матрица, 19 – пружина, 20 – прижим, 21 – каналы свободного перетока жидкости, 22 – направляющая-шаблон, 23 – прорезь шаблона, 24 – штифты, 25 – муфта для ловли шаров клапанов, 26 – разделительные стенки, 27 – первый сектор, 28 – второй сектор, 29 – третий сектор, 30 – отражательная сетка, 31 – сквозные отверстия-сопла, 32 – дифференциальный поршень, 33 – подвижный затвор дифференциального поршня, 34 – наружные выступы внутренней трубы (для зацепления затвора дифференциального поршня).
Структурная схема устройства (как и прототип фиг.1) содержит корпус-трубу 2, герметично жестко присоединенную к концу насосно-компрессорной трубы 1, внутри которой подвижно соосно с зазором 3 установлена внутренняя труба 4, подпружиненная снизу пружиной устройства взвода 5. На торце внутренней трубы 4 установлен шаровой клапан 6, выше которого размещен перфоратор 7. В междутрубном зазоре 3 установлен гидротормоз 8, содержащий две вертикально расположенные герметичные камеры 9 и 10. Камеры сверху и снизу ограничены пробками 11 и 12 и заполнены вязкой жидкостью 13. Они разделены поршнем 14, имеющим сквозное отверстие 15 для перетока жидкости между камерами. Верхняя пробка 11 жестко соединена с корпусом 2 и подвижно с внутренней трубой 4, поршень 14 жестко соединен с внутренней трубой 4 и подвижно – с корпусом 2, а нижняя пробка 12 подвижна относительно обеих труб. Сигнальное устройство 16 (штырь) установлен под шаровым клапаном 6 на держателе, жестко соединенном с корпусом 2.
Устройство фиг.2 – узел для перетока тормозной жидкости между камерами гидротормоза – содержит корпус, нижним основанием которого является пуансон 17, на который наложена матрица 18, прижатая к пуансону 17, пружиной 19 и прижимом 20, ввернутым в корпус на резьбе. Сквозь массивный прижим 20 выполнены каналы 21 для свободного перетока жидкости.
Устройство фиг.3 – пример выполнения направляющих для задания траектории резки щели – состоит из направляющего шаблона 22, жестко связанного с корпусом перфоратора 7, в прорези 23 шаблона 22 вставлены штифты 24, ввернутые в корпус пружины взвода 5. При перемещении перфоратора 7 он будет поворачиваться на заданный прорезью 23 шаблона 22 угол за счет штифтов 24, ввернутых в корпус устройства взвода 5. Наклон прорезаемой перфоратором 7 щели повторит наклон прорези 23 в шаблоне-направляющей 22.
Устройство фиг.4 – пример выполнения муфты для ловли шаров клапанов. Муфта 25 состоит из муфты с внутренними вертикальными стенками 26, разделенной на три сектора, причем первый сектор 27 соединен проходом только со вторым 28, соседним сектором, второй сектор 28 соединен внизу проходом с нижним концом муфты, а третий сектор 29 соединен вверху проходом с верхним концом муфты 25. При этом второй и первый секторы (27 и 28) соединены между собой в нижней части отверстием. Над вторым (28) и третьим (29) секторами размещена отражательная решетка 30, размер ячеек которой меньше диаметра наименьшего шара. Решетка 30 выполнена наклонной, повышаясь к стенке муфты.
Устройство фиг.5 – устройство сигнализации об окончании хода – состоит из отверстий-сопел 31, расположенных над верхней пробкой 11 гидротормоза 8 в корпусе 2 трубы, Отверстия-сопла 31 нормально закрыты дифференциальным поршнем 32 с подвижным затвором. 33, причем дифференциальный поршень 32 выполнен с открыванием при вертикальном смещении вниз. На верхнем конце внутренней трубы 4 выполнен наружный выступ 34 для зацепления подвижного затвора 33 дифференциального поршня 32.
Устройство прорезки щелеобразных выработок работает следующим образом.
Внешнюю трубу 2 соединяют муфтой с насосно-компрессорной трубой 1, второй конец которой соединен с насосными агрегатами наземного оборудования. Заполняют верхнюю камеру 9 вязкой жидкостью 13, при этом количество жидкости для каждой резки выбирают исходя из заранее рассчитанной длины и глубины щели – на основании известности параметров канала 15, соединяющего камеры 9 и 10 (капилляр), температурной зависимости его размеров, текучести жидкости 13 и давления насосного агрегата. Затем корпус устройства 2 (с находящимися в нем внутренней трубой 4, гидротормозом 8, устройством взвода 5, гидроабразивным перфоратором 7 и шаровым клапаном 6) опускают на заданную глубину так, чтобы сопла гидроабразивного перфоратора 7 оказались в месте скважины, где должен быть верхний край прорезаемой щели. Во внутреннюю трубу 4 бросают шар (для закрывания шарового клапана 6). Включают насосный агрегат наземного оборудования, который с заданным (расчетным) давлением начинает закачивать во внутреннюю трубу 4 устройства абразивную смесь. Смесь проходит до шарового клапана 6 и плотно закрывает его. Гидроабразивный перфоратор 7 через сопла начинает прорезать щели вначале – в боковых стенках обсадной колонны скважины, затем – в прискважинной зоне. Глубина прорезания – будущей щели зависит, в частности, от времени, в течение которого производится резка. Давление внутри внутренней трубы 4 (через которую под давлением подается абразивная жидкость) выталкивает ее (внутреннюю трубу 4) вниз из внешней трубы 2, которая жестко укреплена на НКТ 1. Происходит медленное, заданное по времени каналом 15, перетекание вязкой жидкости (например, масла) 13 из верхней камеры 9 гидротормоза 8 в нижнюю камеру 10. Таким образом, внутренняя труба 4 с установленными на ней перфоратором 7 медленно опускается вниз, и скорость ее перемещения определяет глубину прорезания щели. В это время на пробку 12 нижней камеры 10 снизу давит только пружина взвода 5, давление которой выбрано существенно меньше, чем давление на верхнюю пробку 11, – т.е. давление пружины взвода 5 не мешает перетеканию вязкой жидкости из верхней камеры 9 в нижнюю 10. Этот процесс медленного опускания (при наличии давления в НКТ) продолжается до тех пор, пока из верхней камеры не выдавится в нижнюю все находящееся в ней масло. Т.е. объем вязкой жидкости 13, изначально влитый в верхнюю камеру 9, определяет высоту прорезки – будущей щели. Длительность перетекания определяет скорость опускания устройства для прорезки щелей, т.е. глубину прорезывания данной щели. Если необходимая высота прорезки достигнута раньше окончания масла в верхней камере, то в этот момент снимается давление в НКТ, процесс прорезания щели и соответствующего перетекания масла прекращается. При этом, поскольку давление на верхнюю пробку гидротормоза прекращено, пружина взвода 5 выталкивает вязкую жидкость 13 из нижней камеры в верхнюю, поднимая внутреннюю трубу в исходное положение. Тот же процесс происходит после выдавливания всего масла в нижнюю камеру, если при этом снимают давление в НКТ 1.
Гидротормоз 8 – узел для перетока вязкой жидкости между камерами (фиг.2) работает следующим образом. Напомним, что оно содержит две вертикально расположенные герметичные камеры 9 и 10, ограниченные верхней и нижней пробками 11 и 12. Указанные камеры заполнены вязкой жидкостью 13 и разделены подвижным поршнем 14 с каналом 15 для перетока вязкой жидкости 13 между камерами, причем верхняя пробка 11 жестко соединена с корпусом 2 и подвижно с внутренней трубой 4, поршень 14 жестко соединен с внутренней трубой 4 и подвижно – с корпусом 2, а нижняя пробка 12 подвижна относительно обеих труб и опирается снизу на упор, установленный на внутренней стороне корпуса гидротормоза. Передвижение пробки 12 обеспечивает давление, равное затрубному, что снижает требования к прочности корпуса гидротормоза 8 до степени уплотнения взаимно перемещаемых деталей гидротормоза. Передвижение внутренней трубы 4 вниз происходит за счет создания давления в колонне НКТ 1 и внутренней трубе 4. Скорость передвижения зависит от скорости перетекания вязкой жидкости 13 через канал 15 в поршне 14 (капилляр). Давление внутри внутренней трубы 4 (через которую под давлением подается абразивная жидкость) выталкивает ее (внутреннюю трубу 4) вниз из внешней трубы 2, которая жестко укреплена на НКТ 1. Происходит медленное, заданное по времени каналом 15 перетекание масла 13 из верхней камеры 9 гидротормоза 8 в нижнюю камеру 10. Таким образом, внутренняя труба 4 с установленным на ней перфоратором 7 медленно опускается вниз, и скорость ее перемещения определяет глубину прорезания (щели). В это время на пробку 12 нижней камеры 10 снизу давит только пружина устройства взвода 5, давление которой выбрано существенно меньше, чем давление на верхнюю пробку 11, – т.е. давление пружины устройства взвода 5 не мешает перетеканию вязкой жидкости 13 из верхней камеры 9 в нижнюю 10. Этот процесс медленного опускания (при наличии давления в НКТ 1) продолжается до тех пор, пока из верхней камеры 9 не выдавится в нижнюю 10 все находящееся в ней масло 13. Т.е. объем вязкой жидкости 13, изначально влитый в верхнюю камеру 9, определяет высоту прорезки – будущей щели. Длительность перетекания определяет скорость опускания устройства для прорезки щелей, т.е. глубину прорезывания данной щели. Если необходимая высота прорезки достигнута раньше окончания масла в верхней камере, то в этот момент снимается давление в НКТ 1 и процесс прорезания щели и соответствующего перетекания масла прекращается. При этом, поскольку давление на верхнюю пробку 11 гидротормоза 8 прекращено, пружина взвода 5 выталкивает вязкую жидкость 13 из нижней камеры 10 в верхнюю 9, поднимая внутреннюю трубу 4 в исходное положение. Тот же процесс происходит после выдавливания всего масла 13 в нижнюю камеру 10, если при этом снимают давление в НКТ 1.
Устройство направляющих для задания направления резки щели (фиг.3) работает следующим образом. При перемещении перфоратора 7 вниз за счет рабочего давления во внутренней трубе 4 жестко прикрепленный к перфоратору 7 шаблон-направляющая 22 будет поворачивать перфоратор 7 на заданный прорезями 23 шаблона 22 угол за счет штифтов 24, ввернутых в корпус пружины взвода 5. Наклон вертикальной оси симметрии щели к вертикали повторит наклон прорези 23 шаблона-направляющей 22.
Муфта для ловли шаров клапанов 25 (фиг 4) работает следующим образом. Брошенный в НКТ 1 шар пролетает через первый сектор 27, так как два других сектора (28 и 29) закрыты отражательной решеткой 30. Далее, в зависимости от диаметра шаря, он садится в гнездо одного из клапанов и уплотняет его. После организации обратной промывки темпом, поднимающим шаровой клапан 6 в НКТ 1, шар попадает во второй сектор 28, ударяется об отражательную решетку 30 снизу и падает в «темный» третий сектор 29. Внутренняя труба 4 свободна, и все клапаны открыты. В скважине есть свободная прямая и обратная промывка.
Устройство сигнализации об окончании хода внутренней трубы 4 (фиг.5) работает следующим образом. Внутренняя труба 4, перемещаясь в процессе работы вниз, в конце цикла доходит своим верхним концом до верхней пробки 11 гидротормоза 8, над которой (верхней пробкой 11) в корпусе-трубе 2 устроены отверстия-сопла 31, соединяющие внутреннее пространство трубы с затрубным пространством и закрытые в нормальном положении дифференциальным поршнем 32 с подвижным затвором 33. В верхней части внутренней трубы 4 устроен наружный выступ 34. В конце хода выступ 34 упирается в подвижный затвор 33 и открывает отверстия-сопла 31 за счет перемещения дифференциального поршня 32. Процесс протекает лавинообразно, так как после соединения трубного и затрубного пространства дифференциальный поршень 32 не может удерживаться в верхнем положении. Он под собственным весом и под воздействием потока в отверстия-сопла 31 опускается в крайнее нижнее положение. На поверхности данный процесс выражается в падении давления в трубном пространстве за счет появления дополнительной циркуляции из трубного в затрубное пространство.
Предложенные технические решения содержат ряд важных находок, выгодно отличающих его от аналогов и прототипа. Рассмотрим это подробнее.
1) Канал 15, через который вязкая жидкость 13 перетекает между камерами 10 и 9 гидротормоза, выполнен разъемным, из матрицы 18 и пуансона 17, в которых сделаны одинаковые по форме и взаимно совпадающие углубления и выступы. Поскольку глубина канавки больше высоты выступа, их соединение образует сечение канала (капилляра) 15. Матрица 18 прижата к пуасону 17 с определенным усилием, но упруго, с возможностью микродвижения относительно друг друга. Это движение возникает, если давление на одном из концов канала 15 станет большим, чем задано усилием при соединении деталей. При затухании движения жидкости через капилляр на одном из концов канала 15 возникнет давление, превышающее усилие сдвига, тогда подвижная матрица 18 сдвинется относительно пуансона 17, канал 15 расширится и тем самым ликвидирует эффект затухания фильтрации.
2) Форма углублений на матрице 18 и выступов пуансона 17 выбраны не полукруглого сечения, а, например, трапецеидальной формы, поэтому малейшее движение матрицы 18 относительно пуансона 17 существенно изменит сечение канала, что и ликвидирует эффект затухания движения жидкости через капилляр, а при выравнивании давления вернет каналу первоначальное, заданное сечение.
3) Матрица 18 выполнена из упругого материала (например, из капролактана, разновидностей каучуко-тефлоновой резины), причем меньшей, чем материала пуансона 17, твердости. При заданном прижиме матрицы 18 канал 15 имеет заданное сечение, то есть заданную скорость движения жидкости через канал. Меняя усилие прижима, можно изменить сечение канала 15, т.е. изменить (задать) скорость гидроабразивного перфоратора.
4) Углубления и выступы выполнены в форме концентрических окружностей. расположенных на поверхности матрицы (пуасона), а направление движения потока вязкой жидкости 13 выбрано от центра к периферии. Таким образом, получен плоский канал переменного сечения с легко задаваемым расходом жидкости и без затухания движения жидкости через канал.
5) Материалы матрицы и пуансона имеют различные температурные коэффициенты объемного расширения. Они подобраны так, чтобы изменение температуры в заданных пределах пропорционально уменьшало сечение канала так, чтобы объем перетока жидкости через канал оставался постоянным или, по крайней мере, меньше изменялся. Матрица может быть изготовлена из капролактана, а пуасон из дюралюминия. На практике такое устройство пропускало через себя масло МС 20-50 миллилитров в минуту при перепаде давления 4,0-5,0 МПа в диапазоне температур +20-75°С.
5) Для обеспечения нужного направления движению гидроабразивного перфоратора устройство оборудовано направляющей с прорезями такой формы, которая задает движение гидроабразивного перфоратора по заданной траектории. Направляющая жестко соединена с корпусом, в ее прорези свободно вставлены головки штифтов, закрепленных на держателе перфоратора, свободно вращающемся относительно корпуса. Указанные штифты ввернуты через прорези направляющей. Таким образом, достигается движение сопел гидроабразивного перфоратора по любой заданной траектории (по форме прорезей направляющей). В частности, при сооружении горизонтальных щелевых разгрузочных выработок в прискважинной зоне гидроабразивный перфоратор перемещают по вертикали на величину раскрытия щели и производят 4 реза на одной глубине, каждый раз поворачивая гидроабразивный перфоратор с колонной НКТ на 45°.
6) Информацию о скорости перемещения гидроабразивного перфоратора получают по факту срабатывания сигнала окончания рабочего хода. В корпусе-трубе 2, которая соединяет двигатель гидроабразивного перфоратора с колонной НКТ 1, в нижней части образованы сквозные отверстия-сопла 31, нормально закрытые дифференциальным поршнем 32 таким образом, что, когда внутренняя труба 4 опустится в крайнее нижнее положение, она специальным наружными выступом 34 сдвинет подвижный затвор 33 дифференциального поршня 32 и откроет указанные сквозные отверстия 31, образуя сообщение трубного и затрубного пространства. По падению рабочего давления судят о конце рабочего хода.
7) Для сокращения времени вымыва металлических шариков-клапанов в комплект устройства для перемещения гидроабразивного перфоратора введена муфта для ловли шаров клапанов 25. Муфта имеет увеличенную длину в сравнении со стандартной – на размер, равный сумме диаметров всех металлических шариков-клапанов, предполагаемых для использования в процессе работы. Диаметр муфты равен трем диаметрам самого большого металлического шарика-клапана, предполагаемого к использованию, плюс толщина стенок муфты, обеспечивающая безопасную работу на заданной глубине при рабочем давлении и весе устройства для проведения работ, плюс восемнадцать миллиметров – три стенки, устроенные внутри муфты. Разделительными стенками 26 муфта 25 разделена на три сектора (27-29) на всю длину. Первый сектор 27 имеет сообщение только со вторым сектором 28, третий сектор 29 – с верхним концом муфты, второй сектор 28 – с нижним. При этом первый и второй секторы, соединенные с верхним и нижним концом муфты, соединены между собой в нижней части отверстием больше диаметра самого большого металлического шарика-клапана. Третий, «темный» сектор 29 соединен в верхней («темной») части отверстием со вторым сектором 28, имеющим соединение с нижней частью муфты отверстием больше диаметра самого большого металлического шарика-клапана. Такое устройство позволяет применять гидроабразивный перфоратор с наконечником-пером, что, в свою очередь, позволяет без дополнительной спускоподъемной операции колонны НКТ произвести промывку и нормализацию забоя.
Промышленная применимость
Предложенные технические решения неоднократно реализовывались в практике. При этом никаких трудностей с промышленным производством устройств не было – все необходимые для изготовления устройств элементы, материалы, технологии давно и хорошо освоены. Стоимость заявленных устройств практически не отличается от стоимости устройств-прототипов.
Заявленные устройства использовались для повышения производительности нефтяных, газовых и нагнетательных скважин и были реализованы, в частности, на скважинах Ямбургского газоконденсатного месторождения в январе – феврале 2004 года г.Ямбург, Россия, и на скважинах Ен-Яхинского нефтегазоконденсатного месторождения в июле – августе 2004 года, г. Новый Уренгой, Россия. Работы подтвердили работоспособность предложенного устройства и достижение поставленных задач. Так, предлагаемым устройством было обработано четыре продуктивных пласта в различных скважинах на глубинах 3060-3870 метров средней толщиной 8-10 метров. В двух случаях разгрузочные выработки сооружались при повороте вертикальной оси симметрии под углом к вертикали 60°. В каждом случае была сооружена винтовая щель шагом 1,2-1,3 метра на всю толщину продуктивного пласта. Во всех случаях был получен четкий однозначный сигнал об окончании хода (32 срабатывания – падение давления с 40-20 до 8-12 МПа). В каждом случае промывок скважины с целью выноса песка и шлама (по окончании работ и при необходимости – дважды) рабочий слов попадал в муфту-шароловку через 5-7 минут обратной промывки. Производительность скважин первоначально составляла 30-60 тысяч кубометров газа в сутки. На всех указанных продуктивных пластах до сооружения разгрузочных щелей по предлагаемой технологии производились работы по интенсификации другими известными способами: гидропескоструйная перфорация и щелевой надрез. При этом ни один из упомянутых известных способов интенсификации существенного увеличения производительности данных скважин не дал. После обработки скважин по предлагаемому способу производительность увеличилась до 120-160 тысяч кубометров в сутки.
Поскольку до применения предложенных устройств на этих же объектах применялись устройства-прототипы, то оказалось возможным провести прямое сравнение их эффективности. Трудоемкость идентичных работ сократилась почти вдвое (в основном за счет ускорения извлечения шаров клапана, уменьшения числа остановок и переустановок режущего оборудования), а производительность обработанных скважин повысилась на 250-300% (за счет более точного выполнения расчетных размеров щелей в прискважинной зоне). Кроме того, заметно увеличились срок надежной службы режущих устройств и удобство обслуживания – за счет обеспечения стабильного режима работы, более эффективного использования ресурса сопла (не режется лишнее) и оперативного контроля процесса резки.
Таким образом, задачи, поставленные изобретением, выполнены. Авторам неизвестны устройства, аналогичные заявленному.
Предложенные решения неочевидны для специалиста – иначе они уже давно были бы использованы на практике, поскольку нефтяные, газовые, нагнетательные, гидрогеологические и водоснабженческие скважины широко востребованы во все мире, огромное число специалистов постоянно их усовершенствуют – повышают эффективность, срок службы, удешевляют и т.д. Выше была показана также промышленная применимость заявленных решений. По нашему мнению, предложенные решения удовлетворяют всем требованиям, предъявляемым к изобретению, – они новы, имеют изобретательский шаг и промышленно применимы.
Литература
1. Патент США 3966992 2. 3аявка PCT/RU 93/00101, публикация WO 94/05898 от 17.03.1994.
3. Патент США №5337825 от 16.08.1994.
4. Авт. Св. СССР 1031263, опубл. 1984.
5. Патент РФ №2074957, опубл. 10.03.1997.
6.Справочная книга по добыче нефти, М., Недра, 1974 г.
7.Указания по щелевой разгрузке прискважинной зоны, Л., ВНИМИ, Минуглепром, 1987 г.
8. Патент США №6652741 от 25.11.2003 г.
9. А.Н.Иванов, Г.Н.Крылов и др. О притоке жидкости к скважине при использовании различных методов вскрытия продуктивных пластов. Геофизический журнал, 1984 г., №5.
Формула изобретения
1. Устройство прорезки щелеобразных выработок в скважине гидропескоструйным способом, содержащее трубчатый корпус, герметично и жестко присоединенный к концу насосно-компрессорной трубы, внутри которого соосно с зазором установлена внутренняя труба, подпружиненная снизу пружиной взвода и выполненная с возможностью движения, на нижнем торце внутренней трубы установлен шаровой клапан, выше которого размещен перфоратор, отличающееся тем, что устройство дополнительно содержит верхний шаровой клапан, установленный на верхнем конце внутренней трубы, установленную над ним муфту для ловли шаров клапанов и гидротормоз, образованный заполненными вязкой жидкостью двумя вертикально расположенными герметичными камерами, ограничивающими их верхней и нижней пробками и разделенными поршнем с каналом для перетока вязкой жидкости между камерами, верхняя пробка жестко соединена с корпусом и с возможностью движения с внутренней трубой, поршень жестко соединен с внутренней трубой и с возможностью движения с корпусом, нижняя пробка выполнена с возможностью движения относительно обеих труб, канал между камерами гидротормоза выполнен саморегулируемым в виде упруго, с возможностью взаимного сдвига, сжатых между собой матрицы и пуансона с одинаковыми по форме взаимно совпадающими углублениями и выступами, которые меньше углублений, причем материалы матрицы и пуансона имеют различные температурные коэффициенты объемного расширения, обеспечивающие постоянный объем перетока вязкой жидкости через канал.
2. Устройство по п.1, отличающееся тем, что углубления матрицы и выступы пуансона имеют форму концентрических окружностей, причем входное отверстие канала для перетока вязкой жидкости размещено в центре.
3. Устройство по п.1, отличающееся тем, что форма углублений матрицы и выступов пуансона выбрана трапецеидальной.
4. Устройство по п.3 или 4, отличающееся тем, что пуансон выполнен из алюминия, а матрица выполнена из упругого материала – капролактана, разновидности каучуко-тефлоновой резины, имеющего меньшую твердость, чем алюминий, из которого выполнен пуансон.
5. Устройство по п.1, отличающееся тем, что диаметр верхнего шарового клапана больше диаметра нижнего шарового клапана.
6. Устройство по п.1, отличающееся тем, что муфта для ловли шаров разделена внутренними вертикальными стенками на три сектора, причем первый сектор соединен внизу проходом только со вторым, соседним сектором, второй сектор соединен внизу проходом с нижним концом муфты, а третий сектор соединен вверху проходом с верхним концом муфты, при этом второй и третий секторы соединены между собой в верхней части отверстием диаметром более диаметра самого большого шара – клапана, между верхним концом внутренней трубы и насосно-компрессорной трубой, над вторым и третьим секторами размещена отражательная решетка, размер ячеек которой меньше диаметра наименьшего шара, а отражательная решетка выполнена наклонной, повышаясь к стенке муфты под углом не менее 60°.
7. Устройство по п.6, отличающееся тем, что нижний угол муфты, расположенный напротив отверстия, соединяющего второй и третий сектора, выполнен наклонным, повышаясь к стенке муфты.
8. Устройство по п.1, отличающееся тем, что оно дополнено направляющим шаблоном, размещенным под корпусом и жестко связанным с ним, выполненным в виде трубы с прорезями, в которые вставлены головки штифтов, закрепленные на корпусе пружины взвода перфоратора.
9. Устройство по п.1, отличающееся тем, что дополнительно над верхней пробкой гидротормоза в стенке трубы-корпуса устройства выполнены сквозные отверстия, нормально закрытые затвором дифференциального поршня, выполненным с возможностью открытия при смещении дифференциального поршня вниз, при этом на верхнем конце внутренней трубы выполнен наружный выступ для зацепления затвора дифференциального поршня.
РИСУНКИ
PC4A – Регистрация договора об уступке патента СССР или патента Российской Федерации на изобретение
Прежний патентообладатель:
Закрытое акционерное общество “ЗапСибГаз”
(73) Патентообладатель:
Закрытое акционерное общество “Заполярстройресурс”
Договор № РД0047480 зарегистрирован 27.02.2009
Извещение опубликовано: 10.04.2009 БИ: 10/2009
TK4A – Поправки к публикациям сведений об изобретениях в бюллетенях “Изобретения (заявки и патенты)” и “Изобретения. Полезные модели”
Напечатано: (73) Закрытое акционерное общество «Заполярстройресурс»
Следует читать: (73) Общество с ограниченной ответственностью «Заполярстройресурс»
Номер и год публикации бюллетеня: 10-2009
Код раздела: PC4A
Извещение опубликовано: 20.08.2009 БИ: 23/2009
|
|