|
|
(21), (22) Заявка: 2004118475/03, 18.06.2004
(24) Дата начала отсчета срока действия патента:
18.06.2004
(43) Дата публикации заявки: 10.01.2006
(46) Опубликовано: 27.06.2006
(56) Список документов, цитированных в отчете о поиске:
Работа погружных центробежных насосов в скважинах. Труды Гипротюменнефтегаз. Вып. 24, Тюмень, 1971, с. 3-9. RU 2230181 C2, 10.06.2004. SU 1814132 A1, 07.05.1993. SU 1211460 A, 15.02.1986. RU 2215062 C1, 27.10.2003. DE 543770 A, 09.02.1932.
Адрес для переписки:
423230, Республика Татарстан, г. Бугульма, ул. Некрасова, 6, Р.Р. Кадырову
|
(72) Автор(ы):
Халимов Рустам Хамисович (RU), Воронин Александр Иванович (RU), Харитонов Альберт Николаевич (RU), Кадыров Рамзис Рахимович (RU), Андреев Владимир Александрович (RU), Салимов Марат Халимович (RU)
(73) Патентообладатель(и):
Открытое акционерное общество “Татнефть” (RU)
|
(54) УСТРОЙСТВО ДЛЯ УСТАНОВКИ ЭЛЕКТРОЦЕНТРОБЕЖНОГО НАСОСА
(57) Реферат:
Изобретение относится к устройствам по установке погружного электроцентробежного насоса в шурфе для закачки воды в скважину в системе поддержания пластового давления. Обеспечивает расширение возможностей использования типоразмеров насосов, защиту обсадной колонны шурфа от коррозии, дополнительное охлаждение электродвигателя, облегчение извлечения из шурфа насоса при ремонте. Сущность изобретения: устройство включает установленную в шурфе промежуточную колонну с электроцентробежным насосом для закачки воды в одну или несколько скважин. Промежуточная колонна выполнена герметичной с возможностью заполнения обсадной колонны шурфа нефтью. При этом эта колонна дополнительно содержит концентрически расположенную внутреннюю секционную трубу с возможностью подвески электроцентробежного насоса ниже границы промерзания грунта и демонтажа. В торцевой части секционная труба имеет зубья и перегородку в виде крестовины с наклонными лопастями. 1 ил.
Изобретение относится к устройствам для установки погружного электроцентробежного насоса (УЭЦН) в специальном шурфе при закачке воды в нагнетательные скважины в системе поддержания пластового давления.
Известно устройство, используемое при осуществлении способа по патенту РФ №2079640, согласно которому от источника водоснабжения по трубопроводу вода подается к установленному в шурфе в непосредственной близости от нагнетательной скважины электроцентробежному насосу, производящему закачку воды в нагнетательную скважину.
Недостатком известного устройства является недостаточное охлаждение электродвигателя насоса из-за отсутствия движения воды в районе расположения электродвигателя насоса, укрупнение и накопление в шурфе осадка взвешенных частиц, усугубляющих недостаточное охлаждение.
Наиболее близким к предлагаемому изобретению является подземная насосная установка, содержащая шурф с установленной промежуточной колонной и размещенным в ней электропогружным центробежным насосом [Работа погружных центробежных насосов в скважинах. Труды Гипротюменнефтегаз. Вып.24. – Тюмень, 1971, с.3-9].
Недостатками известного устройства являются ограничение по установке разных типоразмеров электроцентробежных насосов в шурфе, незащищенность УЭЦН от замерзания, незащищенность обсадной колонны шурфа от коррозии, недостаточное охлаждение электродвигателя УЭЦН, трудность проведения ловильных и ремонтных работ при падении УЭЦН на забой шурфа.
Технической задачей предлагаемого изобретения является расширение использования типоразмеров электроцентробежных насосов, защита обсадной колонны шурфа от коррозии, дополнительное охлаждение электродвигателя, облегчение извлечения из шурфа электроцентробежного насоса при проведении ремонтных работ.
Для решения поставленной технической задачи устройство для установки электроцентробежного насоса, включающее установленную в шурфе промежуточную колонну с электроцентробежным насосом, согласно изобретению, промежуточная колонна выполнена герметичной с возможностью заполнения обсадной колонны шурфа антикоррозионной незамерзающей жидкостью, причем промежуточная колонна дополнительно содержит концентрически расположенную внутреннюю секционную трубу с возможностью подвески электроцентробежного насоса ниже границы промерзания грунта и демонтажа. Секционная труба, согласно изобретению, в торцевой части имеет зубья и снабжена перегородкой в виде крестовины с наклонными лопастями.
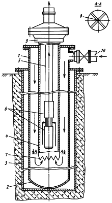
На чертеже представлено устройство для установки погружного электроцентробежного насоса. Устройство содержит герметичную промежуточную колонну 1 с эллиптическим днищем 2, размещенную в обсадной колонне 3, которая зацементирована в специальном шурфе. Промежуточная колонна 1 дополнительно содержит внутреннюю секционную трубу 4, в которой на подъемной трубе 5 подвешен электроцентробежный насос (УЭЦН) 6. Торцевая часть внутренней секционной трубы 4 снабжена зубьями 7 и перегородкой в виде крестовины 8 с наклонными лопастями. Внутренняя секционная труба 4 подвешена на фланцах 9 с возможностью: а) замены самой трубы с разной длиной и диаметром; б) демонтажа для ремонта УЭЦН; в) замены УЭЦН на другой типоразмер с иной производительностью.
Устройство работает следующим образом. При использовании известных установок погружного УЭЦН для закачки воды в шурфе закачиваемая вода, обладающая коррозионными свойствами, разъедает обсадную колонну шурфа. Этому способствует также повышенное давление в обсадной колонне специального шурфа. Остановка закачки воды в нагнетательную скважину и сам ремонт для восстановления герметичности часто стоят дороже бурения нового шурфа, поэтому старый шурф ликвидируют. Для предотвращения коррозии металла в предлагаемом изобретении пространство между обсадной колонной 3 и герметичной промежуточной колонной 1 заполняют антикоррозионной незамерзающей жидкостью. В качестве такой жидкости используют нефть с антикоррозионной присадкой. Кроме этого, наличие герметичной промежуточной колонны 1 позволяет разгрузить обсадную колонну 3 шурфа от давления закачки, что, как следствие: а) позволяет использовать менее прочную (дешевую) обсадную колонну; б) удлиняет срок службы шурфа в целом. Герметичность промежуточной колонны 1 обеспечена установкой отбортованного эллиптического днища 2 по ГОСТ 6533-78. Герметичность промежуточной колонны 1 контролируется при помощи специального штуцера (не показан), расположенного на планшайбе осадной колонны 3. Защита от замерзания при аварийной или плановой остановке закачки воды обеспечена подвеской УЭЦН во внутренней секционной трубе 4 при помощи подъемной трубы 5 ниже границы промерзания грунта. Среднесуточные естественные температуры грунта в зависимости от глубины приведены в таблице [А.В.Деточенко, А.Л.Михеев, М.М.Волков. Спутник газовика. М., Недра, 1978, с.91, табл.3.11., строка для г.Уфа]. Закачиваемая в скважину вода содержит взвешенные частицы, которые в застойной области шурфа известных устройств укрупняются и заполняют осадком всю застойную область. При этом ухудшается теплоотвод от электродвигателя насоса, что сопровождается его перегревом и выходом из строя. Для дополнительного охлаждения электродвигателя за счет удлинения пути закачиваемой воды в два раза, в предлагаемом изобретении промежуточная колонна 1 выполнена герметичной и содержит секционную внутреннюю трубу 4, в торцевой части которой имеются зубья 7 и размещена перегородка в виде крестовины 8 с наклонными лопастями для турбулизации потока воды в секционной трубе 4. В случае накопления осадка в герметичной промежуточной колонне 1, зубья 7 секционной трубы 4 в режиме промывки способствуют разрыхлению и удалению осадка, приносимого закачиваемой водой. В режиме промывки закачиваемая вода нисходящим потоком проходит между секционной трубой 4 и промежуточной колонной 1, меняет направление на противоположное и размывает осадок, проходя через зубья 7 и наклонные лопасти крестовины 8. Затем вода с осадком удаляется из промежуточной колонны 1. Турбулизация восходящего потока воды в основном режиме закачки в нагнетательные скважины, возникающая при проходе воды через зубья 7 и наклонные лопасти крестовины 8, предотвращает, как следствие, а) оседание взвешенных частиц, б) перегрев электродвигателя УЭЦН 6. Кроме того, в известных устройствах часто происходящие поломки сопровождаются падением частей погружного УЭЦН на забой шурфа. В предлагаемом устройстве крепление внутренней секционной трубы 4 к промежуточной колонне 1 с помощью фланцевого соединения 9 и наличие перегородки в виде крестовины 8 обеспечивает возможность демонтажа и подъема внутренней секционной трубы 4 с находящимся в ней УЭЦН 6 для производства ремонта или замены на другой типоразмер. Вода для закачки поступает (путь показан на чертеже стрелками) в промежуточную колонну 1 по подводящему трубопроводу 10, проходит нисходящим потоком между промежуточной колонной 1 и внутренней секционной трубой 4, далее меняет направление на противоположное и восходящим потоком в турбулентном режиме омывает электродвигатель УЭЦН. Затем вода поступает на фильтр насоса и подается под давлением на поверхность по подъемной колонне 5, на которой УЭЦН 6 подвешен в секционной трубе 4. Далее закачиваемая вода подается в нагнетательные скважины. Это позволяет производить закачку воды в одну или несколько скважин в диапазоне давлений от 8,5 до 19,0 МПа при расходе от 20 до 1000 м3/сут, то есть использовать УЭЦН в качестве кустовой насосной станции. На существующих насосных станциях подключенные нагнетательные скважины имеют разную приемистость и давление закачки. Использование предлагаемого изобретения позволяет получить дополнительный технический результат за счет возможности группировать скважины по приемистости и давлению закачки, то есть использовать разные УЭЦН для раздельной разработки высокопродуктивных и малопродуктивных нефтяных пластов.
Формула изобретения
Устройство для установки электроцентробежного насоса, включающее установленную в шурфе промежуточную колонну с электроцентробежным насосом для закачки воды в одну или несколько скважин, отличающееся тем, что промежуточная колонна выполнена герметичной с возможностью заполнения обсадной колонны шурфа нефтью, а промежуточная колонна дополнительно содержит концентрически расположенную внутреннюю секционную трубу с возможностью подвески электроцентробежного насоса ниже границы промерзания грунта и демонтажа, при этом в торцевой части секционная труба имеет зубья и перегородку в виде крестовины с наклонными лопастями.
РИСУНКИ
|
|