|
|
(21), (22) Заявка: 2004122358/03, 20.07.2004
(24) Дата начала отсчета срока действия патента:
20.07.2004
(43) Дата публикации заявки: 20.01.2006
(46) Опубликовано: 27.06.2006
(56) Список документов, цитированных в отчете о поиске:
БУЛАТОВ А.И. и др., Справочник инженера по бурению, т.1, Москва, Недра, 1985, с.336, рис.2.76. SU414401 А, 05.02.1974. SU 1601346 A1, 23.10.1990. RU 2203385 C2, 27.04.2003. RU 2163290 C2, 20.02.2001. RU2129650 C1, 27.04.1999. RU2070957 C1, 27.12.1996.
Адрес для переписки:
353454, Краснодарский край, г. Анапа, ул. Ленина, 141, кв.30, Н.М. Саркисову
|
(73) Патентообладатель(и):
Саркисов Николай Михайлович (RU), Шишов Сергей Васильевич (RU), Елизаров Николай Иванович (RU)
|
(54) СКВАЖИННЫЙ РАЗЪЕДИНИТЕЛЬ
(57) Реферат:
Изобретение относится к нефтяной и газовой промышленности и может быть использовано при ремонтных работах в нефтяных и газовых скважинах. Обеспечивает расширение технологических возможностей замкового разъединителя. Разъединитель включает верхнюю и нижнюю разъединяемые части, соединенные замком, отмыкаемым подвижной втулкой. Втулка имеет возможность перемещения под действием избыточного давления. Верхняя часть разъединителя выполнена в виде переводника, с которым связан замок, выполненный в виде цанги. Цанга заневолена подвижной втулкой, имеющей возможность перемещения под действием избыточного давления, создаваемого в затрубном пространстве, и соединена с поршнем, помещенным в кольцевую цилиндрическую полость. Полость гидравлически связана с внутренней полостью колонны труб. Цанга имеет многогранный паз и соединена с переводником, имеющим сверху присоединительную резьбу. Нижняя часть разъединителя выполнена в виде штока, верхний конец которого имеет многогранную форму и помещен в многогранный паз цанги, а его нижний конец имеет присоединительную резьбу. 2ил.
Изобретение относится к нефтяной и газовой промышленности и может быть использовано при ремонтных работах в скважинах.
При производстве внутрискважинных работ в некоторых случаях возникает необходимость разъединения одной части оборудования от другой. С этой целью разработаны механические разъединители различных конструкций. Наиболее распространенными являются резьбовые разъединители, основным рабочим элементом которых является левая резьба. Разъединение частей этих разъединителей происходит при вращении колонны труб вправо (A.И. Булатов, А.Г. Аветисов. Справочник инженера по бурению, том 1, М.: Недра, 1985 г.,стр.334, рис.2.74).
Однако применить такой разъединитель там, где вращение колонны труб не предусмотрено, невозможно. В этом случае используются штифтовые или кулачковые разъединители, конструкция которых позволяет производить вращение колонны труб (там же, стр.335, рис.2.75). Для разъединения штифтовых разъединителей требуется натяжение колонны труб с определенным усилием, а для разъединения кулачковых – разгрузка и поворот колонны труб. Эти разъединители менее применимы потому, что в первом случае требуется точный расчет диаметра и количества штифтов в соответствии с возможностями подъемной установки, а во втором – сложность изготовления кулачкового узла.
Универсальным устройством, позволяющим вращать колонну труб, расхаживать ее с любой нагрузкой является замковый разъединитель, в котором разъединяющиеся части соединены замком (там же, стр.336, рис.2.76) – прототип.
Недостатком этого устройства является то, что для размыкания замкового соединения используется втулка, которая перемещается в рабочее положение брошенным с поверхности шаром и созданием внутри колонны труб избыточного давления. Поэтому оно не применимо в том случае, если над ним в компоновке колонны труб включено другое устройство, не имеющее сквозного канала для прохождения бросового шара.
Целью настоящего изобретения является расширение технологических возможностей замкового разъединителя.
Поставленная цель достигается тем, что разъединитель, включающий верхнюю и нижнюю разъединяемые части, соединенные замком, отмыкаемым подвижной втулкой, которая имеет возможность перемещения под действием избыточного давления, в верхней своей части выполнен в виде переводника, с которым связан замок, выполненный в виде цанги, заневоленной подвижной втулкой, имеющей возможность перемещения под действием избыточного давления, создаваемого в затрубном пространстве, и соединенной с поршнем, помещенным в кольцевую цилиндрическую полость, гидравлически связанную с внутренней полостью колонны труб, причем цанга имеет многогранный паз и соединена с переводником, имеющим сверху присоединительную резьбу, нижняя часть разъединителя выполнена в виде штока, верхний конец которого имеет многогранную форму и помещен в многогранный паз цанги, а его нижний конец имеет присоединительную резьбу.
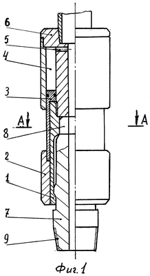
На фиг.1 изображен скважинный разъединитель, на фиг.2 – его сечение.
Скважинный разъединитель включает следующие основные узлы: цанга 1, заневоленная подвижной втулкой 2, поршень 3, помещенный в кольцевую цилиндрическую полость 4, отверстие 5 в переводнике 6. Нижняя часть разъединителя выполнена в виде штока 7, верхний конец 8 которго имеет многогранную форму, а нижний – резьбу 9.
Скважинный разъединитель включают в компоновку внутрискважинного оборудования, когда в процессе выполнения технологических операций может возникнуть необходимость разъединения одной части оборудования от другой. Такая необходимость возникает, например, при аварийной ситуации во время извлечения из скважины прихваченного объекта с помощью гидродомкрата, который не имеет сквозного проходного канала для бросового запорного шара, что исключает возможность использования существующего замкового разъединителя, а вращение колонны труб затруднительно. В этом случае между домкратом и ловильным инструментом в компоновку скважинного оборудования включают предлагаемый разъединитель, который через переводник 6 присоединяют к гидродомкрату, а резьбой 9 штока 7 к ловильному инструменту и спускают эту компоновку в скважину на ловильной колонне насосно-компрессорных или бурильных труб. При соединении с прихваченным объектом разъединитель передает на ловильный инструмент осевую сжимающую нагрузку благодаря соединению переводника 6 со штоком 7, вертикальную растягивающую нагрузку благодаря тому, что осевое перемещение штока 7 ограничено замком в форме цанги 1, заневоленной втулкой 2, передает правое и левое вращение, так как верхний конец 8 штока 7 имеет многогранную форму и помещен в многогранный паз цанги 1, соединенной с переводником 6, что исключает их взаимное вращение. Таким образом, разъединитель обеспечивает операцию присоединения ловильного инструмента к прихваченному объекту и работу с ним. Когда возникает необходимость отсоединить ловильный инструмент от гидродомкрата, в затрубном пространстве создают избыточное давление. При этом происходит следующее: так как существующие гидродомкраты позволяют обратную промывку, то между затрубным и трубным пространством возникает перепад давления, который создает усилие на поршне 3, перемещающее его вверх. Вместе с ним перемещается вверх подвижная втулка 2, которая освобождает цангу от заневоливания. В таком положении, при подъеме вверх ловильной колонны с гидродомкратом, цанга освобождает нижнюю часть разъединителя шток 7 вместе с присоединенным к нему ловильным инструментом, а гидродомкрат с верхней частью разъединителя, включающей переводник 6, поршень 3, цангу 1 и подвижную втулку 2, извлекают на поверхность.
Таким образом, конструкция скважинного разъединителя, обеспечивающая осевые и вращательные нагрузки, что является преимуществом замковых разъединителей, для разъединения оборудования в скважинных условиях не требует ни натяжения или вращения ловильной колонны, ни наличия сквозного проходного канала для прохождения запорного шара в расположенном над разъединителем оборудовании, поэтому возможностии использования его при ремонтных работах в скважинах значительно расширяются.
Формула изобретения
Скважинный разъединитель, включающий верхнюю и нижнюю разъединяемые части, соединенные замком, отмыкаемым подвижной втулкой, которая имеет возможность перемещения под действием избыточного давления, отличающийся тем, что верхняя часть разъединителя выполнена в виде переводника, с которым связан замок, выполненный в виде цанги, заневоленной подвижной втулкой, имеющей возможность перемещения под действием избыточного давления, создаваемого в затрубном пространстве, и соединенной с поршнем, помещенным в кольцевую цилиндрическую полость, гидравлически связанную с внутренней полостью колонны труб, причем цанга имеет многогранный паз и соединена с переводником, имеющим сверху присоединительную резьбу, нижняя часть разъединителя выполнена в виде штока, верхний конец которого имеет многогранную форму и помещен в многогранный паз цанги, а его нижний конец имеет присоединительную резьбу.
РИСУНКИ
|
|