|
|
(21), (22) Заявка: 2004130598/11, 20.10.2004
(24) Дата начала отсчета срока действия патента:
20.10.2004
(46) Опубликовано: 27.06.2006
(56) Список документов, цитированных в отчете о поиске:
RU 2176001 C2, 20.11.2001. SU 1079724 А, 15.03.1984. US 5651317, 29.07.1997. JP 4174102, 22.06.1992. GB 1134076, 20.11.1968.
Адрес для переписки:
644029, г.Омск, а/я 251, С.Н. Филоненко
|
(72) Автор(ы):
Литневский Владимир Аркадьевич (RU), Головаш Анатолий Нойович (RU), Байбеков Алексей Хамитович (RU), Щербинин Валерий Александрович (RU)
(73) Патентообладатель(и):
Байбеков Алексей Хамитович (RU)
|
(54) РЕЛЬСОЗАХВАТНОЕ УСТРОЙСТВО
(57) Реферат:
Изобретение относится к области строительства железнодорожных дорог, в частности к средствам, применяемым при проведении текущего содержания и ремонта рельсового пути, и может быть использовано в устройствах для разгонки зазоров в рельсовых стыках. Рельсозахватное устройство содержит корпус, имеющий опирающийся на головку рельса горизонтальный элемент, жестко связанный с двумя вертикальными элементами, располагаемыми по обе стороны головки рельса, прижимные элементы, связанные с вертикальными элементами и приспособленные для взаимодействия с заданными участками противоположных боковых сторон рельса, рукоять, а также содержит размещенный над головкой рельса стыковочный элемент для сочленения устройства с силовым агрегатом, предназначенным для создания направленной вдоль оси рельса внешней силы. При этом, по меньшей мере, один из упомянутых прижимных элементов жестко связан с рукоятью и смонтирован с возможностью поворота вместе с рукоятью вокруг вертикальной оси. Рукоять с размещенным на ней стыковочном элементом смонтирована с возможностью приложения к ней упомянутой внешней силы. При этом упомянутыми заданными участками являются боковые поверхности головки рельса. Техническим результатом изобретения является изменение характеристик соотношения между силой, действующей в осевом направлении, и перпендикулярным ей усилием прижатия (нормальная составляющая к боковой поверхности головки рельса). 6 з.п. ф-лы, 4 ил.
Изобретение относится к области строительства железных дорог, в частности к средствам, применяемым при проведении текущего содержания и ремонта рельсового пути, и может быть использовано в устройствах для разгонки зазоров в рельсовых стыках.
Известен из заявки на патент РФ №98101653 (опубл. 27.10.1999) захват, применяемый в устройстве для разгонки зазоров в рельсовых стыках. Известный захват состоит из корпуса, в котором свободно закреплены сменные стержни с захватными лапами и регулируемая по высоте прямоугольная вставка, обеспечивающие захват рельса при наклоне корпуса захвата на 10-15° к плоскости головки рельса под действием силы тяги домкрата. Недостатком устройства является ненадежность работы и сложность в эксплуатации, связанная с необходимостью выдерживания заданного наклона корпуса для зажатия рельса, особенно в условиях увеличения тяги домкрата.
Известен также из заявки на патент РФ №96117300 (опубл. 20.11.1998) захват, применяемый в устройстве для разгонки зазоров рельсовых стыков и выполненный в виде П-образной обоймы с закрепленной на уровне опорной поверхности обоймы клиновой пластиной, наклоненной на угол 1-3° в сторону оси симметрии устройства. Недостатком устройства является низкая надежность в работе в виду возможного скольжения захвата по рельсу, особенно в условиях работы с изношенными рельсами или на поворотах рельсовых путей. Недостатком являются также и трудности в эксплуатации, связанные с расклиниванием захвата для снятия устройства с рельса в виду большой площади трущихся поверхностей.
Наиболее близким и выбранным за прототип является эксцентриковый захват, применяемый в путевом инструменте по патенту RU 2176001 (опубл. 20.11.2001). Известный захват имеет корпус, выполненный в виде скобы П-образной формы, в консолях которой установлены валы, соединенные с рукоятками. На нижнем конце каждого вала закреплен эксцентриковый диск, при этом наибольшее расстояние между соседними эксцентриковыми дисками выбрано большим, чем ширина головки рельса. На поперечине корпуса закреплено полусферическое гнездо для силового агрегата и расположенный соосно валам регулируемый упор в виде винта. При установке захвата на рельс поворотом рукояток поворачивают эксцентриковые диски, которые плотно захватывают стойку рельса под его головкой. Для рельсов различного типоразмера высота положения эксцентриковых дисков регулируется относительно нижних заплечиков головки рельса путем перемещения винтовых упоров. Недостатком устройства является трудность в эксплуатации в виду необходимости приложения дополнительных сил (обычно с помощью ударных инструментов) для снятия его с рельса по окончанию работы, что снижает надежность устройства, ведет к его возможным поломкам и создает неудобство в эксплуатации.
В основу изобретения поставлена задача создания устройства простой конструкции, обладающего повышенной надежностью в работе и обеспечивающего удобство эксплуатации при его установке и снятии с рельса.
Технический результат изобретения состоит в изменении характеристик соотношения между силой, действующей в осевом направлении, и перпендикулярным ей усилием прижатия (нормальная составляющая к боковой поверхности головки рельса).
Поставленная задача решается тем, что в рельсозахватном устройстве, содержащем корпус, имеющий опирающийся на головку рельса горизонтальный элемент, жестко связанный с двумя вертикальными элементами, располагаемыми по обе стороны головки рельса, пару прижимных элементов, связанных с вертикальными элементами и приспособленных для взаимодействия с заданными участками противоположных боковых сторон рельса для оказания зажимного усилия, рукоять, а также размещенный над головкой рельса вблизи продольной осевой линии рельса стыковочный элемент для сочленения устройства с силовым агрегатом, предназначенным для создания направленной вдоль оси рельса внешней силы, при этом, по меньшей мере, один из упомянутых прижимных элементов жестко связан с рукоятью и смонтирован с возможностью поворота вместе с рукоятью вокруг вертикальной оси, согласно изобретению рукоять с размещенным на ней стыковочным элементом смонтирована с возможностью приложения к ней упомянутой внешней силы, при этом упомянутыми заданными участками являются боковые грани головки рельса.
Целесообразно в рельсозахватном устройстве прижимной элемент, по меньшей мере, частично выполнять в виде эксцентрика, а его жесткую связь с рукоятью обеспечивать посредством вытянутого продольно вертикальному элементу опорного элемента, причем опорный элемент связывать подвижно с вертикальным элементом.
Предпочтительно при этом опорный элемент, эксцентрик и рукоять выполнять за одно целое в виде единой детали.
Возможно также прижимной элемент выполнять в виде связанных между собой шарнирно лапы и связующего элемента, при этом лапу монтировать на обращенной в сторону рельса концевой части связующего элемента, другая концевая часть которого жестко связана с рукоятью посредством вытянутого продольно вертикальному элементу опорного элемента, при этом опорный элемент связывают подвижно с вертикальным элементом.
Предпочтительно в этом случае связующий элемент, вертикальный элемент и рукоять выполнять за одно целое в виде единой детали.
Целесообразно дополнить рельсозахватное устройство, по меньшей мере, одним средством, противодействующим вертикальному перемещению устройства относительно рельса.
Предпочтительно дополнить рельсозахватное устройство дополнительным горизонтальным элементом, опирающимся на головку рельса и жестко связанным с двумя дополнительными вертикальными элементами, располагаемыми по обе стороны головки рельса, при этом каждый вертикальный элемент жестко связан с находящимся на его стороне дополнительным вертикальным элементом.
Преимущества и особенности предлагаемого изобретения станут более очевидными из детального описания в соединении с сопровождающими чертежами, на которых изображено:
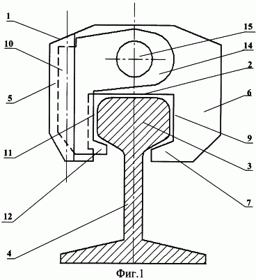
Фиг.1 – схематичный вид спереди рельсозахватного устройства, установленного на рельсе и выполненного с жестко связанным с рукоятью прижимным элементом в виде эксцентрика.
Фиг.2 – вид сверху рельсозахватного устройства, выполненного с жестко связанным с рукоятью прижимным элементом в виде эксцентрика.
Фиг.3 – общий вид сверху рельсозахватного устройства, выполненного с жестко связанным с рукоятью прижимным элементом в виде лапы и связующего элемента.
Фиг.4 – вид сверху рельсозахватного устройства, выполненного с дополнительным горизонтальным элементом и дополнительными вертикальными элементами.
В варианте выполнения предлагаемого изобретения, показанном на фиг.1 и 2, устройство содержит П-образной корпус 1 с горизонтальным элементом 2, опирающимся на примыкающую головку 3 рельса 4, и двумя вертикальными элементами 5 и 6, располагаемыми по обе стороны головки 3 рельса 4 при установке устройства в рабочее положение на рельсе 4.
Вертикальный элемент 6 корпуса 1 снабжен загнутым в сторону рельса периферийным участком 7, располагаемым под головкой 3 рельса 4. На вертикальном элементе 6 корпуса 1 смонтирован первый прижимной элемент 8 (фиг.2) с прижимной поверхностью, обращенной к боковой поверхности головки 3 рельса 4. Возможно выполнение устройства таким образом, что первый прижимной элемент будет образован непосредственно контактирующим с боковой поверхностью головки 3 участком 9 поверхности вертикального элемента 6, так как это показано на фиг.1.
В вертикальном элементе 5 корпуса 1 выполнен вертикальный паз, в котором размещен с возможностью поворота вытянутый продольно вертикальному элементу опорный элемент 10, с нижней концевой частью которого жестко связан эксцентрик 11, представляющий собой сегмент цилиндрического тела, расположенного в зоне боковой поверхности головки 3, и выполненный таким образом, что при повороте эксцентрика по направлению действия внешней силы обеспечивается зажим рельса. Эксцентрик 11 выполнен с обращенным к рельсу и располагаемым под головкой 3 рельса 4 выступом 12. Цилиндрическая поверхность эксцентрика 11 до выступа 12 образует второй прижимной элемент устройства.
С верхней частью опорного элемента 10 жестко связана рукоять 14, вытянутая продольно горизонтальному элементу 2 корпуса 1 таким образом, чтобы обеспечивалось размещение на ней стыковочного элемента 15 для сочленения устройства с силовым агрегатом (не изображен), предназначенным для приложения направленной вдоль продольной оси рельса внешней силы.
В предпочтительном исполнении для увеличения жесткости конструкции (и тем самым увеличения надежности, а следовательно, ее долговечности) опорный элемент 10, эксцентрик 11 с выступом 12 и рукоять 14 выполнены заодно целое в виде шарнирно соединенной с корпусом 1 и смонтированной выступающим образом перед ним детали по типу створки.
Наибольшее расстояние между первой и второй прижимными поверхностями выбрано большим, чем ширина головки 3 рельса 4 (в раскрытом положении вышеупомянутой детали по отношению к корпусу) для свободной установки устройства на головку 3 рельса 4, а наименьшее (в закрытом положении детали по отношению к корпусу) – меньшим ширины головки 3.
Выступ 12 эксцентрика 11 и загнутый периферийный участок 7 вертикального элемента 6 корпуса 1, располагаемые под головкой 3 рельса 4, предназначены для предотвращения вертикального перемещения корпуса 1 и образуют средство, противодействующее удалению устройства с рельса. Вместо загнутого периферийного участка 7 (не изображено) этой же цели может служить эксцентриковый диск, закрепленный на нижнем конце вала, смонтированного в вертикальном элементе 6 корпуса 1 с возможностью поворота и фиксации в заданном положении.
Возможно также (не изображено) выполнить первый прижимной элемент в виде эксцентрикового диска (или диска с выступом), закрепив его на валу, смонтированного подвижно в вертикальном элементе 6 и снабженного средством поворота эксцентрика.
На Фиг.3 показано устройство в другом варианте выполнения, при котором вторая прижимная поверхность образована обращенной к боковой поверхности головки 3 рельса 4 плоской поверхностью 16 лапы 17, смонтированной шарнирно посредством оси 18 на концевой части связующего элемента 19, жестко связанного с опорным элементом 10.
Фиг.4 иллюстрирует вариант выполнения устройства, в котором для уменьшения момента сил, стремящихся развернуть корпус, устройство дополнительно снабжено располагаемым на головке 3 со стороны силового агрегата дополнительным горизонтальным элементом 20, выполненным со сквозным горизонтальным пазом 21 для прохождения присоединительного средства силового агрегата к стыковочному элементу 15. Дополнительный горизонтальный элемент 20 жестко связан с двумя располагаемыми по обе стороны головки 3 дополнительными вертикальными элементами 22 и 23. В свою очередь дополнительный вертикальный элемент 22 жестко связан с вертикальным элементом 5, а дополнительный вертикальный элемент 23 жестко связан с вертикальным элементом 6 посредством вытянутых вдоль рельса продолжений вертикальных элементов – соответственно удлинений 24 и 25. Удлинения 24 и 25 выполнены с такими размерами, что обеспечивается размещение и свободный поворот рукояти 14 между горизонтальными элементами 2 и 20. Очевидно, что возможно в этом случае (не изображено) выполнение корпуса в виде единой детали скобообразной формы с горизонтальной частью, имеющей такую высоту и конфигурацию, что обеспечивается размещение и свободный поворот рукояти 14 внутри корпуса по спрофилированному в соответствии с движением рукояти пазу.
Предпочтительно стыковочный элемент 15 (обычно имеющий полусферическую форму, например, в виде полусферического гнезда) в варианте исполнения, показанном на фиг.1, выполнять с выпуклой в сторону силового агрегата поверхностью.
В положении раскрытия, которое достигается поворотом рукояти 14 на требуемый угол в сторону от рельса 4, устанавливают корпус 1 на рельс 4, затем поворачивают рукоять 14 в сторону рельса 4 до положения контакта прижимных поверхностей с боковыми поверхностями головки 3 рельса и посредством стыковочного элемента 15 прикладывают к рукояти 14 внешнее усилие от силового агрегата. Нагрузка от силового агрегата через рукоять 15 и вал 10 передается на эксцентрик 11 (или лапу 17). При повороте эксцентрика 11 (или лапы 17) внешней силой, приложенной к рычагу, в месте контакта эксцентрика (или лапы 17) с головкой рельса возникает нормальная к поверхности составляющая силы, обеспечивающая равенство по величине силы трения покоя внешней приложенной силе, что позволяет перемещать рельс под действием внешней силы.
Можно отметить, что устройство работает по типу поворотного двуплечего рычага, концевая часть меньшего плеча которого снабжена прижимной поверхностью, а большее плечо предназначено для связи с силовым агрегатом посредством связующего элемента для приложения внешней силы. При приложении внешней силы продольно рельсу для его перемещения после зажатия прижимными поверхностями (заклинивания) соотношение между силой, действующей в осевом направлении рельса, и перпендикулярным ей усилием прижатия (нормальная составляющая к боковой поверхности головки рельса) сохраняется пропорциональным соотношению соответствующих плеч рычага, т.е. постоянным.
Расклинивание прижимных поверхностей с головкой 3 происходит сразу же после снятия нагрузки с рукояти 15, после чего устройство легко демонтируется.
По сравнению с известными заявителю захватами, устройство по предлагаемому изобретению обеспечивает улучшенное распределение напряжений в зажиме рельса, предотвращает концентрацию напряжений, которая может привести к поломке устройства при работе, а также значительно снижает трудоемкость при его установке и снятии с рельса. Преимуществом данной конструкции является также то, что устройство надежно работает на изношенном рельсе.
Формула изобретения
1. Рельсозахватное устройство, содержащее корпус, имеющий опирающийся на головку рельса горизонтальный элемент, жестко связанный с двумя вертикальными элементами, располагаемыми по обе стороны головки рельса, прижимные элементы, связанные с вертикальными элементами и приспособленные для взаимодействия с заданными участками противоположных боковых сторон рельса, рукоять, а также размещенный над головкой рельса стыковочный элемент для сочленения устройства с силовым агрегатом, предназначенным для создания направленной вдоль оси рельса внешней силы, при этом, по меньшей мере, один из упомянутых прижимных элементов жестко связан с рукоятью и смонтирован с возможностью поворота вместе с рукоятью вокруг вертикальной оси, отличающееся тем, что рукоять с размещенным на ней стыковочном элементом смонтирована с возможностью приложения к ней упомянутой внешней силы, при этом упомянутыми заданными участками являются боковые поверхности головки рельса.
2. Рельсозахватное устройство по п.1, отличающееся тем, что упомянутый прижимной элемент, по меньшей мере, частично выполнен в виде эксцентрика, жестко связанного с рукоятью посредством вытянутого продольно вертикальному элементу опорного элемента, при этом упомянутый опорный элемент связан подвижно с вертикальным элементом.
3. Рельсозахватное устройство по п.2, отличающееся тем, что упомянутый опорный элемент, эксцентрик и рукоять выполнены за одно целое в виде единой детали.
4. Рельсозахватное устройство по п.1, отличающееся тем, что упомянутый прижимной элемент образован лапой и связующим элементом, при этом лапа смонтирована шарнирно на обращенной в сторону рельса концевой части связующего элемента, другая концевая часть которого жестко связана с рукоятью посредством вытянутого продольно вертикальному элементу опорного элемента, при этом опорный элемент связан подвижно с вертикальным элементом.
5. Рельсозахватное устройство по п.4, отличающееся тем, что упомянутый связующий элемент, упомянутый опорный элемент и упомянутая рукоять выполнены за одно целое в виде единой детали.
6. Рельсозахватное устройство по п.1, отличающееся тем, что дополнительно содержит, по меньшей мере, одно средство, противодействующее вертикальному перемещению устройства относительно рельса.
7. Рельсозахватное устройство по п.1, отличающееся тем, что содержит дополнительный горизонтальный элемент, опирающийся на головку рельса и жестко связанный с двумя дополнительными вертикальными элементами, располагаемыми по обе стороны головки рельса, при этом каждый вертикальный элемент жестко связан с находящимся на его стороне дополнительным вертикальным элементом.
РИСУНКИ
MM4A – Досрочное прекращение действия патента СССР или патента Российской Федерации на изобретение из-за неуплаты в установленный срок пошлины за поддержание патента в силе
Дата прекращения действия патента: 21.10.2007
Извещение опубликовано: 27.06.2009 БИ: 18/2009
|
|