|
|
(21), (22) Заявка: 2005101095/11, 19.01.2005
(24) Дата начала отсчета срока действия патента:
19.01.2005
(46) Опубликовано: 27.06.2006
(56) Список документов, цитированных в отчете о поиске:
RU 2148687 C1, 10.05.2000. SU 69404 A1, 01.01.1947. RU 2111304 C1, 20.05.1998. DE 2415278, 23.10.1975.
Адрес для переписки:
190031, Санкт-Петербург, Московский пр., 9, ПГУПС МПС России, патентный отдел
|
(72) Автор(ы):
Говоров Вадим Владимирович (RU), Дудкин Евгений Павлович (RU), Шаройко Александр Владимирович (RU), Рулёв Игорь Анатольевич (RU)
(73) Патентообладатель(и):
Государственное образовательное учреждение высшего профессионального образования “Петербургский государственный университет путей сообщения Министерства путей сообщения Российской Федерации” (RU), Закрытое акционерное общество “Верхнее строение пути” (RU)
|
(54) УСТРОЙСТВО ДЛЯ ПРЕДОТВРАЩЕНИЯ УГОНА РЕЛЬСОВ
(57) Реферат:
Изобретение относится к области железнодорожного транспорта и предназначается для предотвращения угона рельсов, когда этот процесс приводит к отказам в работе стрелочных переводов. Устройство для предотвращения угона рельсов содержит пару накладок с вертикальными шипами, входящими в отверстия в металлическом мостике, повторяющие форму поперечных сечений шипов, и болт, стягивающий эти накладки, установленные симметрично по разные стороны рельса. Шипы расположены в одном из концов накладок, имеют цилиндрическую форму и установлены в отверстия со скользящей насадкой, обеспечивающей возможность их поворота вокруг продольной оси. Стягивающий болт расположен у противоположных концов накладок. Между болтом и шипом в непосредственной близости от последнего каждая накладка имеет выступ, направленный в сторону рельса и снабженный площадками контакта с нижней плоскостью головки и верхней плоскостью подошвы рельса. Форма поверхностей самих площадок контакта образована вращением вокруг оси шипа их радиальных образующих по двум расходящимся спиралям. Технический результат изобретения заключается в повышении надежности и эффективности в работе устройств, предотвращающих угон рельсов за счет заклинивания рельсов в их пазухах, когда этот процесс приводит к отказам в работе безостряковых стрелочных переводов. 3 ил.
Изобретение относится к области железнодорожного транспорта и предназначается для предотвращения угона рельсов, когда этот процесс приводит к отказам в работе стрелочных переводов.
В настоящее время наиболее широкое распространение на железнодорожном транспорте получила конструкция пружинных противоугонов (Железнодорожный путь. Под ред. Т.Г.Яковлевой. М.: Транспорт, 1999, с.38, рис.1.28), которые крепятся к подошвам рельсов и, упираясь в боковые плоскости шпал, препятствуют продольному перемещению рельсов относительно шпал. Они устанавливаются «кустами» в двадцати-сорока и более шпальных ящиках подряд и могут снижать интенсивность угона рельсов на путях больших протяженностей.
Недостаток конструкции заключается в том, что область их применения ограничена. Эти противоугоны не могут устанавливаться на тех участках путевых конструкций, на которых шпальные ящики перекрыты металлическими мостиками, хотя при создании новых и совершенствовании существующих путевых устройств все чаще приходится решать локальные задачи по предотвращению угона рельсов в пределах отдельно лежащих стрелочных переводов либо рельсовых пересечений. Так, с решением такой проблемы специалисты столкнулись при внедрении безостряковых переводов, где угон рельсов приводит к отказу в работе электропривода по переключению стрелки с одного направления на другое.
Известна конструкция устройства для предотвращения угона рельсов в безостряковом стрелочном переводе (патент РФ №2148687, 7 Е 01 В 7/00, 13/00; 03.11.1998 г.).
Необходимость в данной мере вызвана наличием в переводе стыка, не соединенного стыковыми накладками, так как входящие в его состав подвижные рельсы должны обеспечивать переключение стрелки с одного направления на другое. Как только в результате угона пути стык смыкается, путевые рельсы упираются в рельсы подвижные и последние теряют подвижность. Это означает отказ в работе стрелки. Для исключения таких отказов и введено в конструкцию перевода устройство для предотвращения угона рельсов.
Это устройство содержит пару накладок с вертикальными шипами прямоугольной формы, входящими в углубления в металлическом мостике, и болт, соединяющий эти накладки, установленные симметрично по разные стороны рельса и заходящие в пределы пазух этого рельса (в отдельных случаях они могут соединяться двумя болтами).
Недостаток конструкции заключается в ее сравнительно невысокой надежности и эффективности в работе.
На начальном этапе эксплуатации прежде, чем устройство начнет сопротивляться угону рельсов, в нем должны выбраться все зазоры между отдельными деталями. Имеются в виду зазоры между шипами и стенками углублений под них в мостиках, между болтами и отверстиями в рельсе, то же между болтами и отверстиями в накладках. С учетом допусков на изготовление каждый зазор порядка 1 мм. Таким образом, рассматриваемое устройство не успевает включиться в работу, а ограждаемый им восьмимиллиметровый зазор успевает уменьшиться в результате угона рельсов на 3 мм, т.е. более чем на треть.
После выборки зазоров, когда устройство начинает выполнять свои непосредственные функции, на его работу оказывает влияние еще один негативный фактор.
Известно, что болт как конструктивный элемент работает более эффективно на сжатие и растяжение, чем на изгиб или сдвиг. Но в рассматриваемых нами конструкциях противоугонных устройств болты воспринимают только боковые нагрузки. Они быстро подвергаются деформациям изгиба и сдвига. По данным эксплуатационных наблюдений за работой безостряковых стрелочных переводов установка устройств по патенту РФ №2148687 позволила увеличить интервал между отказами в работе стрелки, вызванными угоном рельсов, буквально с нескольких дней до нескольких недель. Эффект существенный, но явно недостаточный для того, чтобы прекратить поиск более совершенных технических решений в этом направлении.
Рассмотренная конструкция представляется наиболее близкой к предлагаемому устройству.
Задача предлагаемого изобретения заключается в повышении надежности и эффективности в работе устройств, предотвращающих угон рельсов за счет заклинивания рельсов в их пазухах, когда этот процесс приводит к отказам в работе безостряковых стрелочных переводов.
Технический результат достигается тем, что в устройстве для предотвращения угона рельсов, содержащем пару накладок с вертикальными шипами, входящими в углубления в металлическом мостике, повторяющие форму поперечных сечений шипов, и болт, стягивающий эти накладки, установленные симметрично по разные стороны рельса, согласно предлагаемому техническому решению шипы расположены в одном из концов накладок, выполнены цилиндрической формы и установлены в отверстия со скользящей насадкой, обеспечивающей возможность их поворота вокруг продольной оси, стягивающий болт расположен у противоположных концов накладок, между болтом и шипом в непосредственной близости от последнего каждая накладка имеет выступ, направленный в сторону рельса и снабженный площадками контакта с нижней плоскостью головки и верхней плоскостью подошвы рельса, а форма поверхностей самих площадок контакта образована вращением вокруг оси шипа их радиальных образующих по двум расходящимся спиралям.
Сущность технического решения разъясняется с помощью иллюстраций.
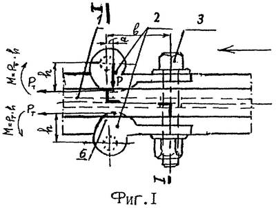
Фиг.1. Предлагаемое устройство для предотвращения угона рельсов в плане.
Фиг.2. Поперечное сечение 1-1.
Фиг.3. Описание формы поверхностей контакта устройства с рельсом.
Устройство для предотвращения угона рельсов 1 содержит две накладки 2, установленные симметрично по разные стороны рельса 1 и стянутые между собой болтом 3. Каждая снабжена вертикальным шипом 4 цилиндрической формы, который заглублен в тело металлического мостика 5. Болт 3 и шип 4 расположены в разных концах накладок, а между ними в непосредственной близости от оси шипа каждая накладка 2 имеет выступ 6 в сторону рельса 1, содержащий площадки контакта 7 и 8, соответственно с нижней плоскостью 9 головки и верхней плоскостью 10 подошвы рельса 1.
Конфигурация площадок 7 и 8 выполняется, как это показано на фиг.3 на примере формирования поверхности площадки 7. Эта поверхность представляет собой результат вращения образующей 11 по нарастающей спирали, когда при повороте образующей на 1° ее ордината по всей длине возрастает на величину , а уклон к горизонту остается неизменным, равным уклону iг нижней плоскости 9 головки рельса, с которой контактирует поверхность 7. Такая же спиральная поверхность, только противоположного направления, формируется на площадке опирания 8 в соответствии с уклоном iп верхней плоскости 10 подошвы рельса.
В результате этого высота накладок в пределах выступов 6 меняется таким образом, что чем сильнее затяжка болта 3, тем плотнее эти выступы входят в пазухи рельса 1 и тем выше усилия Рг и Рп контакта накладки 2 с головкой и подошвой рельса 1.
Если учитывать соотношение плеч в/а (фиг.1) и разложение усилия Р на составляющие Рг и Рп, то можно добиться, что каждая из последних сил будет существенно (в 20-30 раз) превышать силу натяжения болта 3. Это важно потому, что именно от этих сил Рг и Рп нормального давления будут зависеть силы трения, которым предстоит удерживать рельс от угона.
Устройство работает следующим образом.
Шипы 4 накладок 2 устанавливаются в отверстия мостика 5. Чтобы избежать зазоров в этом соединении, диаметры шипов и отверстий выполнены по скользящей насадке.
Накладки 2 стягиваются болтом 3 до отказа. При этом выступы 6 плотно входят в пазухи рельса 1, и устанавливается начальная сила трения Рт между поверхностями контакта соответственно 7 и 9, 8 и 10. В случае микроперемещений рельса под действием сил угона в направлении, показанном стрелкой на фиг.1, возникают моменты сил трения Рг·h, вызывающие поворот накладок относительно осей шипов. А так как при этом повороте выступы накладок еще глубже входят в пазуху рельса на участке, высота которого все увеличивается, повышаются давление по площадкам контакта, а с ними и силы трения, удерживающие рельс от продольного перемещения.
Формула изобретения
Устройство для предотвращения угона рельсов, содержащее пару накладок с вертикальными шипами, входящими в отверстия в металлическом мостике, повторяющие форму поперечных сечений шипов, и болт, стягивающий эти накладки, установленные симметрично по разные стороны рельса, отличающееся тем, что шипы расположены в одном из концов накладок, имеют цилиндрическую форму и установлены в отверстия со скользящей насадкой, обеспечивающей возможность их поворота вокруг продольной оси, стягивающий болт расположен у противоположных концов накладок, между болтом и шипом в непосредственной близости от последнего каждая накладка имеет выступ, направленный в сторону рельса и снабженный площадками контакта с нижней плоскостью головки и верхней плоскостью подошвы рельса, а форма поверхностей самих площадок контакта образована вращением вокруг оси шипа их радиальных образующих по двум расходящимся спиралям.
РИСУНКИ
MM4A – Досрочное прекращение действия патента СССР или патента Российской Федерации на изобретение из-за неуплаты в установленный срок пошлины за поддержание патента в силе
Дата прекращения действия патента: 20.01.2008
Извещение опубликовано: 20.11.2009 БИ: 32/2009
|
|