|
|
(21), (22) Заявка: 2003110920/11, 12.09.2001
(24) Дата начала отсчета срока действия патента:
12.09.2001
(30) Конвенционный приоритет:
18.09.2000 (пп.1-10) LU 90639
(43) Дата публикации заявки: 10.08.2004
(46) Опубликовано: 27.06.2006
(56) Список документов, цитированных в отчете о поиске:
SU 1204516 А, 15.01.1986. SU 1070094 А, 30.01.1984. SU 1316957 А1, 15.06.1987. SU 685592 А, 28.09.1979. LU 90217 А, 17.08. 1999.
(85) Дата перевода заявки PCT на национальную фазу:
18.04.2003
(86) Заявка PCT:
EP 01/10518 (12.09.2001)
(87) Публикация PCT:
WO 02/22476 (21.03.2002)
Адрес для переписки:
101000, Москва, пер. М.Златоустинский, 10, кв.15, бюро “ЕВРОМАРКПАТ”, М.Б.Веселицкому
|
(72) Автор(ы):
КРЁММЕР Иван (LU), БЕНИ Стефано (LU)
(73) Патентообладатель(и):
ПОЛЬ ВУРТ С.А. (LU)
|
(54) УСТРОЙСТВО ДЛЯ ПОДАЧИ МАЛОПОДВИЖНОГО СЫПУЧЕГО МАТЕРИАЛА В ПОДАЮЩИЙ ТРУБОПРОВОД
(57) Реферат:
Изобретение относится к области пневмотранспорта. Устройство (2) для подачи малоподвижного сыпучего материала в подающий трубопровод имеет вихревую камеру (4), выполненную с возможностью подсоединения к ней снаружи подающего трубопровода (6) и с образованием в боковой стенке этой вихревой камеры (4) входного отверстия (8) для сыпучего материала, а также устройство для создания внутри вихревой камеры (4) потока газа, направленного в сторону указанного входного отверстия (8). Помимо этого в боковой стенке вихревой камеры (4) непосредственно по периферии входного отверстия (8) расположена пористая пластина, через которую в вихревую камеру (4) можно подавать разрыхляющий газ. Изобретение позволяет исключить зависание материала в зоне входного отверстия. 9 з.п. ф-лы, 5 ил.
Настоящее изобретение относится к устройству для подачи малоподвижного сыпучего материала в подающий трубопровод.
Подобное устройство используется, например, в устройстве для вдувания полимерных материалов в шахтную печь, предназначенном для вдувания в шахтную печь измельченных отходов полимерных материалов вместо измельченного угля. С этой целью находящиеся в бункере измельченные отходы полимерных материалов подаются в подающий трубопровод и по нему транспортируются под высоким давлением к фурмам, расположенным в стенке шахтной печи.
В качестве примера известных устройств для подачи сыпучих материалов под давлением в транспортировочный трубопровод можно назвать ячейковые лопастные шлюзы, размещаемые под расходным бункером с сыпучим материалом. В таких шлюзах их лопастной затвор, состоящий из ступицы и нескольких радиально выступающих от нее лопастей, установлен с возможностью вращения в соответствующем корпусе и разделяет его на несколько отсеков или камер. Сыпучий материал попадает в одну из таких камер через загрузочное отверстие, предусмотренное с верхней стороны корпуса лопастного затвора, и после поворота лопастного затвора на угол, равный, например, 180°, поступает в подающий трубопровод через выпускное отверстие, предусмотренное с нижней стороны корпуса. Ячейковый лопастной шлюз подобной конструкции описан, например, в заявке WO 96/22241.
Основные проблемы при работе подобных механических устройств подачи материала возникают главным образом при транспортировке малоподвижного, характеризующегося некоторой волокнистостью сыпучего материала типа, например, измельченных отходов полимерных материалов. Такой материал, перемещаемый лопастями лопастного затвора, достаточно легко уплотняется при вращении лопастного затвора под действием собственного веса, что дополнительно снижает его подвижность и существенно затрудняет или даже делает вообще невозможной его подачу в подающий трубопровод. Подобное уплотнение сыпучего материала и снижение его подвижности является причиной частого забивания устройства подачи, что приводит к постоянным нарушениям непрерывности работы установки. Помимо этого уплотненный материал попадает, соответственно выдавливается в промежутки, имеющиеся между лопастями лопастного затвора и его корпусом, что может привести к остановке устройства подачи и его простою.
Во избежание описанных выше проблем в LU-A-90217 было предложено устройство с вихревой камерой, в которой малоподвижный сыпучий материал переводится в разрыхленное состояние. В таком устройстве подающий трубопровод подведен к боковой стенке вихревой камеры с образованием в этой боковой стенке входного отверстия для подаваемого сыпучего материала. Перед этим входным отверстием в вихревой камере расположено предназначенное для подачи сжатого газа сопло, позволяющее создавать в процессе работы устройства направленный в сторону входного отверстия в подающий трубопровод поток газа. Образование зоны завихрения непосредственно перед входным отверстием в подающий трубопровод эффективно предотвращает уплотнение малоподвижного сыпучего материала перед его поступлением в подающий трубопровод. При этом боковое расположение входного отверстия исключает попадание неразрыхленного материала в подающий трубопровод под действием собственного веса. Тем самым удается практически полностью избежать указанного выше забивания установки уплотненным материалом и связанных с этим ее простоев. Однако, как было установлено при практической эксплуатации подобного устройства, вокруг входного отверстия постоянно образуются отложения материала, что с течением времени приводит к зависанию сыпучего материала между соплом для подачи газа и тем участком стенки вихревой камеры, который непосредственно окружает входное отверстие.
Исходя из вышеизложенного, в основу настоящего изобретения была положена задача разработать такое устройство для подачи малоподвижного сыпучего материала в подающий трубопровод, которое позволяло бы практически полностью избежать описанных выше проблем.
Указанная задача решается с помощью устройства для подачи малоподвижного сыпучего материала в подающий трубопровод, имеющего вихревую камеру с возможностью подсоединения к ней снаружи подающего трубопровода с образованием в боковой стенке этой вихревой камеры входного отверстия для сыпучего материала и устройство для создания внутри вихревой камеры потока газа, направленного в сторону указанного входного отверстия. Отличие предлагаемого в изобретении устройства состоит в том, что в боковой стенке вихревой камеры по периферии входного отверстия расположена пористая пластина, обеспечивающая возможность подачи через нее в вихревую камеру разрыхляющей текучей среды.
В устройстве такой конструкции поток газа создает перед боковым входным отверстием подающего трубопровода зону завихрения, в которой малоподвижный сыпучий материал переводится в разрыхленное состояние. Тем самым эффективно предотвращается уплотнение малоподвижного сыпучего материала перед его поступлением в подающий трубопровод. При этом разрыхленный сыпучий материал за счет ориентации потока газа в сторону входного отверстия приобретает направленную в сторону этого выходного отверстия составляющую скорости и в результате вытесняется в него.
Подача же разрыхляющей текучей среды, например разрыхляющего газа, через пористую пластину или накладку, расположенную вблизи входного отверстия по его периферии, препятствует в этой зоне отложению сыпучего материала на боковой стенке вихревой камеры. Тем самым эффективно предотвращается зависание сыпучего материала между стенкой вихревой камеры и соплом для подачи газа, а доступ во входное отверстие в процессе работы установки постоянно остается свободным.
Поскольку зона завихрения образуется в вихревой камере обычно за счет подачи разрыхляющего газа снизу, пористую пластину или накладку для подачи такого газа предпочтительно располагать под входным отверстием. Во избежание зависания сыпучего материала по всей периферии входного отверстия пористая пластина или накладка может состоять, например, из нескольких отдельных частей, которые расположены вокруг входного отверстия. В другом варианте пористая пластина или накладка может быть выполнена в виде кругового кольца.
При подаче разрыхляющей текучей среды в вихревую камеру через пористую пластину или накладку предпочтительно, чтобы эта текучая среда сначала поступала во входную камеру, которая расположена в боковой стенке вихревой камеры непосредственно вблизи от входного отверстия, при этом такая входная камера закрыта с внутренней стороны вихревой камеры пористой пластиной или накладкой, отделяющей ее от внутреннего пространства этой вихревой камеры, и выполнена с возможностью подачи в нее разрыхляющего газа. В этом случае удается обеспечить равномерный расход текучей среды по всей площади поверхности пористой пластины или накладки.
Устройство для создания потока газа может иметь сопло для подачи газа, которое подсоединено к системе подачи сжатого газа и которое расположено в вихревой камере таким образом, что воображаемое продолжение его оси совпадает с осью подающего трубопровода. При этом сопло для подачи газа может располагаться, например, диагонально, соответственно радиально напротив входного отверстия, что обеспечивает движение потока газа через вихревую камеру практически поперек нее.
Сопло для подачи газа предпочтительно выполнено подвижным вдоль его оси таким образом, что оно позволяет закрывать входное отверстие в боковой стенке вихревой камеры. С этой целью, например, обращенную ко входному отверстию торцевую сторону сопла для подачи газа согласуют по форме и диаметру со входным отверстием подающего трубопровода, благодаря чему это сопло в его выдвинутом до упора в боковую стенку вихревой камеры положении прилегает к краям входного отверстия и закрывает его. Тем самым подающий трубопровод на период простоя установки или перед ее пуском во избежание попадания в него в это время сыпучего материала можно плотно перекрывать без образования в этом подающем трубопроводе зон, в которых отсутствовал бы транспортирующий поток и происходило бы связанное с этим уплотнение сыпучего материала. Подобные зоны, которые, например, при использовании простых задвижек образуются между такой задвижкой и ближайшим к ней устройством подачи транспортирующего газа в трубопроводе, являются причиной регулярного забивания или закупоривания подающего трубопровода на этом участке. Перекрытие же входного отверстия подающего трубопровода соплом для подачи газа исключает образование таких зон в отсутствие транспортирующего потока.
Помимо этого выполнение сопла для подачи газа подвижным вдоль его оси позволяет изменять, соответственно регулировать, расстояние между ним и входным отверстием в боковой стенке вихревой камеры. В соответствии с этим появляется возможность изменять или регулировать протяженность образующейся перед входным отверстием зоны завихрения, а тем самым регулировать и количество переводимого в разрыхленное состояние материала. С увеличением расстояния между входным отверстием и соплом для подачи газа увеличиваются размеры образующейся зоны завихрения и тем самым увеличивается и количество разрыхленного материала.
Сопло для подачи газа предпочтительно выполнять в виде сопла Лаваля, благодаря которому скорость истечения газа достигает скорости звука. Использование подобного сопла Лаваля позволяет исключительно простым путем регулировать расход через него газа простым регулированием давления газа на входе в это сопло независимо от давления, преобладающего в вихревой камере. Помимо этого использование подобного сопла Лаваля позволяет исключительно точно ориентировать выходящий из него поток газа в сторону входного отверстия, который (поток газа) благодаря его высокой скорости обеспечивает эффективное перемещение им сыпучего материала в подающий трубопровод даже при большом расстоянии между соплом и входным отверстием.
Согласно одному из предпочтительных вариантов предлагаемое в изобретении устройство имеет несколько сопел для дозированной подачи газа, которые расположены в боковой стенке вихревой камеры вокруг подающего трубопровода и оканчиваются в нем. Такие сопла для дозированной подачи газа предпочтительно располагать таким образом, чтобы они входили в подающий трубопровод перпендикулярно его оси. В другом варианте сопла для дозированной подачи газа можно располагать таким образом, чтобы они входили в подающий трубопровод с наклоном к его оси по направлению движения транспортирующего потока.
Газ, необходимый для дальнейшей транспортировки материала в подающем трубопроводе, подается в дозированных количествах через такие сопла в подающий трубопровод в точке, расположенной по ходу потока непосредственно за входным отверстием. При этом сыпучий материал непосредственно после его попадания во входное отверстие за счет его переноса потоком газа, создаваемым в вихревой камере, захватывается потоком дозируемого через сопла газа и увлекаемый им перемещается дальше по подающему трубопроводу. Тем самым исключается образование зон, в которых часть сыпучего материала могла бы осаждаться из транспортирующего его потока и уплотняться. Следует отметить, что при изменении количества дозируемого газа изменяется и количество перемещаемого им материала. В соответствии с этим регулировать расход сыпучего материала через подающий трубопровод можно регулированием расхода дозируемого через сопла газа.
Вихревую камеру предпочтительно выполнять в виде емкости, рассчитанной на работу под давлением, что позволяет подавать сыпучий материал в подающий трубопровод, находящийся под давлением. В этом случае вся вихревая камера будет работать под повышенным давлением.
Помимо этого согласно еще одному предпочтительному варианту вихревая камера имеет в ее нижней части пористое днище, обеспечивающее возможность подачи через него в вихревую камеру разрыхляющего газа. При подаче через такое пористое днище сжижающего агента малоподвижный сыпучий материал удерживается во всем объеме вихревой камеры в псевдоожиженном состоянии, что тем самым предотвращает уплотнение этого материала.
Ниже изобретение более подробно рассмотрено на примере одного из вариантов его осуществления со ссылкой на прилагаемые чертежи, на которых показано:
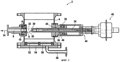
на фиг.1 – продольный разрез выполненного по предпочтительному варианту устройства для подачи малоподвижного сыпучего материала в подающий трубопровод;
на фиг.2 – вид в плане показанного на фиг.1 устройства;
на фиг.3 – увеличенное изображение показанного на фиг.1 устройства в зоне входного отверстия;
на фиг.4 – один из вариантов выполнения емкости для вдувания сыпучего материала, имеющей несколько устройств для подачи малоподвижного сыпучего материала в подающий трубопровод;
на фиг.5 – сечение нижней части показанной на фиг.4 емкости для вдувания сыпучего материала.
На фиг.1 в продольном разрезе показано устройство 2 для подачи малоподвижного сыпучего материала в подающий трубопровод, выполненное по предпочтительному варианту. Основными элементами такого устройства являются вихревая камера 4, которая имеет, например, цилиндрическую форму и к которой снаружи подсоединяется подающий трубопровод 6 с образованием в стенке вихревой камеры 4 входного отверстия 8 для подаваемого сыпучего материала.
С этой целью в рассматриваемом варианте в стенку вихревой камеры 4 сбоку вварен патрубок 10, к которому подающий трубопровод 6 присоединяется фланцем 12 (см. также фиг.3). В патрубке 10 непосредственно за входным отверстием 8, если смотреть в направлении подачи сыпучего материала (обозначенном стрелкой 14), выполнен окружающий подающий трубопровод 6 кольцевой канал 16, в который снаружи через одно или несколько присоединений 18 (см. фиг.2) можно в дозируемых количествах подавать газ.
Помимо этого в патрубке 10 выполнено несколько расположенных вокруг подающего трубопровода 6 сопел 20 для дозируемой подачи газа, каждое из которых отходит от кольцевого канала 16 в сторону подающего трубопровода 6 перпендикулярно его оси и оканчивается в нем выходными отверстиями. Дозируемый газ при его подаче под высоким давлением попадает из кольцевого канала 16 через выходные отверстия сопел в подающий трубопровод 6, образуя в нем транспортирующий поток для перемещаемого сыпучего материала. Благодаря этому сыпучий материал, попадающий через входное отверстие 8 в подающий трубопровод 6, захватывается непосредственно за входным отверстием этим транспортирующим потоком и перемещается им далее по трубопроводу.
В патрубке 10 выполнен охватывающий входное отверстие 8 кольцевой канал, открытый в сторону вихревой камеры. С внутренней стороны вихревой камеры этот кольцевой канал закрыт кольцевой газопроницаемой пористой пластиной или накладкой 24, отделяющей его от внутреннего пространства этой вихревой камеры, с образованием кольцевой входной камеры 26. В эту входную камеру через подсоединение 28 подается разрыхляющий газ, поток которого попадает через пористую пластину или накладку 24 в вихревую камеру. Тем самым эффективно предотвращается образование отложений и связанное с этим зависание сыпучего материала вблизи от входного отверстия 8.
Для подачи сыпучего материала во входное отверстие в устройстве 2 предусмотрено сопло 30 для подачи газа, с помощью которого в процессе работы устройства создается направленный поток газа, движущийся с высокой скоростью в сторону входного отверстия 8. В качестве такого сопла 30 для подачи газа можно использовать, например, сопло Лаваля, располагаемое в вихревой камере 4 радиально напротив входного отверстия 8 таким образом, чтобы воображаемое продолжение оси 32 этого сопла совпадало с осью подающего трубопровода 6.
Сопло 30 для подачи газа газоподводящей трубой 34 и, например, поворотным присоединением подсоединяется к системе подачи сжатого газа, с помощью которой через это сопло 30 можно подавать сжатый газ. С этой целью газоподводящая труба 34 предпочтительно выведена из вихревой камеры 4 через отверстие во вставленном в ее стенку патрубке 36, при этом для уплотнения газоподводящей трубы относительно стенок этого отверстия в патрубке может использоваться, например, сальник 38. На участке между сальником 38 и вихревой камерой 4 в патрубке 36 предпочтительно выполнена охватывающая его отверстие кольцевая канавка 40, в которую снаружи через присоединения 42 можно подавать запирающий газ, образующий газовый затвор. Такой запирающий газ предотвращает в процессе работы устройства попадание сыпучего материала в зазор между стенками отверстий в патрубке и сальнике и стенкой газоподводящей трубы.
При подаче сжатого газа через сопло 30 внутри вихревой камеры 4 создается поток газа, который перед входным отверстием 8 образует зону завихрения. В этой зоне завихрения малоподвижный сыпучий материал разрыхляется и под действием потока газа, ориентированного в сторону входного отверстия 8, приобретает при этом также направленную в сторону выходного отверстия 8 составляющую скорости, в результате чего завихренный (псевдоожиженный) материал и вытесняется в это входное отверстие.
Использование сопла Лаваля для создания направленного потока газа позволяет, с одной стороны, исключительно простым путем регулировать расход газа через сопло 30 простым регулированием давления газа на входе в это сопло независимо от давления, преобладающего в вихревой камере 4. С другой стороны, использование подобного сопла Лаваля позволяет исключительно точно ориентировать выходящий из него поток газа в сторону входного отверстия 8, который (поток газа) благодаря его высокой скорости обеспечивает эффективное перемещение им сыпучего материала в подающий трубопровод 6 даже при большом расстоянии между соплом и входным отверстием.
Сопло 30 для подачи газа предпочтительно выполнено подвижным вдоль его оси, что позволяет изменять, соответственно регулировать, расстояние между ним и входным отверстием 8 в боковой стенке вихревой камеры. В показанном на чертеже варианте выполнения устройства сопло 30 для подачи газа и соосно примыкающая к нему газоподающая труба 34 установлены подвижно в отверстии патрубка 36. В этом случае для осевого перемещения сопла для подачи газа предусмотрен, например, привод 48 аксиального типа, который присоединен к заднему концу 44 газоподводящей трубы. В другом варианте на заднем конце газоподводящей трубы можно предусмотреть червячную резьбу, взаимодействующую с соответствующей внутренней резьбой в пластине, смонтированной на патрубке. При приведении газоподводящей трубы 34 во вращение вокруг ее собственной оси с помощью соответствующего привода эта газоподводящая труба 34 вместе со смонтированным на ней соплом 30 в зависимости от направления ее вращения либо “ввинчивается” дальше в глубь вихревой камеры, либо “вывинчивается” из нее. Регулируемое таким путем расстояние между входным отверстием 8 и соплом для подачи газа может составлять, например, от 0 до 30 мм.
Следует отметить, что пластину с резьбой предпочтительно располагать на некотором удалении от вихревой камеры 4 с той целью, чтобы червячная резьба при полностью вдвинутом сопле 30 не доходила до сальника 38.
Сопло 30 для подачи газа предпочтительно выполнять таким образом, чтобы оно позволяло закрывать по типу пробки входное отверстие 8 в боковой стенке вихревой камеры. С этой целью, например, обращенную ко входному отверстию торцевую сторону 50 сопла 30 для подачи газа согласуют по форме и диаметру со входным отверстием 8 подающего трубопровода 6, благодаря чему это сопло в его выдвинутом до упора в боковую стенку вихревой камеры 4 положении прилегает к краям входного отверстия 8 и закрывает его. Это положение сопла для подачи газа обозначено на фиг.1 прерывистой линией.
Тем самым подающий трубопровод 6 на период простоя установки или перед ее пуском во избежание попадания в него в это время сыпучего материала можно плотно перекрывать без образования в этом подающем трубопроводе 6 зон, в которых отсутствовал бы транспортирующий поток и происходило бы связанное с этим уплотнение сыпучего материала. Подобные зоны, которые, например, при использовании простых задвижек образуются между такой задвижкой и ближайшим к ней устройством дозированной подачи газа в трубопроводе, являются причиной регулярного забивания или закупоривания подающего трубопровода на этом участке. Перекрытие же входного отверстия подающего трубопровода соплом для подачи газа исключает образование таких зон в отсутствие транспортирующего потока.
Вихревую камеру 4 предпочтительно выполнять в виде рассчитанной на работу под давлением емкости, что позволяет подавать сыпучий материал в подающий трубопровод, находящийся под давлением. В этом случае вся вихревая камера может работать при повышенном давлении, величина которого в зависимости от конкретной цели применения предлагаемого в изобретении устройства обычно может достигать 10 бар. Помимо этого вихревая камера 4 предпочтительно имеет в ее нижней части пористое днище 52, через которое в вихревую камеру можно подавать разрыхляющий газ. Такое пористое днище 52 смонтировано, например, с внутренней стороны нижнего глухого фланца 54, который закрывает снизу вихревую камеру 4 и который в свою очередь съемно привинчен к нижнему фланцу вихревой камеры, в который переходит ее боковая стенка. Через этот глухой фланец 54 проходит газоподводящая линия 56, оканчивающаяся во входной камере 58 между глухим фланцем 54 и пористым днищем 52.
При подаче через пористое днище 52 поступающего по газоподводящей линии 56 сжижающего газа малоподвижный сыпучий материал удерживается во всем объеме вихревой камеры в псевдоожиженном состоянии, что тем самым предотвращает уплотнение этого материала.
Следует отметить, что и сопло Лаваля, и участок стенки, окружающий входное отверстие 8, предпочтительно выполнять из упрочненного материала, например из твердого сплава либо керамики, с целью свести к минимально возможному уровню абразивный износ соответствующих поверхностей под действием движущихся с высокой скоростью частиц сыпучего материала.
Следует также отметить, что при работе предлагаемого в изобретении устройства его вихревую камеру можно устанавливать, например, непосредственно под расходным бункером, заполненным или заполняемым сыпучим материалом. В этом случае сыпучий материал подается в вихревую камеру “самотеком”, т.е. непосредственно под действием собственной силы тяжести. С учетом этого диаметр вихревой камеры 4 следует подбирать с таким расчетом, чтобы не создавать помех сползанию сыпучего материала в расходном бункере.
Согласно еще одному варианту вихревую камеру предлагается выполнять в виде интегрального компонента емкости для вдувания сыпучего материала. Подобный вариант выполнения показан на фиг.4 и 5. При этом речь идет о емкости для вдувания сыпучего материала, предназначенной для одновременной его подачи в 24 различных подающих трубопровода. Такая емкость для вдувания сыпучего материала представляет собой рассчитанный на работу под давлением сосуд 60 по существу цилиндрической формы, который закрыт с его верхней стороны и который оснащен различными патрубками для подсоединения трубопроводов для подачи сжатого, соответственно разрыхляющего газа. Днище этого сосуда 60 выполнено конически вогнутой внутрь него формы, в результате чего кольцевое поперечное сечение такого сосуда 60 в его нижней части 62 непрерывно уменьшается книзу, а его внутреннее пространство в этой нижней части 62 тем самым сужается книзу. Иными словами, в нижней части этого цилиндрического сосуда образована своего рода кольцевая воронка 64, перемещаясь по которой в рассчитанном на работу под давлением сосуде сыпучий материал попадает в конечном итоге в нижнюю кольцевую вихревую камеру 66. К этой кольцевой вихревой камере 66 описанным выше образом радиально изнутри подсоединены 24 подающих трубопровода 106, напротив которых внутри вихревой камеры расположено соответствующее количество сопел 130 для подачи газа, которые подведены к вихревой камере радиально снаружи и смонтированы в ее стенке.
Формула изобретения
1. Устройство для подачи малоподвижного сыпучего материала в подающий трубопровод, имеющее вихревую камеру с возможностью подсоединения к ней снаружи подающего трубопровода с образованием в боковой стенке этой вихревой камеры входного отверстия для сыпучего материала и устройство для создания внутри вихревой камеры потока газа, направленного в сторону указанного входного отверстия, отличающееся тем, что в боковой стенке вихревой камеры по периферии входного отверстия расположена пористая пластина, обеспечивающая возможность подачи через нее в вихревую камеру разрыхляющей текучей среды.
2. Устройство по п.1, отличающееся тем, что пористая пластина состоит из нескольких отдельных частей, которые расположены вокруг входного отверстия.
3. Устройство по п.1, отличающееся тем, что пористая пластина выполнена в виде кругового кольца.
4. Устройство по любому из пп.1-3, отличающееся тем, что имеется входная камера, которая расположена в боковой стенке вихревой камеры непосредственно вблизи входного отверстия, при этом такая входная камера закрыта с внутренней стороны вихревой камеры пористой пластиной, отделяющей ее от внутреннего пространства этой вихревой камеры, и выполнена с возможностью подачи в нее разрыхляющего газа.
5. Устройство по любому из пп.1-4, отличающееся тем, что устройство для создания потока газа имеет сопло для подачи газа, которое подсоединено к системе подачи сжатого газа и которое расположено в вихревой камере таким образом, что воображаемое продолжение его оси совпадает с осью подающего трубопровода.
6. Устройство по п.5, отличающееся тем, что сопло для подачи газа выполнено подвижным вдоль его оси таким образом, что оно позволяет закрывать входное отверстие в боковой стенке вихревой камеры.
7. Устройство по п.5 или 6, отличающееся тем, что сопло для подачи газа выполнено в виде сопла Лаваля, благодаря которому скорость истечения газа достигает скорости звука.
8. Устройство по любому из предыдущих пунктов, отличающееся тем, что имеются несколько сопел для дозированной подачи газа, которые расположены вокруг подающего трубопровода и оканчиваются в нем.
9. Устройство по любому из предшествующих пунктов, отличающееся тем, что вихревая камера выполнена в виде емкости, рассчитанной на работу под давлением.
10. Устройство по любому из предыдущих пунктов, отличающееся тем, что вихревая камера имеет в ее нижней части пористое днище, обеспечивающее возможность подачи через него в вихревую камеру разрыхляющего газа.
РИСУНКИ
MM4A – Досрочное прекращение действия патента СССР или патента Российской Федерации на изобретение из-за неуплаты в установленный срок пошлины за поддержание патента в силе
Дата прекращения действия патента: 13.09.2007
Извещение опубликовано: 20.09.2010 БИ: 26/2010
|
|