|
|
(21), (22) Заявка: 2004128634/03, 27.09.2004
(24) Дата начала отсчета срока действия патента:
27.09.2004
(43) Дата публикации заявки: 10.03.2006
(46) Опубликовано: 27.06.2006
(56) Список документов, цитированных в отчете о поиске:
RU 2197380 С2, 13.03.2001. SU 1803325 А, 23.03.1993. SU 308171 А, 09.09.1991. RU 37032 U1, 10.04.2004. RU 2001669 C1, 30.10.1993. RU 2115552 C1, 20.07.1998. JP 2000000451 А, 07.01.2000. FR 2732262 А, 04.10.1996.
Адрес для переписки:
141092, Московская обл., г. Юбилейный, ул. Лесная, 25, кв.58, В.И.Кияница
|
(72) Автор(ы):
Ольшевский Михаил Васильевич (RU), Кияница Виталий Иванович (RU)
(73) Патентообладатель(и):
Ольшевский Михаил Васильевич (RU), Кияница Виталий Иванович (RU)
|
(54) УСТРОЙСТВО ДЛЯ ЭЖЕКТОРНОГО БАРОТЕРМОСМЕШИВАНИЯ
(57) Реферат:
Изобретение относится к области строительной техники, в частности, к технологическому оборудованию для получения ячеистых бетонов, модифицирования пигментов и красителей, а также может использоваться в химической промышленности, в фармацевтическом производстве, в пищевом производстве, при переработке промышленных отходов для эффективного и качественного смешивания компонентов с организацией в устройстве различных технологических процессов, требующих поддержания заданной температуры, среды и давления. Устройство для эжекторного баротермосмешивания, содержит смеситель с трубопроводом подачи технологической смеси, сжатого воздуха и сброса избыточного давления, лопастной ротор, установленный в нижней части смесителя, и эжектор из неподвижной верхней части и нижней части, установленной между «Г»-образными лопастями ротора, вертикальную трубу, установленную по оси вращения ротора, и выполненную с поперечным отверстием и с коаксиально расположенной внутри нее трубой подачи сжатого воздуха, соединенной в верхней части с трубопроводом сжатого воздуха. Смеситель снабжен неподвижными лопатками, установленными в верхней и нижней частях корпуса смесителя, при этом нижняя часть корпуса выполнена в виде сферического днища, в котором по периферии вращения ротора установлены экраны кавитации и перфорированные плоскости с возможностью регулирования зазоров между ними и лопастями ротора, причем вертикальная труба выполнена заодно с неподвижной верхней частью эжектора и снабжена дополнительными поперечными отверстиями, расположенными по всей длине трубы, а нижняя часть трубы для подачи сжатого воздуха расположена в эжекторе. Технический результат – повышение качества смешивания различных компонентов без увеличения времени технологического процесса. 1 з.п. ф-лы, 2 ил.
Изобретение относится к области строительной техники, в частности к технологическому оборудованию для получения ячеистых бетонов, модифицирования пигментов и красителей, а также может использоваться в химической промышленности, в фармацевтическом производстве, в пищевом производстве, при переработке промышленных отходов для эффективного и качественного смешивания компонентов с организацией в устройстве различных технологических процессов, требующих поддержания заданной температуры, среды и давления.
Известны устройства для приготовления пенобетонных смесей (см. Меркин А.П. и др. Установка для получения и транспортирования пенобетонных смесей. Строительные и дорожные машины, 1992 г., №11-12, Патенты РФ: №2078749, кл. С 04 В 38/02,40/00,1994; №2085546, кл. С 04 В 38/02, 40/00, 1995 и др.; Румянцев Б.М., Зудяев Е.А. «Передвижной механизированный комплекс для устройства теплозвукоизоляционных слоев из пенобетонов «сухой минерализации» в промышленном и гражданском строительстве». Промышленное строительство за 1997 г., №8, стр.40-42).
Недостатком известных устройств является их относительная сложность и низкая надежность в работе, а также высокие требования к пенообразователям.
Близким аналогом к предлагаемому устройству по заявляемому изобретению является пенобетоносмеситель турбулентный (патент РФ №2173257, приоритет от 02.02.2000 г., реестр 10 сентября 2001 г.), содержащий смеситель для исходных компонентов и ПАВ, с рабочим органом, находящимся в конусообразной части смесителя, неподвижными лопатками, установленными с зазором к рабочему органу, и воздуховод сжатого воздуха.
Главным недостатком аналога является то, что эффективное и качественное перемешивание достигается только при создании условий достаточной текучести смеси и ее необходимой плотности, когда вращение рабочего органа создает такие турбулентные потоки, которые по своей величине и интенсивности способны эффективно и качественно перемешать весь объем смеси. При невыполнении этих условий в верхней части объема смесителя образуется застойная зона, характерная ламинарным движением смеси, возникновение такой зоны существенно снижает эффективность перемешивания, значительно увеличивается время перемешивания для достижения необходимого качества продукта.
Прототипом к предлагаемому устройству для получения пенобетонной смеси может быть устройство для получения пенобетонной смеси (см. пат. РФ №2197380 приоритет от 13.03.2001 г.), содержащее смеситель, где в его конусообразной части установлен лопастной ротор и сборный эжектор, нижняя часть которого установлена между «Г»-образными лопатками ротора, а верхняя его часть, по оси вращения ротора, через каналы неподвижно закреплена на вертикальной трубе, в верхней части которой имеются радиальные каналы, внутри вертикальной трубы в верхней ее части установлена коническая воронка с цилиндрической частью и труба подачи сжатого воздуха, оканчивающаяся ниже радиальных каналов, трубопровода подачи технологической смеси, сжатого воздуха и сброса его избыточного давления.
Главными недостатками прототипа являются низкая интенсивность повторного вовлечения ранее поризованной смеси по всему объему смесителя в зону интенсивного эжекторно-турбулентного смешивания и отсутствие возможности регулирования интенсивности турбулентного перемешивания по периферии вращения ротора в зависимости от состава и параметров технологической смеси.
Техническая задача заявляемого устройства состоит в повышений интенсивности повторного перемешивания смеси по всему объему смесителя и регулировании интенсивности турбулентного перемешивания по периферии вращения ротора в зависимости от состава и параметров технологической смеси, с сохранением качества получаемого продукта при уменьшении времени на процесс перемешивания.
Для достижения указанного технического результата устройство для эжекторного баротермосмешивания содержит смеситель с трубопроводом подачи технологической смеси, сжатого воздуха и сброса избыточного давления, лопастной ротор, установленный в нижней части смесителя, и эжектор из неподвижной верхней части и нижней части, установленной между «Г»-образными лопастями ротора, вертикальную трубу, установленную по оси вращения ротора и выполненную с поперечным отверстием и с коаксиально расположенной внутри нее трубой подачи сжатого воздуха, соединенной в верхней части с трубопроводом сжатого воздуха, согласно изобретению смеситель снабжен неподвижными лопатками, установленными в верхней и нижней частях корпуса смесителя, при этом нижняя часть корпуса выполнена в виде сферического днища, в котором по периферии вращения ротора установлены экраны кавитации и перфорированные плоскости с возможностью регулирования зазоров между ними и лопастями ротора, причем вертикальная труба выполнена заодно с неподвижной верхней частью эжектора и снабжена дополнительными поперечными отверстиями, расположенными по всей длине трубы, а нижняя часть трубы для подачи сжатого воздуха расположена в эжекторе.
При этом труба подачи сжатого воздуха соединена с верхней внутренней частью смесителя через обратный клапан и устройство турбонаддува.
Описанные отличительные особенности позволяют максимально возможно турбулизировать поток технологической смеси в зоне вращения рабочего органа, а также интенсифицировать повторное вовлечение технологической смеси в зону эффективного эжекторно-турбулентного перемешивания.
Технический результат достигается тем, что в эллиптическом днище смесителя по периферии вращения ротора установлены регулируемые перфорированные плоскости и экраны кавитации. Экраны кавитации реализуют явлением кавитации, которое интенсифицирует процесс микроперемешивания. Претерпев перепады скорости и давления в эжекторе, технологическая смесь поризуется в воздушном потоке и далее, разгоняясь центробежными силами вращения лопастей ротора, выбрасывается на экраны кавитации, за которыми нарушается сплошность потока, возникают области разрежения, «охлопывающиеся» микровзрывами с сильным локальным повышением давления и температуры. Эти новые конструктивные элементы с возможностью регулирования зазоров между ними и лопастями ротора, в зависимости от состава и параметров технологической смеси, обеспечивают увеличение интенсивности смешивания как за счет турбулентных процессов, так и за счет добавляемого процесса кавитации. Установка трубы подачи сжатого воздуха непосредственно в эжектор увеличивает разность давления между внутренней зоной вращающихся лопастей и внутренним объемом смесителя, увеличивая тем самым скорость и объем повторного прохождения поризованной смеси через зону интенсивного эжекторно-турбулентного смешивания, а устройство отверстий по всей длине вертикальной трубы и установка верхних неподвижных лопаток обеспечивают эффективное всасывание перемешиваемой смеси по всему объему смесителя для повторного смешивания находящихся в смесителе компонентов.
Надежность работы установки в целом повышается за счет введения обратного клапана и устройства турбонаддува между трубопроводом сжатого воздуха и верхним внутренним объемом смесителя, обеспечивающих постоянную подачу сжатого воздуха в эжектор, а также установки зазоров между лопатками ротора и регулируемыми перфорированными плоскостями и экранами кавитаций в зависимости от плотности перемешиваемой смеси.
Все указанные выше отличительные признаки в совокупности улучшают качество приготовления пенобетонной смеси при значительном сокращений времени на процесс перемешивания.
Повышенный технический результат достигается тем, что многократное прохождение перемешиваемой смеси в виде газово-дисперсного турбулентного потока через зону эжекторно-турбулентного смешения позволяет эффективно воздействовать на дисперсную смесь газовым потоком, создавая условия для технологических процессов в виде заданных температуры и давления, присутствия катализаторов, подводимых сжатым газом химических реагентов, замкнутого цикла движения газа.
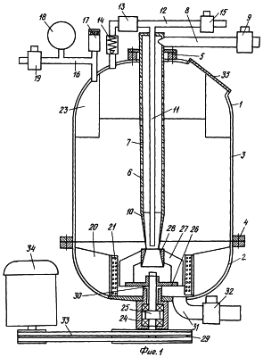
Ниже приводится описание примера выполнения заявленного устройства. На фиг.1 показан продольный разрез общего вида устройства. На фиг.2 показана установка регулируемых перфорированных плоскостей и экранов кавитации в днище устройства.
Устройство для эжекторного баротермосмешивания состоит (фиг.1) из корпуса смесителя, изготовленного из штампованного сферического верха 1 и днища 2, включающего его цилиндрическую часть 3. Между цилиндрической частью 2 корпуса и днищем 1 корпуса имеется фланцевый разъем 4.
На верхней сферической части корпуса устройства по центру оси вращения ротора установлено фланцевое соединение 5, на съемном фланце которого установлена вертикальная труба 6 с отверстиями 7 по всей длине, в которую по касательной введен трубопровод 8 подачи технологической смеси, соединенный через кран 9 с насосом подачи технологической смеси. Вертикальная труба 6 с отверстиями 7 и неподвижной частью эжектора 10 установлена по оси вращения ротора и закреплена верхним концом к съемному фланцу 5. Труба подачи сжатого воздуха 11 установлена внутри вертикальной трубы и соединена с трубопроводом 12, который через устройство турбонаддува 13 и обратный клапан 14 соединен с верхним внутренним объемом устройства, а через кран 15 с компрессором.
На верхней сферической части корпуса устройства также установлен трубопровод сжатого воздуха 16, на котором размещены предохранительный клапан 17, манометр 18 и кран сброса избыточного давления 19.
В сферическом днище 2 смесителя (фиг.1, 2) закреплены неподвижные лопатки 20, перфорированные плоскости 21 и экраны кавитации 22, установленные с возможностью регулирования зазоров между ними и лопастями ротора. В верхней части корпуса смесителя установлены неподвижные лопатки 23.
По центру сферического днища смесителя установлен корпус 24 привода ротора, в котором на подшипниках установлен вал 25, на верхнем конце вала 25 установлен ротор 26 с лопастями 27. По центру вращения ротора в верхней части «Г»-образных лопастей закреплена коническая втулка 28, она же нижняя часть эжектора. На нижнем конце вала установлен шкив 29. Герметичность емкости по валу 25 достигается уплотнением 30. В днище устройства установлен отвод 31 и кран 32 для отбора полученного готового продукта.
Выдача из смесителя, транспортировка пенобетонной смеси к месту укладки по рукаву и формирование оптимальной внутренней структуры пенобетонной смеси осуществляется по прототипу.
Формула изобретения
1. Устройство для эжекторного баротермосмешивания, содержащее смеситель с трубопроводом подачи технологической смеси, сжатого воздуха и сброса избыточного давления, лопастной ротор, установленный в нижней части смесителя, и эжектор из неподвижной верхней части и нижней части, установленной между Г-образными лопастями ротора, вертикальную трубу, установленную по оси вращения ротора и выполненную с поперечным отверстием и с коаксиально расположенной внутри нее трубой подачи сжатого воздуха, соединенной в верхней части с трубопроводом сжатого воздуха, отличающееся тем, что смеситель снабжен неподвижными лопатками, установленными в верхней и нижней частях корпуса смесителя, при этом нижняя часть корпуса выполнена в виде сферического днища, в котором по периферии вращения ротора установлены экраны кавитации и перфорированные плоскости с возможностью регулирования зазоров между ними и лопастями ротора, причем вертикальная труба выполнена заодно с неподвижной верхней частью эжектора и снабжена дополнительными поперечными отверстиями, расположенными по всей длине трубы, а нижняя часть трубы для подачи сжатого воздуха расположена в эжекторе.
2. Устройство по п.1, отличающиеся тем, что труба подачи сжатого воздуха соединена с верхней внутренней частью смесителя через обратный клапан и устройство турбонаддува.
РИСУНКИ
MM4A – Досрочное прекращение действия патента СССР или патента Российской Федерации на изобретение из-за неуплаты в установленный срок пошлины за поддержание патента в силе
Дата прекращения действия патента: 28.09.2006
Извещение опубликовано: 20.05.2008 БИ: 14/2008
|
|