|
| На основании пункта 3 статьи 13 Патентного закона Российской Федерации от 23 сентября 1992 г. № 3517-I патентообладатель обязуется передать исключительное право на изобретение (уступить патент) на условиях, соответствующих установившейся практике, лицу, первому изъявившему такое желание и уведомившему об этом патентообладателя и федеральный орган исполнительной власти по интеллектуальной собственности, – гражданину РФ или российскому юридическому лицу. |
|
(21), (22) Заявка: 2004138187/02, 27.12.2004
(24) Дата начала отсчета срока действия патента:
27.12.2004
(46) Опубликовано: 27.06.2006
(56) Список документов, цитированных в отчете о поиске:
КОРОТКОВ В.И. Деревообрабатывающие станки. Учебник, М., Академия, 2003, с.271-273. RU 3236 U1, 16.12.1996. SU 327040 A, 23.03.1972. US 3859758 А, 14.01.1975.
Адрес для переписки:
656031, г.Барнаул, пр-кт Красноармейский, 103, кв.25, В.А. Демину
|
(72) Автор(ы):
Капустин Николай Игнатьевич (RU), Демин Владимир Андреевич (RU), Долгов Валентин Иванович (RU)
(73) Патентообладатель(и):
Капустин Николай Игнатьевич (RU)
|
(54) ШЛИФОВАЛЬНЫЙ СТАНОК
(57) Реферат:
Изобретение относится к области машиностроения и может быть использовано при изготовлении шлифовальных станков для деревообрабатывающей промышленности. На станине станка установлены механизм подачи обрабатываемого материала и натянутая на ролики шлифовальная лента с приводом и механизмом ее натяжения. Предусмотрен шарнирный каркас крепления роликов. Механизм подачи обрабатываемого материала установлен с возможностью поперечного перемещения по станине, а привод шлифовальной ленты – с возможностью продольного перемещения заодно с шарнирным каркасом крепления роликов. Механизм натяжения ленты выполнен в виде натяжных винтов, установленных на шарнирном каркасе и соединенных траверсами с осью ведущего ролика. Прижим ленты к обрабатываемому материалу соединен с шарнирным каркасом. Такая конструкция уменьшает габариты станка и повышает качество обработки. 1 з.п. ф-лы, 1 ил.
Изобретение относится к области машиностроения и может применяться при изготовлении станков для деревообрабатывающей промышленности.
Известен шлифовальный станок, содержащий станину, на которой установлен механизм подачи обрабатываемой детали в поперечном направлении, шлифовальную ленту, натянутую на ролики, привод ленты, установленный соосно с одним из валов ролика, механизм натяжения ленты, прижим (П.С.Афанасьев. Деревообрабатывающие станки. Профтехиздат, М. 1961, стр.292-294). Недостатком данного устройства являются значительные габариты и большая материалоемкость.
Известен шлифовальный станок, содержащий станину, на которой установлен механизм подачи обрабатываемой детали, шлифовальную ленту, натянутую на ролики, привод ленты, механизм натяжения ленты, прижим (В.И.Коротков. Деревообрабатывающие станки. Учебник. М. «Академия» 2003. – 299 с., стр.271-273).
Недостатками устройства являются его значительные габариты по длине, т.к. длина горизонтальной рабочей части ленты должна быть не меньше длины (наибольшего размера) обрабатываемой детали, что ведет к увеличению общей материалоемкости станка. Кроме того, оно имеет большой диаметр шкивов, обусловленный условиями эксплуатации, т.к. прижимной элемент расположен между верхней и нижней частями ленты и достигает 300-400 мм. Также при продольном перемещении прижимной элемент (утюжок) проходит над нижним участком ленты с различным усилием на прогиб последней (чем ближе к шкиву, тем требуется больше усилия для прижатия ленты прижимным элементом к шлифуемой поверхности), что снижает качество шлифования за счет перешлифовки или недошлифовки.
Задачей настоящего изобретения является уменьшение габаритов станка и повышение качества обработки деталей.
Настоящая задача решается тем, что шлифовальный станок, содержащий станину, на которой установлен механизм подачи обрабатываемого материала, шлифовальная лента, натянутая на ролики, привод ленты, механизм натяжения ленты, прижим, дополнительно снабжен шарнирным каркасом крепления роликов, механизм подачи обрабатываемой детали установлен с возможностью поперечного перемещения по станине, привод шлифовальной ленты выполнен с возможностью продольного перемещения по станине за одно с шарнирным каркасом крепления роликов, а механизм натяжения ленты, выполнен в виде натяжных винтов, установленных на шарнирном каркасе и соединенных траверсами с осью ведущего ролика, при этом прижим соединен с шарнирным каркасом.
Ведомые ролики крепятся на шарнирном каркасе в продольных пазах.
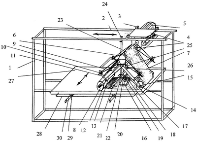
На чертеже дана схема шлифовального станка.
Шлифовальный станок состоит из станины 1, с жестко соединенными с ней продольными направляющими 2, на которых с возможностью перемещения установлена на роликах 3 рама 4 с приводом 5, соединенным с приводным роликом 6, взаимодействующим посредством шлифовальной ленты 7 с неприводными шкивами 8, траверс 9, взаимодействующих посредством гаек 10, натяжного винта 11 (например, тальреп) с боковыми сторонами шарнирного каркаса 12 с рычагами 13, в продольных пазах 14 которых на оси 15 закреплены не приводные ролики 8, составляющие механизм натяжения ленты. Между шкивами 6 и 8 установлен прижим 16 с установленной в патрубке 17 и прикрепленной к раме 4 направляющей 18 с пружиной 19, причем последние взаимодействуют с коаксиально установленным на патрубке 17 стаканом 20. Стакан 20 имеет ручку 21, связанную с одной стороны стакана 20 посредством рычага 22 и тяги 23 с упорами 24, а с другой стороны стакана 20 ручка 21 шарнирно закреплена на стойке 25, жестко связанной с рамой 4, причем шарнир 26 является осью вращения вышеназванной ручки 21. Под шлифовальной лентой 7 с зазором установлен механизм подачи обрабатываемого материала 27 с ручкой 28 на роликах 29, опирающихся на поперечные направляющие 30, жестко прикрепленные к станине 1.
Работа станка происходит следующим образом. При обработке детали, уложенной на механизм подачи обрабатываемого материала 27, механизм подачи обрабатываемого материала 27 посредством ручки 28 на роликах 29 перемещается в поперечном направлении на направляющих 30 к нужному месту обработки. При выводе механизма подачи обрабатываемого материала 27 в нужное место (в поперечном направлении) выводится в заданное место и шлифовальная лента 7, путем продольного перемещения ручки 21, взаимодействующей с одной стороны через коаксиально установленные стакан 20 и патрубок 17 и с другой стороны через шарнир 26 и стойку 25 с рамой 4, на которой закреплены шкивы 6 и 8 для натяжения и приведения в движение шлифовальной ленты 7. При опускании ручки 21 вниз она поворачивается на шарнире 26, нажимает на стакан 20, который в свою очередь через пружину 19 нажимает на элемент 16. Элемент 16 в свою очередь прижимает шлифовальную ленту 7 абразивной стороной к обрабатываемому материалу. При прижатии элемента 16 к шлифовальной ленте 7 и обрабатываемому материалу возникает сила, перемещающая раму 4 на роликах 3 по направляющим 2 станины 1 в продольном направлении (противоположном движению ленты относительно механизма подачи обрабатываемого материала 27). При необходимости фиксации рамы 4 посредством рычага 22 и тяги 23 упоры 24 контактируют с продольными направляющими 2 (по принципу ручного фрикционного тормоза).
Необходимый режим обработки достигается комбинированным движением стола 27 и рамы 4. При необходимости смены ленты 7 откручиваются гайки 10 на винтах 11 (талрепы), винты 11 опускают рычаги 13, поворачиваясь на шарнирах 12 (предотвращается изгиб и заламывание винтов 11). Натяжение шлифовальной ленты 7 ослабляется и имеется возможность ее снять. Надевание и натяжение шлифовальной ленты 7 проводится в обратной последовательности. При настройке станка может наблюдаться сход шлифовальной ленты 7 с приводного или не приводных роликов 6 или 8 соответственно.
Ликвидируется сход шлифовальной ленты 7 путем изменения угла наклона неприводных шкивов 8 за счет изменения расстояния между траверсой 9 и рычагом 13 посредством тельреп (закручивая или откручивая гайку 10 на винте 11) и перемещения оси 15 шкива 8 в пазах 14 тяг 13.
Формула изобретения
1. Шлифовальный станок, содержащий станину, на которой установлен механизм подачи обрабатываемого материала, шлифовальная лента, натянутая на ролики, привод ленты, механизм натяжения ленты, прижим, отличающийся тем, что он дополнительно снабжен шарнирным каркасом крепления роликов, механизм подачи обрабатываемого материала установлен с возможностью поперечного перемещения по станине, привод шлифовальной ленты выполнен с возможностью продольного перемещения по станине заодно с шарнирным каркасом крепления роликов, а механизм натяжения ленты выполнен в виде натяжных винтов, установленных на шарнирном каркасе и соединенных траверсами с осью ведущего ролика, при этом прижим соединен с шарнирным каркасом.
2. Шлифовальный станок по п.1, отличающийся тем, что ведомые ролики крепятся на шарнирном каркасе в продольных пазах.
РИСУНКИ
|
|